JP2011174363A - Water closet - Google Patents

Water closet Download PDF

Info

Publication number
JP2011174363A
JP2011174363A JP2010294318A JP2010294318A JP2011174363A JP 2011174363 A JP2011174363 A JP 2011174363A JP 2010294318 A JP2010294318 A JP 2010294318A JP 2010294318 A JP2010294318 A JP 2010294318A JP 2011174363 A JP2011174363 A JP 2011174363A
Authority
JP
Japan
Prior art keywords
trap
flush toilet
cross
drainage channel
washing water
Prior art date
Legal status (The legal status is an assumption and is not a legal conclusion. Google has not performed a legal analysis and makes no representation as to the accuracy of the status listed.)
Granted
Application number
JP2010294318A
Other languages
Japanese (ja)
Other versions
JP5826485B2 (en
Inventor
Akinori Kamiya
昭範 神谷
Takamasa Ina
嵩正 伊奈
Gosuke Sakakibara
豪介 榊原
Akihiro Yamada
晃弘 山田
Current Assignee (The listed assignees may be inaccurate. Google has not performed a legal analysis and makes no representation or warranty as to the accuracy of the list.)
Lixil Corp
Original Assignee
Lixil Corp
Priority date (The priority date is an assumption and is not a legal conclusion. Google has not performed a legal analysis and makes no representation as to the accuracy of the date listed.)
Filing date
Publication date
Application filed by Lixil Corp filed Critical Lixil Corp
Priority to JP2010294318A priority Critical patent/JP5826485B2/en
Priority to PCT/JP2011/051736 priority patent/WO2011093440A1/en
Priority to US13/574,479 priority patent/US20120284911A1/en
Priority to TW100103880A priority patent/TW201135016A/en
Publication of JP2011174363A publication Critical patent/JP2011174363A/en
Application granted granted Critical
Publication of JP5826485B2 publication Critical patent/JP5826485B2/en
Active legal-status Critical Current
Anticipated expiration legal-status Critical

Links

Images

Landscapes

  • Sanitary Device For Flush Toilet (AREA)

Abstract

【課題】汚物の詰まりを防ぎ、洗浄効率が高まる水洗式便器の提供を目的とする。
【解決手段】トラップ入口5から下流側へ向かって上傾したトラップ排水路6を有する水洗式便器1において、トラップ排水路6の上傾した上昇管6Pは、洗浄水の排水方向に対し直角の断面の縦寸法がトラップ入口5から下流側へ向け大きくなるように形成されてなり、トラップ入口5は、縦寸法よりも横幅寸法が大きい形状に開口されている。
【選択図】図1
An object of the present invention is to provide a flush toilet that prevents clogging of filth and increases cleaning efficiency.
In a flush toilet 1 having a trap drainage channel 6 inclined upward from a trap inlet 5 toward a downstream side, a rising pipe 6P inclined upward of the trap drainage channel 6 is perpendicular to the drainage direction of the wash water. The vertical dimension of the cross section is formed so as to increase from the trap inlet 5 toward the downstream side, and the trap inlet 5 is opened in a shape having a larger width dimension than the vertical dimension.
[Selection] Figure 1

Description

本発明は、水洗式便器に関するものである。   The present invention relates to a flush toilet bowl.

従来、特許文献1に開示されているように、下端の導入口から下流側へ向かって上傾したトラップ排水路を有する水洗式便器において、導入管路部の導入口が、トラップ排水路中で最も狭い管路面積に形成されたものが存在する。   Conventionally, as disclosed in Patent Document 1, in a flush toilet having a trap drainage channel that is inclined upward from the inlet port at the lower end toward the downstream side, the inlet port of the inlet conduit portion is in the trap drainage channel. Some are formed in the narrowest pipe area.

特開平8−232330号公報JP-A-8-232330

上記特許文献1に開示されている水洗便器は、トラップ排水路の上昇部における汚物の詰まりを防ぐために、トラップ排水路の導入口を狭い管路面積に形成したものであるが、導入口の管路面積が狭いために、洗浄水を速くスムーズに流すことができないものであった。さらに、トラップ排水路の上昇部の断面積が徐々に大きくなっているため、乱流が起き易く、抵抗が発生し、洗浄水および汚物をトラップ排水路内にスムーズに流し込むことが難しいという問題点があった。
また、トラップ排水路の導入口が縦横方向に狭いため、導入口で詰まりが発生する虞があるという問題点があった。
The flush toilet disclosed in the above-mentioned Patent Document 1 is such that the inlet of the trap drainage channel is formed with a narrow pipe area in order to prevent clogging of filth at the rising part of the trap drainage channel. Since the road area was small, the washing water could not flow quickly and smoothly. Furthermore, since the cross-sectional area of the rising part of the trap drainage channel is gradually increasing, turbulence is likely to occur, resistance is generated, and it is difficult to smoothly flow cleaning water and filth into the trap drainage channel. was there.
Moreover, since the inlet of the trap drainage channel is narrow in the vertical and horizontal directions, there is a problem that clogging may occur at the inlet.

本発明は、汚物の詰まりを防ぎ、スムーズに洗浄できる水洗式便器の提供を目的とし、この目的の少なくとも一部を達成するために以下の手段を採った。
本発明は、トラップ入口から下流側へ向かって上傾したトラップ排水路を有する水洗式便器において、
前記トラップ排水路の上傾した上昇管は、洗浄水の排水方向に対し直角の断面の縦寸法が、トラップ入口から下流側へ向け大きくなるように形成されてなり、
前記トラップ入口は、縦寸法よりも横幅寸法が大きい形状に開口されている
ことを要旨とする。
The present invention aims to provide a flush toilet that prevents clogging of dirt and can be washed smoothly. In order to achieve at least a part of this object, the following measures are taken.
The present invention is a flush toilet having a trap drainage channel inclined upward from the trap inlet toward the downstream side,
The upwardly inclined riser pipe of the trap drainage channel is formed so that the vertical dimension of the cross section perpendicular to the drainage direction of the washing water increases from the trap inlet toward the downstream side,
The gist of the invention is that the trap inlet is opened in a shape having a width dimension larger than a vertical dimension.

トラップ入口に流入する洗浄水は、トラップ入口の縦方向下側では洗浄水が潜り込むこととなるため、下側の洗浄水の流速は遅く淀みが生じやすく、トラップ入口の縦方向上側では洗浄水の潜り込みがないために流速は大となる。本発明の水洗式便器では、トラップ入口の縦寸法を小さくして、下側の流速の遅い部分を小さくし、トラップ入口の横幅寸法を大きくすることで、流速の速い上側の部分の洗浄水量を多くして、トラップ入口での洗浄水の流速を良好に確保し、速い速度で洗浄水および汚物をトラップ入口に流し込むことができるため、スムーズな排出が可能となり圧力損出を小さくできる。
また、トラップ入口の縦寸法が小さく横幅寸法が大きく、しかも洗浄水を速い速度で流せるので、トラップ入口での汚物の詰まりがなくなる。
また、トラップ排水路の上昇管の断面の縦寸法が頂部に向かい大きくなっていくため、トラップ排水路の汚物の詰まりも起こらない。さらに、トラップ入口の形状により、入口で整流化され易いため、トラップ排水路の上昇管で乱流が起き難くなる。
The cleaning water flowing into the trap inlet will sink in the vertical direction below the trap inlet, so the flow rate of the lower cleaning water is slow and prone to stagnation, and the cleaning water flows vertically above the trap inlet. Since there is no dive, the flow rate becomes large. In the flush toilet of the present invention, the vertical dimension of the trap inlet is reduced, the lower portion where the flow velocity is lower is reduced, and the lateral width dimension of the trap inlet is increased, thereby increasing the amount of washing water in the upper portion where the flow velocity is higher. By increasing the flow rate of the cleaning water at the trap inlet, the cleaning water and the filth can be poured into the trap inlet at a high speed, thereby enabling smooth discharge and reducing pressure loss.
Further, since the vertical dimension of the trap inlet is small and the horizontal dimension is large, and the washing water can be flowed at a high speed, clogging of filth at the trap inlet is eliminated.
Moreover, since the vertical dimension of the cross section of the rising pipe of the trap drainage channel becomes larger toward the top, the trap drainage clogging does not occur. Furthermore, since the shape of the trap inlet is easy to rectify at the inlet, turbulence is unlikely to occur in the riser pipe of the trap drain.

また、本発明の水洗式便器において、前記トラップ入口の手前には、便器後方に向かい排水路の上下が下降傾斜した管状の導入通路が設けられているものとすることもできる。
こうすれば、トラップ入口に向かう導入通路の内周面に沿って洗浄水がトラップ排水路内に流れ込む際に、洗浄水が徐々に絞られて整流化され、洗浄水の流れがスムーズなものとなり、トラップ入口の前でしっかり整流化されているため、トラップ排水路の上昇管の縦寸法を大きくしても乱流が起き難く、スムーズに洗浄水の排出ができる。
Further, in the flush toilet of the present invention, a tubular introduction passage in which the upper and lower sides of the drainage channel are inclined downward toward the rear of the toilet may be provided in front of the trap entrance.
In this way, when the cleaning water flows into the trap drain along the inner peripheral surface of the introduction passage toward the trap inlet, the cleaning water is gradually squeezed and rectified, so that the flow of the cleaning water becomes smooth. Since it is straightened in front of the trap inlet, turbulent flow hardly occurs even if the vertical dimension of the trap drainage pipe is increased, and the washing water can be discharged smoothly.

また、本発明の水洗式便器において、前記トラップ入口近傍の上流部における排水路方向に対して直角の断面において、底面両側にある立ち面とを繋ぐアール部は、前記断面方向の旋回流の流れが立ち面から底面に向かうアール部の曲率半径を、底面から立ち面に向かうアール部の曲率半径より小さくすることもできる。
こうすれば、トラップ入口に向かう導入通路に流入してきた旋回流が、曲率半径の小さなアール部により導入路内にスムーズに流入し、曲率半径の大きなアール部に繋がる立ち面に衝突することで、旋回流を排水路の下流方向の流れに変化させることができる。これにより排水方向の洗浄水の流れをスムーズにすることができる。
Further, in the flush toilet of the present invention, in the cross section perpendicular to the drainage channel direction in the upstream portion near the trap entrance, the rounded portion connecting the standing surfaces on both sides of the bottom surface is the flow of the swirl flow in the cross section direction. The radius of curvature of the rounded portion from the standing surface to the bottom surface can be made smaller than the curvature radius of the rounded portion from the bottom surface to the standing surface.
In this way, the swirling flow that has flowed into the introduction passage toward the trap inlet smoothly flows into the introduction path by the rounded portion having a small radius of curvature, and collides with a standing surface that leads to the rounded portion having a large radius of curvature. The swirl flow can be changed to the flow in the downstream direction of the drainage channel. Thereby, the flow of the washing water in the direction of drainage can be made smooth.

また、本発明の水洗式便器において、前記上昇管における洗浄水の排水方向に対し直角の断面形状は、前記トラップ入口から下流側の中間部にかけては、断面の縦方向中央より上側が下側より大きい面積となる形状に形成されているとともに、前記中間部から下流側の頂部の上流側近傍にかけては、断面の縦方向中央より下側が上側より大きい面積となる形状に形成されているものとすることもできる。
こうすれば、トラップ入口から上昇管内に流入する洗浄水は、断面の縦方向中央より下側では洗浄水が潜り込むこととなるため、下側の洗浄水の流速は遅く淀みが生じ、断面の縦方向中央より上側では洗浄水の潜り込みがないために流速は大であるため、上昇管におけるトラップ入口から中間部にかけては、この流速の速い上側の面積を大きくして、トラップ入口側での洗浄水の流速を良好に確保して、流れをスムーズにすることができる。
また、上昇管における中間部から頂部の上流側近傍にかけては、逆に、洗浄水の流速は、断面の縦方向中央より下側で速くなり、上側では淀みが生じやすくなるので、この中間部から下流側の頂部の上流側近傍にかけては、断面の縦方向中央より上側の面積を小さく絞って、流速の速い下側に多くの洗浄水を流し、この部分での洗浄水の流速を良好に維持して、上昇管全体としての洗浄水の流速を良好に維持し、洗浄水の流れをスムーズにすることができ、上昇管内での圧力損失を少なくすることができるものとなる。
Further, in the flush toilet of the present invention, the cross-sectional shape perpendicular to the direction of drainage of the wash water in the ascending pipe is such that the upper side from the center in the vertical direction of the cross section is from the lower side from the trap inlet to the downstream intermediate part. It is formed in a shape having a large area, and is formed in a shape in which the lower side from the center in the longitudinal direction of the cross section is larger than the upper side from the intermediate part to the vicinity of the upstream side of the top on the downstream side. You can also.
In this way, the wash water flowing into the riser from the trap inlet will sink below the vertical center of the cross section. Since there is no sinking of washing water above the center of the direction, the flow velocity is large. From the trap inlet to the middle part of the riser, the area on the upper side where the flow velocity is high is increased, and the washing water on the trap inlet side is increased. It is possible to ensure a good flow rate and smooth the flow.
On the other hand, from the middle part of the riser to the vicinity of the upstream side of the top part, conversely, the flow rate of the washing water becomes faster at the lower side than the center in the longitudinal direction of the cross section, and stagnation tends to occur on the upper side. In the vicinity of the upstream side of the top of the downstream side, the area above the center in the longitudinal direction of the cross section is narrowed down so that a large amount of washing water flows to the lower side where the flow rate is fast, and the flow rate of the washing water in this part is maintained well. Thus, the flow rate of the washing water as a whole ascending pipe can be maintained satisfactorily, the washing water flow can be made smooth, and the pressure loss in the ascending pipe can be reduced.

また、本発明の水洗式便器において、前記中間部から前記頂部の上流側近傍に至る間の前記上昇管の内周側面には、縦方向に立ち上がる立ち面が形成され、該立ち面の高さが前記頂部の上流側近傍で最大の高さとなるように設定されているものとすることもできる。
こうすれば、上昇管における頂部の上流側近傍で立ち面の高さが最大となり、頂部の上流側近傍の面積が広がって洗浄水の流れがスムーズとなる。
なお、頂部の上流側近傍の面積が狭いと汚物の詰まりが生じやすくなるため、この部分の面積を広げて汚物の詰まりを無くすことができるものとなる。
Further, in the flush toilet of the present invention, a rising surface rising in the vertical direction is formed on the inner peripheral side surface of the rising pipe between the intermediate portion and the vicinity of the upstream side of the top portion, and the height of the rising surface May be set to have a maximum height in the vicinity of the upstream side of the top.
In this way, the height of the rising surface is maximized in the vicinity of the upstream side of the top of the riser, the area in the vicinity of the upstream side of the top is expanded, and the flow of cleaning water becomes smooth.
In addition, since the clogging of filth tends to occur when the area in the vicinity of the upstream side of the top portion is narrow, the clogging of filth can be eliminated by expanding the area of this portion.

また、本発明の水洗式便器において、前記上昇管の内周面を構成する底面は、洗浄水の排水方向に対し直角方向に延びる略平坦面に形成されているものとすることもできる。
こうすれば、上昇管の内周を構成する底面側は、洗浄水の流速が大で淀みがないために、この底側に沿って大量の洗浄水を流し、洗浄水の流速を良好に維持することができるものとなる。
Moreover, the flush toilet of this invention WHEREIN: The bottom face which comprises the internal peripheral surface of the said rising pipe can also be formed in the substantially flat surface extended in the orthogonal | vertical direction with respect to the discharge direction of washing water.
By doing so, the bottom side that forms the inner periphery of the riser has a large flow rate of washing water and does not stagnate, so a large amount of washing water flows along this bottom side, and the flow rate of washing water is maintained well. Will be able to do.

また、本発明の水洗式便器において、前記トラップ排水路の頂部の上流側近傍には、該トラップ排水路の内周の上面側を膨らませて汚物回転用空間が形成されているものとすることもできる。
こうすれば、頂部の上流側近傍のトラップ排水路内周の汚物回転用空間内で汚物が良好に回転して、トラップ排水路の頂部を良好に汚物が乗り越えて下流側へ落下することとなるため、汚物が詰まることがなく、硬く長い汚物でも良好に排出できるものとなる。
Further, in the flush toilet of the present invention, a waste rotation space may be formed in the vicinity of the upstream side of the top of the trap drainage channel by inflating the upper surface side of the inner periphery of the trap drainage channel. it can.
In this way, the filth rotates well in the filth rotation space on the inner periphery of the trap drainage channel near the upstream side of the top, and the filth gets over the top of the trap drainage channel and falls downstream. Therefore, filth is not clogged, and even hard and long filth can be discharged well.

また、本発明の水洗式便器において、前記上昇管の内周面を構成する上面は、洗浄水の排水方向に対し直角方向の中央部から左右に下向きの略山形状に形成されているものとすることもできる。
こうすれば、上昇管の内周面を構成する上面側で淀みが生ずることを良好に回避して、洗浄水をスムーズに流すことができるものとなる。
Further, in the flush toilet of the present invention, the upper surface constituting the inner peripheral surface of the riser pipe is formed in a substantially mountain shape that is downwardly directed to the left and right from the central portion in the direction perpendicular to the drainage direction of the wash water. You can also
In this way, it is possible to satisfactorily avoid the occurrence of stagnation on the upper surface side that constitutes the inner peripheral surface of the rising pipe, and to allow the washing water to flow smoothly.

また、本発明の水洗式便器は、サイフォン式便器であるものとすることもできる。
こうすれば、洗浄水がスムーズにトラップ排水路に流れ込み、少ない水で早期にサイフォンを起動させることができ、節水効果が向上するものとなる。
Further, the flush toilet of the present invention may be a siphon toilet.
In this way, the washing water can smoothly flow into the trap drainage channel, the siphon can be activated at an early stage with a small amount of water, and the water-saving effect is improved.

サイフォン式水洗便器の縦断面構成図である。It is a longitudinal section lineblock diagram of a siphon type flush toilet. サイフォン式水洗便器の平面構成図である。It is a plane lineblock diagram of a siphon type flush toilet. 図1のA−A線断面図である。It is the sectional view on the AA line of FIG. 図1のB−B線断面図である。It is the BB sectional view taken on the line of FIG. 図1のC−C線断面図である。It is CC sectional view taken on the line of FIG. 図1のD−D線断面図である。It is the DD sectional view taken on the line of FIG. 図1のE−E線断面図である。It is the EE sectional view taken on the line of FIG. 図1のF−F線断面拡大図である。It is the FF sectional view enlarged view of FIG. 図1のG−G線断面拡大図である。It is the GG sectional view enlarged view of FIG. 図1のI−I線断面拡大図である。It is the II sectional view enlarged view of the II line of FIG. 図1のJ−J線断面拡大図である。It is the JJ sectional view enlarged view of FIG. 図1のK−K線断面拡大図である。It is the KK line sectional enlarged view of FIG. 水洗便器における上昇管の部分の変更例である第2実施例を示す拡大断面構成図である。It is an expanded section lineblock diagram showing the 2nd example which is a modification of the part of the riser in a flush toilet. 図13におけるL−L断面図である。It is LL sectional drawing in FIG. 図13におけるM−M断面図である。It is MM sectional drawing in FIG. 図13におけるN−N断面図である。It is NN sectional drawing in FIG. 図13におけるO−O断面図である。It is OO sectional drawing in FIG. 図13におけるP−P断面図である。It is PP sectional drawing in FIG.

次に、本発明を実施するための形態を実施例を用いて説明する。   Next, the form for implementing this invention is demonstrated using an Example.

図1は、サイフォン式水洗便器の縦断面図を示し、図2は、サイフォン式水洗便器の平面図を示す。
サイフォン式水洗便器1の便器本体2内には、鉢面3が形成され、この鉢面3に連続して底側へ落ち込む立ち面4が形成され、最も深い位置にトラップ入口5が開口されて、このトラップ入口5から、後方側に向かって上傾する逆U字状のトラップ排水路6が形成されており、トラップ排水路6の下流端には下向きの排水口7が形成され、この排水口7に、円形状のゴムパッキン13を介し別体の排水ソケット8が接続されている。
FIG. 1 shows a longitudinal sectional view of a siphon flush toilet, and FIG. 2 shows a plan view of the siphon flush toilet.
A bowl surface 3 is formed in the toilet body 2 of the siphon flush toilet 1, a standing surface 4 that continuously falls to the bottom side is formed on the bowl surface 3, and a trap inlet 5 is opened at the deepest position. An inverted U-shaped trap drainage channel 6 inclined upward toward the rear side is formed from the trap inlet 5, and a downward drainage port 7 is formed at the downstream end of the trap drainage channel 6. A separate drain socket 8 is connected to the mouth 7 via a circular rubber packing 13.

また、便器本体2の上面側には、鉢面3の外周にリム通水路9aを形成するリム9及び洗浄段12が設けられており、また、便器本体2の後部上面側には洗浄水の分配器10が配置されて、この分配器10の一方側の第1流出口10aから流出される洗浄水が第1吐水口11aから吐水され、リム通水路9aを通り、鉢面3上に半時計回りの水平な旋回流となって供給されるように構成されている。
また、分配器の他方側の第2流出口10bから流出された洗浄水は第2吐水口11bから吐水され、立ち面4後部から連続して後方側へ湾曲凸面状に上傾した上傾面4aに沿って流下され、直接トラップ入口5へ向かって洗浄水が供給されるように構成されている。なお、上傾面4aは、凸状になっており、第2吐水口11bからの洗浄水がトラップ入口5に向かって流れ落ちるため、水平な旋回流の勢いを便器後部で弱め、且つ、水平な旋回流を排水方向に対して直角となる縦方向の旋回流にすることができ、これにより、水平な旋回流の遠心力が小さくなって、汚物が広がらず、縦方向の旋回流により汚物を集めることができ、スムーズな洗浄水の排出ができるように構成されている。
Further, on the upper surface side of the toilet body 2, there are provided a rim 9 and a cleaning stage 12 that form a rim water passage 9 a on the outer periphery of the bowl surface 3, and cleaning water is disposed on the rear upper surface side of the toilet body 2. The distributor 10 is arranged, and the wash water flowing out from the first outlet 10 a on one side of the distributor 10 is discharged from the first outlet 11 a, passes through the rim water passage 9 a, and is halfway on the pot surface 3. It is configured to be supplied as a clockwise horizontal swirling flow.
Further, the wash water that has flowed out from the second outlet 10b on the other side of the distributor is discharged from the second outlet 11b, and is an upwardly inclined surface that inclines upward in a curved convex shape toward the rear side continuously from the rear portion of the standing surface 4 The washing water flows down along the line 4 a and is directly supplied to the trap inlet 5. The upward inclined surface 4a is convex, and the washing water from the second water discharge port 11b flows down toward the trap inlet 5, so that the momentum of the horizontal swirling flow is weakened at the rear of the toilet and the horizontal The swirling flow can be converted into a vertical swirling flow that is perpendicular to the direction of drainage, which reduces the centrifugal force of the horizontal swirling flow and prevents the filth from spreading. It can be collected and is configured so that it can be smoothly drained.

このように、鉢面3上を旋回して立ち面4内に流下する洗浄水と、上傾面4aに沿って流下する洗浄水が、トラップ入口5に集められると、トラップ排水路6内の溜水面Wが上昇し、洗浄水がトラップ排水路6内の頂部6aを超えて排水口7に流下し、排水ソケット8に形成されている絞り部8aで絞られることで、トラップ排水路6内が満水状態となり、このトラップ排水路6内が満水状態となった時の鉢面3側の溜水面Wとの水位差により排水方向に引き込み力が生じて、このサイフォン作用により良好に汚物を洗浄水とともに排出することができるものである。   As described above, when the cleaning water swirling on the bowl surface 3 and flowing down into the standing surface 4 and the cleaning water flowing down along the upward inclined surface 4 a are collected at the trap inlet 5, The water surface W rises, the washing water flows over the top 6a in the trap drain 6 and flows down to the drain 7 and is squeezed by the throttle 8a formed in the drain socket 8, so that the trap drain 6 When the trap drainage channel 6 becomes full, a pulling force is generated in the direction of drainage due to the difference in water level with the water surface W on the side of the bowl surface 3 when this trap drainage channel 6 is full, and this siphon action cleans filth well. It can be discharged with water.

引き続きサイフォン式水洗便器の詳細を図3〜図12の断面図に従って説明する。
図3は、図1のA−A線断面図であり、図4は、図1のB−B線断面図であり、図5は、図1のC−C線断面図であり、図6は、図1のD−D線断面図であり、図7は、図1のE−E線断面図である。
The details of the siphon type flush toilet will be described with reference to the cross-sectional views of FIGS.
3 is a cross-sectional view taken along line AA in FIG. 1, FIG. 4 is a cross-sectional view taken along line BB in FIG. 1, and FIG. 5 is a cross-sectional view taken along line CC in FIG. FIG. 7 is a cross-sectional view taken along line DD in FIG. 1, and FIG. 7 is a cross-sectional view taken along line EE in FIG.

図3および図4に示すように、便器本体2内の前側の鉢面3の平面視幅方向中央部には、下方側へ凹ませて凹部3aが形成され、凹部3aの平面視幅方向両端には、凸状の凸部3bが連続して形成され洗浄段12に至っている。なお、凸部3bは凹部3aよりも曲率半径が小さく設定されている。
凹部3aは、後方側(立ち面4側)へ向かって徐々に深さを増して傾斜しており、この凹部3aにより、鉢面3上での小便の跳ね返りを良好に防げるように構成されている。また、この凹部3aにより、鉢面3上の洗浄水の旋回が早期に止められ、洗浄水は凹部3aに沿って立ち面4側へ流れ込むこととなる。
As shown in FIG. 3 and FIG. 4, a concave portion 3 a is formed in the central portion of the front bowl surface 3 in the toilet body 2 in the planar view width direction so as to be recessed downward, and both ends of the concave portion 3 a in the planar view width direction. The convex portion 3b is formed continuously and reaches the cleaning stage 12. The convex portion 3b is set to have a smaller radius of curvature than the concave portion 3a.
The concave portion 3a is inclined to gradually increase in depth toward the rear side (standing surface 4 side), and the concave portion 3a is configured to favorably prevent the urine from bouncing on the bowl surface 3. Yes. Moreover, the swirling of the washing water on the bowl surface 3 is stopped at an early stage by the recess 3a, and the washing water flows into the standing surface 4 side along the recess 3a.

図1および図5〜図7に示す立ち面4は、下方側へ向かって垂直状あるいは溜水面W側へ膨らんだ凸面状に形成されており、立ち面4の全周が垂直状または溜水面W側へ膨らむ凸面状となっている。即ち、立ち面4は溜水面Wの外周に立ち上げられており、鉢面3上を旋回する洗浄水を早期にこの立ち面4に沿って流下させ、洗浄水を速くトラップ入口5に向かわせるように構成されており、この立ち面4により、汚物を外側へ広がることなく、速くトラップ入口5に集めることができる。
なお、立ち面4の上部には全周に亘って、立ち面4に向かって湾曲凸面状のアール部Rが形成され、便器後部の上傾面4aもアール部Rの一部となっている。
このアール部Rの曲率半径は上傾面4aが最も小さくなっている。即ち、便器の後部では、第2吐水口11bからの洗浄水をトラップ入口5に向かって流れ落とすために曲率半径は小さい方が良いからである。一方、便器の前部では、アール部Rの曲率半径は大きいため、立ち面4内に落ちた旋回流が再び立ち面4を登り外側に広がるのを防いで、洗浄水を速くトラップ入口5に向かわせるようにしてある。
The standing surface 4 shown in FIGS. 1 and 5 to 7 is formed in a vertical shape toward the lower side or a convex surface swelled toward the water surface W, and the entire circumference of the standing surface 4 is vertical or the water surface It has a convex shape that bulges to the W side. That is, the standing surface 4 is raised on the outer periphery of the water storage surface W, and the washing water swirling on the bowl surface 3 flows down along the standing surface 4 at an early stage so that the washing water is quickly directed to the trap inlet 5. The standing surface 4 allows the filth to be quickly collected at the trap inlet 5 without spreading outward.
A curved convex R-shaped portion R is formed on the upper portion of the standing surface 4 over the entire circumference, and the upward inclined surface 4a of the rear portion of the toilet bowl is also a part of the rounded portion R. .
The radius of curvature of the rounded portion R is the smallest on the upward inclined surface 4a. That is, at the rear part of the toilet bowl, it is preferable that the radius of curvature is small in order to allow the washing water from the second water outlet 11b to flow down toward the trap inlet 5. On the other hand, since the radius of curvature of the rounded portion R is large at the front portion of the toilet bowl, the swirling flow that has fallen into the standing surface 4 is prevented from climbing up the standing surface 4 again and spreading outward, so that the washing water can quickly enter the trap inlet 5. It is made to go.

立ち面4内の溜水面Wの平面視形状は、図2に示すように、前後方向に長い略楕円形となっている。
なお、この溜水面Wの平面視形状において前方側の曲率半径R2が最も大きく設定されており、この曲率半径R2が大きい前方部の左右側の立ち面4で洗浄水を跳ね返して、洗浄水をトラップ入口5に向かわせるように構成されている。
また、溜水面Wの前後方向中央よりも前側に、平面視最大横幅を有するP点が存在するように設定されており、鉢面3から立ち面4に沿って溜水面Wに流れ落ちる洗浄水が、曲率半径R2が大きい前方側の部分で跳ね返されて、P点以降は後方のトラップ入口5に近づくにつれて速度を増して集められるように構成されている。これにより、トラップ入口5に洗浄水および汚物が速く流れ込むこととなり、少ない洗浄水で汚物をトラップ入口5に集めてサイフォンを速く起動させることができる。
As shown in FIG. 2, the plan view shape of the water storage surface W in the standing surface 4 is a substantially elliptical shape that is long in the front-rear direction.
In addition, the curvature radius R2 on the front side is set to be the largest in the plan view shape of the water storage surface W, and the washing water is rebounded by the standing surfaces 4 on the left and right sides of the front portion where the curvature radius R2 is large. It is configured to face the trap inlet 5.
Further, the point P having the maximum lateral width in a plan view is set in front of the center of the water surface W in the front-rear direction, and the wash water that flows from the bowl surface 3 along the standing surface 4 to the water surface W It is configured such that it is rebounded at the front portion where the radius of curvature R2 is large, and is collected at an increased speed as it approaches the rear trap inlet 5 after the point P. As a result, the washing water and the filth flow into the trap inlet 5 quickly, and the siphon can be activated quickly by collecting the filth at the trap inlet 5 with a small amount of washing water.

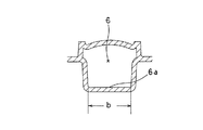
なお、トラップ入口5の断面形状は、図8(図1のF−F線断面図である。)に示すように、上面および底面が略水平形状となっており、上方の角部は角ばっていて下方の角部は丸く、全体として略D形状になっている。このトラップ入口5は、縦寸法よりも横幅寸法が大きい形状に開口されたものであり、このトラップ入口5の縦寸法aは50mmとなっており、横幅寸法bは77mmとなっている。
このように縦寸法よりも横幅寸法を大きくしたことにより、トラップ入口5内にスムーズに洗浄水および浮遊物等が流れ込むこととなり、早期にサイフォンを起動させることができるものとなる。
即ち、トラップ入口5では、流れ込む洗浄水の縦方向下部部位は、下側へもぐり込むことで速度が遅くなり淀みができるため、縦寸法aは短いものとして横幅寸法bを広げれば、その分、流れ込む洗浄水の速度の速い上部部位の面積が増えることとなるため、洗浄水をスムーズにトラップ入口5へ淀みなく速く流れ込ませることができ、トラップ入口5で整流化できるものである。さらに、横幅があるため、トラップ入口5での汚物の詰まりも起こらないのである。なお、略D形の断面形状において上方の角部を角ばらせることは、流れ込む洗浄水の速度の速い断面上部部位の面積を増やすこととなり、好ましい形状と言える。
As shown in FIG. 8 (cross-sectional view taken along the line FF in FIG. 1), the trap inlet 5 has a substantially horizontal top and bottom surface, and the upper corner is square. The lower corners are round and generally D-shaped as a whole. The trap inlet 5 is opened in a shape having a width dimension larger than the vertical dimension. The trap inlet 5 has a vertical dimension a of 50 mm and a horizontal dimension b of 77 mm.
By making the width dimension larger than the vertical dimension in this way, the washing water, suspended matter and the like smoothly flow into the trap inlet 5, and the siphon can be activated at an early stage.
That is, at the trap inlet 5, the vertical portion of the wash water that flows into the trap in the vertical direction slows down and stagnates by being swung downward. Since the area of the upper part where the speed of the washing water is high is increased, the washing water can smoothly flow into the trap inlet 5 quickly without stagnation and can be rectified at the trap inlet 5. Furthermore, since there is a width, clogging of filth at the trap inlet 5 does not occur. In addition, it can be said that making the upper corner portion round in the substantially D-shaped cross-sectional shape increases the area of the upper portion of the cross-section where the flow rate of the washing water flowing in is high, and is a preferable shape.

なお、トラップ入口5の縦寸法aは50mm〜60mmの範囲に設定することが好ましく、また、横幅寸法bは70mm〜85mmの範囲に設定することが好ましい。
また、トラップ入口5は図8のような断面D形状に限定するものではなく、縦寸法よりも横幅寸法が大きい楕円形等の形状としても十分な効果が得られる。なお、断面楕円形よりも断面横長長方形のほうが効果が大であり、さらに断面横長長方形よりも断面略D形状のほうが効果が大である。
また、このトラップ入口5の手前には、図1に示すように、トラップ入口5へ向かって下向きに延びる導入通路5aが設けられており、この導入通路5aの内周面に沿って洗浄水がトラップ排水路6内に流れ込む際に、洗浄水が絞られて整流化され、洗浄水の流れがスムーズなものとなる。
なお、トラップ入口5の前でしっかり整流化され、さらに、扁平形状のトラップ入口5で整流化できるため、洗浄水がトラップ排水路6内に整流のまま流れ込み、トラップ排水路の上昇管6Pの縦寸法を大きくしても乱流が起き難く、スムーズに洗浄水の排出ができる。
The vertical dimension a of the trap inlet 5 is preferably set in the range of 50 mm to 60 mm, and the lateral width dimension b is preferably set in the range of 70 mm to 85 mm.
Further, the trap inlet 5 is not limited to the D-shaped cross section as shown in FIG. 8, and a sufficient effect can be obtained even when the trap inlet 5 has a shape such as an ellipse whose width is larger than the length. Note that the effect of the horizontally long rectangular cross section is greater than that of the elliptical cross section, and the effect of the substantially D-shaped cross section is greater than that of the horizontally long rectangular cross section.
Further, as shown in FIG. 1, an introduction passage 5a extending downward toward the trap inlet 5 is provided in front of the trap inlet 5, and cleaning water flows along the inner peripheral surface of the introduction passage 5a. When flowing into the trap drain 6, the wash water is squeezed and rectified, and the flow of the wash water becomes smooth.
Since the water is rectified in front of the trap inlet 5 and can be rectified in the flat trap inlet 5, the washing water flows into the trap drainage channel 6 while being rectified, and the vertical pipe 6P of the trap drainage channel Even if the dimensions are increased, turbulent flow is unlikely to occur and the washing water can be discharged smoothly.

また、図7,図8に示すように、トラップ入口5の手前にある導入通路5aの形状は、底面5bの両側にある立ち面5cとを繋ぐアール部が、断面方向の旋回流の流れが立ち面5cから底面5bに向かう便器正面から見て左側のアール部5dの曲率半径を、底面5bから立ち面5cに向かうアール部5eの曲率半径より小さく設定してある。即ち、左側のアール部5dの方が右側のアール部5eより曲率半径が小さく、緩やかな曲がり具合のアール面に形成されている。
なお、洗浄水は、鉢面3上で反時計回りの水平な旋回流を形成し、上傾面4aから流れる洗浄水により縦方向の旋回流になり導入通路5a内に流入する。この時、左側のアール部5dが緩やかな曲がり具合のアール面であるため、洗浄水は導入通路5a内にスムーズに流入する。導入通路5a内に流入した洗浄水は、曲率の大きい曲がり具合のきつい右側のアール部5eから、直線的に立ち上がっている右側の立ち面5cに衝突してトラップ排水路6の下流方向への流れに変化する。
このように導入通路5aによって、便器の鉢面3内で旋回していた流れを、トラップ排水路6下流方向の流れに変化させ整流化することができる。
Further, as shown in FIGS. 7 and 8, the shape of the introduction passage 5a in front of the trap inlet 5 is such that the rounded portion connecting the standing surfaces 5c on both sides of the bottom surface 5b has a swirling flow in the cross-sectional direction. The radius of curvature of the left rounded portion 5d as viewed from the front of the toilet bowl from the standing surface 5c to the bottom surface 5b is set smaller than the radius of curvature of the rounded portion 5e from the bottom surface 5b to the standing surface 5c. That is, the left rounded portion 5d has a smaller radius of curvature than the right rounded portion 5e, and is formed on a rounded surface that is gently bent.
The washing water forms a counterclockwise horizontal swirling flow on the bowl surface 3, and becomes a swirling flow in the vertical direction by the washing water flowing from the upper inclined surface 4a and flows into the introduction passage 5a. At this time, since the rounded portion 5d on the left side is a curved surface that is gently bent, the washing water smoothly flows into the introduction passage 5a. The washing water that has flowed into the introduction passage 5a collides with the right-side standing surface 5c that rises linearly from the right-side curved portion 5e having a large curvature and flows in the downstream direction of the trap drain 6 To change.
In this way, the introduction passage 5a can change the flow swirling in the bowl surface 3 of the toilet bowl into a flow in the downstream direction of the trap drain 6 and rectify the flow.

なお、アール部5d,5eは、管状の導入通路5aに限らず、特許文献1に示すような管状ではない導入通路においても、導入通路5a底面の下降傾斜面に同様な形状を設けることにより、同じ整流効果を得ることができる。
また、旋回流が時計回りの場合は、導入通路5aのアール部5d,5eの形状は左右逆向きの形状となる。
In addition, the rounded portions 5d and 5e are not limited to the tubular introduction passage 5a, but also in the introduction passage that is not tubular as shown in Patent Document 1, by providing a similar shape on the descending inclined surface of the bottom surface of the introduction passage 5a, The same rectifying effect can be obtained.
Further, when the swirl flow is clockwise, the shapes of the rounded portions 5d and 5e of the introduction passage 5a are reversed in the left-right direction.

また、図12は、図1のK−K線断面構成図である。
図12に示すように、頂部6a手前のトラップ排水路6の断面形状は、横幅寸法bが77mmに設定されており、縦寸法cは62mmに設定されている。即ち、図12において、トラップ排水路6の内周の上面側中央部が上側へ膨らませて形成されており、この上側へ膨らんだ部分により汚物が回転し易いため、頂部6a付近で汚物の詰まりが発生し難いものとなる。
このように上面側中央部を膨らませて汚物回転用空間6bを形成したことにより、汚物回転用空間6b内で汚物が良好に回転して頂部6aを超えて排水口7に落下することができるものとなり、硬く長い汚物でも詰まることなく排出できるものとなる。
12 is a cross-sectional configuration view taken along the line KK of FIG.
As shown in FIG. 12, as for the cross-sectional shape of the trap drainage channel 6 in front of the top 6a, the lateral width b is set to 77 mm, and the longitudinal dimension c is set to 62 mm. That is, in FIG. 12, the central portion on the upper surface side of the inner periphery of the trap drainage channel 6 is formed to bulge upward, and the filth is easily rotated by the portion bulged upward, so clogging of filth is near the top 6a. It becomes difficult to occur.
In this way, the filth rotation space 6b is formed by inflating the center portion on the upper surface side, so that the filth can rotate well in the filth rotation space 6b and fall to the drain port 7 beyond the top 6a. Thus, even hard and long filth can be discharged without clogging.

なお、汚物が良好に頂部6aを超えることができれば良いため、良好に汚物が回転できる寸法として、縦寸法cは53mm以上に設定することが好ましい。また、横幅寸法bは70mm〜85mmの範囲内に設定することが好ましい。
このように汚物が詰まらないようにして早期に排水ソケット8の絞り部8a(内径53mm)まで洗浄水を満水状態とさせて、早期にスムーズにサイフォンを起動させることができ、少ない水で良好に洗浄できるものとなる。
In addition, since it is only necessary for the filth to be able to satisfactorily exceed the top portion 6a, it is preferable to set the vertical dimension c to 53 mm or more as a dimension that allows the filth to rotate well. Moreover, it is preferable to set the width dimension b in the range of 70 mm-85 mm.
In this way, the siphon can be started smoothly and smoothly by quickly filling the washing water up to the throttle portion 8a (inner diameter 53 mm) of the drain socket 8 without clogging the dirt, and it is good with less water. It can be washed.

また、図9は、図1のG−G線断面図を示す。
この図9は、トラップ排水路6の頂部6aの断面形状を示すものであり、この頂部6aの下面は水平形状となっており、横幅寸法bは、トラップ入口5の横幅寸法と同じ77mmに設定されている。
即ち、このトラップ排水路6の頂部6aも下面は水平形状で横幅が広いものとなっており、トラップ排水路6内に押し込まれた洗浄水により、トラップ排水路6内の溜水面Wの水位が頂部6aよりも僅かに上方へ上昇すると、横幅寸法bが広く下面は水平なために大量の水が勢いよく排水口7に向かって流れ落ちることとなり、速くサイフォンを起動させることができるのである。
なお、一般的には、この頂部6aの横幅寸法は50mm〜60mmであるが、この横幅寸法bは75mm以上とするのが好ましい。
なお、図1において上昇管6Pの断面の縦寸法は、トラップ入口5から頂部6aにかけて徐々に広がっていく形状となっているが、頂部6aでの縦寸法は汚物の回転には支障はないため、図12のK−K線断面より狭くしても良い。
Moreover, FIG. 9 shows the GG sectional view taken on the line of FIG.
FIG. 9 shows the cross-sectional shape of the top portion 6 a of the trap drainage channel 6, the lower surface of the top portion 6 a has a horizontal shape, and the lateral width dimension b is set to 77 mm, which is the same as the lateral width dimension of the trap inlet 5. Has been.
That is, the top portion 6 a of the trap drainage channel 6 also has a horizontal bottom surface and a wide width, and the water level of the water storage surface W in the trap drainage channel 6 is caused by the wash water pushed into the trap drainage channel 6. When it rises slightly above the top portion 6a, the width dimension b is wide and the bottom surface is horizontal, so that a large amount of water flows down toward the drain port 7 vigorously, and the siphon can be activated quickly.
In general, the horizontal width of the top portion 6a is 50 mm to 60 mm, but the horizontal width b is preferably 75 mm or more.
In FIG. 1, the vertical dimension of the cross section of the rising pipe 6P gradually increases from the trap inlet 5 to the top part 6a. However, the vertical dimension at the top part 6a does not hinder the rotation of filth. It may be narrower than the cross section taken along the line KK of FIG.

なお、図10は、図1のI−I線断面図であり、また、図11は、図1のJ−J線断面構成図であり、排水口7の部分を示しており、この排水口7の部分の排水路は円形状に形成されて、下端側は内径が58mmの絞られた形状となっている。   10 is a cross-sectional view taken along the line II in FIG. 1, and FIG. 11 is a cross-sectional configuration view taken along the line JJ in FIG. The drainage channel 7 is formed in a circular shape, and the lower end side has a narrowed shape with an inner diameter of 58 mm.

なお、図2のような溜水面Wの平面視形状が前後方向に長い略楕円形や、図6および図7に示すような立ち面4の凸面状の形状や、図8のような横幅の広い扁平なトラップ入口5の形状や、図12のような汚物回転用空間6bを形成させたトラップ排水路6の断面形状等は、サイフォン式水洗便器に限らず、サイフォンゼット式水洗便器や、水道直結式のダイレクトバルブ式便器や、サイフォン作用が生じない洗い落とし式便器に採用することもでき、汚物および洗浄水がトラップ入口5に集まりやすく、少ない水で洗浄できる構造を確保することができるものとなる。   In addition, the plan view shape of the water storage surface W as shown in FIG. 2 is a substantially elliptical shape that is long in the front-rear direction, the convex shape of the standing surface 4 as shown in FIGS. 6 and 7, and the horizontal width as shown in FIG. The shape of the wide and flat trap inlet 5 and the cross-sectional shape of the trap drainage channel 6 in which the filth rotation space 6b as shown in FIG. 12 is formed are not limited to the siphon flush toilet, It can also be used in direct-coupled direct-valve toilets and wash-out toilets that do not produce siphon action, and it is easy to collect dirt and washing water at the trap inlet 5 and ensure a structure that can be washed with less water. Become.

次に、図13〜図18では、水洗便器における上昇管6Pの部分の変更例である第2実施例を示す。
図13は、図1におけるトラップ排水路6の上昇管6Pの拡大断面図であり、この図13におけるL−L断面は図14に示し、M−M断面は図15に示し、N−N断面は図16に示し、O−O断面は図17に示し、P−P断面は図18に示す。
Next, in FIGS. 13-18, 2nd Example which is a modification of the part of the rising pipe 6P in a flush toilet is shown.
13 is an enlarged cross-sectional view of the riser pipe 6P of the trap drain 6 in FIG. 1, the LL cross section in FIG. 13 is shown in FIG. 14, the MM cross section is shown in FIG. 15, and the NN cross section. Is shown in FIG. 16, the OO cross section is shown in FIG. 17, and the PP cross section is shown in FIG.

即ち、図14,図15,図16,図17は、上昇管6Pにおける排水方向に対し直角の断面形状を示している。また、図18は、頂部6aの上流側近傍の排水方向に対し直角の断面形状を示している。   That is, FIG. 14, FIG. 15, FIG. 16, and FIG. FIG. 18 shows a cross-sectional shape perpendicular to the direction of drainage near the upstream side of the top 6a.

上昇管6Pの内周面には、底側の底面61と、底面61の左右において縦方向(上下方向)に立ち上がる立ち面62,63と、立ち面62,63の上端の略山形状の上面64,65,66が連続して形成されている。
上面64,65,66は、洗浄水の排水方向に対し直角方向の中央部に位置する上面中央部64から左右に下向きに上面傾斜部65,66が立ち面62,63に向かって形成されており、図14では、上面傾斜部65,66はトラップ排水路6内に膨出した湾曲の傾斜状に形成されている。また、図15,図16,図17では、上面傾斜部65,66は略直線状に傾斜して形成されている。
また、図18では、左右の立ち面62,63の高さが、中間部から頂部6a近傍の間で最大となるような形状となっており、この図18に示す上昇管6Pの上昇端の面積が最大の面積となるように設定されている。
なお、上昇管6Pの上流端であるトラップ入口5の排水方向に対する直角の断面は、前記図8に示したような断面形状となっており、トラップ排水路6の頂部6aの断面形状は、図9と同じ形状となっている。
The inner peripheral surface of the rising pipe 6P includes a bottom surface 61 on the bottom side, rising surfaces 62 and 63 that rise in the vertical direction (vertical direction) on the left and right of the bottom surface 61, and a substantially mountain-shaped upper surface at the upper ends of the rising surfaces 62 and 63. 64, 65, 66 are formed continuously.
The upper surfaces 64, 65, 66 are formed with upper surface inclined portions 65, 66 facing the standing surfaces 62, 63 downward from the upper surface central portion 64 located at the central portion in the direction perpendicular to the direction of draining the washing water. In FIG. 14, the upper surface inclined portions 65 and 66 are formed in a curved inclined shape bulging into the trap drainage channel 6. In FIGS. 15, 16, and 17, the upper surface inclined portions 65 and 66 are formed to be inclined substantially linearly.
In FIG. 18, the height of the left and right standing surfaces 62, 63 is such that the height is maximum between the middle portion and the vicinity of the top portion 6a, and the rising end of the rising pipe 6P shown in FIG. The area is set to be the maximum area.
Note that the cross section perpendicular to the drain direction of the trap inlet 5 which is the upstream end of the ascending pipe 6P has a cross section as shown in FIG. 8, and the cross section of the top 6a of the trap drain 6 is shown in FIG. 9 and the same shape.

なお、上昇管6P内で上流側から下流側に向かって排水方向に流れる洗浄水は、図13内の矢印WSに沿って流れの速い水流となる。
即ち、トラップ入口5では、断面における縦方向の下側へ潜り込む洗浄水は流速が遅くなり淀みが生じやすくなるが、トラップ入口5での断面における縦方向の上側では、水流は潜らないために速い流速を維持して上昇管6P内に流入され、この速い水流は上昇管6P内で頂部6aに向かって流れるため、上昇管6Pの中間部から下流側の頂部6aの手前の上昇端に至る間では、断面における縦方向の下側、即ち底面61側の水流の速度が速く、断面における縦方向の上側で水流が遅くなり淀みが生じやすくなる。そのため、上昇管6P内全体として水流の速度を良好に維持して洗浄水が圧損なくスムーズに流れるように、図14〜図18に示したような断面形状に設定したものである。
In addition, the wash water that flows in the direction of drainage from the upstream side toward the downstream side in the ascending pipe 6P becomes a fast flowing water along the arrow WS in FIG.
That is, at the trap inlet 5, the washing water that enters the lower side in the vertical direction in the cross section has a low flow rate and is likely to stagnate, but the upper part of the vertical direction in the cross section at the trap inlet 5 is fast because the water flow does not dive. The flow rate is maintained to flow into the ascending pipe 6P, and this fast water flow flows in the ascending pipe 6P toward the top 6a, so that it reaches from the middle part of the ascending pipe 6P to the ascending end just before the downstream top 6a. Then, the speed of the water flow on the lower side in the vertical direction in the cross section, that is, the bottom surface 61 side is high, and the water flow becomes slow on the upper side in the vertical direction in the cross section, and stagnation tends to occur. For this reason, the cross-sectional shape as shown in FIGS. 14 to 18 is set so that the water flow rate is maintained well in the ascending pipe 6P and the washing water flows smoothly without pressure loss.

前述したように、トラップ入口5では断面の縦方向中央より上側の洗浄水の流速が速いために、断面の縦方向中央より上側が下側より大きい面積となるように、図8のような形状に形成されて速い流速を確保しており、トラップ入口5から上昇管6Pの中間部にかけては、断面の縦方向中央より上側の面積を広くして、下側の面積は絞って狭くしてある。
また、上昇管6Pの中間部から下流側の頂部6aの手前の上昇端にかけては、断面の縦方向中央より下側の洗浄水の流速が速いために、断面の縦方向中央より下側が上側より大きい面積となるように、断面の縦方向中央より下側の面積を広くして、上側の面積は絞って狭くしてある(図14,図15,図16,図17,図18参照)。
As described above, since the flow rate of the cleaning water above the vertical center of the cross section is high at the trap inlet 5, the shape as shown in FIG. 8 is formed so that the area above the vertical center of the cross section is larger than the lower side. A high flow rate is ensured, and the area above the center in the vertical direction of the cross section is widened and the area on the bottom is narrowed from the trap inlet 5 to the middle part of the riser pipe 6P. .
In addition, since the flow rate of the washing water below the center in the longitudinal direction of the cross section is higher from the middle portion of the ascending pipe 6P to the upstream end of the downstream top portion 6a, the lower side from the vertical center of the cross section is higher than the upper side. In order to obtain a large area, the area below the center in the longitudinal direction of the cross section is widened, and the area on the upper side is narrowed down (see FIGS. 14, 15, 16, 17, and 18).

このように、上昇管6P内における速い流れの水流WSの通る面積を広くして、逆に他の部分の面積を絞り、淀みを無くしてスムーズに洗浄水が流れるように形成されている。
即ち、図14〜図18では、断面の縦方向中央より下側が上側より大きい面積となるように、上面中央部64から左右に下向きに上面傾斜部65,65を形成して、上側の面積を狭めたのである。
また、この部分では底面61側は洗浄水の排水方向に対し直角方向に延びる略平坦面に形成されて、この底面61に沿って早い水流が大量に流れるように設定したのである。
In this manner, the area through which the fast-flowing water stream WS passes in the ascending pipe 6P is widened, and conversely, the area of the other part is narrowed to eliminate stagnation so that the washing water flows smoothly.
That is, in FIGS. 14 to 18, the upper surface inclined portions 65 and 65 are formed downward from the upper surface central portion 64 to the left and right so that the lower side from the vertical center of the cross section is larger than the upper side, and the upper area is reduced. It was narrowed.
In addition, in this portion, the bottom surface 61 side is formed to be a substantially flat surface extending in a direction perpendicular to the direction of draining the washing water, so that a large amount of fast water flows along the bottom surface 61.

また、図18に示すように、上昇管6Pの上昇端では立ち面62,63の高さを高くして、この部分の面積を広げて汚物が回転しやすいように設定したものであり、この部分での汚物の詰まりを確実に防ぐことができるものとなる。
なお、図18においても上面側は略山形状に絞ってあり、上面側での洗浄水の流速は高まり、良好に汚物の詰まりを無くすることができるものである。
In addition, as shown in FIG. 18, the height of the rising surfaces 62 and 63 is increased at the rising end of the rising pipe 6P, and the area of this portion is widened so that the filth is easy to rotate. It is possible to reliably prevent clogging of filth at the part.
In FIG. 18 as well, the upper surface side is narrowed to a substantially mountain shape, the flow rate of the cleaning water on the upper surface side is increased, and clogging of filth can be satisfactorily eliminated.

1 サイフォン式水洗便器
2 便器本体
3 鉢面
3a 凹部
4 立ち面
4a 上傾面(アール部)
5 トラップ入口
5a 導入通路
6 トラップ排水路
6P トラップ排水路の上昇管
6a 頂部
6b 汚物回転用空間
7 排水口
8 排水ソケット
8a 絞り部
9 リム
9a リム通水路
10 分配器
10a 第1流出口
10b 第2流出口
11a 第1吐水口
11b 第2吐水口
12 洗浄段
61 底面
62,63 立ち面
64 上面中央部
65,66 上面傾斜部
W 溜水面
R アール部
P 最大幅位置
DESCRIPTION OF SYMBOLS 1 Siphon type flush toilet 2 Toilet bowl main body 3 Bowl surface 3a Recessed part 4 Standing surface 4a Upward inclined surface (Ru part)
5 trap inlet 5a introduction passage 6 trap drainage channel 6P trap drainage channel 6a top 6b filth rotation space 7 drainage port 8 drainage socket 8a throttle 9 rim 9a rim waterway 10 distributor 10a first outlet 10b second Outlet 11a 1st outlet 11b 2nd outlet 12 Washing stage 61 Bottom 62, 63 Standing surface 64 Upper surface center part 65, 66 Upper surface inclined part W Reservoir surface R Earl part P Maximum width position

Claims (9)

トラップ入口から下流側へ向かって上傾したトラップ排水路を有する水洗式便器において、
前記トラップ排水路の上傾した上昇管は、洗浄水の排水方向に対し直角の断面の縦寸法が、トラップ入口から下流側へ向け大きくなるように形成されてなり、
前記トラップ入口は、縦寸法よりも横幅寸法が大きい形状に開口されている
ことを特徴とする水洗式便器。
In the flush toilet having a trap drainage channel inclined upward from the trap inlet toward the downstream side,
The upwardly inclined riser pipe of the trap drainage channel is formed so that the vertical dimension of the cross section perpendicular to the drainage direction of the washing water increases from the trap inlet toward the downstream side,
The flush toilet, wherein the trap entrance is opened in a shape having a width dimension larger than a length dimension.
前記トラップ入口の手前には、便器後方に向かい排水路の上下が下降傾斜した管状の導入通路が設けられている
ことを特徴とする請求項1に記載の水洗式便器。
The flush toilet according to claim 1, wherein a tubular introduction passage is provided in front of the trap entrance, and the drainage channel is inclined downward toward the rear of the toilet.
前記トラップ入口近傍の上流部における排水路方向に対して直角の断面において、
底面両側にある立ち面とを繋ぐアール部は、
前記断面方向の旋回流の流れが立ち面から底面に向かうアール部の曲率半径を、底面から立ち面に向かうアール部の曲率半径より小さくした
ことを特徴とする請求項1または請求項2に記載の水洗式便器。
In a cross section perpendicular to the direction of the drainage channel in the upstream portion near the trap inlet,
The rounded part connecting the standing surfaces on both sides of the bottom
The curvature radius of the rounded portion in which the flow of the swirling flow in the cross-sectional direction is directed from the standing surface to the bottom surface is smaller than the curvature radius of the rounded portion from the bottom surface to the standing surface. Flush toilet.
前記上昇管における洗浄水の排水方向に対し直角の断面形状は、
前記トラップ入口から下流側の中間部にかけては、断面の縦方向中央より上側が下側より大きい面積となる形状に形成されているとともに、
前記中間部から下流側の頂部の上流側近傍にかけては、断面の縦方向中央より下側が上側より大きい面積となる形状に形成されている
ことを特徴とする請求項1または請求項3に記載の水洗式便器。
The cross-sectional shape perpendicular to the direction of washing water drainage in the riser is
From the trap inlet to the downstream intermediate part, the upper side from the longitudinal center of the cross section is formed in a shape having a larger area than the lower side,
4. The method according to claim 1, wherein the intermediate portion is formed in a shape in which the lower side from the longitudinal center of the cross section has a larger area than the upper side in the vicinity of the upstream side of the top portion on the downstream side. Flush toilet bowl.
前記中間部から頂部の上流側近傍に至る間の前記上昇管の内周側面には、縦方向に立ち上がる立ち面が形成され、該立ち面の高さが前記頂部の上流側近傍で最大の高さとなるように設定されている
ことを特徴とする請求項4に記載の水洗式便器。
A rising surface rising in the vertical direction is formed on the inner peripheral side surface of the rising pipe between the intermediate portion and the vicinity of the upstream side of the top portion, and the height of the rising surface is the maximum height in the vicinity of the upstream side of the top portion. The flush toilet bowl according to claim 4, wherein the flush toilet bowl is set to be.
前記上昇管の内周面を構成する底面は、洗浄水の排水方向に対し直角方向に延びる略平坦面に形成されている
ことを特徴とする請求項1乃至請求項5何れかに記載の水洗式便器。
The water washing according to any one of claims 1 to 5, wherein a bottom surface constituting an inner peripheral surface of the rising pipe is formed in a substantially flat surface extending in a direction perpendicular to a direction of draining the washing water. Toilet bowl.
前記トラップ排水路の頂部の上流側近傍には、該トラップ排水路の内周の上面側を膨らませて汚物回転用空間が形成されている
ことを特徴とする請求項1乃至請求項6何れかに記載の水洗式便器。
The filth rotation space is formed near the upstream side of the top of the trap drainage channel by inflating the upper surface side of the inner periphery of the trap drainage channel. The flush toilet according to the description.
前記上昇管の内周面を構成する上面は、洗浄水の排水方向に対し直角方向の中央部から左右に下向きの略山形状に形成されている
ことを特徴とする請求項1乃至請求項7何れかに記載の水洗式便器。
The upper surface constituting the inner peripheral surface of the rising pipe is formed in a substantially mountain shape that is downwardly directed to the left and right from the central portion in the direction perpendicular to the draining direction of the washing water. A flush toilet according to any one of the above.
サイフォン式便器であることを特徴とする請求項1乃至請求項8何れかに記載の水洗式便器。   The flush toilet according to any one of claims 1 to 8, wherein the flush toilet is a siphon toilet.
JP2010294318A 2010-02-01 2010-12-28 Flush toilet Active JP5826485B2 (en)

Priority Applications (4)

Application Number Priority Date Filing Date Title
JP2010294318A JP5826485B2 (en) 2010-02-01 2010-12-28 Flush toilet
PCT/JP2011/051736 WO2011093440A1 (en) 2010-02-01 2011-01-28 Drainage channel of a flush toilet
US13/574,479 US20120284911A1 (en) 2010-02-01 2011-01-28 Drainage channel of flush toilet
TW100103880A TW201135016A (en) 2010-02-01 2011-02-01 Drainage channel of a flush toilet

Applications Claiming Priority (3)

Application Number Priority Date Filing Date Title
JP2010020790 2010-02-01
JP2010020790 2010-02-01
JP2010294318A JP5826485B2 (en) 2010-02-01 2010-12-28 Flush toilet

Related Child Applications (1)

Application Number Title Priority Date Filing Date
JP2015094543A Division JP6242365B2 (en) 2010-02-01 2015-05-07 Flush toilet

Publications (2)

Publication Number Publication Date
JP2011174363A true JP2011174363A (en) 2011-09-08
JP5826485B2 JP5826485B2 (en) 2015-12-02

Family

ID=44687452

Family Applications (2)

Application Number Title Priority Date Filing Date
JP2010294318A Active JP5826485B2 (en) 2010-02-01 2010-12-28 Flush toilet
JP2015094543A Active JP6242365B2 (en) 2010-02-01 2015-05-07 Flush toilet

Family Applications After (1)

Application Number Title Priority Date Filing Date
JP2015094543A Active JP6242365B2 (en) 2010-02-01 2015-05-07 Flush toilet

Country Status (1)

Country Link
JP (2) JP5826485B2 (en)

Cited By (35)

* Cited by examiner, † Cited by third party
Publication number Priority date Publication date Assignee Title
JP2014152468A (en) * 2013-02-06 2014-08-25 Toto Ltd Water closet
JP2015067955A (en) * 2013-09-26 2015-04-13 Toto株式会社 Water closet
JP2015068126A (en) * 2013-09-30 2015-04-13 Toto株式会社 Water closet
JP2015068127A (en) * 2013-09-30 2015-04-13 Toto株式会社 Water closet
JP2015068164A (en) * 2014-05-28 2015-04-13 Toto株式会社 Water closet bowl
JP2015068125A (en) * 2013-09-30 2015-04-13 Toto株式会社 Water closet
JP2016098491A (en) * 2014-11-18 2016-05-30 株式会社Lixil Toilet device
WO2016143029A1 (en) * 2015-03-09 2016-09-15 株式会社Lixil Flush toilet unit
JP2017145631A (en) * 2016-02-18 2017-08-24 Toto株式会社 Water closet
JP2017172119A (en) * 2016-03-18 2017-09-28 Toto株式会社 Flush toilet bowl
JP2018013037A (en) * 2017-10-30 2018-01-25 Toto株式会社 Flush toilet bowl
JP2018028262A (en) * 2017-11-22 2018-02-22 Toto株式会社 Flush toilet
JP2018044401A (en) * 2016-09-16 2018-03-22 Toto株式会社 Flush toilet bowl
JP2018111949A (en) * 2017-01-10 2018-07-19 株式会社Lixil Water wash type toilet bowl
JP2018111947A (en) * 2017-01-10 2018-07-19 株式会社Lixil Water wash type toilet bowl
JP2018112004A (en) * 2017-01-12 2018-07-19 Toto株式会社 Wash-out type toilet bowl
JP2018111946A (en) * 2017-01-10 2018-07-19 株式会社Lixil Water wash type toilet bowl
WO2018131439A1 (en) * 2017-01-10 2018-07-19 株式会社Lixil Flush toilet
JP2018111948A (en) * 2017-01-10 2018-07-19 株式会社Lixil Water wash type toilet bowl
JP2018111944A (en) * 2017-01-10 2018-07-19 株式会社Lixil Flush toilet
JP2018111945A (en) * 2017-01-10 2018-07-19 株式会社Lixil Flush toilet
JP2018119400A (en) * 2018-05-11 2018-08-02 Toto株式会社 Water closet
JP2019044428A (en) * 2017-08-31 2019-03-22 Toto株式会社 Water closet
JP2019203380A (en) * 2017-10-30 2019-11-28 Toto株式会社 Flush toilet bowl
JP2020007908A (en) * 2019-09-19 2020-01-16 Toto株式会社 Water closet
JP2020109255A (en) * 2020-03-23 2020-07-16 Toto株式会社 Flush water closet
JP2020169565A (en) * 2020-07-22 2020-10-15 Toto株式会社 Flush toilet bowl
JP2021036128A (en) * 2020-11-20 2021-03-04 Toto株式会社 Water closet
JP2022086424A (en) * 2020-11-30 2022-06-09 Toto株式会社 Washing toilet
JP2022130976A (en) * 2021-02-26 2022-09-07 Toto株式会社 flush toilet
US11560705B2 (en) 2020-03-30 2023-01-24 Toto Ltd. Washdown flush toilet
JP2023050888A (en) * 2021-09-30 2023-04-11 Toto株式会社 Water closet
JP2023050883A (en) * 2021-09-30 2023-04-11 Toto株式会社 Water closet
JP2023102351A (en) * 2022-01-12 2023-07-25 株式会社Lixil toilet bowl
US12270188B2 (en) 2021-09-30 2025-04-08 Toto Ltd. Flush toilet

Families Citing this family (4)

* Cited by examiner, † Cited by third party
Publication number Priority date Publication date Assignee Title
JP6919153B2 (en) * 2015-09-09 2021-08-18 Toto株式会社 Washing toilet bowl
WO2018151351A1 (en) * 2017-02-16 2018-08-23 강현웅 Cyclone-type toilet
JP6921379B2 (en) * 2017-03-23 2021-08-18 Toto株式会社 Toilet bowl device
JP7378957B2 (en) * 2019-04-25 2023-11-14 株式会社Lixil flush toilet

Citations (13)

* Cited by examiner, † Cited by third party
Publication number Priority date Publication date Assignee Title
US4987616A (en) * 1988-10-13 1991-01-29 Eljer Manufacturing, Inc. Water saver water closet
JPH0544242A (en) * 1991-08-08 1993-02-23 Inax Corp Siphon type western stool
JPH07189324A (en) * 1993-12-28 1995-07-28 Toto Ltd Flush toilet stool
JPH07324367A (en) * 1994-05-31 1995-12-12 Toto Ltd Flush toilet
JPH08232330A (en) * 1995-02-23 1996-09-10 Toto Ltd Siphon type toilet
JPH1113117A (en) * 1997-06-23 1999-01-19 Toto Ltd Flush closet bowl
JPH11247269A (en) * 1998-03-03 1999-09-14 Inax Corp Toilet
JP2000240133A (en) * 1999-02-24 2000-09-05 Toto Ltd Washing method for siphon type closet bowl and siphon type closet bowl
JP2001026960A (en) * 1999-07-14 2001-01-30 Toto Ltd Flush toilet stool
JP2003096887A (en) * 2001-09-21 2003-04-03 Toto Ltd Flush toilet bowl
JP2003239348A (en) * 2001-12-12 2003-08-27 Toto Ltd Drain valve device and draining device and toilet bowl
JP2007321353A (en) * 2006-05-30 2007-12-13 Toto Ltd Water closet
JP2008533332A (en) * 2005-03-08 2008-08-21 コーラー、カンパニー Pressure-type toilet with a function for sifting bulk logistics

Patent Citations (13)

* Cited by examiner, † Cited by third party
Publication number Priority date Publication date Assignee Title
US4987616A (en) * 1988-10-13 1991-01-29 Eljer Manufacturing, Inc. Water saver water closet
JPH0544242A (en) * 1991-08-08 1993-02-23 Inax Corp Siphon type western stool
JPH07189324A (en) * 1993-12-28 1995-07-28 Toto Ltd Flush toilet stool
JPH07324367A (en) * 1994-05-31 1995-12-12 Toto Ltd Flush toilet
JPH08232330A (en) * 1995-02-23 1996-09-10 Toto Ltd Siphon type toilet
JPH1113117A (en) * 1997-06-23 1999-01-19 Toto Ltd Flush closet bowl
JPH11247269A (en) * 1998-03-03 1999-09-14 Inax Corp Toilet
JP2000240133A (en) * 1999-02-24 2000-09-05 Toto Ltd Washing method for siphon type closet bowl and siphon type closet bowl
JP2001026960A (en) * 1999-07-14 2001-01-30 Toto Ltd Flush toilet stool
JP2003096887A (en) * 2001-09-21 2003-04-03 Toto Ltd Flush toilet bowl
JP2003239348A (en) * 2001-12-12 2003-08-27 Toto Ltd Drain valve device and draining device and toilet bowl
JP2008533332A (en) * 2005-03-08 2008-08-21 コーラー、カンパニー Pressure-type toilet with a function for sifting bulk logistics
JP2007321353A (en) * 2006-05-30 2007-12-13 Toto Ltd Water closet

Cited By (48)

* Cited by examiner, † Cited by third party
Publication number Priority date Publication date Assignee Title
JP2014152468A (en) * 2013-02-06 2014-08-25 Toto Ltd Water closet
JP2015067955A (en) * 2013-09-26 2015-04-13 Toto株式会社 Water closet
JP2015068126A (en) * 2013-09-30 2015-04-13 Toto株式会社 Water closet
JP2015068127A (en) * 2013-09-30 2015-04-13 Toto株式会社 Water closet
JP2015068125A (en) * 2013-09-30 2015-04-13 Toto株式会社 Water closet
JP2015068164A (en) * 2014-05-28 2015-04-13 Toto株式会社 Water closet bowl
JP2016098491A (en) * 2014-11-18 2016-05-30 株式会社Lixil Toilet device
WO2016143029A1 (en) * 2015-03-09 2016-09-15 株式会社Lixil Flush toilet unit
JPWO2016143029A1 (en) * 2015-03-09 2017-10-26 株式会社Lixil Flush toilet
JP2017145631A (en) * 2016-02-18 2017-08-24 Toto株式会社 Water closet
JP2017172119A (en) * 2016-03-18 2017-09-28 Toto株式会社 Flush toilet bowl
JP7223297B2 (en) 2016-09-16 2023-02-16 Toto株式会社 flush toilet
JP2021113497A (en) * 2016-09-16 2021-08-05 Toto株式会社 Flush toilet bowl
JP2018044401A (en) * 2016-09-16 2018-03-22 Toto株式会社 Flush toilet bowl
JP2018111948A (en) * 2017-01-10 2018-07-19 株式会社Lixil Water wash type toilet bowl
JP2018111947A (en) * 2017-01-10 2018-07-19 株式会社Lixil Water wash type toilet bowl
JP2018111946A (en) * 2017-01-10 2018-07-19 株式会社Lixil Water wash type toilet bowl
WO2018131439A1 (en) * 2017-01-10 2018-07-19 株式会社Lixil Flush toilet
JP2018111949A (en) * 2017-01-10 2018-07-19 株式会社Lixil Water wash type toilet bowl
JP2018111944A (en) * 2017-01-10 2018-07-19 株式会社Lixil Flush toilet
JP2018111945A (en) * 2017-01-10 2018-07-19 株式会社Lixil Flush toilet
JP2018112004A (en) * 2017-01-12 2018-07-19 Toto株式会社 Wash-out type toilet bowl
JP7066969B2 (en) 2017-01-12 2022-05-16 Toto株式会社 Wash-off toilet bowl
JP2019044428A (en) * 2017-08-31 2019-03-22 Toto株式会社 Water closet
JP2018013037A (en) * 2017-10-30 2018-01-25 Toto株式会社 Flush toilet bowl
JP2019203380A (en) * 2017-10-30 2019-11-28 Toto株式会社 Flush toilet bowl
JP2018028262A (en) * 2017-11-22 2018-02-22 Toto株式会社 Flush toilet
JP2018119400A (en) * 2018-05-11 2018-08-02 Toto株式会社 Water closet
JP2020007908A (en) * 2019-09-19 2020-01-16 Toto株式会社 Water closet
JP2020109255A (en) * 2020-03-23 2020-07-16 Toto株式会社 Flush water closet
US11560705B2 (en) 2020-03-30 2023-01-24 Toto Ltd. Washdown flush toilet
JP7402421B2 (en) 2020-07-22 2023-12-21 Toto株式会社 flush toilet
JP2020169565A (en) * 2020-07-22 2020-10-15 Toto株式会社 Flush toilet bowl
JP7150253B2 (en) 2020-07-22 2022-10-11 Toto株式会社 flush toilet
JP2022173376A (en) * 2020-07-22 2022-11-18 Toto株式会社 Flush toilet bowl
JP2021113496A (en) * 2020-07-22 2021-08-05 Toto株式会社 Flush toilet bowl
JP7093507B2 (en) 2020-11-20 2022-06-30 Toto株式会社 Washing toilet
JP2021036128A (en) * 2020-11-20 2021-03-04 Toto株式会社 Water closet
JP7663833B2 (en) 2020-11-30 2025-04-17 Toto株式会社 Flush toilet
JP2022086424A (en) * 2020-11-30 2022-06-09 Toto株式会社 Washing toilet
JP2022130976A (en) * 2021-02-26 2022-09-07 Toto株式会社 flush toilet
JP7559611B2 (en) 2021-02-26 2024-10-02 Toto株式会社 Flush toilet
JP2023050883A (en) * 2021-09-30 2023-04-11 Toto株式会社 Water closet
US12270188B2 (en) 2021-09-30 2025-04-08 Toto Ltd. Flush toilet
JP2023050888A (en) * 2021-09-30 2023-04-11 Toto株式会社 Water closet
JP7714989B2 (en) 2021-09-30 2025-07-30 Toto株式会社 flush toilet
JP7788070B2 (en) 2021-09-30 2025-12-18 Toto株式会社 flush toilet
JP2023102351A (en) * 2022-01-12 2023-07-25 株式会社Lixil toilet bowl

Also Published As

Publication number Publication date
JP5826485B2 (en) 2015-12-02
JP6242365B2 (en) 2017-12-06
JP2015158128A (en) 2015-09-03

Similar Documents

Publication Publication Date Title
JP5826485B2 (en) Flush toilet
JP5753662B2 (en) Flush toilet
JP5553188B1 (en) Flush toilet
JP6573065B2 (en) Flush toilet
JP2015190245A (en) Water closet
CN107201776B (en) Flush toilet
CN107090887B (en) Flush toilet
JP5927629B2 (en) Flush toilet
JP6848428B2 (en) Flush toilet
JP5930616B2 (en) Toilet drainage channel
JP3538894B2 (en) Siphon flush toilet
JP5979595B2 (en) Flush toilet
JP6351064B2 (en) Flush toilet
JP5674231B2 (en) Flush toilet
JP2012127114A (en) Drainage for water closet
JP2022173376A (en) Flush toilet bowl
JP5715404B2 (en) Drainage channel for flush toilet
JP6454848B2 (en) Drain pipe
JP6063712B2 (en) Toilet drainage channel
CN108331122A (en) Flushometer and closestool
JP2021113496A5 (en)
JP6820173B2 (en) Drain trap
CN205839914U (en) The toilet that flushing effect is good
JP7806440B2 (en) flush toilet
JP2012127113A (en) Drainage for water closet

Legal Events

Date Code Title Description
A621 Written request for application examination

Free format text: JAPANESE INTERMEDIATE CODE: A621

Effective date: 20130924

A131 Notification of reasons for refusal

Free format text: JAPANESE INTERMEDIATE CODE: A131

Effective date: 20140924

A521 Written amendment

Free format text: JAPANESE INTERMEDIATE CODE: A523

Effective date: 20141121

RD02 Notification of acceptance of power of attorney

Free format text: JAPANESE INTERMEDIATE CODE: A7422

Effective date: 20141121

A521 Written amendment

Free format text: JAPANESE INTERMEDIATE CODE: A821

Effective date: 20141121

A131 Notification of reasons for refusal

Free format text: JAPANESE INTERMEDIATE CODE: A131

Effective date: 20150303

A521 Written amendment

Free format text: JAPANESE INTERMEDIATE CODE: A523

Effective date: 20150424

A521 Written amendment

Free format text: JAPANESE INTERMEDIATE CODE: A523

Effective date: 20150501

TRDD Decision of grant or rejection written
A01 Written decision to grant a patent or to grant a registration (utility model)

Free format text: JAPANESE INTERMEDIATE CODE: A01

Effective date: 20151009

A61 First payment of annual fees (during grant procedure)

Free format text: JAPANESE INTERMEDIATE CODE: A61

Effective date: 20151014

R150 Certificate of patent or registration of utility model

Ref document number: 5826485

Country of ref document: JP

Free format text: JAPANESE INTERMEDIATE CODE: R150

S111 Request for change of ownership or part of ownership

Free format text: JAPANESE INTERMEDIATE CODE: R313111

R350 Written notification of registration of transfer

Free format text: JAPANESE INTERMEDIATE CODE: R350