JP2011071663A - ローカルサーバ及びコンテンツ送信方法 - Google Patents
ローカルサーバ及びコンテンツ送信方法 Download PDFInfo
- Publication number
- JP2011071663A JP2011071663A JP2009219805A JP2009219805A JP2011071663A JP 2011071663 A JP2011071663 A JP 2011071663A JP 2009219805 A JP2009219805 A JP 2009219805A JP 2009219805 A JP2009219805 A JP 2009219805A JP 2011071663 A JP2011071663 A JP 2011071663A
- Authority
- JP
- Japan
- Prior art keywords
- local
- public
- server
- content
- list
- Prior art date
- Legal status (The legal status is an assumption and is not a legal conclusion. Google has not performed a legal analysis and makes no representation as to the accuracy of the status listed.)
- Pending
Links
Images
Classifications
-
- H—ELECTRICITY
- H04—ELECTRIC COMMUNICATION TECHNIQUE
- H04L—TRANSMISSION OF DIGITAL INFORMATION, e.g. TELEGRAPHIC COMMUNICATION
- H04L67/00—Network arrangements or protocols for supporting network services or applications
- H04L67/01—Protocols
- H04L67/10—Protocols in which an application is distributed across nodes in the network
- H04L67/1097—Protocols in which an application is distributed across nodes in the network for distributed storage of data in networks, e.g. transport arrangements for network file system [NFS], storage area networks [SAN] or network attached storage [NAS]
-
- H—ELECTRICITY
- H04—ELECTRIC COMMUNICATION TECHNIQUE
- H04L—TRANSMISSION OF DIGITAL INFORMATION, e.g. TELEGRAPHIC COMMUNICATION
- H04L65/00—Network arrangements, protocols or services for supporting real-time applications in data packet communication
- H04L65/10—Architectures or entities
- H04L65/102—Gateways
- H04L65/1023—Media gateways
- H04L65/1026—Media gateways at the edge
-
- H—ELECTRICITY
- H04—ELECTRIC COMMUNICATION TECHNIQUE
- H04L—TRANSMISSION OF DIGITAL INFORMATION, e.g. TELEGRAPHIC COMMUNICATION
- H04L65/00—Network arrangements, protocols or services for supporting real-time applications in data packet communication
- H04L65/10—Architectures or entities
- H04L65/102—Gateways
- H04L65/1033—Signalling gateways
- H04L65/1036—Signalling gateways at the edge
-
- H—ELECTRICITY
- H04—ELECTRIC COMMUNICATION TECHNIQUE
- H04L—TRANSMISSION OF DIGITAL INFORMATION, e.g. TELEGRAPHIC COMMUNICATION
- H04L67/00—Network arrangements or protocols for supporting network services or applications
- H04L67/50—Network services
- H04L67/56—Provisioning of proxy services
- H04L67/565—Conversion or adaptation of application format or content
Landscapes
- Engineering & Computer Science (AREA)
- Computer Networks & Wireless Communication (AREA)
- Signal Processing (AREA)
- Multimedia (AREA)
- Information Transfer Between Computers (AREA)
- Two-Way Televisions, Distribution Of Moving Picture Or The Like (AREA)
- Telephonic Communication Services (AREA)
Abstract
【課題】 パブリックネットワークに接続されたパブリックサーバからコンテンツデータを取得することを可能とするローカルサーバ及びコンテンツ送信方法を提供する。
を提供する。
【解決手段】 ローカルサーバ400は、パブリックサーバ500に対応する言語フォーマットをローカル再生装置300に対応する言語フォーマットに変換するリスト作成部440を備える。リスト作成部440は、パブリックサーバ500に格納されたパブリックコンテンツデータのコンテンツ名を含むコンテンツリストを、ローカル再生装置300に対応する言語フォーマットに変換する。ローカルサーバ400は、リスト作成部440により変換されたコンテンツリストを、ローカル再生装置300に送信する。
【選択図】 図3
を提供する。
【解決手段】 ローカルサーバ400は、パブリックサーバ500に対応する言語フォーマットをローカル再生装置300に対応する言語フォーマットに変換するリスト作成部440を備える。リスト作成部440は、パブリックサーバ500に格納されたパブリックコンテンツデータのコンテンツ名を含むコンテンツリストを、ローカル再生装置300に対応する言語フォーマットに変換する。ローカルサーバ400は、リスト作成部440により変換されたコンテンツリストを、ローカル再生装置300に送信する。
【選択図】 図3
Description
本発明は、ローカル再生装置とローカルネットワークを介して接続されており、パブリックサーバとパブリックネットワークを介して接続されたローカルサーバ及びコンテンツ送信方法に関する。
近年、DLNA(Digital Living Network Alliance)などにおいて、映像や音声などのコンテンツデータの利用促進を目指す技術の開発が進められている。例えば、DMS(Digital Media Server)などと称されるローカルサーバからDMP(Digital Media Player)などと称されるローカル再生装置に対してコンテンツデータを送信することによって、コンテンツデータの利用を促進する技術が検討されている。
ここで、ローカルサーバからローカル再生装置に送信されるコンテンツは、CDS(Content Directory Service)と称されるコンテンツリストによって管理される。CDSでは、コンテンツが階層化されている。ユーザは、ローカル再生装置によって表示されるCDS(コンテンツリスト)を用いて、所望のコンテンツを視聴する。
ところで、コンテンツデータは、インターネットなどのパブリックネットワークに接続されたパブリックサーバ(例えば、NAS;Network Attached Storage)にも格納されている。ユーザは、パブリックネットワークに接続されたパブリックサーバからダウンロードされたコンテンツを視聴したいというニーズを有する。
しかしながら、パブリックネットワークでは、例えば、HTML、XML、JSONといった言語でコンテンツデータを含む情報が記述されている。一方で、ローカル再生装置は、これらの言語で記述された情報を表示する機能を有していないことが想定される。
このようなケースでは、ローカル再生装置は、パブリックネットワークに接続されたパブリックサーバからコンテンツデータを取得することができない。すなわち、ユーザのニーズが満たされない。
そこで、本発明は、上述した課題を解決するためになされたものであり、パブリックネットワークに接続されたパブリックサーバからコンテンツデータを取得することを可能とするローカルサーバ及びコンテンツ送信方法を提供することを目的とする。
一の特徴では、ローカル再生装置(ローカル再生装置300)とローカルネットワーク(ローカルネットワーク100)を介して接続されており、パブリックサーバ(パブリックサーバ500)とパブリックネットワーク(パブリックネットワーク200)を介して接続されたローカルサーバ(ローカルサーバ400)は、前記ローカルネットワークを介して前記ローカル再生装置と通信を行うローカル通信部(ローカル通信部410)と、前記パブリックネットワークを介して前記パブリックサーバと通信を行うパブリック通信部(パブリック通信部420)と、前記パブリックサーバに対応する言語フォーマットを前記ローカル再生装置に対応する言語フォーマットに変換する変換部(リスト作成部440)とを備える。前記ローカル通信部は、前記パブリックサーバに格納されたコンテンツデータのリストを要求するリスト要求を前記ローカル再生装置から受信する。前記パブリック通信部は、前記リスト要求に応じて、前記パブリックサーバに格納されたコンテンツデータのリストを前記パブリックサーバから受信する。前記変換部は、前記パブリックサーバに格納されたコンテンツデータのリストを、前記ローカル再生装置に対応する言語フォーマットに変換する。前記ローカル通信部は、前記変換部によって変換されたコンテンツデータのリストを前記ローカル再生装置に送信する。
上述した特徴において、前記ローカル通信部は、前記変換部によって変換されたコンテンツデータのリストの中から選択されたコンテンツデータを要求するコンテンツデータ要求を前記ローカル再生装置から受信する。前記パブリック通信部は、前記コンテンツデータ要求に応じて、前記コンテンツデータ要求に対応するコンテンツデータを前記パブリックサーバから受信する。前記ローカル通信部は、前記パブリックサーバから受信したコンテンツデータを前記ローカル再生装置に送信する。
一の特徴では、ローカルネットワーク(ローカルネットワーク100)を介して接続されたローカル再生装置(ローカル再生装置300)に対して、パブリックネットワーク(パブリックネットワーク200)を介して接続されたパブリックサーバ(パブリックサーバ500)に格納されたコンテンツデータをローカルサーバ(ローカルサーバ400)が送信するコンテンツ送信方法は、前記ローカル再生装置が、前記パブリックサーバに格納されたコンテンツデータのリストを要求するリスト要求を前記ローカルサーバに送信するステップA(ステップS101)と、前記ローカルサーバが、前記リスト要求に応じて、前記パブリックサーバに格納されたコンテンツデータのリストを前記パブリックサーバから受信するステップB(ステップS105,S109)と、前記ローカルサーバが、前記パブリックサーバに格納されたコンテンツデータのリストを、前記ローカル再生装置に対応する言語フォーマットに変換するステップC(ステップS106,S110)と、前記ローカルサーバが、前記ステップCで変換されたコンテンツデータのリストを前記ローカル再生装置に送信するステップD(ステップS111)とを備える。
本発明によれば、パブリックネットワークに接続されたパブリックサーバからコンテンツデータを取得することを可能とするローカルサーバ及びコンテンツ送信方法を提供することができる。
次に、本発明の実施形態について、図面を参照しながら説明する。なお、以下の図面の記載において、同一又は類似の部分には、同一又は類似の符号を付している。ただし、図面は模式的なものであり、各寸法の比率などは現実のものとは異なることに留意すべきである。従って、具体的な寸法などは以下の説明を参酌して判断すべきものである。また、図面相互間においても互いの寸法の関係や比率が異なる部分が含まれていることは勿論である。
[第1実施形態]
以下において、本発明の第1実施形態について、図面を参照しながら説明する。具体的には、(1)コンテンツ送信システムの概略構成、(2)ローカル再生装置の構成、(3)ローカルサーバの構成、(4)パブリックサーバの構成、(5)コンテンツ送信システムの動作、(6)作用・効果について説明する。
以下において、本発明の第1実施形態について、図面を参照しながら説明する。具体的には、(1)コンテンツ送信システムの概略構成、(2)ローカル再生装置の構成、(3)ローカルサーバの構成、(4)パブリックサーバの構成、(5)コンテンツ送信システムの動作、(6)作用・効果について説明する。
(1)コンテンツ送信システムの概略構成
まず、本発明の第1実施形態に係るコンテンツ送信システムの概略構成について、図1を参照しながら説明する。図1は、第1実施形態に係るコンテンツ送信システム1を示す図である。
まず、本発明の第1実施形態に係るコンテンツ送信システムの概略構成について、図1を参照しながら説明する。図1は、第1実施形態に係るコンテンツ送信システム1を示す図である。
図1に示すように、コンテンツ送信システム1は、ローカルネットワーク100と、パブリックネットワーク200と、ローカル再生装置300と、ローカルサーバ400と、パブリックサーバ500とを備える。
コンテンツ送信システム1は、ローカルサーバ400に格納されたコンテンツデータであるローカルコンテンツデータと、パブリックサーバ500に格納されたコンテンツデータであるパブリックコンテンツデータとを、ローカル再生装置300に送信するシステムである。
ローカルネットワーク100は、LANあるいは無線LANなどの局所的なネットワークである。ローカルネットワーク100は、パブリックネットワーク200とは独立して設けられる。
パブリックネットワーク200は、例えばインターネットなどのネットワークである。
ローカル再生装置300は、ローカルネットワーク100に接続され、映像や音声などのコンテンツデータを再生する装置である。
具体的には、ローカル再生装置300は、コンテンツデータのリスト(以下、コンテンツリスト)を、ローカルネットワーク100を介してローカルサーバ400から受信する。ローカル再生装置300は、受信されたコンテンツリストの中から選択されたコンテンツデータを要求するコンテンツデータ要求を、ローカルネットワーク100を介してローカルサーバ400に送信する。ローカル再生装置300は、コンテンツデータ要求に応じて送信されるコンテンツデータを、ローカルネットワーク100を介して受信する。ローカル再生装置300は、受信されたコンテンツデータを再生する。
ローカルサーバ400は、ローカル再生装置300とローカルネットワーク100を介して接続されるとともに、パブリックサーバ500とパブリックネットワーク200を介して接続されるサーバである。ローカルサーバ400は、自装置に格納されたローカルコンテンツデータをローカル再生装置300に提供するコンテンツサーバとして機能するとともに、ローカルネットワーク100とパブリックネットワーク200との間のゲートウェイとして機能する。
ローカルサーバ400は、ローカル再生装置300に対応する言語フォーマットを有するコンテンツリストを作成し、作成されたコンテンツリストをローカル再生装置300に送信する。ローカルサーバ400は、コンテンツリストの中から選択されたコンテンツデータを要求するコンテンツデータ要求を、ローカルネットワーク100を介してローカル再生装置300から受信する。
ローカルサーバ400は、受信されたコンテンツデータ要求がローカルコンテンツデータの要求を示す場合、自装置に格納されたローカルコンテンツデータを、ローカルネットワーク100を介してローカル再生装置300に送信する。
ローカルサーバ400は、ローカル再生装置300から受信されたコンテンツデータ要求がパブリックコンテンツデータの要求を示す場合、受信されたコンテンツデータ要求を、パブリックネットワーク200を介してパブリックサーバ500に転送する。ローカルサーバ400は、コンテンツデータ要求の転送に応じて、パブリックコンテンツデータを、パブリックネットワーク200を介してパブリックサーバ500から受信する。ローカルサーバ400は、受信されたパブリックコンテンツデータを、ローカルネットワーク100を介してローカル再生装置300に送信する。
パブリックサーバ500は、パブリックネットワーク200に接続され、自装置に格納されたパブリックコンテンツデータを提供するコンテンツサーバである。パブリックサーバ500は、コンテンツデータ要求を、ローカルネットワーク100およびパブリックネットワーク200を介してローカル再生装置300から受信する。パブリックサーバ500は、コンテンツデータ要求の受信に応じて、パブリックコンテンツデータを、パブリックネットワーク200およびローカルネットワーク100を介してローカル再生装置300に送信する。
(2)ローカル再生装置の構成
次に、本発明の第1実施形態に係るローカル再生装置の構成について、図2を参照しながら説明する。図2は、第1実施形態に係るローカル再生装置300を示す図である。
次に、本発明の第1実施形態に係るローカル再生装置の構成について、図2を参照しながら説明する。図2は、第1実施形態に係るローカル再生装置300を示す図である。
図2に示すように、ローカル再生装置300は、ローカル通信部310と、受付部320と、処理部330と、再生部340と、表示部350とを備える。
ローカル通信部310は、ローカル再生装置300をローカルネットワーク100に接続するためのハードウェアインターフェイスである。ローカル通信部310としては、LANポートあるいは無線LANポートなどが用いられる。
受付部320は、ローカル再生装置300を操作するための要求を、ローカル再生装置300の外部から受け付ける。
受付部320は、例えば、パブリックサーバ500への名称設定要求、コンテンツリスト取得要求などを受け付ける。受付部320は、受け付けた要求を処理部330に入力する。
パブリックサーバ500への名称設定要求は、ローカルサーバ400において、パブリックサーバ500を識別する名称をパブリックサーバ500ごとに設定するとともに、設定された名称と、パブリックサーバ500のアドレスとを対応付けて管理するための要求である。パブリックサーバ500への名称設定要求には、ローカル再生装置300のユーザにより名付けられた名称と、名称を設定する対象となるパブリックサーバ500のアドレスとが含まれる。パブリックサーバ500に設定されるパブリックサーバ名は、ローカル再生装置300およびローカルサーバ400において管理されていればよく、パブリックサーバ500には通知されなくてもよい。
コンテンツリスト取得要求は、所定のサーバに格納されたコンテンツデータに設定された名称であるコンテンツ名の一覧を取得するための要求である。コンテンツリストの構成については、後に詳述する。
また、受付部320は、表示部350に表示されるコンテンツリストの項目を選択する情報を受け付ける。具体的には、コンテンツリストは、一ないし複数の項目によって構成されており、受付部320は、少なくとも1つの項目を選択する情報を受け付ける。受付部320は、項目を選択する情報を受け付けると、選択された項目を示す選択項目情報を処理部330に入力する。
受付部320としては、ローカル再生装置300のユーザが操作可能な操作機器であるタッチパネルやキーボード、あるいはリモコンからの無線信号受信部、あるいは、ローカル再生装置300の外側面に設けられ、ローカル再生装置300のユーザが押下できるように構成されたボタンなどが用いられる。
処理部330は、受付部320またはローカル通信部310から取得される要求および情報を処理する。
第1に、処理部330は、パブリックサーバ500への名称設定要求を、受付部320から取得する。
処理部330は、取得されたパブリックサーバ500への名称設定要求を、ローカル通信部310を介してローカルサーバ400に送信する。
第2に、処理部330は、コンテンツリスト取得要求を、受付部320から取得する。処理部330は、取得されたコンテンツリスト取得要求を、ローカル通信部310を介してローカルサーバ400に送信する。処理部330は、コンテンツリスト取得要求に応じて、コンテンツリストを、ローカル通信部310を介してローカルサーバ400から受信する。処理部330は、受信されたコンテンツリストを表示部350に入力する。
第3に、処理部330は、表示部350に表示されるコンテンツリストの項目のうち選択された項目を示す選択項目情報を、受付部320から取得する。
処理部330は、取得された選択項目を、ローカル通信部310を介してローカルサーバ400に送信する。処理部330は、選択項目に応じて、コンテンツリストに含まれる他の項目、またはコンテンツデータを、ローカル通信部310を介してローカルサーバ400から受信する。処理部330は、他の項目を受信した場合、受信された他の項目を表示部350に入力する。処理部330は、コンテンツデータを受信した場合、受信されたコンテンツデータを再生部340に入力する。
再生部340は、処理部330から取得されるコンテンツデータの再生処理を行う。再生部340は、例えば、映像やデータを表示する表示部、音声を出力するスピーカなどによって構成される。
表示部350は、処理部330から取得されるコンテンツリストを表示する。具体的には、表示部350は、処理部330から取得されるコンテンツリストの項目を表示する。
なお、図示していないが、ローカル再生装置300は、ローカル通信部310、受付部320、処理部330、再生部340、および表示部350による処理をCPUに実行させるためのプログラムを保持するプログラム保持部を備えていてもよい。プログラム保持部としては、例えば、RAM、ROM、ハードディスク、フレキシブルディスク、コンパクトディスク、ICチップ、カセットテープなどの記録媒体が用いられる。
(3)ローカルサーバの構成
次に、本発明の第1実施形態に係るローカルサーバの構成について、図3ないし図9を参照しながら説明する。
次に、本発明の第1実施形態に係るローカルサーバの構成について、図3ないし図9を参照しながら説明する。
(3.1)ローカルサーバの概略構成
図3は、第1実施形態に係るローカルサーバ400を示す図である。図3に示すように、ローカルサーバ400は、ローカル通信部410と、パブリック通信部420と、処理部430と、リスト作成部440と、格納部450とを備える。
図3は、第1実施形態に係るローカルサーバ400を示す図である。図3に示すように、ローカルサーバ400は、ローカル通信部410と、パブリック通信部420と、処理部430と、リスト作成部440と、格納部450とを備える。
ローカル通信部410は、ローカルサーバ400をローカルネットワーク100に接続するためのハードウェアインターフェイスである。ローカル通信部410としては、LANポートあるいは無線LANポートなどが用いられる。
パブリック通信部420は、ローカルサーバ400をパブリックネットワーク200に接続するためのインターフェイスである。
処理部430は、ローカル通信部410を介してローカル再生装置300から受信される要求および選択項目情報に応じた処理を実行する。
処理部430は、パブリックサーバ500への名称設定要求、コンテンツリスト取得要求などを、ローカル通信部410から取得する。処理部430は、取得された要求に応じて、パブリックサーバ500への名称設定、ローカル再生装置300へのコンテンツリストの送信などを実行する。また、処理部430は、コンテンツリストの項目のうち選択された項目を示す選択項目情報を、ローカル通信部410から取得する。処理部430は、取得された選択項目情報に応じて、他の項目またはコンテンツデータの送信を実行する。
具体的には、処理部430は、パブリックサーバ500への名称設定要求を取得した場合、名称設定要求に含まれる名称をパブリックサーバ名として設定する。具体的には、処理部430は、名称設定要求に含まれる名称を抽出するとともに、名称設定要求に含まれるアドレスを抽出する。処理部430は、抽出された名称をパブリックサーバ名として格納部450に入力するとともに、抽出されたアドレスを格納部450に入力する。処理部430は、パブリックサーバ名を設定すると、パブリックサーバ名の設定が完了したことを示す名称設定完了通知を、ローカル通信部410を介してローカル再生装置300に送信する。
また、処理部430は、コンテンツリスト取得要求を取得した場合、リスト作成部440に対して、コンテンツリストの作成を指示するコンテンツリスト作成指示を入力する。処理部430は、コンテンツリスト作成指示に応じて、コンテンツリストの作成が完了したことを示す作成完了通知をリスト作成部440から取得する。処理部430は、リスト作成部440からの作成完了通知の取得に応じて、作成されたコンテンツリストを格納部450から取得する。処理部430は、取得されたコンテンツリストを、ローカル通信部410を介してローカル再生装置300に送信する。このとき、処理部430は、コンテンツリスト取得要求に対する応答として、コンテンツリストの項目のうち一部の項目のみをローカル再生装置300に送信する。処理部430は、コンテンツリスト取得要求に対する応答として送信された項目以外の項目については、選択項目情報の応答として送信する。
また、処理部430は、選択項目情報を取得した場合、格納部450に格納されたコンテンツリストを参照して、コンテンツリストに含まれる他の項目、またはコンテンツデータを、ローカル再生装置300に送信する。
処理部430がコンテンツリストの項目またはコンテンツデータを送信する際の処理内容については、後に詳述する。
リスト作成部440は、処理部430から取得されるコンテンツリスト作成指示に応じてコンテンツリストを作成する。リスト作成部440は、作成されたコンテンツリストを格納部450に入力する。リスト作成部440は、作成されたコンテンツリストを格納部450に入力すると、コンテンツリストの作成が完了したことを示す作成完了通知を処理部430に入力する。リスト作成部440の構成については、後に詳述する。
格納部450は、所定の情報を格納するHDDなどのストレージである。図3に示すように、格納部450は、コンテンツデータ格納部451と、リスト格納部452と、アドレステーブル格納部453とを有する。
コンテンツデータ格納部451は、ローカルコンテンツデータを格納する。コンテンツデータ格納部451は、ローカルコンテンツデータと、ローカルコンテンツデータに設定されたコンテンツ名とを対応付けて格納する。
リスト格納部452は、リスト作成部440により作成されたコンテンツリストを格納する。
アドレステーブル格納部453は、処理部430によって設定されたパブリックサーバ名と、パブリックサーバ500のアドレスとを対応付けるアドレステーブルを格納する。
なお、図示していないが、ローカルサーバ400は、ローカル通信部410、パブリック通信部420、処理部430、リスト作成部440、および格納部450による処理をCPUに実行させるためのプログラムを保持するプログラム保持部を備えていてもよい。プログラム保持部としては、例えば、RAM、ROM、ハードディスク、フレキシブルディスク、コンパクトディスク、ICチップ、カセットテープなどの記録媒体が用いられる。
(3.2)コンテンツリストの構成、および、処理部の処理内容
以下において、本発明の第1実施形態に係るコンテンツリストの構成と、選択項目情報を取得した場合における処理部430の処理内容について、図4を参照しながら説明する。
以下において、本発明の第1実施形態に係るコンテンツリストの構成と、選択項目情報を取得した場合における処理部430の処理内容について、図4を参照しながら説明する。
コンテンツリストは、複数の項目が階層化されたツリー構造を有する。複数の項目のそれぞれは、ツリー構造における項目の位置によって、ディレクトリ名とコンテンツ名との2種類に分類される。ツリー構造の最下層に位置する項目はコンテンツ名を示し、コンテンツ名を示す項目以外の項目はディレクトリ名を示す。
処理部430は、選択項目情報を取得した場合、選択項目情報により示される項目のコンテンツリストにおける位置に応じて、ローカル再生装置300に送信する情報を決定する。
具体的には、処理部430は、取得された選択項目情報がディレクトリ名に該当する場合、該当するディレクトリ名の下層層に位置する項目を、ローカル再生装置300に送信する。
また、処理部430は、取得された選択項目情報がコンテンツ名に該当する場合、該当するコンテンツ名に対応するコンテンツデータを、ローカル再生装置300に送信する。
ここで、処理部430は、選択項目情報に該当する項目と、コンテンツリストの最上位層の項目との間に、所定のディレクトリ名を示す項目が位置する場合、コンテンツ名に対応するコンテンツデータを取得するためのコンテンツデータ取得要求を、所定のパブリックサーバ500に送信する。そして、処理部430は、コンテンツデータ取得要求に応じて、選択項目情報により示されるコンテンツ名に対応するコンテンツデータを所定のパブリックサーバ500から受信し、受信されたコンテンツデータをローカル再生装置300に送信する。例えば、選択項目情報に該当する項目の上位層に、パブリックサーバ名を示すディレクトリ名が位置する場合、当該パブリックサーバ名に対応するパブリックサーバ500にコンテンツデータ取得要求を送信する。コンテンツデータ取得要求には、コンテンツ名が含まれる。
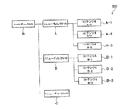
図4は、コンテンツリストの構成の一例を示す図である。図4に示すように、コンテンツリスト600は、ルートディレクトリを最上層とし、コンテンツ名を最下層とするツリー構造を有する。
なお、図4に示されるコンテンツリスト600に含まれるルートディレクトリR、メニューディレクトリA,B,C、コンテンツ名A−1〜A−3,B−1〜B−3、パブリックサーバ名PS1,PS2、コンテンツ名PS1−1〜PS1−3,PS2−1〜PS2−3を、コンテンツリストの項目と総称する。
ルートディレクトリRは、メニューディレクトリA,B,Cを表示するために用いられる。処理部430は、コンテンツリスト取得要求に対する応答として、ルートディレクトリRをローカル再生装置300に送信する。
処理部430は、ルートディレクトリRを示す選択項目情報をローカル再生装置300から受信すると、ルートディレクトリRの下位層に位置する項目であるメニューディレクトリA,B,Cを、ローカル再生装置300に送信する。
メニューディレクトリA,B,Cは、ローカルサーバ400がローカル再生装置300に対して提供可能なコンテンツの種類を示す。例えば、メニューディレクトリAは、音声によるコンテンツデータの提供、メニューディレクトリBは、映像によるコンテンツデータの提供、メニューディレクトリCは、パブリックネットワーク200に接続されたパブリックサーバ500に格納されたコンテンツデータの提供を示す。
処理部430は、メニューディレクトリAを示す選択項目情報をローカル再生装置300から受信すると、メニューディレクトリAの下位層に位置する項目であるコンテンツ名A−1〜A−3を、ローカル再生装置300に送信する。処理部430は、メニューディレクトリBを示す選択項目情報をローカル再生装置300から受信すると、メニューディレクトリBの下位層に位置する項目であるコンテンツ名B−1〜B−3を、ローカル再生装置300に送信する。処理部430は、メニューディレクトリCを示す選択項目情報をローカル再生装置300から受信すると、メニューディレクトリCの下位層に位置する項目であるパブリックサーバ名PS1,PS2を、ローカル再生装置300に送信する。
コンテンツ名A−1〜A−3は、ローカルサーバ400の格納部450に格納されたローカルコンテンツデータのうち、メニューディレクトリAにより示されるコンテンツの種類に対応するコンテンツデータに設定されたコンテンツ名を示す。例えば、メニューディレクトリAが音声によるコンテンツデータの提供を示す場合、コンテンツ名A−1〜A−3は、ローカルサーバ400の格納部450に格納されたローカルコンテンツデータのうち、音声によるコンテンツデータに設定されたコンテンツ名を示す。
コンテンツ名B−1〜B−3は、ローカルサーバ400の格納部450に格納されたローカルコンテンツデータのうち、メニューディレクトリBにより示されるコンテンツの種類に対応するコンテンツデータに設定されたコンテンツ名を示す。例えば、メニューディレクトリBが映像によるコンテンツデータの提供を示す場合、コンテンツ名B−1〜B−3は、ローカルサーバ400の格納部450に格納されたローカルコンテンツデータのうち、映像によるコンテンツデータに設定されたコンテンツ名を示す。
処理部430は、コンテンツ名A−1〜A−3,B−1〜B−3を示す選択項目情報を受信すると、選択項目情報により示されるコンテンツ名に対応するローカルコンテンツデータを、ローカル再生装置300に送信する。
パブリックサーバ名PS1,PS2は、ローカルサーバ400の格納部450に格納されたローカルコンテンツデータ以外のコンテンツデータを提供するサーバのサーバ名を示す。例えば、メニューディレクトリCが、パブリックネットワーク200に接続されたパブリックサーバ500に格納されたコンテンツデータの提供を示す場合、パブリックサーバ500への名称設定要求に応じてローカルサーバ400において設定されたパブリックサーバ500の名称を示す。
処理部430は、パブリックサーバ名PS1を示す選択項目情報を受信すると、パブリックサーバ名PS1の下位層に位置する項目であるコンテンツ名PS1−1〜PS1−3を、ローカル再生装置300に送信する。処理部430は、パブリックサーバ名PS2を示す選択項目情報を受信すると、パブリックサーバ名PS2の下位層に位置する項目であるコンテンツ名PS2−1〜PS2−3を、ローカル再生装置300に送信する。
コンテンツ名PS1−1〜PS1−3は、パブリックサーバ名PS1の下位層に位置する項目である。コンテンツ名PS1−1〜PS1−3は、パブリックサーバ名PS1に対応するパブリックサーバ500に格納されたパブリックコンテンツデータに設定されたコンテンツ名を示す。
コンテンツ名PS2−1〜PS2−3は、パブリックサーバ名PS2の下位層に位置する項目である。コンテンツ名PS2−1〜PS2−3は、パブリックサーバ名PS2に対応するパブリックサーバ500に格納されたパブリックコンテンツデータに設定されたコンテンツ名を示す。
処理部430は、コンテンツ名PS1−1〜PS1−3,PS2−1〜PS2−3を示す選択項目情報を受信すると、選択項目情報により示されるコンテンツ名に対応するコンテンツデータの取得を要求するコンテンツデータ取得要求を、コンテンツ名の上位層に位置するパブリックサーバ名に対応するパブリックサーバ500に送信する。コンテンツデータ取得要求には、選択項目情報により示されるコンテンツ名が含まれる。処理部430は、コンテンツデータ取得要求に応じて、コンテンツデータ取得要求に含まれるコンテンツ名に対応するパブリックコンテンツデータをパブリックサーバ500から受信する。処理部430は、受信されたパブリックコンテンツデータを、ローカル再生装置300に送信する。
(3.3)リスト作成部の構成
以下において、本発明の第1実施形態に係るローカルサーバに備えられるリスト作成部の構成について、図5ないし図9を参照しながら説明する。
以下において、本発明の第1実施形態に係るローカルサーバに備えられるリスト作成部の構成について、図5ないし図9を参照しながら説明する。
リスト作成部440は、処理部430から取得されるコンテンツリスト作成指示に応じて、格納部450に格納された情報と、パブリックサーバ500から受信される情報とを用いてコンテンツリストを作成する。リスト作成部440は、ローカル再生装置300に対応する言語フォーマットを有するコンテンツリストを作成する。
図5ないし図9は、リスト作成部440によるコンテンツリストの作成過程を示す図である。
第1に、リスト作成部440は、ルートディレクトリRの下位層の項目を作成する。具体的には、図5に示すように、リスト作成部440は、ルートディレクトリRの下位層に、メニューディレクトリA,B,Cを配置する。上述したように、ルートディレクトリRは、メニューディレクトリA,B,Cを表示するために用いられる。また、メニューディレクトリA,B,Cは、ローカルサーバ400がローカル再生装置300に対して提供可能なコンテンツの種類を示す。例えば、メニューディレクトリAは、音声によるコンテンツデータの提供、メニューディレクトリBは、映像によるコンテンツデータの提供、メニューディレクトリCは、パブリックネットワーク200に接続されたパブリックサーバ500に格納されたコンテンツデータの提供を示す。
第2に、リスト作成部440は、格納部450に格納されたローカルコンテンツを参照して、メニューディレクトリAの下位層の項目を作成する。具体的には、図6に示すように、リスト作成部440は、メニューディレクトリAによって示されるコンテンツの種類に対応するコンテンツデータに設定されたコンテンツ名を取得し、メニューディレクトリAの下位層に取得されたコンテンツ名を配置する。例えば、メニューディレクトリAが音声によるコンテンツデータの提供を示す場合、リスト作成部440は、格納部450に格納されたローカルコンテンツデータのうち、音声によるコンテンツデータに設定されたコンテンツ名A−1〜A−3を取得する。そして、リスト作成部440は、メニューディレクトリAの下位層に取得されたコンテンツ名A−1〜A−3を配置する。
第3に、リスト作成部440は、格納部450に格納されたローカルコンテンツを参照して、メニューディレクトリBの下位層の項目を作成する。具体的には、図7に示すように、リスト作成部440は、メニューディレクトリBによって示されるコンテンツの種類に対応するコンテンツデータに設定されたコンテンツ名を取得し、メニューディレクトリBの下位層に取得されたコンテンツ名を配置する。例えば、メニューディレクトリBが映像によるコンテンツデータの提供を示す場合、リスト作成部440は、格納部450に格納されたローカルコンテンツデータのうち、映像によるコンテンツデータに設定されたコンテンツ名B−1〜B−3を取得する。そして、リスト作成部440は、メニューディレクトリBの下位層に取得されたコンテンツ名B−1〜B−3を配置する。
第4に、リスト作成部440は、メニューディレクトリCの下位層の項目を作成する。具体的には、図8に示すように、リスト作成部440は、メニューディレクトリCによって示されるコンテンツの種類に対応するコンテンツデータを格納しているサーバのサーバ名を取得し、メニューディレクトリCの下位層に取得されたパブリックサーバ名を配置する。例えば、メニューディレクトリCが、パブリックネットワーク200に接続されたパブリックサーバ500に格納されたコンテンツデータの提供を示す場合、リスト作成部440は、ローカルサーバ400において設定されたパブリックサーバ名PS1,PS2を格納部450から取得する。そして、リスト作成部440は、メニューディレクトリCの下位層に、取得されたパブリックサーバ名PS1,PS2を配置する。
第5に、リスト作成部440は、図9に示すように、パブリックサーバ名PS1の下位層の項目を作成する。
具体的には、まず、リスト作成部440は、格納部450に格納されたアドレステーブルを参照して、パブリックサーバ名PS1に対応するアドレスを取得する。次に、リスト作成部440は、取得されたアドレスを用いて、パブリックサーバ名PS1に対応するパブリックサーバ500に格納されたパブリックコンテンツのリストを取得するためのパブリックコンテンツリスト取得要求を、パブリック通信部420を介して当該パブリックサーバ500に送信する。
リスト作成部440は、パブリックサーバ500から、パブリックサーバ500に格納されたパブリックコンテンツのリストであるパブリックコンテンツリストを受信する。
ここで、受信されたパブリックコンテンツリストは、例えばHTML、XML、JSONなどの、パブリックサーバ500に対応する言語フォーマットにより記述されている。そこで、リスト作成部440は、受信されたパブリックコンテンツリストから、パブリックコンテンツデータに設定されたコンテンツ名を抽出する。リスト作成部440は、抽出されたコンテンツ名を、パブリックサーバ名PS1の下位層の項目として並列に配置する。これにより、パブリックサーバ500に格納されたパブリックコンテンツのリストの言語フォーマットが、ローカル再生装置300に対応する言語フォーマットに変換され、パブリックサーバ500に格納されたパブリックコンテンツのリストが、ローカル再生装置300に対応する言語フォーマットを有するコンテンツリストの一部に組み込まれる。すなわち、リスト作成部440は、パブリックサーバ500に対応する言語フォーマットを、ローカル再生装置300に対応する言語フォーマットに変換する変換部として機能する。
なお、パブリックサーバ名PS2の下位層の項目は、パブリックサーバ名PS1の下位層の項目と同様に作成されるため、説明を省略する。
(4)パブリックサーバの構成
次に、本発明の第1実施形態に係るパブリックサーバの構成について、図10を参照しながら説明する。図10は、第1実施形態に係るパブリックサーバ500を示す図である。
次に、本発明の第1実施形態に係るパブリックサーバの構成について、図10を参照しながら説明する。図10は、第1実施形態に係るパブリックサーバ500を示す図である。
図10に示すように、パブリックサーバ500は、パブリック通信部510と、格納部520と、管理部530と、リスト作成部540とを備える。
パブリック通信部510は、パブリックサーバ500をパブリックネットワーク200に接続するためのインターフェイスである。
格納部520は、所定の情報を格納するHDDなどのストレージである。図10に示すように、格納部520は、コンテンツデータ格納部521と、リスト格納部522と、設定情報格納部523とを有する。
コンテンツデータ格納部521は、パブリックコンテンツデータを格納する。コンテンツデータ格納部521は、パブリックコンテンツデータと、パブリックコンテンツデータに設定されたコンテンツ名とを対応付けて格納する。
リスト格納部522は、リスト作成部540により作成されたコンテンツリストを格納する。
設定情報格納部523は、パブリックサーバ500に設定された情報を格納する。設定情報格納部523は、パブリックサーバ500に設定された情報として、パブリックサーバ500を識別する識別子や、パブリックサーバ500のアドレスなどを格納する。
管理部530は、パブリック通信部510を介してローカルサーバ400から受信される要求に応じて、格納部520に格納された情報を管理する。管理部530は、パブリックコンテンツリスト取得要求、コンテンツデータ取得要求などを、パブリック通信部510から取得する。
管理部530は、パブリックコンテンツリスト取得要求を取得した場合、格納部520に格納されたパブリックコンテンツデータのコンテンツ名を含むリストであるパブリックコンテンツリストを作成する指示を、リスト作成部540に入力する。管理部530は、パブリックコンテンツリストの作成指示に応じて、パブリックコンテンツリストの作成が完了したことを示す作成完了通知をリスト作成部540から取得する。管理部530は、リスト作成部540からの作成完了通知の取得に応じて、作成されたパブリックコンテンツリストを格納部520から取得する。管理部530は、取得されたコンテンツリストを、パブリック通信部510を介してローカルサーバ400に送信する。
管理部530は、コンテンツデータ取得要求を取得した場合、コンテンツデータ取得要求に含まれるコンテンツ名に対応するパブリックコンテンツデータを、格納部520から取得する。管理部530は、取得されたパブリックコンテンツデータを、パブリック通信部510を介してローカルサーバ400に送信する。ローカルサーバ400に送信されたパブリックコンテンツデータは、ローカルサーバ400によってローカル再生装置300に転送される。
リスト作成部540は、管理部530から取得されるパブリックコンテンツリストの作成指示に応じて、パブリックコンテンツデータのコンテンツ名を含むパブリックコンテンツリストを作成する。リスト作成部540は、パブリックサーバ500に対応する言語フォーマットを有するパブリックコンテンツリストを作成する。このようなパブリックコンテンツリストは、例えば、HTML、XML、JSONといった言語で記述される。
リスト作成部540は、作成されたリストを格納部520に入力し、リストの作成が完了したことを示す作成完了通知を管理部530に入力する。
なお、図示していないが、パブリックサーバ500は、パブリック通信部510、格納部520、管理部530、およびリスト作成部540による処理をCPUに実行させるためのプログラムを保持するプログラム保持部を備えていてもよい。プログラム保持部としては、例えば、RAM、ROM、ハードディスク、フレキシブルディスク、コンパクトディスク、ICチップ、カセットテープなどの記録媒体が用いられる。
(5)コンテンツ送信システムの動作
以下において、本発明の第1実施形態に係るコンテンツ送信システムの動作について、図11および図13を参照しながら説明する。なお、以下においては、ローカルサーバ400において、第1のパブリックサーバ500のパブリックサーバ名、および第2のパブリックサーバ500のパブリックサーバ名として、それぞれパブリックサーバ名PS1,PS2が既に設定されている場合について説明する。また、以下においては、コンテンツリストとして図4に示すコンテンツリストを作成する場合について説明する。
以下において、本発明の第1実施形態に係るコンテンツ送信システムの動作について、図11および図13を参照しながら説明する。なお、以下においては、ローカルサーバ400において、第1のパブリックサーバ500のパブリックサーバ名、および第2のパブリックサーバ500のパブリックサーバ名として、それぞれパブリックサーバ名PS1,PS2が既に設定されている場合について説明する。また、以下においては、コンテンツリストとして図4に示すコンテンツリストを作成する場合について説明する。
(5.1)コンテンツリストの作成・送信
まず、コンテンツリスト取得要求に応じて、コンテンツリストをローカル再生装置300に送信する場合におけるコンテンツ送信システム1の動作について、図11を参照しながら説明する。図11は、コンテンツリスト取得要求に応じて、コンテンツリストを作成し、作成されたコンテンツリストをローカル再生装置300に送信する場合におけるコンテンツ送信システム1の動作を示すシーケンス図である。
まず、コンテンツリスト取得要求に応じて、コンテンツリストをローカル再生装置300に送信する場合におけるコンテンツ送信システム1の動作について、図11を参照しながら説明する。図11は、コンテンツリスト取得要求に応じて、コンテンツリストを作成し、作成されたコンテンツリストをローカル再生装置300に送信する場合におけるコンテンツ送信システム1の動作を示すシーケンス図である。
図11に示すように、ステップS101において、ローカル再生装置300は、コンテンツリスト取得要求をローカルサーバ400に送信する。
ステップS102において、ローカルサーバ400は、コンテンツリストの一部を作成する。具体的には、まず、ローカルサーバ400は、ルートディレクトリRの下位層にメニューディレクトリA,B,Cを配置する。ここで、メニューディレクトリAは音声によるコンテンツデータの提供を示し、メニューディレクトリBは映像によるコンテンツデータの提供を示し、メニューディレクトリCは、パブリックネットワーク200に接続されたパブリックサーバ500に格納されたコンテンツデータの提供を示すものとする。次に、ローカルサーバ400は、メニューディレクトリAの下位層に、格納部450に格納されたローカルコンテンツデータのうち、音声によるコンテンツデータに設定されたコンテンツ名A−1〜A−3を配置する。次に、ローカルサーバ400は、メニューディレクトリBの下位層に、格納部450に格納されたローカルコンテンツデータのうち、映像によるコンテンツデータに設定されたコンテンツ名B−1〜B−3を配置する。次に、ローカルサーバ400は、メニューディレクトリCの下位層に、格納部450に格納されたパブリックサーバ名PS1,PS2を配置する。
ステップS103において、ローカルサーバ400は、パブリックコンテンツリスト取得要求を、パブリックサーバ名PS1に対応する第1のパブリックサーバ500に送信する。
ステップS104において、第1のパブリックサーバ500は、自装置に格納されたパブリックコンテンツデータのコンテンツ名を含むパブリックコンテンツリストを作成する。
ステップS105において、第1のパブリックサーバ500は、ステップS104において作成されたパブリックコンテンツリストをローカルサーバ400に送信する。
ステップS106において、ローカルサーバ400は、受信されたパブリックコンテンツリストの言語フォーマットを変換する。具体的には、ローカルサーバ400は、受信されたパブリックコンテンツリストから、第1のパブリックサーバ500に格納されたパブリックコンテンツデータのコンテンツ名を抽出し、抽出されたコンテンツ名を、パブリックサーバ名PS1の下位層に配置する。
ステップS107において、ローカルサーバ400は、パブリックコンテンツリスト取得要求を、パブリックサーバ名PS2に対応する第2のパブリックサーバ500に送信する。
ステップS108において、第2のパブリックサーバ500は、自装置に格納されたパブリックコンテンツデータのコンテンツ名を含むパブリックコンテンツリストを作成する。
ステップS109において、第2のパブリックサーバ500は、ステップS108において作成されたパブリックコンテンツリストをローカルサーバ400に送信する。
ステップS110において、ローカルサーバ400は、受信されたパブリックコンテンツリストの言語フォーマットを変換する。具体的には、ローカルサーバ400は、受信されたパブリックコンテンツリストから、第2のパブリックサーバ500に格納されたパブリックコンテンツデータのコンテンツ名を抽出し、抽出されたコンテンツ名を、パブリックサーバ名PS2の下位層に配置する。以上のステップS102〜S110により、コンテンツリストが作成される。
ステップS111において、ローカルサーバ400は、作成されたコンテンツリストをローカル再生装置300に送信する。具体的には、ローカルサーバ400は、コンテンツリストに含まれる項目のうち、ルートディレクトリRを、ステップS101において受信されたコンテンツリスト取得要求に対する応答としてローカル再生装置300に送信する。
ステップS112において、ローカル再生装置300は、受信されたルートディレクトリRを表示する。
(5.2)ローカルコンテンツの送信
次に、コンテンツリストの送信から、ローカルコンテンツの送信に至るまでのコンテンツ送信システム1の動作について、図12を参照しながら説明する。図12は、ローカルコンテンツデータを送信する場合における、コンテンツ送信システム1の動作を示すシーケンス図である。
次に、コンテンツリストの送信から、ローカルコンテンツの送信に至るまでのコンテンツ送信システム1の動作について、図12を参照しながら説明する。図12は、ローカルコンテンツデータを送信する場合における、コンテンツ送信システム1の動作を示すシーケンス図である。
図12に示すように、ステップS201において、ローカルサーバ400は、コンテンツリストをローカル再生装置300に送信する。具体的には、ローカルサーバ400は、コンテンツリストに含まれる項目のうち、ルートディレクトリRをローカル再生装置300に送信する。
ステップS202において、ローカル再生装置300は、受信されたルートディレクトリRを表示する。
ステップS203において、ローカル再生装置300は、ルートディレクトリRを示す選択項目情報をローカルサーバ400に送信する。
ステップS204において、ローカルサーバ400は、コンテンツリストをローカル再生装置300に送信する。具体的には、ローカルサーバ400は、コンテンツリストに含まれる項目のうち、受信された選択項目情報により示されるルートディレクトリRの下位層の項目であるメニューディレクトリA,B,Cを、ローカル再生装置300に送信する。
ステップS205において、ローカル再生装置300は、受信されたメニューディレクトリA,B,Cを表示する。
ステップS206において、ローカル再生装置300は、メニューディレクトリAを示す選択項目情報をローカルサーバ400に送信する。
ステップS207において、ローカルサーバ400は、コンテンツリストをローカル再生装置300に送信する。具体的には、ローカルサーバ400は、コンテンツリストに含まれる項目のうち、受信された選択項目情報により示されるメニューディレクトリAの下位層の項目であるコンテンツ名A−1〜A−3を、ローカル再生装置300に送信する。
ステップS208において、ローカル再生装置300は、受信されたコンテンツ名A−1〜A−3を表示する。
ステップS209において、ローカル再生装置300は、コンテンツ名A−1を示す選択項目情報をローカルサーバ400に送信する。
ステップS210において、ローカルサーバ400は、コンテンツデータを読み出す。具体的には、ローカルサーバ400は、受信された選択項目情報により示されるコンテンツ名A−1に対応するローカルコンテンツデータを読み出す。
ステップS211において、ローカルサーバ400は、読み出されたローカルコンテンツデータをローカル再生装置300に送信する。
ステップS212において、ローカル再生装置300は、受信されたローカルコンテンツデータを再生する。
(5.3)パブリックコンテンツの送信
次に、コンテンツリストの送信から、パブリックコンテンツの送信に至るまでのコンテンツ送信システム1の動作について、図13を参照しながら説明する。図13は、パブリックコンテンツデータを送信する場合における、コンテンツ送信システム1の動作を示すシーケンス図である。なお、図13におけるステップS301〜S305の処理は、図12におけるステップS201〜S205の処理と同様であるため、説明を省略する。
次に、コンテンツリストの送信から、パブリックコンテンツの送信に至るまでのコンテンツ送信システム1の動作について、図13を参照しながら説明する。図13は、パブリックコンテンツデータを送信する場合における、コンテンツ送信システム1の動作を示すシーケンス図である。なお、図13におけるステップS301〜S305の処理は、図12におけるステップS201〜S205の処理と同様であるため、説明を省略する。
ステップS306において、ローカル再生装置300は、メニューディレクトリCを示す選択項目情報をローカルサーバ400に送信する。
ステップS307において、ローカルサーバ400は、コンテンツリストをローカル再生装置300に送信する。具体的には、ローカルサーバ400は、コンテンツリストに含まれる項目のうち、受信された選択項目情報により示されるメニューディレクトリCの下位層の項目であるパブリックサーバ名PS1,PS2を、ローカル再生装置300に送信する。
ステップS308において、ローカル再生装置300は、受信されたパブリックサーバ名PS1,PS2を表示する。
ステップS309において、ローカル再生装置300は、パブリックサーバ名PS1を示す選択項目情報をローカルサーバ400に送信する。
ステップS310において、ローカルサーバ400は、コンテンツリストをローカル再生装置300に送信する。具体的には、ローカルサーバ400は、コンテンツリストに含まれる項目のうち、受信された選択項目情報により示されるパブリックサーバ名PS1の下位層の項目であるコンテンツ名PS1−1〜PS1−3を、ローカル再生装置300に送信する。
ステップS311において、ローカル再生装置300は、受信されたコンテンツ名PS1−1〜PS1−3を表示する。
ステップS312において、ローカル再生装置300は、コンテンツ名PS1−1を示す選択項目情報をローカルサーバ400に送信する。
ステップS313において、ローカルサーバ400は、受信された選択項目情報により示されるコンテンツ名PS1−1に対応するコンテンツデータの取得を要求するコンテンツデータ取得要求をパブリックサーバ500に送信する。具体的には、ローカルサーバ400は、受信された選択項目情報により示されるコンテンツ名PS1−1を含むコンテンツデータ取得要求を、コンテンツ名PS1−1の上位層に位置するパブリックサーバ名PS1に対応する第1のパブリックサーバ500に送信する。
ステップS314において、第1のパブリックサーバ500は、コンテンツデータを読み出す。具体的には、第1のパブリックサーバ500は、受信されたコンテンツデータ取得要求に含まれるコンテンツ名PS1−1に対応するパブリックコンテンツデータを読み出す。
ステップS315において、第1のパブリックサーバ500は、読み出されたパブリックコンテンツデータをローカルサーバ400に送信する。
ステップS316において、ローカルサーバ400は、受信されたパブリックコンテンツデータをローカル再生装置300に送信する。
ステップS317において、ローカル再生装置300は、受信されたパブリックコンテンツデータを再生する。
(6)作用・効果
本発明の第1実施形態に係るコンテンツ送信システム1によれば、ローカルサーバ400は、パブリックサーバ500から、パブリックサーバ500に格納されているパブリックコンテンツデータのコンテンツ名を含むコンテンツリストを受信した場合、受信されたコンテンツリストの言語フォーマットを変換することにより、ローカル再生装置300に対応する言語フォーマットを有するコンテンツリストを作成する。そして、ローカルサーバ400は、作成されたコンテンツリストをローカル再生装置300に送信する。
本発明の第1実施形態に係るコンテンツ送信システム1によれば、ローカルサーバ400は、パブリックサーバ500から、パブリックサーバ500に格納されているパブリックコンテンツデータのコンテンツ名を含むコンテンツリストを受信した場合、受信されたコンテンツリストの言語フォーマットを変換することにより、ローカル再生装置300に対応する言語フォーマットを有するコンテンツリストを作成する。そして、ローカルサーバ400は、作成されたコンテンツリストをローカル再生装置300に送信する。
このような構成によれば、ローカル再生装置300が取得するコンテンツリストが、パブリックサーバ500格納されているパブリックコンテンツデータのコンテンツ名を含むコンテンツリストである場合であっても、ローカル再生装置300がコンテンツリストを表示部350において表示することができる。そのため、ローカル再生装置300は、パブリックネットワーク200に接続されたパブリックサーバ500からパブリックコンテンツデータを取得することができる。
[その他の実施形態]
上述したように、本発明の実施形態を通じて本発明の内容を開示したが、この開示の一部をなす論述及び図面は、本発明を限定するものであると理解すべきではない。この開示から当業者には様々な代替実施の形態、実施例及び運用技術が明らかとなろう。
上述したように、本発明の実施形態を通じて本発明の内容を開示したが、この開示の一部をなす論述及び図面は、本発明を限定するものであると理解すべきではない。この開示から当業者には様々な代替実施の形態、実施例及び運用技術が明らかとなろう。
例えば、上述した第1実施形態では、ローカルネットワーク100に接続されるローカルサー再生装置300が1つである場合について説明したが、本発明はこれに限るものではない。例えば、ローカルネットワーク100に接続されるローカルサー再生装置300は複数であってもよい。この場合、複数のローカル再生装置300のそれぞれのユーザが、それぞれ異なる名称をパブリックサーバ500に設定してもよい。
また、上述した第1実施形態では、ローカルサーバ400は、ローカル再生装置300からコンテンツリスト取得要求を受信した際にコンテンツリストを作成する場合について説明したが、本発明はこれに限るものではない。例えば、ローカルサーバ400は、定期的にコンテンツリストを作成(すなわち更新)し、ローカル再生装置300に送信してもよい。
また、上述した第1実施形態では、ローカル再生装置300のユーザがパブリックサーバ500のアドレスを把握しており、ユーザによりパブリックサーバ500に名付けられたパブリックサーバ名と、パブリックサーバ500のアドレスとを対応付けるアドレステーブルをローカルサーバ400において管理する場合について説明したが、本発明はこれに限るものではない。例えば、複数のパブリックサーバ500を管理する管理装置をパブリックネットワーク200に接続し、管理装置のユーザによってパブリックサーバ500ごとに定められた名称と、各パブリックサーバ500のアドレスとを対応付けるアドレステーブルを、管理装置において管理してもよい。この場合、ローカル再生装置300に入力されるコンテンツリスト取得要求やコンテンツデータ取得要求に含まれるサーバ名は、管理装置から取得されるアドレステーブルに基づいて入力される。
また、例えば、コンテンツ送信システム1の動作(すなわち、図11〜13に示したシーケンス)をコンピュータに実行させるプログラムが提供されてもよい。また、このようなプログラムが格納された記憶媒体が提供されてもよい。プログラムが格納された記憶媒体は、例えば、ローカル再生装置300、ローカルサーバ400およびパブリックサーバ500のそれぞれに付属するCD−ROMなどである。
このように、本発明は、ここでは記載していない様々な実施の形態などを含むことは勿論である。したがって、本発明の技術的範囲は、上述の説明から妥当な特許請求の範囲に係る発明特定事項によってのみ定められるものである。
1…コンテンツ送信システム、100…ローカルネットワーク、200…パブリックネットワーク、300…ローカル再生装置300、310…ローカル通信部、320…受付部、330…処理部、340…再生部、350…表示部、400ローカルサーバ、410…ローカル通信部、420…パブリック通信部、430…処理部、440…リスト作成部、450…格納部、451…コンテンツデータ格納部、452…リスト格納部、453…アドレステーブル格納部、500…パブリックサーバ、510…パブリック通信部、520…格納部、521…コンテンツデータ格納部、522…リスト格納部、523…設定情報格納部、530…管理部、540…リスト作成部.
Claims (3)
- ローカル再生装置とローカルネットワークを介して接続されており、パブリックサーバとパブリックネットワークを介して接続されたローカルサーバであって、
前記ローカルネットワークを介して前記ローカル再生装置と通信を行うローカル通信部と、
前記パブリックネットワークを介して前記パブリックサーバと通信を行うパブリック通信部と、
前記パブリックサーバに対応する言語フォーマットを前記ローカル再生装置に対応する言語フォーマットに変換する変換部とを備え、
前記ローカル通信部は、前記パブリックサーバに格納されたコンテンツデータのリストを要求するリスト要求を前記ローカル再生装置から受信し、
前記パブリック通信部は、前記リスト要求に応じて、前記パブリックサーバに格納されたコンテンツデータのリストを前記パブリックサーバから受信し、
前記変換部は、前記パブリックサーバに格納されたコンテンツデータのリストを、前記ローカル再生装置に対応する言語フォーマットに変換し、
前記ローカル通信部は、前記変換部によって変換されたコンテンツデータのリストを前記ローカル再生装置に送信する
ことを特徴とするローカルサーバ。 - 前記ローカル通信部は、前記変換部によって変換されたコンテンツデータのリストの中から選択されたコンテンツデータを要求するコンテンツデータ要求を前記ローカル再生装置から受信し、
前記パブリック通信部は、前記コンテンツデータ要求に応じて、前記コンテンツデータ要求に対応するコンテンツデータを前記パブリックサーバから受信し、
前記ローカル通信部は、前記パブリックサーバから受信したコンテンツデータを前記ローカル再生装置に送信する
ことを特徴とする請求項1に記載のローカルサーバ。 - ローカルネットワークを介して接続されたローカル再生装置に対して、パブリックネットワークを介して接続されたパブリックサーバに格納されたコンテンツデータをローカルサーバが送信するコンテンツ送信方法であって、
前記ローカル再生装置が、前記パブリックサーバに格納されたコンテンツデータのリストを要求するリスト要求を前記ローカルサーバに送信するステップAと、
前記ローカルサーバが、前記リスト要求に応じて、前記パブリックサーバに格納されたコンテンツデータのリストを前記パブリックサーバから受信するステップBと、
前記ローカルサーバが、前記パブリックサーバに格納されたコンテンツデータのリストを、前記ローカル再生装置に対応する言語フォーマットに変換するステップCと、
前記ローカルサーバが、前記ステップCで変換されたコンテンツデータのリストを前記ローカル再生装置に送信するステップDと
を備えることを特徴とするコンテンツ送信方法。
Priority Applications (3)
| Application Number | Priority Date | Filing Date | Title |
|---|---|---|---|
| JP2009219805A JP2011071663A (ja) | 2009-09-24 | 2009-09-24 | ローカルサーバ及びコンテンツ送信方法 |
| CN2010102893258A CN102035873B (zh) | 2009-09-24 | 2010-09-19 | 本地服务器以及内容发送方法 |
| US12/886,818 US20110072113A1 (en) | 2009-09-24 | 2010-09-21 | Local server and content transmission method |
Applications Claiming Priority (1)
| Application Number | Priority Date | Filing Date | Title |
|---|---|---|---|
| JP2009219805A JP2011071663A (ja) | 2009-09-24 | 2009-09-24 | ローカルサーバ及びコンテンツ送信方法 |
Publications (1)
| Publication Number | Publication Date |
|---|---|
| JP2011071663A true JP2011071663A (ja) | 2011-04-07 |
Family
ID=43757563
Family Applications (1)
| Application Number | Title | Priority Date | Filing Date |
|---|---|---|---|
| JP2009219805A Pending JP2011071663A (ja) | 2009-09-24 | 2009-09-24 | ローカルサーバ及びコンテンツ送信方法 |
Country Status (3)
| Country | Link |
|---|---|
| US (1) | US20110072113A1 (ja) |
| JP (1) | JP2011071663A (ja) |
| CN (1) | CN102035873B (ja) |
Cited By (3)
| Publication number | Priority date | Publication date | Assignee | Title |
|---|---|---|---|---|
| JP2013186538A (ja) * | 2012-03-06 | 2013-09-19 | Ricoh Co Ltd | サーバ装置、プログラム及び画像表示システム |
| JP2017073141A (ja) * | 2016-10-27 | 2017-04-13 | 株式会社リコー | サーバ装置、プログラム及び画像表示システム |
| KR101899979B1 (ko) * | 2012-09-05 | 2018-09-19 | 엘지전자 주식회사 | 이동 단말기 및 그것의 제어 방법 |
Families Citing this family (4)
| Publication number | Priority date | Publication date | Assignee | Title |
|---|---|---|---|---|
| CN102316366A (zh) * | 2010-07-09 | 2012-01-11 | 中兴通讯股份有限公司 | 一种媒体服务器及音视频传输的方法 |
| JP2012160017A (ja) * | 2011-01-31 | 2012-08-23 | Buffalo Inc | コンテンツ管理方法、管理ストレージ及びコンテンツ管理プログラム |
| CN104348733B (zh) * | 2013-07-26 | 2018-07-03 | 华为技术有限公司 | 内容名压缩方法及装置 |
| JP6489838B2 (ja) * | 2015-01-15 | 2019-03-27 | キヤノン株式会社 | 送信装置、送信方法、及びプログラム |
Citations (2)
| Publication number | Priority date | Publication date | Assignee | Title |
|---|---|---|---|---|
| WO2007105460A1 (ja) * | 2006-03-07 | 2007-09-20 | Sony Corporation | 情報処理装置、情報通信システム、および情報処理方法、並びにコンピュータ・プログラム |
| JP2008186272A (ja) * | 2007-01-30 | 2008-08-14 | Sony Corp | メタデータ収集システム、コンテンツ管理サーバ、メタデータ収集装置、メタデータ収集方法およびプログラム |
Family Cites Families (8)
| Publication number | Priority date | Publication date | Assignee | Title |
|---|---|---|---|---|
| WO2001080003A2 (en) * | 2000-04-17 | 2001-10-25 | Circadence Corporation | System and method for shifting functionality between multiple web servers |
| JP2005051473A (ja) * | 2003-07-28 | 2005-02-24 | Sony Corp | ネットワーク相互接続装置及びネットワーク相互接続方法、名前解決装置、並びにコンピュータ・プログラム |
| KR100664931B1 (ko) * | 2004-11-20 | 2007-01-04 | 삼성전자주식회사 | 홈 네트워크에서 컨텐츠 리스트를 제공하는 장치, 시스템,및 그 방법 |
| US7680804B2 (en) * | 2005-12-30 | 2010-03-16 | Yahoo! Inc. | System and method for navigating and indexing content |
| CN101438256B (zh) * | 2006-03-07 | 2011-12-21 | 索尼株式会社 | 信息处理设备、信息通信系统、信息处理方法 |
| CN101466022B (zh) * | 2007-12-19 | 2013-08-21 | 康佳集团股份有限公司 | 一种数字家庭网络设备点播互联网音视频方法 |
| US8356323B2 (en) * | 2008-04-15 | 2013-01-15 | Cisco Technology, Inc. | UPnP/DLNA compliant MR-DVR |
| US9282337B2 (en) * | 2009-02-27 | 2016-03-08 | Vixs Systems, Inc. | Media source device with digital format conversion and methods for use therewith |
-
2009
- 2009-09-24 JP JP2009219805A patent/JP2011071663A/ja active Pending
-
2010
- 2010-09-19 CN CN2010102893258A patent/CN102035873B/zh active Active
- 2010-09-21 US US12/886,818 patent/US20110072113A1/en not_active Abandoned
Patent Citations (2)
| Publication number | Priority date | Publication date | Assignee | Title |
|---|---|---|---|---|
| WO2007105460A1 (ja) * | 2006-03-07 | 2007-09-20 | Sony Corporation | 情報処理装置、情報通信システム、および情報処理方法、並びにコンピュータ・プログラム |
| JP2008186272A (ja) * | 2007-01-30 | 2008-08-14 | Sony Corp | メタデータ収集システム、コンテンツ管理サーバ、メタデータ収集装置、メタデータ収集方法およびプログラム |
Cited By (3)
| Publication number | Priority date | Publication date | Assignee | Title |
|---|---|---|---|---|
| JP2013186538A (ja) * | 2012-03-06 | 2013-09-19 | Ricoh Co Ltd | サーバ装置、プログラム及び画像表示システム |
| KR101899979B1 (ko) * | 2012-09-05 | 2018-09-19 | 엘지전자 주식회사 | 이동 단말기 및 그것의 제어 방법 |
| JP2017073141A (ja) * | 2016-10-27 | 2017-04-13 | 株式会社リコー | サーバ装置、プログラム及び画像表示システム |
Also Published As
| Publication number | Publication date |
|---|---|
| CN102035873A (zh) | 2011-04-27 |
| US20110072113A1 (en) | 2011-03-24 |
| CN102035873B (zh) | 2013-10-09 |
Similar Documents
| Publication | Publication Date | Title |
|---|---|---|
| JP2011071663A (ja) | ローカルサーバ及びコンテンツ送信方法 | |
| CN1252590C (zh) | 可下载用户接口 | |
| CN102694840B (zh) | 内容管理方法以及管理存储器 | |
| WO2015038529A1 (en) | Remote control devices and related devices and systems | |
| JP2002288053A (ja) | ネットワークデバイス管理装置、プログラム、情報記憶媒体およびネットワークデバイス管理方法 | |
| JP2005045510A (ja) | コンテンツ情報管理装置およびコンテンツ情報管理方法 | |
| CN103329087A (zh) | Gui生成装置、集成电路、gui生成方法、gui生成程序 | |
| US8510575B2 (en) | Powering on local server using content list | |
| JP2004348455A (ja) | 情報処理装置、および情報処理方法、並びにコンピュータ・プログラム | |
| JP2011139405A (ja) | 情報処理装置、情報処理方法、プログラム、制御対象機器および情報処理システム | |
| JP5317835B2 (ja) | コンテンツ属性情報提供装置、コンテンツ属性情報提供方法、及びコンピュータプログラム | |
| JP4691449B2 (ja) | 機器登録システム、サーバ、端末装置 | |
| JP5573297B2 (ja) | 端末装置、電子機器およびプログラム | |
| JP2014041591A (ja) | 機器管理装置、機器管理システムおよびプログラム | |
| JP4944176B2 (ja) | ローカルサーバ及びコンテンツリスト更新方法 | |
| KR101310223B1 (ko) | 컨텐트 디렉토리 서비스를 제공하는 장치와 제공하지 않는장치 간의 동기화 방법 및 이를 수행하는 장치 | |
| JP5167406B2 (ja) | 機器制御システム | |
| JP5268004B2 (ja) | ホームネットワークにおける操作制御システム | |
| WO2008018553A1 (en) | Communication device, operation user communication device, owner-user communication device, its program, presence server, operated device, command generation data providing server, device operation system, and device operation method | |
| JP6770769B1 (ja) | 情報処理装置、情報処理システム、および、プログラム | |
| JP7048113B2 (ja) | 情報処理装置、情報処理システム、および、プログラム | |
| JP6736116B1 (ja) | レコーダおよび情報処理装置 | |
| JP2009244636A (ja) | 楽曲配信システム | |
| JP4393311B2 (ja) | コンテンツ再生装置、およびコンテンツ再生方法 | |
| CN101336425A (zh) | 用于在网络中产生任务的方法和设备以及存储用于执行该方法的程序的记录介质 |
Legal Events
| Date | Code | Title | Description |
|---|---|---|---|
| A977 | Report on retrieval |
Free format text: JAPANESE INTERMEDIATE CODE: A971007 Effective date: 20110707 |
|
| A131 | Notification of reasons for refusal |
Free format text: JAPANESE INTERMEDIATE CODE: A131 Effective date: 20110803 |
|
| A521 | Request for written amendment filed |
Free format text: JAPANESE INTERMEDIATE CODE: A523 Effective date: 20111003 |
|
| A02 | Decision of refusal |
Free format text: JAPANESE INTERMEDIATE CODE: A02 Effective date: 20111025 |