JP2010171009A - 電化製品用の操作装置 - Google Patents

電化製品用の操作装置 Download PDF

Info

Publication number
JP2010171009A
JP2010171009A JP2010003563A JP2010003563A JP2010171009A JP 2010171009 A JP2010171009 A JP 2010171009A JP 2010003563 A JP2010003563 A JP 2010003563A JP 2010003563 A JP2010003563 A JP 2010003563A JP 2010171009 A JP2010171009 A JP 2010171009A
Authority
JP
Japan
Prior art keywords
control panel
sensitive switch
operating device
touch
operating
Prior art date
Legal status (The legal status is an assumption and is not a legal conclusion. Google has not performed a legal analysis and makes no representation as to the accuracy of the status listed.)
Granted
Application number
JP2010003563A
Other languages
English (en)
Other versions
JP5615560B2 (ja
Inventor
Wolfgang Alfred Hamm
アルフレッド ハム ヴォルフガング
Current Assignee (The listed assignees may be inaccurate. Google has not performed a legal analysis and makes no representation or warranty as to the accuracy of the list.)
EGO Elektro Geratebau GmbH
Original Assignee
EGO Elektro Gerate Blanc und Fischer GmbH
Priority date (The priority date is an assumption and is not a legal conclusion. Google has not performed a legal analysis and makes no representation as to the accuracy of the date listed.)
Filing date
Publication date
Application filed by EGO Elektro Gerate Blanc und Fischer GmbH filed Critical EGO Elektro Gerate Blanc und Fischer GmbH
Publication of JP2010171009A publication Critical patent/JP2010171009A/ja
Application granted granted Critical
Publication of JP5615560B2 publication Critical patent/JP5615560B2/ja
Expired - Fee Related legal-status Critical Current
Anticipated expiration legal-status Critical

Links

Images

Classifications

    • HELECTRICITY
    • H03ELECTRONIC CIRCUITRY
    • H03KPULSE TECHNIQUE
    • H03K17/00Electronic switching or gating, i.e. not by contact-making and –breaking
    • H03K17/94Electronic switching or gating, i.e. not by contact-making and –breaking characterised by the way in which the control signals are generated
    • H03K17/96Touch switches
    • H03K17/962Capacitive touch switches
    • HELECTRICITY
    • H01ELECTRIC ELEMENTS
    • H01HELECTRIC SWITCHES; RELAYS; SELECTORS; EMERGENCY PROTECTIVE DEVICES
    • H01H3/00Mechanisms for operating contacts
    • H01H3/02Operating parts, i.e. for operating driving mechanism by a mechanical force external to the switch
    • H01H3/08Turn knobs
    • HELECTRICITY
    • H03ELECTRONIC CIRCUITRY
    • H03KPULSE TECHNIQUE
    • H03K17/00Electronic switching or gating, i.e. not by contact-making and –breaking
    • H03K17/94Electronic switching or gating, i.e. not by contact-making and –breaking characterised by the way in which the control signals are generated
    • H03K17/965Switches controlled by moving an element forming part of the switch
    • HELECTRICITY
    • H01ELECTRIC ELEMENTS
    • H01HELECTRIC SWITCHES; RELAYS; SELECTORS; EMERGENCY PROTECTIVE DEVICES
    • H01H3/00Mechanisms for operating contacts
    • H01H3/02Operating parts, i.e. for operating driving mechanism by a mechanical force external to the switch
    • H01H2003/0293Operating parts, i.e. for operating driving mechanism by a mechanical force external to the switch with an integrated touch switch
    • HELECTRICITY
    • H01ELECTRIC ELEMENTS
    • H01HELECTRIC SWITCHES; RELAYS; SELECTORS; EMERGENCY PROTECTIVE DEVICES
    • H01H3/00Mechanisms for operating contacts
    • H01H3/02Operating parts, i.e. for operating driving mechanism by a mechanical force external to the switch
    • H01H3/08Turn knobs
    • H01H2003/085Retractable turn knobs, e.g. flush mounted
    • HELECTRICITY
    • H01ELECTRIC ELEMENTS
    • H01HELECTRIC SWITCHES; RELAYS; SELECTORS; EMERGENCY PROTECTIVE DEVICES
    • H01H2221/00Actuators
    • H01H2221/008Actuators other then push button
    • H01H2221/01Actuators other then push button also rotatable
    • HELECTRICITY
    • H01ELECTRIC ELEMENTS
    • H01HELECTRIC SWITCHES; RELAYS; SELECTORS; EMERGENCY PROTECTIVE DEVICES
    • H01H2239/00Miscellaneous
    • H01H2239/006Containing a capacitive switch or usable as such

Landscapes

  • Switches That Are Operated By Magnetic Or Electric Fields (AREA)
  • Rotary Switch, Piano Key Switch, And Lever Switch (AREA)
  • Switch Cases, Indication, And Locking (AREA)
  • Electronic Switches (AREA)
  • Input From Keyboards Or The Like (AREA)
  • Mechanisms For Operating Contacts (AREA)
  • Cookers (AREA)

Abstract

【課題】 電化製品用の操作装置を提供する。
【解決手段】 電化製品用の操作装置は、制御パネルと、それに配置された回転作動操作用の操作要素とを備える。操作要素はカップ状の収容部に取り付けられ、少なくとも1つの追加のタッチセンシティブスイッチは、操作要素に近接したまたはその周囲の制御パネルの領域に配置される。有利には、このスイッチは、容量式のセンサ素子を有する容量式のタッチセンシティブスイッチである。
【選択図】 図1

Description

本発明は、制御パネルと、前記制御パネルに配置された回転作動操作用の操作要素とを有する電化製品用の操作装置であって、前記操作要素が、カップ状の収容部に取り付けられ、少なくとも1つの追加のタッチセンシティブスイッチが、前記操作要素に近接したまたは前記操作要素の周囲の前記制御パネルの領域に配置される操作装置に関する。
このような操作装置は多くのおよび多様な形態で知られている。このような場合、収容部は、例えば特許文献1から知られているように、最も頻繁には、例えば回転ノブ等の操作要素が取り付けられる制御パネルにまたはその後部に配置される。さらに、この回転ノブは後退可能であり得る。収容部の後部には、回転ノブによって操作される回転スイッチ装置が配置される。このような回転作動に加えて、操作装置により別の機能を起動することが可能であることが望ましいかもしれない。例えば、補助スイッチ等を設けることが可能である。回転ノブ自体でこのような補助スイッチを構成するための1つの方法が、例えば特許文献2から知られている。
欧州特許出願公開第1318534A1号明細書 米国特許第2007/0181410A1号明細書 独国特許出願公開第102009006434.6号明細書
本発明の課題は、別の機能を備えかつ有利には操作装置の操作機能を向上させることが可能である上記操作装置を提供することである。
この課題は、請求項1の特徴を有する操作装置によって解決される。本発明の有利かつ好ましい形態は、別の請求項の主題であり、以下により詳細に説明される。請求項の用語は、明確な参照によって明細書の記載内容に援用される。
操作装置が、回転作動操作用の操作要素、特に回転ノブを備えることが意図され得る。操作要素は、制御パネルに配置され、ここで、カップ状の収容部に取り付けられる。本発明によれば、少なくとも1つの追加のタッチセンシティブスイッチは、操作要素に近接したまたはその周囲の制御パネルの領域に設けられる。特に、このタッチセンシティブスイッチは、操作要素に直接隣接するか、または適切な狭い間隙によって操作要素から単に分離される。
このようにして、例えば、回転可能な操作要素によって、出力設定または出力時間を調整することが可能であり、すなわち、数値を変化させることが可能である。ここで、これらのことが、調整が終了した場合に適用されるか、またはその代わりに、追加のタッチセンシティブスイッチによって、信号を作動信号として正確に生成し得る。さらに、回転作動は、例えば操作要素の設定マークによる、操作要素の周囲のリングに配置された複数のタッチセンシティブスイッチの1つへの空間の割り当てを保証することが可能であり、次に、前記空間の割り当てが作動信号として作動される。操作方法に関する多数の別の選択が提供され、容易に考えられる。
本発明の一形態では、タッチセンシティブスイッチは、有利には、容量式のタッチセンシティブスイッチであり得る。このため、そのスイッチは、容量式の導電性センサ素子を備えることが可能である。このセンサ素子は、特に有利には、前記センサ素子が配置される制御パネルの外面でまたは前面で電気的に絶縁される。したがって、このことは、上記センサ素子が、操作者の接触に関して電気的に絶縁され、したがって、安全規則も守られることを意味する。
本発明の別の発展形態では、収容部は、制御パネルにほぼ平行におよび操作要素の周囲に延びるカラー状の部分を備え得る。タッチセンシティブスイッチ、またはそれ用のセンサ素子を、このカラー状の部分に配置し、例えばそれに取り付けることが可能である。このことについて以下により詳細に説明する。特に、収容部のカラー状の部分がタッチセンシティブスイッチまたはセンサ素子を覆うことが意図され得る。ここで、上記電気絶縁も非常に容易に実現することが可能である。次に、複雑な作業をパネルで行う必要がないように、あるいは操作装置を変更することによって、同じパネルで設計および/または操作機能を変更し得るように、タッチセンシティブスイッチの接触面が収容部の部分によって形成される。
本発明の一形態では、有利には平坦な構造であるセンサ素子をコーティングとして製造することが可能である。導電性材料のこのようなコーティングは、有利には、制御パネルに平行に延びる収容部の領域に設けることが可能である。特に、上記領域は上記カラー状の部分であり、ここで、この部分の後部には、対応するコーティングによってセンサ素子が付与される。
本発明の代替形態では、センサ素子が、平坦な材料から製造され、有利には平坦な金属板として製造されることが意図され得る。このような金属板は、別個の部分として制御パネル自体または収容部に取り付けることが可能であり、例えば接着接合することが可能である。この場合も、1つの適切な方法は、上記センサ素子が、コーティングと同様に、別個の部分として収容部または上記カラー状の部分に取り付けられる方法である。これにより、センサ素子が、正確に所定の空間の割り当てで操作装置に配置されることも保証される。
本発明の別形態では、タッチセンシティブスイッチへのまたはそれらのセンサ素子への電源リードまたは電源コネクタを収容部に一体化し得る。また、このため、収容部は、制御パネルの後部に配置され、例えば、操作要素を用いた回転作動によって作動可能なスイッチ装置を備え、このスイッチ装置は収容部の後端に取り付けられる。
電源リードまたは電源コネクタが導電性コーティングとして収容部の表面に設けられるように、前記電源リードまたは前記電源コネクタを収容部に一体化することが可能である。このことは、特に有利には収容部の外側で可能である。厚層ペースト等によって、またはその代わりにプラスチックによって、コーティングを設けることが可能であり、導電性のために、前記コーティングには、粒子が混合される。コーティングの代わりに、例えば非常に薄い銅片からなりかつ収容部に接着接合される非常に薄い導電体によって、電源リードまたは電源コネクタを実現してもよい。その代わりに、本発明のさらに別の形態として、電源リードまたは電源コネクタを、ある種の導体ワイヤ等として、従来通りにプラスチックからなる収容部に射出成形してもよい。さらに、2構成要素射出成形により、導電性プラスチックを電源リードとして射出成形することが可能である。
一般に、MID(成形された相互接続装置)技術を用いて、センサ素子および電源リードまたは電源接続部の両方を利用することも可能である。これは、導体配置が、この場合、構造化された金属層の形状の収容部等の3次元形状の支持部に利用される新規な方法である。
コーティングの形状の電源リードの場合、この電源リードが、収容部の外側で上記カラー状の部分に案内され、その部分にわたって延びることが意図され得る。このようなコーティング自体は、広く適用される場合に、「容量式の」センサ素子を形成することが可能である。代わりに、電気接続のために、金属板の形状のセンサ素子を特に上記コーティングに配置し、特に導電性接着剤で適切に接着接合してもよい。ここで、上記センサ素子は、例えば薄い銅板等の上記適用された薄い導体に対応する。
有利には、上記電源リードまたは電源コネクタによって、収容部の後端に配置されたスイッチ装置に電気接続部が設けられる。このようにして、例えば、スイッチ装置自体への電気接続部のように、タッチセンシティブスイッチ用の電気接続部をスイッチ装置に設けることが可能である。したがって、例えば、プラグ群等のような同一のプラグを使用することが可能である。ここで、常に電気接続部を非常に迅速かつ明確に認識することができる。代わりに、電気接続部を形成するように、別個のケーブルを電源リードまたは電源コネクタから案内してもよい。
本発明の有利な別の発展形態では、上述されているように、複数の追加のタッチセンシティブスイッチが制御パネルに設けられ、操作要素の周囲に分配される。上記タッチセンシティブスイッチは、特に有利には、大きさが同一であり、均一に分配することが可能である。この場合有利には、別個の電源リードまたは電源コネクタに、別個の各タッチセンシティブスイッチまたはその上記センサ素子用の別個の電気端子が設けられることが意図される。このようにして、例えば、4個から12個のこのようなセンサ素子を設けることが可能である。
本発明の別形態では、表示器を操作要素の周囲の制御パネルに設け得る。この表示器は、例えば、それぞれ別々に作動することも可能であるLED表示器またはOLED表示器であり得る。このような表示器の電気的な作動は、上記タッチセンシティブスイッチまたはセンサ素子のために同様の方法で行うことが可能である。
これらおよび別の特徴は、請求項からだけでなく、説明および図面からも明らかになり、個々の特徴は、本発明の実施形態のサブコンビネーションの形態においておよび他の分野において、それぞれ単独でまたは複数の組み合わせで実現され、本明細書で保護が請求される有利でそれ自体保護可能な実施形態を表すことが可能である。本出願が個々の区分および副題に細分されても、以下になされる説明の一般的な適用性が制限されない。
本発明の例示的な実施形態を図面に概略的に示し、以下により詳細に説明する。
伸長した回転ノブおよびセンサ素子を有する本発明による操作装置の断面図である。 環状に配置された複数のタッチセンシティブスイッチを有する図1の操作装置の平面図である。 図1の操作装置の側面図である。
図1は、図2の部分B−Bによれば、操作装置11が面一に設置されるカットアウト13において、より詳細には図示していない電化製品の制御パネル12に取り付けられる本発明による操作装置11を示している。回転作動のために、上記操作装置は、前方把持部16と、軸受構造として構成された基部17とからなる回転ノブ15を備える。回転ノブ15が、後退する回転ノブの形態をとるように、把持部16と基部17とが接続される。このことは、例えば、特許文献1から知られており、ここで、さらなる説明を行うことを不要にするために、特許文献1を明確に参照されたい。
回転ノブ15は収容カップ19に延び、この収容カップは、有利には管状部の形状の外側シェル20と、それに直接接続された内側シェル23とを備える。回転ノブ15の把持部16は、後退時に、内側シェル23と外側シェル20との間の中間空間に係合し得る。外側シェル20は、前部においてカラー状の部分24に展開し、その部分24は外側シェル20の長手方向延長部に対してほぼ垂直に突出する。このことは、図2の平面図からも非常に明確に理解することが可能である。
収容カップ19の後端26には、回転ノブ15によって調整し得る回転スイッチ装置28が設けられる。このため、上記回転スイッチ装置は、収容カップ19の後端26に取り付けられる軸スタブ30を介して基部17に接続される。
タッチセンシティブスイッチ32は、特に図2に示したように、制御パネル12の前部またはその上に設けられ、12個の部材が回転ノブ15の周囲に環状に分配される。タッチセンシティブスイッチ32は、分離ウェブによって互いに明確に画定される。上記タッチセンシティブスイッチは、容量式のタッチセンシティブスイッチの形態をとり、このため、容量式のセンサ素子34を備える。図1の左側において、容量式のセンサ素子34は、対応して形成された金属板として構成され、カラー状の部分24の反対方向に向いた側面に取り付けられ、特に確実に接着接合される。センサ素子34の電気的接触のために、電源リード36が設けられ、この電源リードは、導電性コーティングとして、外側シェル20の、または接着接合されたウェブ形状の導体材料の外側に取り付けられる。電源リード36は、センサ素子34の輪郭に沿ってカラー状の部分24の後面全体を覆い、それに当接するかまたはそれに電気的に接続される。次に、電源リード36は、常に外側シェル20の外面において、後端26に向かって延びる。例えば、導電性接着剤で接着接合された接触手段38、およびケーブル等によって、上記電源リードが、回転スイッチ装置28の底部の端子プラグ40に連結されるかまたはそれに接続される。対応して適切なプラグコネクタへの差し込みによって、容量式のセンサ素子34を作動させることができ、評価することができる。
容量的に動作するタッチセンシティブスイッチの代わりに、小型の反射光バリアを使用して、ユーザの指の当たりを検出してもよい。ここで、上記反射光バリアは、センサ素子34の代わりに、カラー状の部分24の下部に配置され、対応する電気接続部によって作動されるが、この場合、その接続部は著しく複雑である。
図1の右側には、代替形態が示されている。図1の右側にも、タッチセンシティブスイッチ32が設けられ、このスイッチを作動させるために、操作者はタッチセンシティブスイッチ32またはこの箇所のカラー状の部分24の頂部に自分の指を当てる。この場合、容量式のセンサ素子34’はカラー状の部分24の底部に設けられ、このセンサ素子は、コーティングの形態をとり、センサ素子34のような別個の部分を有しない。このコーティングは電源リード36’に直接接続され、この電源リードは、上記のように、一方がコーティングであり、他方が別個の導体であり得る。収容カップ19の収容部の後端26の前の短い距離において、電源リード36’には、ケーブル39を介して端子プラグ40に通じる接触手段38’が設けられる。したがって、この場合、端子プラグ40は回転スイッチ装置28に設けられない。
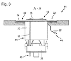
図2による部分A−Aである図3の別の図面から、例えば、図1の断面図に示した電源リード36が、どの程度の幅であり得るか、および外側シェル20の外側にわたってどのように延びるかが明らかである。ここで、上記電源リードは回転スイッチ装置28の底部で端子プラグ40に展開する。
さらに、図3は、単なる代替例として、ケーブル39’を介した容量式のタッチセンシティブスイッチ32のセンサ素子34への概略的な接続を示している。特に、このような別個のまたは自由なケーブルの場合、全てのセンサ素子34のために、単一のマルチプラグイン接続部を設けることが可能であり得る。
本発明の別形態では、同じ出願人によって同じ優先日に出願された同時出願の特許文献3から知られているように、収容カップ19、特に外側シェル20が少なくとも部分的に光伝導性材料からなることが可能である。例えば、LEDによる後方から回転スイッチ装置28への光照射の場合、カラー状の部分24の前面で照明効果を得ることが可能である。
例えば印刷工程、特にパッド印刷によって、収容カップ19の導電性コーティングをカラー状の部分24の後部または外側シェル20の外側に向かって延ばすことが可能である。
また、隣接する2つのセンサ素子を作動させることによって、指を当てたときの容量オーバーカップリングを検出し得ることが図2から明らかである。これは代替的な容量検出方法である。
11 操作装置
12 制御パネル
13 カットアウト
15 回転ノブ
16 前方把持部
17 基部
19 収容カップ
20 外側シェル
23 内側シェル
24 カラー状の部分
26 収容カップ19の後端
28 回転スイッチ装置
30 軸スタブ
32 タッチセンシティブスイッチ
34 容量式のセンサ素子
34’ 容量式のセンサ素子
36 電源リード
36’ 電源リード
38 接触手段
38’ 接触手段
39 ケーブル
39’ ケーブル
40 端子プラグ

Claims (13)

  1. 制御パネルと、前記制御パネルに配置された回転作動操作用の操作要素とを有する電化製品用の操作装置であって、前記操作要素が、カップ状の収容部に取り付けられ、少なくとも1つの追加のタッチセンシティブスイッチが、前記操作要素に近接したまたは前記操作要素の周囲の前記制御パネルの領域に配置される操作装置。
  2. 前記タッチセンシティブスイッチが、容量式の導電性センサ素子を有する容量式のタッチセンシティブスイッチである請求項1に記載の操作装置。
  3. 前記センサ素子が前記制御パネルの外面でまたは前面で電気的に絶縁される請求項2に記載の操作装置。
  4. 前記タッチセンシティブスイッチ、または前記タッチセンシティブスイッチの前記センサ素子が、前記操作要素の周囲の前記収容部のカラー状の部分に配置される請求項1に記載の操作装置。
  5. 前記カラー状の部分が、前記タッチセンシティブスイッチ、または前記タッチセンシティブスイッチの前記センサ素子を覆う請求項4に記載の操作装置。
  6. 前記センサ素子が、前記制御パネルに平行に延びる前記収容部の領域のコーティングとして構成される請求項2に記載の操作装置。
  7. 前記センサ素子が、平坦な材料の形態をとり、別個の部分として前記制御パネルにまたは前記収容部に取り付けられる請求項2に記載の操作装置。
  8. 前記電源リードが、前記タッチセンシティブスイッチ、または前記タッチセンシティブスイッチの前記センサ素子への接続部として、前記操作要素の前記収容部に組み込まれ、前記収容部が、前記制御パネルの後部に配置され、後端において、操作要素の回転作動により作動可能なスイッチ装置を有する請求項1に記載の操作装置。
  9. 電源リードまたは電源コネクタが導電性コーティングとして前記収容部の表面に設けられる請求項8に記載の操作装置。
  10. 前記収容部の前記電源リードまたは電源コネクタから、前記収容部の前記後端に配置された操作要素スイッチ装置への電気接続部が、前記タッチセンシティブスイッチの電気接続のために、前記スイッチ装置の後端に設けられる請求項8に記載の操作装置。
  11. 複数の追加のタッチセンシティブスイッチが前記操作要素の周囲の前記制御パネルに設けられ、別個の端子を有する別個の電源リードまたは電源コネクタが、別個のタッチセンシティブスイッチ毎に設けられる請求項1に記載の操作装置。
  12. 前記操作装置が前記電化製品の前記制御パネルに挿入される請求項1に記載の操作装置。
  13. 表示器が、異なる作動を有するOLED表示器の形態で前記操作要素の周囲に設けられる請求項1に記載の操作装置。
JP2010003563A 2009-01-22 2010-01-12 電化製品用の操作装置 Expired - Fee Related JP5615560B2 (ja)

Applications Claiming Priority (2)

Application Number Priority Date Filing Date Title
DE102009006421.4 2009-01-22
DE102009006421A DE102009006421A1 (de) 2009-01-22 2009-01-22 Bedieneinrichtung für ein Elektrogerät

Publications (2)

Publication Number Publication Date
JP2010171009A true JP2010171009A (ja) 2010-08-05
JP5615560B2 JP5615560B2 (ja) 2014-10-29

Family

ID=42153836

Family Applications (1)

Application Number Title Priority Date Filing Date
JP2010003563A Expired - Fee Related JP5615560B2 (ja) 2009-01-22 2010-01-12 電化製品用の操作装置

Country Status (7)

Country Link
US (1) US8217292B2 (ja)
EP (1) EP2211465B1 (ja)
JP (1) JP5615560B2 (ja)
CN (1) CN101794160B (ja)
DE (1) DE102009006421A1 (ja)
ES (1) ES2400035T3 (ja)
SI (1) SI2211465T1 (ja)

Families Citing this family (7)

* Cited by examiner, † Cited by third party
Publication number Priority date Publication date Assignee Title
US8503169B2 (en) * 2009-02-18 2013-08-06 American Trim, L.L.C. Appliance control panel
IT1404166B1 (it) * 2011-02-04 2013-11-15 Whirlpool Co Dispositivo di comando a scomparsa perfezionato per elettrodomestico
US9063623B2 (en) 2011-12-01 2015-06-23 Green Cedar Holdings Llc Capacitive touch sensor assembly for use in a wet environment
ES2454872A1 (es) * 2012-10-11 2014-04-11 BSH Electrodomésticos España S.A. Dispositivo de mando para un aparato de cocción calentado a gas
KR20150120120A (ko) * 2014-04-17 2015-10-27 삼성전자주식회사 상하운동이 가능한 회전 노브 조립체
EP3547303B1 (de) * 2018-03-29 2020-05-13 Ableton AG Taste mit erweiterten ausdrucksmöglichkeiten
JP7435083B2 (ja) * 2020-03-16 2024-02-21 ヤマハ株式会社 回転操作装置

Citations (4)

* Cited by examiner, † Cited by third party
Publication number Priority date Publication date Assignee Title
JPS58177903U (ja) * 1982-05-21 1983-11-28 三菱電機株式会社 操作軸の防水構造
JPH0741542U (ja) * 1993-12-27 1995-07-21 旭光学工業株式会社 調整ダイヤル
JP2004311196A (ja) * 2003-04-07 2004-11-04 Alps Electric Co Ltd 入力装置
JP2007073506A (ja) * 2005-09-02 2007-03-22 Valeo Systemes Thermiques 接触を感知しうる指令用ボタン装置

Family Cites Families (22)

* Cited by examiner, † Cited by third party
Publication number Priority date Publication date Assignee Title
US4413252A (en) * 1980-01-23 1983-11-01 Robertshaw Controls Company Capacitive switch and panel
DE3702291A1 (de) 1987-01-27 1988-08-04 Buderus Kuechentechnik Vorrichtung zum einstellen der schalter und regelvorrichtungen eines haushaltgeraetes
US5594222A (en) * 1994-10-25 1997-01-14 Integrated Controls Touch sensor and control circuit therefor
DE19832677A1 (de) * 1998-07-21 2000-02-03 Mannesmann Vdo Ag Bedienvorrichtung
DE19834374B4 (de) * 1998-07-30 2004-03-04 Preh-Werke Gmbh & Co. Kg Drehknopf eines Steuergerätes
EP1229647A1 (fr) * 2001-01-26 2002-08-07 Faurecia Industries Organe de commande capacitif pour un organe fonctionnel notamment de véhicule automobile, et pièce d'équipement comportant un tel organe
DE10161539A1 (de) 2001-12-10 2003-06-26 Ego Elektro Geraetebau Gmbh Aufnahme mit einer Achse zur Drehbedienung eines Schaltgeräts o. dgl.
WO2003058659A1 (de) * 2002-01-08 2003-07-17 BSH Bosch und Siemens Hausgeräte GmbH Bedienanordnung für ein haushaltsgerät, bedienelement sowie haushaltsgerät
FR2838558B1 (fr) * 2002-04-16 2005-10-14 Faurecia Ind Organe de commande de type capacitif
WO2005019766A2 (en) * 2003-08-21 2005-03-03 Harald Philipp Capacitive position sensor
US7054133B2 (en) * 2004-03-22 2006-05-30 Margaret Orth Electronic textile touch light controller
DE102004026836B4 (de) * 2004-05-28 2007-05-03 Schott Ag Berührungsschalteinrichtung
DK1705676T3 (da) * 2005-03-21 2008-02-18 Delfmems RF MEMS omskifter med en fleksibel og fri omskiftermembran
DE202005019978U1 (de) * 2005-10-12 2006-04-20 E.G.O. Elektro-Gerätebau GmbH Bedienvorrichtung für ein Elektrogerät
JP4712524B2 (ja) * 2005-10-28 2011-06-29 富士通コンポーネント株式会社 入力デバイス及び電子機器
DE202006006509U1 (de) * 2006-04-20 2007-08-30 Merten Gmbh & Co. Kg Dimmer
DE102006039196B3 (de) * 2006-08-22 2007-10-11 Miele & Cie. Kg Versenkbarer Bedienknebel für ein Haushaltsgerät mit einer Welle zur Ankoppelung an einen Energiesteller, Wahlschalter oder dergleichen
NZ549865A (en) * 2006-09-14 2010-02-26 Daniel John Glew Capacitive switch with information and lighting means beneath lens
US20080110739A1 (en) * 2006-11-13 2008-05-15 Cypress Semiconductor Corporation Touch-sensor device having electronic component situated at least partially within sensor element perimeter
DE102006054764A1 (de) * 2006-11-14 2008-05-15 E.G.O. Elektro-Gerätebau GmbH Bedienvorrichtung für ein Elektrogerät und Bedienverfahren
US8766910B2 (en) * 2007-07-04 2014-07-01 Cypress Semiconductor Corporation Capacitive sensing control knob
DE102007050654B4 (de) * 2007-10-24 2015-06-18 Diehl Ako Stiftung & Co. Kg Kapazitiver Berührungsschalter

Patent Citations (4)

* Cited by examiner, † Cited by third party
Publication number Priority date Publication date Assignee Title
JPS58177903U (ja) * 1982-05-21 1983-11-28 三菱電機株式会社 操作軸の防水構造
JPH0741542U (ja) * 1993-12-27 1995-07-21 旭光学工業株式会社 調整ダイヤル
JP2004311196A (ja) * 2003-04-07 2004-11-04 Alps Electric Co Ltd 入力装置
JP2007073506A (ja) * 2005-09-02 2007-03-22 Valeo Systemes Thermiques 接触を感知しうる指令用ボタン装置

Also Published As

Publication number Publication date
EP2211465B1 (de) 2012-11-28
CN101794160B (zh) 2014-03-26
DE102009006421A1 (de) 2010-07-29
US8217292B2 (en) 2012-07-10
SI2211465T1 (sl) 2013-03-29
EP2211465A2 (de) 2010-07-28
EP2211465A3 (de) 2011-04-06
CN101794160A (zh) 2010-08-04
ES2400035T3 (es) 2013-04-05
US20100181181A1 (en) 2010-07-22
JP5615560B2 (ja) 2014-10-29

Similar Documents

Publication Publication Date Title
JP5615560B2 (ja) 電化製品用の操作装置
JP5855007B2 (ja) ドアハンドル
CN104718592B (zh) 集成到机械部件表面的电容感测节点
JP4886805B2 (ja) 近接センサ及び回転操作検出装置
US8188386B2 (en) Rotary push-button capacitance switch knob
CN101421455B (zh) 用于家用电器的操作面板装置和用于制造操作面板装置的方法
KR101479892B1 (ko) 몰딩하는 방법
TWI468571B (zh) washing machine
CN110167678B (zh) 触控式淋浴喷头
KR102263323B1 (ko) 터치 감지형 자유 형태 표면을 갖는 장치 및 그 제조를 위한 방법
US8575501B2 (en) Household appliance having a user interface with a user-exchangeable touch wheel and rotary encoder
CN105284051A (zh) 接触敏感和/或接近敏感的操纵元件
EP3667691B1 (en) Input operation device
JP2014235893A (ja) コントロールパネル
CN209748518U (zh) 触摸控制开关面板
CN112609399B (zh) 洗衣机以及操作面板装置
EP3657680B1 (en) Touch button structure and electrical device
CN121439572A (zh) 一种旋钮结构
KR20150001909A (ko) 진동모터를 갖춘 정전 용량 감지형 터치 스위치
TWM381114U (en) Touch control button apparatus and electronic apparatus utilizing the touch control button apparatus

Legal Events

Date Code Title Description
A621 Written request for application examination

Free format text: JAPANESE INTERMEDIATE CODE: A621

Effective date: 20121225

A977 Report on retrieval

Free format text: JAPANESE INTERMEDIATE CODE: A971007

Effective date: 20131018

A131 Notification of reasons for refusal

Free format text: JAPANESE INTERMEDIATE CODE: A131

Effective date: 20131029

A601 Written request for extension of time

Free format text: JAPANESE INTERMEDIATE CODE: A601

Effective date: 20140115

A602 Written permission of extension of time

Free format text: JAPANESE INTERMEDIATE CODE: A602

Effective date: 20140120

A601 Written request for extension of time

Free format text: JAPANESE INTERMEDIATE CODE: A601

Effective date: 20140122

A602 Written permission of extension of time

Free format text: JAPANESE INTERMEDIATE CODE: A602

Effective date: 20140127

A521 Written amendment

Free format text: JAPANESE INTERMEDIATE CODE: A523

Effective date: 20140409

A131 Notification of reasons for refusal

Free format text: JAPANESE INTERMEDIATE CODE: A131

Effective date: 20140701

A521 Written amendment

Free format text: JAPANESE INTERMEDIATE CODE: A523

Effective date: 20140711

TRDD Decision of grant or rejection written
A01 Written decision to grant a patent or to grant a registration (utility model)

Free format text: JAPANESE INTERMEDIATE CODE: A01

Effective date: 20140909

A61 First payment of annual fees (during grant procedure)

Free format text: JAPANESE INTERMEDIATE CODE: A61

Effective date: 20140910

R150 Certificate of patent or registration of utility model

Ref document number: 5615560

Country of ref document: JP

Free format text: JAPANESE INTERMEDIATE CODE: R150

LAPS Cancellation because of no payment of annual fees