JP2010143780A - ガラス溶融炉及び堆積物検出方法 - Google Patents

ガラス溶融炉及び堆積物検出方法 Download PDF

Info

Publication number
JP2010143780A
JP2010143780A JP2008321289A JP2008321289A JP2010143780A JP 2010143780 A JP2010143780 A JP 2010143780A JP 2008321289 A JP2008321289 A JP 2008321289A JP 2008321289 A JP2008321289 A JP 2008321289A JP 2010143780 A JP2010143780 A JP 2010143780A
Authority
JP
Japan
Prior art keywords
glass
melting furnace
space
molten
electromagnetic waves
Prior art date
Legal status (The legal status is an assumption and is not a legal conclusion. Google has not performed a legal analysis and makes no representation as to the accuracy of the status listed.)
Pending
Application number
JP2008321289A
Other languages
English (en)
Inventor
Susumu Tokuyoshi
晋 徳良
Shoichi Hara
正一 原
Current Assignee (The listed assignees may be inaccurate. Google has not performed a legal analysis and makes no representation or warranty as to the accuracy of the list.)
IHI Corp
Original Assignee
IHI Corp
Priority date (The priority date is an assumption and is not a legal conclusion. Google has not performed a legal analysis and makes no representation as to the accuracy of the date listed.)
Filing date
Publication date
Application filed by IHI Corp filed Critical IHI Corp
Priority to JP2008321289A priority Critical patent/JP2010143780A/ja
Publication of JP2010143780A publication Critical patent/JP2010143780A/ja
Pending legal-status Critical Current

Links

Images

Landscapes

  • Length-Measuring Devices Using Wave Or Particle Radiation (AREA)

Abstract

【課題】ガラス溶融炉内に堆積する堆積物の堆積状況を効率的に把握することが可能なガラス溶融炉の堆積物検出方法及びガラス溶融炉を提供すること。
【解決手段】耐火煉瓦により形成された溶融空間11に溶融ガラスGが貯留可能とされ、該貯留した前記溶融ガラスGを前記溶融空間下部の導出部11Aに接続された流下ノズル19から排出するように構成されたガラス溶融炉1であって、電磁波を照射可能とされる照射部21と、前記照射部21が照射した電磁波を受信する受信部23A、23Bと、検出部とを有し、前記照射部21から照射した電磁波を前記受信部23A、23Bで受信して前記溶融空間の堆積物を検出する堆積物検出手段20を備えることを特徴とする。
【選択図】図1

Description

本発明は、ガラス溶融炉において発生する金属等の堆積物を検出する堆積物検出方法及びこの堆積物検出方法を用いたガラス溶融炉に関する。
ガラス溶融炉の一形態として、例えば、耐火煉瓦により形成された溶融炉本体の溶融空間に溶融ガラスを生成し、その後溶融ガラスを溶融空間に露出して設けられた電極により通電してジュール熱を発生させて加熱するとともにこの溶融ガラスにガラスビーズを投入して溶融させる直接通電方式のガラス溶融炉が知られている。
かかるガラス溶融炉の用途の一つとして、原子力施設等において発生する放射性排液を放射性廃液保管施設に保管するためのガラス固化体の形成があり、この場合ガラスビーズとともに放射性排液をガラス溶融炉に投入して生成した溶融ガラスに放射性排液を混合し、放射性排液を含有した溶融ガラスを溶融炉本体の下方に形成された流下ノズルからキャニスターに封入してガラス固化体を形成するようになっている。
そのため、溶融炉本体の下部は、例えば逆ピラミッド型等に溶融空間から流下ノズル側の断面積が縮小するように形成された導出部とされ、溶融ガラスが流下ノズルにスムースに流動するようになっている。
しかしながら、例えば、放射性排液に含まれる白金族類元素(ロジウム、パラジウム、ルテニウム)は所定の条件下で析出、クラスター化して導出部を含む炉底部に堆積しやすく、また粘性が非常に高いために、白金族類元素が炉底部に堆積すると溶融ガラスは炉壁に停滞して炉壁に沿って流下ノズルに安定して流動することが困難となる。
また、白金族類元素を含んだ堆積物は溶融ガラスに比べて電気抵抗が小さいために、電極から供給された電流が堆積物に集中的に流れて溶融ガラスに流れる電流が小さくなるために、溶融ガラスの通電加熱が阻害されて炉底部の加熱能カが低下して廃液含有ガラスを流下ノズルからキャニスターに安定的に封入することができなくなる。
そのため、堆積物が堆積してガラス溶融炉の運転に影響するような場合、炉壁から堆積物を除去することが行なわれるが、一方で、ガラス溶融炉に空気吹出口を設けて溶融ガラス中に空気をバブリングすることにより金属等の堆積物が堆積するのを抑制する技術が開示されている(例えば、特許文献1参照。)。
一方、電極間の電気抵抗が基準値以下に低下した場合、運転中は炉底部を確認できないため、電気抵抗低下の原因が高濃度の白金族類含有ガラスの堆積によるものか、金属等の異物の混入による通電の阻害によるものか、あるいは電源の不調によるものかを特定するのは容易ではなく、そのため、従来、電極間抵抗が基準値を下回ると電気抵抗が小さい物質が炉底部に堆積しているものと推測してガラスビーズと放射性廃液の供給を停止するとともにガラス溶融炉の運転を停止していた。
特開2002−236197号公報
しかしながら、ガラス溶融炉を停止した場合、ガラス溶融炉の昇温や再運転に多くの時間やコストがかかり、原因が高濃度の白金族類含有ガラス堆積や異物の落下が原因でない場合には運転停止をすることは必要以上の多大なコストを生じさせることとなる。
そのため、ガラス溶融炉内において発生する高濃度の白金族類含有ガラス等の堆積物を効率的かつ確実に検出することが可能な堆積物検出方法及びガラス溶融炉に対する技術的要請が高まっている。
また、かかる技術を確立することで放射線環境において安定したガラス溶融を行なうための運転条件の確立や炉底部に白金族類含有ガラスが堆積した場合の洗浄運転等を効率的に行なうための運転条件の解析に対する期待が高まっている。
本発明は、以上のような点を考慮してなされたものであり、ガラス溶融炉内に堆積する堆積物を効率的かつ確実に検出することが可能なガラス溶融炉の堆積物検出方法及びガラス溶融炉を提供することを目的とする。
上記の目的を達成するために本発明は、以下の構成を採用している。
請求項1に記載の発明は、耐火煉瓦により形成された溶融空間に溶融ガラスが貯留可能とされ、該貯留した前記溶融ガラスを前記溶融空間下部の導出部に接続された流下ノズルから排出するように構成されたガラス溶融炉であって、前記溶融空間に電磁波を照射可能とされる照射部と、前記照射部が照射した電磁波を受信する受信部と、前記照射部に給電するとともに前記受信部が受信した電磁波を検出する検出部とを有し、前記照射部から照射した電磁波を前記受信部で受信し、前記検出部で前記受信した電磁波に基づいて前記溶融空間の堆積物を検出する堆積物検出手段を備えることを特徴とする。
請求項3に記載の発明は、耐火煉瓦により形成された溶融空間に溶融ガラスが貯留可能とされ、該貯留した前記溶融ガラスを前記溶融空間下部の導出部に接続された流下ノズルから排出するように構成されたガラス溶融炉おける堆積物検出方法であって、前記溶融空間に照射部から電磁波を送信する工程と、前記照射された電磁波を受信部で受信する工程と、該受信した電磁波を検出部で信号に変換して前記堆積物を検出する工程と、を備えることを特徴とする。
この発明に係るガラス溶融炉によれば、照射部が照射した電磁波を受信部で受信することにより溶融空間に堆積した堆積物を検出することが可能とされる。
この明細書において、堆積物とは、例えば、高濃度の白金族類金属その他の金属等、溶融ガラスとは物性値(例えば、導電率、誘電率、誘電損失等)が異なる物質を高濃度に含有した溶融ガラスをいう。
請求項2に記載の発明は、請求項1に記載のガラス溶融炉であって、前記照射部は、前記溶融空間の側方に配置され、前記受信部は、前記溶融空間に対して前記照射部と同じ側と反対側の少なくともいずれかの側方に配置されることを特徴とする。
この発明に係るガラス溶融炉及び堆積物検出方法によれば、照射部及び受信部が溶融空間の側方に配置されているので側面視した堆積物の状況を検出することができる。その結果、例えば、流動に有害な凸形状の堆積物を効率的かつ容易に把握することができる。
この発明に係るガラス溶融炉及び堆積物検出方法によれば、溶融空間に電磁波を照射、受信することで、ガラス溶融炉の溶融空間に堆積する堆積物を効率的かつ確実に検出することができる。
その結果、ガラス溶融炉の稼働率を向上して運転コストを削減することができる。
また、ガラス溶融炉を安定して操業するための運転条件の最適化を目的とした解析を効率的に行なうことができる。
以下、図1から図9を参照して本発明に係るガラス溶融炉を説明する。
図1は、本発明の一実施形態に係るガラス溶融炉の一例の概略を示す図であって、符号1はガラス溶融炉を示している。
ガラス溶融炉1は、例えば、ガラスビーズを原料として溶融ガラスGを生成し、この溶融ガラスGに放射性廃液を混合してガラス固化体とする放射性廃液物再処理用のガラス溶解炉とされている。
ガラス溶融炉1は、溶融炉本体10と、原料供給管13と、排液供給管14と、間接加熱ヒータ15と、主電極16と、補助電極17と、底部電極18と、流下ノズル19と、堆積物検出装置(堆積物検出手段)20とを備えている。また、流下ノズル19の下方にはキャニスタ−50が配置可能とされ、溶融炉本体10内で溶融ガラスGを直接通電して加熱するとともに流下ノズル19から溶融ガラスGを排出してキャニスタ−50に充填するようになっている。
溶融炉本体10は、耐火煉瓦により形成され内方が溶融ガラスGを貯留するための溶融空間11とされており、溶融空間11は、上方が略直方体状に形成されるとともに下部が上方から下方に向かうに従って断面積が縮小するいわゆる逆ピラミッドの四角錐状空間とされていて、この四角錐状空間は、溶融ガラスGを流下ノズル19にスムースに流動させるための導出部11Aとされている。
溶融炉本体10を構成する耐火煉瓦は、例えば、Al+Crにより形成されており、耐火煉瓦と耐火煉瓦とはその間にホウ珪酸ガラスを充填することにより接合されており、電気的に充分な絶縁性を有するとともに電磁波が透過可能とされている。
原料供給管13は、ガラス溶融炉1の上部に配置されていて、溶融空間11に溶融ガラスGの原料となるガラスビーズを投入するようになっている。
排液供給管14は、ガラス溶融炉1の上部に配置されていて、例えば、核燃料製造施設において核燃料生成の際に排出される放射性廃液を溶融空間11に投入するものであり、放射性廃液には高濃度の白金族類元素(ロジウム、パラジウム、ルテニウム)が含有されている。
間接加熱ヒータ15は、溶融空間の上部に配置され、例えば、ニクロム線等の電気抵抗体により構成されており通電されることにより加熱して溶融空間11内に充填されたガラスビーズを輻射熱で加熱、溶融するとともに溶融された溶融ガラスGの温度を維持又は昇温するようになっている。
主電極16は、例えば、耐熱性と溶融ガラスGに対する耐腐食性を有するインコネルにより形成された一対の電極部材から構成され、例えば溶融空間中間部に対向して配置されるとともに溶融空間11側の端部が導出部11A内に露出して形成され、溶融空間11の溶融ガラスGに直接通電してジュール熱を発生させ、溶融ガラスGを昇温するとともにガラスビーズを溶融ガラスGに溶解するようになっている。
補助電極17は、例えば、主電極16と同様にインコネルにより形成された一対の電極部材から構成され、例えば導出部11Aの高さ方向の中間に主電極と直交する方向に対向して配置されるとともに溶融空間11側の端部が導出部11Aに露出して形成されている。かかる構成とすることにより、主電極16で加熱が充分に行なえない導出部11A内の溶融ガラスGを充分に加熱することができる。なお、図1においては、便宜のため主電極と同方向に図示している。
また、補助電極17には通気路が形成されていて、矢印に沿って冷却空気を流通させることにより補助電極17の温度上昇を抑制することができるようになっている。
底部電極18は、例えば、主電極16と同様にインコネルにより形成された一つの電極部材により形成され、導出部11Aの中央部に形成された開口部に上方を導出部11Aに露出して配置されている。
また、底部電極18は平面視して中央部に形成された流路を流下ノズル19の流路と連通されており溶融ガラスGを流下ノズル19に流通させることができるようになっている。
また、底部電極18には通気路が形成されていて、矢印に沿って冷却空気を流通させることにより底部電極18の温度上昇を抑制することができるようになっている。
主電極16、補助電極17、底部電極18は、上方からこの順番に配置されており、それぞれの電極部材に印加する電圧の設定により、主電極16を構成する電極部材の間、補助電極17を構成する電極部材の間、主電極16と補助電極17の間、主電極16と底部電極18の間、補助電極17と底部電極18の間で溶融ガラスGに通電してジュール熱を発生させて溶融ガラスGを加熱するようになっている。
なお、この実施形態において、溶融ガラスGに通電する電流は交流電流とされている。
流下ノズル19は、溶融空間11の下部に配置され、導出部11Aに連通して形成されるとともに溶融ガラスGを排出してキャニスタ−50に充填するようになっている。
なお、流下ノズル19は、高周波誘導加熱コイルが流路を取り囲むようにして形成されており、流下ノズル壁を誘導加熱することにより流路内を通過する溶融ガラスGの温度を調整可能とされている。
ガラス溶融炉1は、かかる構成により投入されたガラスビーズを初期段階は間接加熱ヒータ15で加熱、溶融して溶融ガラスGとし、その後、主電極16、補助電極17、底部電極18のいずれかに電圧を印加して溶融ガラスGに通電して加熱、溶融するようになっている。
また、溶融空間11内の溶融ガラスGにガラスビーズ及び放射性排液を投入して溶融するとともに溶融ガラスGに放射性廃液を混合し、放射性排液が混合された溶融ガラスGを流下ノズル排出してキャニスタ−50内に充填して固化するようになっている。
堆積物検出装置20は、図2に示すように照射アンテナ(照射部)21と、受信アンテナ(受信部)23と、温度センサ24と、検出部25と、信号処理部30と、表示部40とを備えており、照射アンテナ21が照射した電磁波を受信アンテナ23で受信し、電磁波が照射されてから受信されるまでの時間ΔT及び信号強度に基づいて溶融空間11内の堆積物を検出し堆積物の分布をCRT(濃度分布表示手段)等の表示部40に表示するようになっている。なお、演算部33とデータベース34Aは、濃度算出手段を構成している。
照射アンテナ21は、堆積物の検出に必要な分解能の約2倍以下の波長の電磁波(例えば、ミリ波又はマイクロ波)を照射するように構成されており、この実施形態における照射アンテナ21は、図3、図4に示すように導出部11A側に向かって延在する複数のアンテナエレメント群から構成され、多点計測が可能な多点式のアンテナとされている。具体的には複数のアンテナエレメントがその延在する方向と直交する面においてマトリックス状に配置されており、このマトリックスは四角錐状の溶融空間11の稜線をカバーするようになっている。なお、図3において斜線を付した部分は、導出部11Aの稜線部に堆積した堆積物を概念的に示している。
また、照射アンテナ21、受信アンテナ23は、耐火煉瓦の炉壁の外に配置されていることが望ましいが、目的物である高濃度の白金族類含有ガラス等の堆積物に信号が到達するまでの電磁波の減衰、散乱を考慮して炉壁に埋め込み堆積物に近づけてもよい。
また、照射アンテナ21を構成するそれぞれのアンテナエレメントは、マトリックスの配列に従って検出部25から順番に給電可能とされており、電磁波を順次照射するようになっている。なお、電磁波の照射順序については、受信した電磁波とマトリックス配列と対応できれば任意に設定してもよい。
受信アンテナ(受信部)23は、堆積物等において反射する反射波を受信する反射波アンテナ23Aと、導出部11Aを透過した電磁波を受信する透過波アンテナ23Bとを備えており、この実施形態において反射波アンテナ23Aは照射アンテナ21と同じ側に配置されている。
温度センサ24は、照射アンテナ21のマトリックスに対応して複数配置されており、配置する位置は温度センサ24で測定した溶融ガラスGの温度と受信アンテナ23で受信した電磁波の信号強度とともに白金族類濃度を算出した場合に、その誤差が許容範囲内になるように構成されている。
検出部25は、照射回路26、反射波受信回路27、透過波受信回路28、温度検出回路29を備え、照射回路26、反射波受信回路27、透過波受信回路28は、それぞれ照射アンテナ21、反射波アンテナ23A、透過波アンテナ23Bに接続され、温度検出回路29は温度センサ24に接続されている。
照射回路26は、照射アンテナ21のそれぞれのアンテナエレメントとスイッチング回路を介して接続されており、信号処理部30の出力部35からの出力信号によって対象となるアンテナエレメントに給電して電磁波を出力するように構成されている。
反射波受信回路27は、反射波アンテナ23Aが受信した反射波を電圧信号に変換して反射波信号として信号処理部30に出力するように構成されている。
また、透過波受信回路28は、透過波アンテナ23Bが受信した透過波を電圧信号に変換して透過波信号として信号処理部30に出力するように構成されている。
また、温度検出回路29は温度センサ24が検出した温度測定信号を信号処理部30に出力するようになっている。
信号処理部30は、図2に示すように、入力部(入力手段)31と、メモリ32と、演算部33と、ハードディスク装置34と、出力部35と、これら相互のデータ等を通信するための通信線37とを備え、ハードディスク装置34にはデータベース34Aが格納されている。
入力部31は、例えば、図示しないキーボード等のデータ入力機器を有して演算部33に設定等を出力するとともに、反射波受信回路27、透過波受信回路28、温度検出回路29に接続され、これらが出力した反射波信号、透過波信号、及び温度測定信号を演算部33に出力するようになっている。
演算部33は、例えば、メモリ32のROMに格納されたプログラムを読み込んでプログラムを実行することにより、電磁波を照射する対象のアンテナエレメントに出力部35を介して順次給電する指示を照射回路26に出力し、入力部31から入力された反射波信号、透過波信号、及び温度測定信号をデータベース34Aを参照し、マトリックスのアンテナエレメントに対応する位置の白金族類濃度wを算出し、算出した白金族類濃度wをマトリックスに対応させてメモリ32に格納するようになっている。また、メモリ32に格納した白金族類濃度wをマトリックスに対応させて出力部35に出力するようになっている。
この実施形態において、算出した白金族類濃度wは閾値に基づいて二値化するようになっている。なお、二値化に代えて、白金族類濃度wを量子化して濃淡により表示してもよい。
データベース34Aは、例えば、図5に示すような白金族類濃度w(wt%)と受信アンテナ23から入力される信号強度Sとの相関を、溶融ガラス温度T1をパラメータとして表示したグラフを数値テーブル化して構成されており、演算部33が信号強度S及び溶融ガラスGの温度T1を参照して白金族類濃度(wt%)を算出可能とされている。
また、データベース34Aは、図6に示すような白金族類濃度w(wt%)と導電率σ(1/Ωm)とが溶融ガラス温度(T1、T2、T3)をパラメータとして一定の相関関係を有することに基づいている。
なお、図6に示すグラフに代えて、誘電率、誘電損失が溶融ガラスGの温度によって変化することに基づき、これらと信号強度Sとの相関に基づいて白金族類濃度(wt%)を算出するデータベースを構成してもよい。
次に、図7を参照して、信号処理部30が白金族類濃度wをマトリックスに対応させて表示する手順について説明する。
図7は、導出部11Aにおける白金族類濃度をマトリックスに従ってマッピングするためのプログラムの一例を示すフロー図である。
1)まず、演算部33は、照射対象のアンテナエレメントを選択する。(S1)
2)次に、演算部33は、照射回路に電磁波を照射する指示をする。(S2)
この指示によって、照射回路26の照射対象となるアンテナエレメントのスイッチング回路がONになりアンテナエレメントから電磁波が照射される。
3)電磁波が照射されたら、反射波受信アンテナ23A及び透過波受信アンテナ23Bが電磁波を受信し、受信した反射波信号及び透過波信号は、反射波受信回路27及び透過波受信回路を介して入力部31に入力される。
また、マトリックス上の対応する位置(領域)の温度センサ24が検出した温度測定信号が温度検出回路29を介して入力部31に入力される。
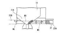
図8は、照射アンテナ21による電磁波の照射、受信アンテナ23による電磁波の受信の一例を示す概念図であり、符号M1は照射した電磁波を、符号Mrは反射した電磁波を、符号Mtは透過波を示している。なお、図8において斜線を付した部分は、導出部11Aに堆積した堆積物を示している。
4)演算部33は、反射波受信回路27及び透過波受信回路を介して取得した反射波信号及び透過波信号をメモリ32に格納された基準データと比較し、比較した結果が許容範囲内で正常時との変化(差異)がない場合にはS8に移行し、比較結果が許容範囲を超えていて正常時に対して変化がある場合にはS5に移行する。(S4)
5)S8に移行した場合には照射するアンテナエレメントを変更する。(S8)
アンテナエレメントを変更したら照射対象のアンテナエレメントを選択(S1)する。
6)S5に移行した場合には、演算部33は入力部31から取得した反射波信号及び透過波信号の信号強度S、温度測定信号をデータベース34Aを参照してマトリックスの対応する位置の白金族類濃度w(wt%)を算出する。(S5)
なお、反射波が戻る時間Δtに基づいて堆積物までの距離を算出して堆積物の厚さを特定してもよい。
7)演算部33は、マトリックス上の位置と白金族類濃度w(wt%)を対応させてメモリ32に格納する。
8)マトリックス上のすべての位置に対する照射が終了している場合には、マッピングが完了したものと判断してプログラムを終了し、マトリックス上に電磁波を照射していない位置がある場合にはマトリックス上の残余の位置における堆積物の堆積状況を把握するために照射アンテナエレメントを変更するためにS8に移行する。(S7)
9)演算部33は、マトリックス上のすべての位置に対する電磁波の照射が完了するまでプログラムを繰り返し実行する。
10)演算部33は、プログラムの実行を終了したら、メモリ32のデータに基づいて出力部35を介して表示部40に出力して、白金族類濃度w(wt%)の濃度分布を2値(例えば、白黒)表示して可視化する。
図9は、検出した白金族類濃度w(wt%)をCRT等の表示部40に表示した場合の一例を示す図であり、網かけ部分は堆積物が閾値以上であることを示している。
図9(A)は、堆積物が堆積していない正常時のマトリックスを、(B)は高濃度金属粒子が蓄積する初期を、(C)は堆積物が堆積して高濃度に蓄積されていてメンテナンスが必要とされる短絡直前の状態を示している。
ガラス溶融炉1によれば、照射アンテナ21が、溶融空間11の導出部において堆積物が堆積しやすい稜線を含む領域をカバーしているので堆積物の堆積を効率的に把握することができる。
また、ガラス溶融炉1によれば、堆積物の濃度分布を可視化できるので、例えば、堆積物の濃度分布に偏りが生じて堆積物が部分的な凸部を有して堆積した場合でも効率的に把握することができる。また、堆積物の濃度を把握することで堆積物による影響の程度を把握することができる。
ガラス溶融炉1によれば、白金族類濃度w(wt%)を効率的に算出することができる。
また、受信した電磁波の信号強度Sと、溶融ガラスGの温度T1とをデータベース34Aに参照して算出するので白金族類濃度w(wt%)を容易に算出することができる。
また、ガラス溶融炉1の運転開始時の正常な状態から炉内状況を監視して高濃度白金族類が通電電極間にまたがって堆積する状態となった場合に回復操作(堆種物除去や洗浄運転など)を効率的に行うことができる。
また、図9に示すように白金族類濃度w(wt%)の分布を表示して可視化することができるので、白金族類の堆積状況を効率的かつ的確に把握して、ガラス溶融炉1を効率的に操業して運転コスト及びメンテナンスコストを削減することができる。
また、流下ノズル19に電磁波を照射した場合、流下する溶融ガラスGの白金族類濃度wをガラス溶融炉を運転しながら効率的に把握することができる。
また、最適な運転条件を決めるためのモックアップ試験では、通電電流量や温度分布と白金族類堆積との相関をとることで、効率よく最適な運転条件を確立することができる。
なお、この発明は上記実施の形態に限定されるものではなく、発明の趣旨を逸脱しない範囲において、種々の変更をすることが可能である。
例えば、上記実施の形態においては、堆積物がガラス溶融炉内に堆積する白金族類を含有する溶融ガラスGによる場合について説明したが、電磁波の反射、透過、吸収特性が異なる物質であれば、他の堆積物を対象として本発明を適用してもよい。
また、ガラス溶融炉1が溶融ガラスGと白金族類を含有する放射性廃液とを混合する場合について説明したが、例えば、溶融ガラスGと、溶融ガラスGと混合した場合に電磁波による検出が可能な白金族類以外の物質を溶融ガラスGと混合する場合にも適用することもできる。
また、上記実施の形態においては、検出した受信波を信号処理部30で可視化する場合について説明したが、例えば、反射波の信号レベルが所定値以上であることを以って堆積物の堆積を把握するだけの構成としてもよい。
また、上記実施の形態においては、堆積物の堆積状況をデータベース34Aに格納されたデータと照合して算出する場合について説明したが、予め堆積状況と反射波の相関関係から求めた回帰式等により算出する構成としてもよい。
また、マトリックス状に配置したアンテナエレメント群に代えて溶融空間11に対して電磁波を走査して照射することにより白金族類濃度wの分布状態を表示するようにしてもよい。
また、上記実施の形態においては、受信アンテナ23が反射波受信アンテナ23Aと、透過波受信アンテナ23Bとを備える場合について説明したが、受信アンテナ23を反射波アンテナ23Aと透過波アンテナ23Bのいずれか一方により構成してもよい。
また、上記実施の形態においては、照射アンテナ21及び反射波アンテナ23A、透過波アンテナ23Bをガラス溶融炉本体10の側方に配置する場合について説明したが、これらの配置する位置をガラス溶融炉本体10の上方や下方としてもよい。
また、上記実施の形態においては、溶融空間11の下部が上方から下方に向かうに従って断面積が縮小する四角錐状空間である場合について説明したが、例えば、三角錐、五角錐等の多角錘の他、円錐に形成されていてもよい。
上記実施の形態においては、反射波の戻ってくる時間ΔT、信号強度Sから堆積物の位置や濃度を算出する場合について説明したが、反射波、透過波、これらを比較することにより取得可能な信号から、堆積物に関する濃度以外の物理量を取得する構成としてもよい。
また、上記実施の形態においては、マトリックス状に配置されたアンテナエレメント群を用いて堆積物を検出する場合について説明したが、電磁波の照射対象を、一点とするか、多点とするか、所定の面積を有する範囲とするかについては任意に設定可能である。また、走査式の単体アンテナを用いてもよい。
また、上記実施の形態においては、突出して形成された複数のアンテナエレメントがマトリックス状に配置された照射アンテナ21を用いる場合について説明したが、例えば、ホーンアンテナ等の他の種類のアンテナを用いてもよい。
上記実施の形態においては、耐火煉瓦がAl+Crにより形成され、耐火煉瓦と耐火煉瓦との間にホウ珪酸ガラスからなる接合材が充填されている場合について説明したが、耐火煉瓦及び接合材については耐熱性、電気絶縁性を有し電磁波が通過な物質であれば上記以外の物質を用いてもよい。
また、上記実施の形態においては、ガラス溶融炉1が、一対の主電極16と、一対の補助電極17と、一つの底部電極18を備えた場合について説明したが、例えば、主電極16のみを備えた構成、主電極16と補助電極17のみを備えた構成等、電極の構成については任意に設定可能である。
また、電極間に流す電流に関しては、交流電流、直流電流のいずれを流す構成としてもよい。
本発明の一実施形態に係るガラス溶融炉の概略を示す縦断面図である。 本発明の一実施形態に係る堆積物検出装置の概略構成を示す図である。 本発明の一実施形態に係るガラス溶融炉の要部を平面視した概略図である。 本発明の一実施形態に係るガラス溶融炉の要部を側面視した縦断面図である。 一実施形態に係るデータベースの概略構成を示す図である。 一実施形態に係るデータベースの原理の概略を示す図である。 本発明の一実施形態に係る堆積物検出装置の信号処理部の概略動作をフロー図である。 一実施形態に係る堆積物検出装置による電磁波の照射、受信の状況を説明する概念図である。 一実施形態に係る堆積物検出装置の表示部による表示例を示す図である。
符号の説明
G 溶融ガラスG
1 ガラス溶融炉
10 溶融炉本体
11 溶融空間
11A 導出部
16 主電極
17 補助電極
18 底部電極
20 堆積物検出装置
21 照射アンテナ(照射部)
23 受信アンテナ(受信部)
23A 反射波受信アンテナ(受信部)
23B 透過波受信アンテナ(受信部)
24 温度センサ
25 検出部
30 信号処理部
31 入力部
33 演算部
34A データベース
35 出力部
40 表示部

Claims (3)

  1. 耐火煉瓦により形成された溶融空間に溶融ガラスが貯留可能とされ、該貯留した前記溶融ガラスを前記溶融空間下部の導出部に接続された流下ノズルから排出するように構成されたガラス溶融炉であって、
    前記溶融空間に電磁波を照射可能とされる照射部と、
    前記照射部が照射した電磁波を受信する受信部と、
    前記照射部に給電するとともに前記受信部が受信した電磁波を検出する検出部と、を有し、
    前記照射部から照射した電磁波を前記受信部で受信し、前記検出部で前記受信した電磁波に基づいて前記溶融空間の堆積物を検出する堆積物検出手段を備えることを特徴とするガラス溶融炉。
  2. 請求項1に記載のガラス溶融炉であって、
    前記照射部は、前記溶融空間の側方に配置され、
    前記受信部は、
    前記溶融空間に対して前記照射部と同じ側と反対側の少なくともいずれかの側方に配置されることを特徴とするガラス溶融炉。
  3. 耐火煉瓦により形成された溶融空間に溶融ガラスが貯留可能とされ、該貯留した前記溶融ガラスを前記溶融空間下部の導出部に接続された流下ノズルから排出するように構成されたガラス溶融炉おける堆積物検出方法であって、
    前記溶融空間に照射部から電磁波を送信する工程と、
    前記照射された電磁波を受信部で受信する工程と、
    該受信した電磁波を検出部で信号に変換して前記堆積物を検出する工程と、を備えることを特徴とする堆積物検出方法。
JP2008321289A 2008-12-17 2008-12-17 ガラス溶融炉及び堆積物検出方法 Pending JP2010143780A (ja)

Priority Applications (1)

Application Number Priority Date Filing Date Title
JP2008321289A JP2010143780A (ja) 2008-12-17 2008-12-17 ガラス溶融炉及び堆積物検出方法

Applications Claiming Priority (1)

Application Number Priority Date Filing Date Title
JP2008321289A JP2010143780A (ja) 2008-12-17 2008-12-17 ガラス溶融炉及び堆積物検出方法

Related Child Applications (1)

Application Number Title Priority Date Filing Date
JP2014101670A Division JP5765466B2 (ja) 2014-05-15 2014-05-15 ガラス溶融炉

Publications (1)

Publication Number Publication Date
JP2010143780A true JP2010143780A (ja) 2010-07-01

Family

ID=42564600

Family Applications (1)

Application Number Title Priority Date Filing Date
JP2008321289A Pending JP2010143780A (ja) 2008-12-17 2008-12-17 ガラス溶融炉及び堆積物検出方法

Country Status (1)

Country Link
JP (1) JP2010143780A (ja)

Citations (7)

* Cited by examiner, † Cited by third party
Publication number Priority date Publication date Assignee Title
JPS61290378A (ja) * 1985-06-17 1986-12-20 Ishikawajima Harima Heavy Ind Co Ltd 竪型炉内の堆積量測定装置
JPS625210U (ja) * 1985-06-25 1987-01-13
JPS6352795U (ja) * 1986-09-24 1988-04-09
JP2001255137A (ja) * 2000-03-13 2001-09-21 Ishikawajima Harima Heavy Ind Co Ltd ガラス溶融炉の寿命検査装置
JP2002071891A (ja) * 2000-08-30 2002-03-12 Ishikawajima Harima Heavy Ind Co Ltd ガラス溶融炉内抵抗測定器
JP2002236197A (ja) * 2001-02-08 2002-08-23 Ishikawajima Harima Heavy Ind Co Ltd ガラス溶融炉撹拌装置
JP2005300218A (ja) * 2004-04-07 2005-10-27 Jfe Engineering Kk 高温縦型反応炉の装入物の堆積レベル検知方法及び装置

Patent Citations (7)

* Cited by examiner, † Cited by third party
Publication number Priority date Publication date Assignee Title
JPS61290378A (ja) * 1985-06-17 1986-12-20 Ishikawajima Harima Heavy Ind Co Ltd 竪型炉内の堆積量測定装置
JPS625210U (ja) * 1985-06-25 1987-01-13
JPS6352795U (ja) * 1986-09-24 1988-04-09
JP2001255137A (ja) * 2000-03-13 2001-09-21 Ishikawajima Harima Heavy Ind Co Ltd ガラス溶融炉の寿命検査装置
JP2002071891A (ja) * 2000-08-30 2002-03-12 Ishikawajima Harima Heavy Ind Co Ltd ガラス溶融炉内抵抗測定器
JP2002236197A (ja) * 2001-02-08 2002-08-23 Ishikawajima Harima Heavy Ind Co Ltd ガラス溶融炉撹拌装置
JP2005300218A (ja) * 2004-04-07 2005-10-27 Jfe Engineering Kk 高温縦型反応炉の装入物の堆積レベル検知方法及び装置

Similar Documents

Publication Publication Date Title
JP6419042B2 (ja) X線発生装置及びx線検査装置
CN201782576U (zh) 一种双重防干烧的电水壶
JP5765466B2 (ja) ガラス溶融炉
CN104750140B (zh) 反应腔加热控制方法及装置
CN106156421B (zh) 基于脉冲涡流热成像的电子封装焊点热疲劳寿命预测方法
CN109708751A (zh) 光敏传感器检测修正方法、装置及空调器
KR20130116279A (ko) 가열 장치
CN104111227A (zh) 电热水器内胆水质的检测装置和检测方法
KR101625526B1 (ko) 적외선 광온도센서가 마련된 전기포트
KR20110055377A (ko) 히터에 인가되는 펄스의 개수를 제어하는 온수공급장치 및 온수공급방법
CN111060556B (zh) 水垢检测方法、水垢检测设备和计算机可读存储介质
JP2010143780A (ja) ガラス溶融炉及び堆積物検出方法
CN106595035A (zh) 热水器及其清洗控制方法
JP4630976B2 (ja) ガラス溶融炉
CN101449624A (zh) 用于加热液体的装置
JP6382609B2 (ja) 液面レベル計測システム及び方法
KR102201063B1 (ko) 히터 온도 변화를 이용한 히터 이상 여부 판단 장치 및 그 방법
JP6958253B2 (ja) 電気ボイラ
US12092598B2 (en) Heating device state monitoring method and state monitoring system
KR102175190B1 (ko) 전력 사용량을 이용한 히터 이상 여부 판단 장치 및 그 방법
WO2016012799A1 (en) Apparatus for determining thickness of lining layer
US20110255847A1 (en) Rapid heat treatment apparatus that enables extended pyrometer life
JP5252354B2 (ja) スケール検知用センサ及びスケール検知方法
JP4285502B2 (ja) 誘導加熱調理器
KR20180066261A (ko) 용융로에서 전극의 길이 결정

Legal Events

Date Code Title Description
A621 Written request for application examination

Effective date: 20111026

Free format text: JAPANESE INTERMEDIATE CODE: A621

A977 Report on retrieval

Free format text: JAPANESE INTERMEDIATE CODE: A971007

Effective date: 20130313

A131 Notification of reasons for refusal

Free format text: JAPANESE INTERMEDIATE CODE: A131

Effective date: 20130416

A521 Written amendment

Free format text: JAPANESE INTERMEDIATE CODE: A523

Effective date: 20130617

A131 Notification of reasons for refusal

Effective date: 20140318

Free format text: JAPANESE INTERMEDIATE CODE: A131

A02 Decision of refusal

Free format text: JAPANESE INTERMEDIATE CODE: A02

Effective date: 20140708