JP2010141978A - 推力発生機構 - Google Patents

推力発生機構 Download PDF

Info

Publication number
JP2010141978A
JP2010141978A JP2008313846A JP2008313846A JP2010141978A JP 2010141978 A JP2010141978 A JP 2010141978A JP 2008313846 A JP2008313846 A JP 2008313846A JP 2008313846 A JP2008313846 A JP 2008313846A JP 2010141978 A JP2010141978 A JP 2010141978A
Authority
JP
Japan
Prior art keywords
armature
magnetic pole
generating mechanism
thrust generating
permanent magnet
Prior art date
Legal status (The legal status is an assumption and is not a legal conclusion. Google has not performed a legal analysis and makes no representation as to the accuracy of the status listed.)
Pending
Application number
JP2008313846A
Other languages
English (en)
Inventor
Yasuaki Aoyama
康明 青山
Current Assignee (The listed assignees may be inaccurate. Google has not performed a legal analysis and makes no representation or warranty as to the accuracy of the list.)
Hitachi Ltd
Original Assignee
Hitachi Ltd
Priority date (The priority date is an assumption and is not a legal conclusion. Google has not performed a legal analysis and makes no representation as to the accuracy of the date listed.)
Filing date
Publication date
Application filed by Hitachi Ltd filed Critical Hitachi Ltd
Priority to JP2008313846A priority Critical patent/JP2010141978A/ja
Priority to CN200980149538.6A priority patent/CN102246401B/zh
Priority to US13/133,966 priority patent/US9000626B2/en
Priority to PCT/JP2009/070667 priority patent/WO2010067837A1/ja
Publication of JP2010141978A publication Critical patent/JP2010141978A/ja
Pending legal-status Critical Current

Links

Images

Landscapes

  • Linear Motors (AREA)

Abstract

【課題】
電機子と可動子の間に働く磁気吸引力が相殺されることにより小さく、漏れ磁束が小さい、小形軽量の推力発生機構を提供することにある。
【解決手段】
推力発生機構は、可動子に配置された永久磁石を挟み込み保持するように配置された磁極歯と、磁石を挟み込み保持する磁極歯を連続につなぐコアと、複数のコアにまとめて巻きまわされた電機子巻線と、磁石の磁極を表裏交互に並べた可動子からなり、永久磁石を挟み込み保持するように配置された磁極歯と、磁石を保持する磁極歯を連続につなぐコアを有した電機子鉄心は可動子の長手方向に沿って複数個配置されており、複数個の電機子鉄心に共通の巻線を配置している。複数個配置された電機子鉄心によって発生する磁束が同じ方向であることにより、漏れ磁束低減および小型化が可能である。
【選択図】図1

Description

本発明は、推力を発生する構成に関し、磁束の方向を同一方向にすることにより、漏れ磁束を低減した、高効率な推力発生機構に関する。
従来の推力発生機構を有するリニアモータは、回転機を切り開いた形状をしており、磁石列からなる可動子と電機子との間に大きな吸引力が働く。磁気吸引力を相殺するために第一極性と第二極性の有する磁極を交互に配置したリニアモータが〔特許文献1〕で公開されている。従来の技術は、〔特許文献1〕記載の図1に示すように電機子鉄心に同一の電機子巻線を配置し、電機子巻線に電流を流すことにより発生した磁束が磁極を介し、磁石の下側と上側の磁極および同じ方向の磁極が発生する。それに対し、隣の磁極には逆向きの磁極が発生する。これによりギャップに交互の磁極が、電機子巻線一つで発生させることができる。ギャップに、永久磁石の磁極が交互になるように配置すれば、電機子巻線へ電流を流すことにより、永久磁石に力が作用する。
特開2001−028875号公報
しかし、従来の技術では、電機子巻線で交互の磁極を発生させるため、磁極および電機子鉄心を介すため、電機子巻線で発生させた磁束の経路が長くなり、磁気的な効率が低下し、さらには経路の長さに比例して重量が重くなる欠点があった。
また、隣り合う磁極は、異なる極性もつ磁極であるため、ギャップ方向への磁束と、磁極間で磁束が発生する。隣り合う磁極間の磁束は磁石へ鎖交しない磁束となるため力に寄与しない無駄な磁束となる。従って、磁気回路の磁気利用効率が低い欠点がある。さらに、隣り合う磁極で逆方向の磁束を発生させるため、電機子鉄心を複雑にし、かつ、磁石対向部から離れた位置に電機子巻線を配置する必要がある。
本発明はこれらの欠点を解決するためになされたものであり、高推力の力を発生できる構造を提供することを目的とする。
上記課題を達成するために、本発明は電機子鉄心と巻線からなる電機子と、永久磁石を有する可動子とが相対的に移動可能である推力発生機構であって、前記電機子鉄心は永久磁石の磁極側に空隙を介して対向配置された磁極歯と、該磁極歯をつなぐコアを備え、かつ、前記電機子鉄心を複数個有し、複数個の前記電機子鉄心は同じ極性を有することを特徴とするものである。
また、上記課題を達成するために、本発明は電機子鉄心と巻線からなる電機子と、永久磁石を有する可動子とが相対的に移動可能である推力発生機構であって、複数個の前記電機子鉄心と、前記電機子鉄心は永久磁石の磁極側に空隙を介して対向配置された磁極歯と、該磁極歯をつなぐコアを備え、可動子の磁極ピッチPに対して、複数個の電機子鉄心のピッチを2nP(nは整数、n=1,2,3・・・)として、複数個の前記電機子鉄心が同じ極性をすることを特徴とするものである。
また、上記課題を達成するために、本発明は電機子鉄心と巻線からなる電機子と、永久磁石を有する可動子とが相対的に移動可能である推力発生機構であって、複数個の前記電機子鉄心を備え、前記電機子鉄心は永久磁石の磁極側に空隙を介して対向配置された磁極歯と、該磁極歯をつなぐコアを備え、可動子の磁極ピッチPに対して、複数個の電機子鉄心のピッチを2nP±P/2m(nは整数、n=1,2,3・・・、Mは相の数M=1,2,3・・・)として、複数個の前記電機子鉄心が同じ極性を有することを特徴とするものである。
また、上記課題を達成するために、本発明は電機子鉄心と巻線からなる電機子と、永久磁石を有する可動子とが相対的に移動可能である推力発生機構であって、前記電機子鉄心は永久磁石の磁極側に空隙を介して対向配置された磁極歯と、該磁極歯をつなぐコアを備え、かつ、前記電機子鉄心を複数個有し、隣り合う前記電機子鉄心の磁束の方向が同方向であることを特徴とするものである。
また、上記課題を達成するために、本発明は電機子鉄心と巻線からなる電機子と、永久磁石を有する可動子とが相対的に移動可能である推力発生機構であって、前記電機子鉄心が永久磁石の磁極側に空隙を介して対向配置された磁極歯と、該磁極歯をつなぐコアを備え、かつ、前記電機子鉄心を複数個有し、複数個の前記電機子鉄心は同じ極性を有し、可動子の磁極ピッチPに対して、前記電機子鉄心の、可動子長手方向の厚さtがP≦tであり、複数個の前記電機子鉄心が同じ極性を有することを特徴とするものである。
また、上記課題を達成するために、本発明は電機子鉄心と巻線からなる電機子と、永久磁石を有する可動子とが相対的に移動可能である推力発生機構であって、前記電機子鉄心は永久磁石の磁極側に空隙を介して対向配置された磁極歯と、該磁極歯をつなぐコアを備え、かつ、前記電機子鉄心を複数個有し、可動子の磁極ピッチPに対して2Pの範囲の空隙に、任意の巻線電流に対して前記対向配置されたコアが前記空隙に同一方向の磁束を発生することを特徴とするものである。
また、上記課題を達成するために、本発明は電機子鉄心と巻線からなる電機子と、永久磁石を有する可動子とが相対的に移動可能である推力発生機構であって、前記電機子鉄心は永久磁石の磁極側に空隙を介して対向配置された磁極歯と、前記磁極歯をつなぐコアを備え、任意の巻線電流において、前記空隙に対して複数個の前記電機子鉄心が同じ同一方向の磁束を発生させることを特徴とするものである。
また、上記課題を達成するために、本発明は電機子鉄心と巻線からなる電機子と、永久磁石を有する可動子とが相対的に移動可能である推力発生機構であって、前記電機子鉄心は永久磁石の磁極側に空隙を介して対向配置された磁極歯と、該磁極歯をつなぐコアを備え、磁極ピッチPに対して2つの極性を有する磁石列に対し、任意の巻線電流に対して前記電機子が空隙に発生する極性が1極性であることを特徴とするものである。
更に、本発明の推力発生機構は、複数個の前記電機子鉄心に共通の巻線を捲いたことを特徴とするものである。
更に、本発明の推力発生機構は、永久磁石の磁極側の両側に対向配置された前記磁極歯に電機子巻線を配置したことを特徴とするものである。
更に、本発明の推力発生機構は、永久磁石の磁極側の両側に対向配置された前記磁極歯を磁石に向かって先細り形状にしたことを特徴とするものである。
更に、本発明の推力発生機構は、永久磁石の磁極側の両側に対向配置された磁極歯の磁石対向面を切り取った形状にしたことを特徴とするものである。
更に、本発明の推力発生機構は、複数個の電機子からなるユニットを1相とし、複数個の相を有する推力発生機構であって、磁極のピッチPに対して、複数個の隣り合う前記電機子からなる相の、各相間のピッチを(kP+P/M)(k=0,1,2,3・・・、Mは相の数M=1,2,3・・・)とすることを特徴とするものである。
更に、本発明は前述の推力発生機構を有するリニアモータを提供することにある。
本発明によれば、漏れ磁束を低減した、高効率な推力発生機構を提供することが実現できる。
また、本発明によれば、高効率な推力発生機構を用いたリニアモータを提供することも実現できる。
〔発明の実施の形態1〕
以下、本発明の実施の形態について図面を用いて説明する。
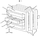
図1は、本発明の実施の一形態による推力発生機構である。また、その推力発生機構のYZ面の断面図を図2に、XY面の断面図を図3に示す。図1から図3において、電機子鉄心ユニット100は、磁石に対向した上側の磁極歯11と、磁石に対向した下側の磁極歯12と、上側の磁極歯11と下側の磁極歯12とをつなぐ電機子鉄心1で構成されている。上側の磁極歯11と下側の磁極歯12は空隙4を介して対向配置されており、空隙4には磁石列3が挿入されている。磁石列3は、矩形の磁石をピッチPで、磁極歯に対向する面を磁極面とし、磁極が隣り合う磁石で交互になるように配置されている。また、電機子鉄心ユニット100と同一形状の電機子鉄心を、磁石のピッチPに対して、電機子鉄心ユニット100とのピッチが2Pとなるように配置されている。
電機子ユニット200は、複数個の電機子鉄心ユニット100に共通となるように電機子巻線2を配置した構成となる。また、電機子ユニットは複数個の電機子鉄心に同一に電機子巻線を施したもので,電機子鉄心の個数は問わず、それら全体に対して電機子巻線を巻き回す構成が可能である。
以上の構成において、電機子巻線2に電流を供給すると、空隙4に磁束が発生する。この磁束と磁石の磁束の相互作用において磁石列に力が発生する。電機子鉄心の磁束は図4に示すようになる。これに対して、隣り合う電機子鉄心にも同様の方向に磁束が発生する。このとき、隣り合う電機子鉄心の磁束の方向が略同一であるので、電機子鉄心間の漏れ磁束が小さくできる。
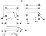
さらに、複数個の電機子鉄心の磁束の方向が略同一であるため、電機子鉄心の場所を問わず、電機子巻線を配置できる。電機子巻線の配置例を図5に示す。電機子巻線の位置が限定されないため、電機子巻線の配置に対して自由度が向上する。したがって、可動子の支持機構や冷却構造が必要な場合にも、電機子巻線の位置に影響を受けずに、可動子の支持機構や冷却構造を配置できる。また、図5(a)に示すように、磁極歯の磁束の方向も同一であるため、磁石の対向する部分に電機子巻線を配置でき、磁束利用率の良い磁気回路構成が可能となる。
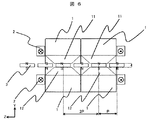
図6に示すように電機子鉄心どうしの極性が略同一であるため、電子機鉄心の間隔を狭めることが可能である。その場合は上側の磁極歯11と下側の磁極歯12を磁石に向かって細めることにより推力が発生できる。複数個の電機子鉄心のピッチは、図6では、2Pとしたが、2nPとしても良い。また、電機子間の間隔を無くした場合も、複数個の電機子鉄心の磁束の方向が同一方向であるので、同様の効果が得られる。
また、電機子鉄心は鋼板を積層して製作することもできる。積層鋼板で構成した電機子鉄心を図7(a)に示す。図7(a)のYZ面の断面図を図7(b)に示す。先端の形状を変えることにより、発生する力の特性を変えることが可能である。先端形状を変えた一例を図7(c)に示す。
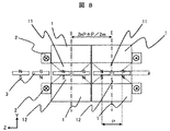
また、図8に示すように、磁極のピッチを2nP±P/2mとした場合、±P/2mの範囲でピッチをずらすことにより、力(トルク)の脈動成分を小さくすることが可能である。この場合にも、図1に示した場合と同様の効果が得られる。
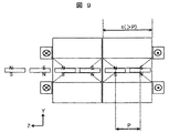
本発明の推力発生機構では、複数個の電機子鉄心の磁束の方向が略同一であり、隣り合う電機子鉄心間の距離を小さく出来る。磁石ピッチPに対して、電機子鉄心のピッチを2Pとした場合、電機子鉄心の厚さtは0<t<=2Pとする事が可能である。このとき、磁石に対向する磁極歯を磁石に向かって先細りの形状にすることにより、磁束を集中させることが可能になり、より大きな力が得られる。磁極歯の形状例を図9に示す。さらに、先細りの形状にすることで磁束の脈動を低減できるため、推力の脈動も小さくすることが可能である。
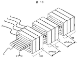
本発明の電機子ユニットを直列または並列に配置して構成した推力発生装置を説明する。図10は、電機子鉄心1を3個並列に並べた電機子鉄心ユニット100に電機子巻線2を磁石に対向するコアに設置したものである。図11はこの断面図を示す。
電機子鉄心ユニット100と電機子ユニット101の位置関係は、電機子鉄心ユニット100と電機子ユニット101の隣り合うコアの間隔は(kP+P/M)(k=0,1,2,3・・・、M=1,2,3,・・・)の間隔で配置される。図10に示した実施の形態は、3ユニットで1構成とした3相構成での場合を示す。各相のユニットは隣り合う電機子の間隔が(kP+P/M)となる。
尚、図10および図11に示した、電機子鉄心ユニット100と電機子ユニット101の間隔を(kP+2P/M)(k=0,1,2,3・・・、M=1,2,3,・・・)としても、本発明の電機子ユニットは構成可能である。
〔発明の実施の形態2〕
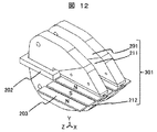
本発明の第二の実施形態を図12以降に示す。
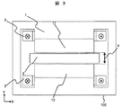
本発明は磁石の上下の面に対向して、磁極歯を配置し、上下の磁極歯をつなぐコアを有する構造である。永久磁石203は、上側の磁極歯211と下側の磁極歯212に空隙を隔てて挟み込まれている。上側の磁極歯211と下側の磁極歯212と鉄心201によって磁束の経路が構成される。鉄心201と上側磁極歯211と下側磁極歯212で構成される電機子鉄心301は複数個並べられる。複数個の電機子鉄心に共通の巻線202を配置する。図12に示す電機子鉄心は、2個であるが電機子鉄心が増えても同様に構成できる。そして、図12全体で電機子ユニットを構成する。
電機子鉄心の磁束の方向が略同一であるので、複数個の電機子鉄心間に補助鉄心を挿入することも可能である。その形状説明図を図13に示す。鉄心201と上側磁極歯211と下側磁極歯212で構成された電機子鉄心301を複数個並べ、複数個の電機子鉄心の間に補助鉄心204を挿入している。このようにすることで、磁束の経路となる鉄心の断面積を広くすることが可能である。
上側の磁極歯と下側の磁極歯を磁石に向かって細くなるように構成すれば、図14に示すように、発生する力の脈動を低減できる。また、磁石を磁極歯に対して斜めにすることでさらに脈動を低減できる。
上側の磁極歯と下側の磁極歯を磁石に向かって細くなるように構成した場合、図15に示すように、電機子鉄心の間隔を狭く、または接触した状態で構成でき小型化が可能になる。
実施例2で示した構成では、磁石列の片側が電機子鉄心によっておおわれていないため、他の構造物を磁石列側面に配置できる特徴を有する。また、実施例1と同様に図12に示したような電機子ユニットを複数個配置し、(kP+P/M)または(kP+2P/M)(k=0,1,2,3・・・、M=1,2,3,・・・)の間隔とすることで、M相の電源で駆動するリニアモータが構成できる。
図16は本発明の他の実施例を示したものである。
図16は3つの電機子鉄芯で電機子ユニット構成し、電機子ユニット3つで3相のリニアモータを構成した例である。そして、磁石部の構造がわかるように相対移動方向の垂直断面でコイルの1辺を切り取った図である。本発明の実施形態として、可動子とした磁石列側を固定し、電機子ユニット側を動かす構成も可能である。
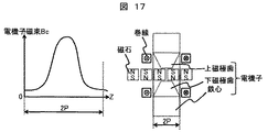
本発明の電機子鉄心に巻かれた巻線に電流を流した場合、電流値の変化に伴って電機子が空隙に作る電機子磁束が変化する。電機子に一定の直流電流を与えた場合、2Pの領域の空隙に発生する電機子磁束は1つの極性を有する。図17は巻線に一定の電流値を与えた瞬間の電機子磁束Bcの分布を示す。電機子の構成によっては2P領域の端の部分では電機子磁束が小さくなり、または逆向きになる場合もあるが、略一つの極性を有する特徴を有する。
次に、電機子鉄心に巻かれた巻線に電流を流した場合、磁石の作る磁束と電機子の作る磁束の分布について図18に示す。電機子鉄心2Pの空隙領域において、磁石は二つ存在する。電機子の巻線に電流を与えた場合の、ある電流値における空隙に発生する電機子磁束Bcは図18上側に示すように、1つの極性を有する。それに対して、磁石が空隙に作る磁束Bmは図18下に示すように、2つの極性を有する特徴がある。
さらに、複数個の電機子を並べた場合、電機子の巻線に直流電流を与えた場合、図19に示すような電機子磁束Bcの分布になる。複数個の電機子が空隙に発生する磁束は、略1つの極性を有することになる。
図17から図19に示した、これらの構成では、2つの極性を有する磁石との相互作用で力が発生する。何れの場合も、電機子が1つの極性のみを有するため、電機子同士の磁相の干渉を低減できる。電流の正負が入れ替わった場合は、電機子磁束の向きも入れ替わり逆の極性を有するが、その場合でも、略1つの極性を有することになる。
また、本発明の電機子ユニットは、磁石列に対して配置を変えることが可能である。巻線の占有範囲を効果的に配置するために、図20に示すように、各ユニットを磁石列に対して交互に配置することにより電機子ユニット間の空間を有効に利用できる。図20(a)はユニット配置例の斜視図を、図20(b)は上面図を示す。
電機子ユニットは、図21に示すように、磁石の面に沿って電機子鉄心を三角状にすることで、ユニット間の占有空間を小さくすることが可能である。図21(a)は、電機子鉄心を上面から見て三角状にした場合のユニット配置例の斜視図を、図21(b)はその上面図を示す。
また、図22のように、磁石列の両側から挟みこむ構造も可能である。両側から挟みこんだ構成の1例の斜視図を図22(a)に、上面図を図22(b)に示す。
図23に示すように、磁石の形状を丸型にし、可動子を軸状にして構成も可能である。さらに、磁石の配置は図24(a)および(b)に示すように、極と極を向かい合わせて配置したり、磁石の間隔を狭めて構成が可能である。
また、本発明の推力発生機構の実施形態としてリニアモータとして説明したが、電機子ユニットの巻線に交流電流を供給することにより、可動子が相対的な往復運動をする振動型リニアアクチュエータとしても利用可能である。
本発明の実施例は磁石を直線的に配置し、リニアモータとして説明を行ったが、磁石を円弧状に配列すれば、回転電機として駆動することも可能である。その際の磁石列の配置方法は、円盤状に配置もしくは円筒状に配置することも可能である。
また、上述した実施例では、同じ形状の電機子鉄心を組み合わせた構成を説明しているが、同様の機能を達成できるのであれば、同じ形状の電機子鉄心を用いないことも可能である。
また、上記に記述した実施例では複数個の電機子を個々に記載しているが、複数個の電機子を一体で構成しても同様の効果が得られる。
本発明の推力発生機構、又はリニアモータは、従来用いられてきた推力発生機構、又はリニアモータに代わって用いられることが可能である
本発明の実施の一形態による推力発生機構を示す。 図1の推力発生機構のYZ面の断面図を示す。 図1の推力発生機構のXY面の断面図を示す。 電機子鉄心の磁束を示す。 電機子巻線の配置例を示す。 電子機鉄心の間隔を狭めた例を示す。 積層鋼板で構成した電機子鉄心を示す。 磁極のピッチの変形例を示す。 磁極歯の形状例を示す。 電機子鉄心を3個並列に並べた電機子鉄心ユニットを示す。 図10の断面図を示す。 本発明の実施の一形態による他の推力発生機構の例を示す。 複数個の電機子鉄心間に補助鉄心を挿入した例を示す。 上側の磁極歯と下側の磁極歯を磁石に向かって細くなるように構成した例を示す。 電機子鉄心の間隔を狭くした例を示す。 本発明の他の実施例を示す。 電機子磁束の分布を示す。 磁石の作る磁束と電機子の作る磁束の分布を示す。 複数個の電機子を並べた場合の磁束の分布を示す。 電機子ユニットを交互に配置した例を示す。 電機子鉄心を三角状にした例を示す。 電機子鉄心が磁石列を両側から挟みこむ構造を示す。 磁石列を丸型にした構造を示す。 磁石の配置の変形例を示す。
符号の説明
1 電機子鉄心
3 磁石列
4 空隙
11,12 磁極歯
100 電機子鉄心ユニット
200 電機子ユニット

Claims (14)

  1. 電機子鉄心と巻線からなる電機子と、永久磁石を有する可動子とが相対的に移動可能である推力発生機構であって、
    前記電機子鉄心は永久磁石の磁極側に空隙を介して対向配置された磁極歯と、該磁極歯をつなぐコアを備え、
    かつ、前記電機子鉄心を複数個有し、複数個の前記電機子鉄心は同じ極性を有することを特徴とする推力発生機構。
  2. 電機子鉄心と巻線からなる電機子と、永久磁石を有する可動子とが相対的に移動可能である推力発生機構であって、
    複数個の前記電機子鉄心を備え、
    前記電機子鉄心は永久磁石の磁極側に空隙を介して対向配置された磁極歯と、該磁極歯をつなぐコアを備え、
    可動子の磁極ピッチPに対して、複数個の電機子鉄心のピッチを2nP(nは整数、n=1,2,3・・・)として、複数個の前記電機子鉄心が同じ極性をすることを特徴とする推力発生機構。
  3. 電機子鉄心と巻線からなる電機子と、永久磁石を有する可動子とが相対的に移動可能である推力発生機構であって、
    複数個の前記電機子鉄心を備え、
    前記電機子鉄心は永久磁石の磁極側に空隙を介して対向配置された磁極歯と、該磁極歯をつなぐコアを備え、
    可動子の磁極ピッチPに対して、複数個の電機子鉄心のピッチを2nP±P/2m(nは整数、n=1,2,3・・・、Mは相の数M=1,2,3・・・)として、
    複数個の前記電機子鉄心が同じ極性を有することを特徴とする推力発生機構。
  4. 電機子鉄心と巻線からなる電機子と、永久磁石を有する可動子とが相対的に移動可能である推力発生機構であって、
    前記電機子鉄心は永久磁石の磁極側に空隙を介して対向配置された磁極歯と、該磁極歯をつなぐコアを備え、
    かつ、前記電機子鉄心を複数個有し、隣り合う前記電機子鉄心の磁束の方向が同方向であることを特徴とする推力発生機構。
  5. 電機子鉄心と巻線からなる電機子と、永久磁石を有する可動子とが相対的に移動可能である推力発生機構であって、
    前記電機子鉄心が永久磁石の磁極側に空隙を介して対向配置された磁極歯と、該磁極歯をつなぐコアを備え、
    かつ、前記電機子鉄心を複数個有し、
    複数個の前記電機子鉄心は同じ極性を有し、
    可動子の磁極ピッチPに対して、前記電機子鉄心の、可動子長手方向の厚さtがP≦tであり、複数個の前記電機子鉄心が同じ極性を有することを特徴とする推力発生機構。
  6. 電機子鉄心と巻線からなる電機子と、永久磁石を有する可動子とが相対的に移動可能である推力発生機構であって、
    前記電機子鉄心は永久磁石の磁極側に空隙を介して対向配置された磁極歯と、該磁極歯をつなぐコアを備え、
    可動子の磁極ピッチPに対して2Pの範囲の空隙に、任意の巻線電流に対して前記対向配置されたコアが前記空隙に同一方向の磁束を発生することを特徴とする推力発生機構。
  7. 電機子鉄心と巻線からなる電機子と、永久磁石を有する可動子とが相対的に移動可能である推力発生機構であって、
    前記電機子鉄心は永久磁石の磁極側に空隙を介して対向配置された磁極歯と、前記磁極歯をつなぐコアを備え、
    任意の巻線電流において、前記空隙に対して複数個の前記電機子鉄心が同じ同一方向の磁束を発生させることを特徴とする推力発生機構。
  8. 電機子鉄心と巻線からなる電機子と、永久磁石を有する可動子とが相対的に移動可能である推力発生機構であって、
    前記電機子鉄心は永久磁石の磁極側に空隙を介して対向配置された磁極歯と、該磁極歯をつなぐコアを備え、
    磁極ピッチPに対して2つの極性を有する磁石列に対し、任意の巻線電流に対して前記電機子が空隙に発生する極性が1極性であることを特徴とする推力発生機構。
  9. 請求項1から請求項8に記載の推力発生機構であって、複数個の前記電機子鉄心に共通の巻線を捲いたことを特徴とする推力発生機構。
  10. 請求項1から請求項9に記載の推力発生機構であって、永久磁石の磁極側の両側に対向配置された前記磁極歯に電機子巻線を配置した推力発生機構。
  11. 請求項1から請求項10に記載の推力発生機構であって、永久磁石の磁極側の両側に対向配置された前記磁極歯を磁石に向かって先細り形状にしたことを特徴とする推力発生機構。
  12. 請求項1から請求項10記載の推力発生機構であって、永久磁石の磁極側の両側に対向配置された磁極歯の磁石対向面を切り取った形状にしたことを特徴とする推力発生機構。
  13. 請求項1から請求項12記載の推力発生機構であって、複数個の電機子からなるユニットを1相とし、複数個の相を有する推力発生機構であって、
    磁極のピッチPに対して、複数個の隣り合う前記電機子からなる相の、各相間のピッチを(kP+P/M)(k=0,1,2,3・・・、Mは相の数M=1,2,3・・・)とすることを特徴とする推力発生機構。
  14. 請求項1から請求項13記載の推力発生機構を有するリニアモータ。
JP2008313846A 2008-12-10 2008-12-10 推力発生機構 Pending JP2010141978A (ja)

Priority Applications (4)

Application Number Priority Date Filing Date Title
JP2008313846A JP2010141978A (ja) 2008-12-10 2008-12-10 推力発生機構
CN200980149538.6A CN102246401B (zh) 2008-12-10 2009-12-10 推力产生机构、驱动装置、xy工作台以及xyz工作台
US13/133,966 US9000626B2 (en) 2008-12-10 2009-12-10 Thrust generation mechanism, drive device, XY stage and XYZ stage
PCT/JP2009/070667 WO2010067837A1 (ja) 2008-12-10 2009-12-10 推力発生機構、駆動装置,xyステージ及びxyzステージ

Applications Claiming Priority (1)

Application Number Priority Date Filing Date Title
JP2008313846A JP2010141978A (ja) 2008-12-10 2008-12-10 推力発生機構

Related Child Applications (1)

Application Number Title Priority Date Filing Date
JP2012252836A Division JP5678025B2 (ja) 2012-11-19 2012-11-19 推力発生機構

Publications (1)

Publication Number Publication Date
JP2010141978A true JP2010141978A (ja) 2010-06-24

Family

ID=42351598

Family Applications (1)

Application Number Title Priority Date Filing Date
JP2008313846A Pending JP2010141978A (ja) 2008-12-10 2008-12-10 推力発生機構

Country Status (1)

Country Link
JP (1) JP2010141978A (ja)

Cited By (11)

* Cited by examiner, † Cited by third party
Publication number Priority date Publication date Assignee Title
JP2012075235A (ja) * 2010-09-28 2012-04-12 Hitachi Metals Ltd アクチュエータ
DE102012202998A1 (de) 2011-02-28 2012-09-06 Hitachi Automotive Systems, Ltd. Elektromagnetisches Federungssytem
JP2013506394A (ja) * 2009-09-25 2013-02-21 スンジン ロイヤル モーション カンパニー リミテッド リニアモータ
JP5313333B2 (ja) * 2009-03-13 2013-10-09 株式会社日立製作所 リニアモータ
WO2013150929A1 (ja) 2012-04-06 2013-10-10 株式会社 日立製作所 ガス遮断器
US8680739B2 (en) 2009-11-09 2014-03-25 Hitachi, Ltd. Rotary electrical machine
JP2016041015A (ja) * 2012-10-24 2016-03-24 株式会社日立製作所 リニアモータ
JP2017509302A (ja) * 2014-03-05 2017-03-30 ウウエル エネルジー 永久磁石を有し磁束コレクタが取付けられた発電機
US9712032B2 (en) 2012-10-24 2017-07-18 Hitachi, Ltd. Linear motor and linear motor drive system
KR101798548B1 (ko) * 2011-03-08 2017-12-12 주식회사 코베리 선형 전동기
JP2018521617A (ja) * 2015-07-20 2018-08-02 モータートロニックス リミテッド 横方向磁束リニアモータ

Citations (6)

* Cited by examiner, † Cited by third party
Publication number Priority date Publication date Assignee Title
JPH02246761A (ja) * 1989-03-18 1990-10-02 Hitachi Ltd リニアモータ
JPH04276363A (ja) * 1991-03-01 1992-10-01 Hitachi Ltd ディスク装置、リニアアクチュエータ
JPH10174418A (ja) * 1996-12-04 1998-06-26 Yaskawa Electric Corp リニアモータ
JP2000278931A (ja) * 1999-03-19 2000-10-06 Yaskawa Electric Corp リニアモータ
JP2005051869A (ja) * 2003-07-31 2005-02-24 Hitachi Ltd 駆動装置及びそれを用いたxyテーブル
JP2005287185A (ja) * 2004-03-30 2005-10-13 Hitachi Ltd リニアモータ

Patent Citations (6)

* Cited by examiner, † Cited by third party
Publication number Priority date Publication date Assignee Title
JPH02246761A (ja) * 1989-03-18 1990-10-02 Hitachi Ltd リニアモータ
JPH04276363A (ja) * 1991-03-01 1992-10-01 Hitachi Ltd ディスク装置、リニアアクチュエータ
JPH10174418A (ja) * 1996-12-04 1998-06-26 Yaskawa Electric Corp リニアモータ
JP2000278931A (ja) * 1999-03-19 2000-10-06 Yaskawa Electric Corp リニアモータ
JP2005051869A (ja) * 2003-07-31 2005-02-24 Hitachi Ltd 駆動装置及びそれを用いたxyテーブル
JP2005287185A (ja) * 2004-03-30 2005-10-13 Hitachi Ltd リニアモータ

Cited By (12)

* Cited by examiner, † Cited by third party
Publication number Priority date Publication date Assignee Title
JP5313333B2 (ja) * 2009-03-13 2013-10-09 株式会社日立製作所 リニアモータ
JP2013506394A (ja) * 2009-09-25 2013-02-21 スンジン ロイヤル モーション カンパニー リミテッド リニアモータ
US8680739B2 (en) 2009-11-09 2014-03-25 Hitachi, Ltd. Rotary electrical machine
JP2012075235A (ja) * 2010-09-28 2012-04-12 Hitachi Metals Ltd アクチュエータ
DE102012202998A1 (de) 2011-02-28 2012-09-06 Hitachi Automotive Systems, Ltd. Elektromagnetisches Federungssytem
KR101798548B1 (ko) * 2011-03-08 2017-12-12 주식회사 코베리 선형 전동기
WO2013150929A1 (ja) 2012-04-06 2013-10-10 株式会社 日立製作所 ガス遮断器
JPWO2013150929A1 (ja) * 2012-04-06 2015-12-17 株式会社日立製作所 ガス遮断器
JP2016041015A (ja) * 2012-10-24 2016-03-24 株式会社日立製作所 リニアモータ
US9712032B2 (en) 2012-10-24 2017-07-18 Hitachi, Ltd. Linear motor and linear motor drive system
JP2017509302A (ja) * 2014-03-05 2017-03-30 ウウエル エネルジー 永久磁石を有し磁束コレクタが取付けられた発電機
JP2018521617A (ja) * 2015-07-20 2018-08-02 モータートロニックス リミテッド 横方向磁束リニアモータ

Similar Documents

Publication Publication Date Title
JP2010141978A (ja) 推力発生機構
CN102214983B (zh) 直线电机
JP5294762B2 (ja) リニアモータ
CN104584403B (zh) 线性电机和线性电机驱动系统
TWI519043B (zh) 線性馬達
WO2010103575A1 (ja) リニアモータ
WO2010067837A1 (ja) 推力発生機構、駆動装置,xyステージ及びxyzステージ
JP5796575B2 (ja) リニアモータおよびそれを用いた位置決め装置
JP3360606B2 (ja) リニアモータ
JP6527196B2 (ja) リニアモータ
JP5678025B2 (ja) 推力発生機構
JP2009219199A (ja) リニアモータ
JP2010115042A (ja) リニアモータ電機子およびリニアモータ並びにそれを用いたテーブル送り装置。
JP2010098880A (ja) 円筒形リニアモータ
JP5589507B2 (ja) リニア駆動装置の可動子及び固定子
US20200083792A1 (en) Linear Motor and Device Provided with Linear Motor
JP5447308B2 (ja) リニアモータ
JP5874246B2 (ja) リニア駆動装置の可動子
JPH02246762A (ja) リニアモータ
JP5514513B2 (ja) リニアモータ
JP3827671B2 (ja) リニアモータ
JP5953688B2 (ja) リニア駆動装置
JP6058114B2 (ja) リニアモータ
JP2017221089A (ja) リニアモータ及びリニアスライダ
JP5589508B2 (ja) リニア駆動装置の可動子、固定子、及びリニア駆動装置

Legal Events

Date Code Title Description
A621 Written request for application examination

Free format text: JAPANESE INTERMEDIATE CODE: A621

Effective date: 20110120

A131 Notification of reasons for refusal

Free format text: JAPANESE INTERMEDIATE CODE: A131

Effective date: 20120918

A02 Decision of refusal

Free format text: JAPANESE INTERMEDIATE CODE: A02

Effective date: 20130205