JP2010100340A - 個人使用用の手持ち型ディスペンサー - Google Patents

個人使用用の手持ち型ディスペンサー Download PDF

Info

Publication number
JP2010100340A
JP2010100340A JP2009244731A JP2009244731A JP2010100340A JP 2010100340 A JP2010100340 A JP 2010100340A JP 2009244731 A JP2009244731 A JP 2009244731A JP 2009244731 A JP2009244731 A JP 2009244731A JP 2010100340 A JP2010100340 A JP 2010100340A
Authority
JP
Japan
Prior art keywords
liquid
air
chamber
push
pushable
Prior art date
Legal status (The legal status is an assumption and is not a legal conclusion. Google has not performed a legal analysis and makes no representation as to the accuracy of the status listed.)
Granted
Application number
JP2009244731A
Other languages
English (en)
Other versions
JP5546827B2 (ja
Inventor
Joseph S Kanfer
エス カンファー ジョセフ
Jr Robert L Quinlan
エル クインラン ジュニア ロバート
Mark E Rosenkranz
イー ローゼンクランツ マーク
Daniel E Kustra
イー クストラ ダニエル
Current Assignee (The listed assignees may be inaccurate. Google has not performed a legal analysis and makes no representation or warranty as to the accuracy of the list.)
Go-Jo Industries Inc
Original Assignee
Go-Jo Industries Inc
Priority date (The priority date is an assumption and is not a legal conclusion. Google has not performed a legal analysis and makes no representation as to the accuracy of the date listed.)
Filing date
Publication date
Application filed by Go-Jo Industries Inc filed Critical Go-Jo Industries Inc
Publication of JP2010100340A publication Critical patent/JP2010100340A/ja
Application granted granted Critical
Publication of JP5546827B2 publication Critical patent/JP5546827B2/ja
Expired - Fee Related legal-status Critical Current
Anticipated expiration legal-status Critical

Links

Images

Classifications

    • BPERFORMING OPERATIONS; TRANSPORTING
    • B65CONVEYING; PACKING; STORING; HANDLING THIN OR FILAMENTARY MATERIAL
    • B65DCONTAINERS FOR STORAGE OR TRANSPORT OF ARTICLES OR MATERIALS, e.g. BAGS, BARRELS, BOTTLES, BOXES, CANS, CARTONS, CRATES, DRUMS, JARS, TANKS, HOPPERS, FORWARDING CONTAINERS; ACCESSORIES, CLOSURES, OR FITTINGS THEREFOR; PACKAGING ELEMENTS; PACKAGES
    • B65D83/00Containers or packages with special means for dispensing contents
    • BPERFORMING OPERATIONS; TRANSPORTING
    • B05SPRAYING OR ATOMISING IN GENERAL; APPLYING FLUENT MATERIALS TO SURFACES, IN GENERAL
    • B05BSPRAYING APPARATUS; ATOMISING APPARATUS; NOZZLES
    • B05B11/00Single-unit hand-held apparatus in which flow of contents is produced by the muscular force of the operator at the moment of use
    • B05B11/01Single-unit hand-held apparatus in which flow of contents is produced by the muscular force of the operator at the moment of use characterised by the means producing the flow
    • B05B11/10Pump arrangements for transferring the contents from the container to a pump chamber by a sucking effect and forcing the contents out through the dispensing nozzle
    • B05B11/1028Pumps having a pumping chamber with a deformable wall
    • B05B11/1032Pumps having a pumping chamber with a deformable wall actuated without substantial movement of the nozzle in the direction of the pressure stroke
    • AHUMAN NECESSITIES
    • A47FURNITURE; DOMESTIC ARTICLES OR APPLIANCES; COFFEE MILLS; SPICE MILLS; SUCTION CLEANERS IN GENERAL
    • A47KSANITARY EQUIPMENT NOT OTHERWISE PROVIDED FOR; TOILET ACCESSORIES
    • A47K5/00Holders or dispensers for soap, toothpaste, or the like
    • A47K5/06Dispensers for soap
    • A47K5/12Dispensers for soap for liquid or pasty soap
    • BPERFORMING OPERATIONS; TRANSPORTING
    • B05SPRAYING OR ATOMISING IN GENERAL; APPLYING FLUENT MATERIALS TO SURFACES, IN GENERAL
    • B05BSPRAYING APPARATUS; ATOMISING APPARATUS; NOZZLES
    • B05B11/00Single-unit hand-held apparatus in which flow of contents is produced by the muscular force of the operator at the moment of use
    • B05B11/01Single-unit hand-held apparatus in which flow of contents is produced by the muscular force of the operator at the moment of use characterised by the means producing the flow
    • B05B11/10Pump arrangements for transferring the contents from the container to a pump chamber by a sucking effect and forcing the contents out through the dispensing nozzle
    • B05B11/1087Combination of liquid and air pumps
    • BPERFORMING OPERATIONS; TRANSPORTING
    • B65CONVEYING; PACKING; STORING; HANDLING THIN OR FILAMENTARY MATERIAL
    • B65DCONTAINERS FOR STORAGE OR TRANSPORT OF ARTICLES OR MATERIALS, e.g. BAGS, BARRELS, BOTTLES, BOXES, CANS, CARTONS, CRATES, DRUMS, JARS, TANKS, HOPPERS, FORWARDING CONTAINERS; ACCESSORIES, CLOSURES, OR FITTINGS THEREFOR; PACKAGING ELEMENTS; PACKAGES
    • B65D35/00Pliable tubular containers adapted to be permanently or temporarily deformed to expel contents, e.g. collapsible tubes for toothpaste or other plastic or semi-liquid material; Holders therefor
    • B65D35/24Pliable tubular containers adapted to be permanently or temporarily deformed to expel contents, e.g. collapsible tubes for toothpaste or other plastic or semi-liquid material; Holders therefor with auxiliary devices
    • B65D35/28Pliable tubular containers adapted to be permanently or temporarily deformed to expel contents, e.g. collapsible tubes for toothpaste or other plastic or semi-liquid material; Holders therefor with auxiliary devices for expelling contents
    • BPERFORMING OPERATIONS; TRANSPORTING
    • B65CONVEYING; PACKING; STORING; HANDLING THIN OR FILAMENTARY MATERIAL
    • B65DCONTAINERS FOR STORAGE OR TRANSPORT OF ARTICLES OR MATERIALS, e.g. BAGS, BARRELS, BOTTLES, BOXES, CANS, CARTONS, CRATES, DRUMS, JARS, TANKS, HOPPERS, FORWARDING CONTAINERS; ACCESSORIES, CLOSURES, OR FITTINGS THEREFOR; PACKAGING ELEMENTS; PACKAGES
    • B65D35/00Pliable tubular containers adapted to be permanently or temporarily deformed to expel contents, e.g. collapsible tubes for toothpaste or other plastic or semi-liquid material; Holders therefor
    • B65D35/56Holders for collapsible tubes
    • BPERFORMING OPERATIONS; TRANSPORTING
    • B05SPRAYING OR ATOMISING IN GENERAL; APPLYING FLUENT MATERIALS TO SURFACES, IN GENERAL
    • B05BSPRAYING APPARATUS; ATOMISING APPARATUS; NOZZLES
    • B05B11/00Single-unit hand-held apparatus in which flow of contents is produced by the muscular force of the operator at the moment of use
    • B05B11/01Single-unit hand-held apparatus in which flow of contents is produced by the muscular force of the operator at the moment of use characterised by the means producing the flow
    • B05B11/02Membranes or pistons acting on the contents inside the container, e.g. follower pistons
    • B05B11/026Membranes separating the content remaining in the container from the atmospheric air to compensate underpressure inside the container

Landscapes

  • Engineering & Computer Science (AREA)
  • Mechanical Engineering (AREA)
  • Health & Medical Sciences (AREA)
  • Public Health (AREA)
  • Containers And Packaging Bodies Having A Special Means To Remove Contents (AREA)
  • Reciprocating Pumps (AREA)
  • Loading And Unloading Of Fuel Tanks Or Ships (AREA)
  • Details Of Reciprocating Pumps (AREA)

Abstract

【課題】発泡可能な液体と空気とを混合する、一回分の量を分与する個人用の携帯用流体デイスペンサーを提供する。
【解決手段】手持ち型ディスペンサー10は、押し出し式液体容器12と、液体ポンプ14と、空気ポンプと、混合チャンバとを包含する。前記液体ポンプは、押し出し式液体チャンバ24をへこませ、前記押し出し式液体チャンバが拡張容積から圧縮容積になると、前記押し出し式液体チャンバから前記混合チャンバ内へと液体が吐出される。前記空気ポンプは、押し出し式空気チャンバをへこませ、前記押し出し式空気チャンバが拡張容積から圧縮容積になると、前記押し出し式空気チャンバから前記混合チャンバ内に空気が吐出される。前記混合チャンバ内へと吐出された空気は、前記混合チャンバ内へと吐出された液体と混合し、これにより、混合製品が分与される。
【選択図】図7

Description

本発明は、一般的には、流体ディスペンサーに関し、より詳細には、流体を空気と混合する、個人用の携帯用流体ディスペンサーに関する。一実施例において、本発明は、発泡可能な液体と空気とを混合する、個人用の携帯用泡ディスペンサーを提供する。特定の好適な実施例において、本発明は、個人用の洗浄用又は消毒用溶液を一回分の量だけ分与するように作動可能な、携帯用の個人用泡ディスペンサーに関する。
多様な液体製品用の個人用の携帯用ディスペンサーは、一般的に公知である。これらの流体ディスペンサーには多様な種類がある。いくつかの最も単純な形態ものでは、携帯用ディスペンサーは、内部の液体製品を分与できるように選択的に開くか又は閉めることができるようにされた容器として、提供されている。いくつかの実施例において、これらの容器は、圧力によってへこむことでその内部容積を一時的に減少させ、その内部に保持されている液体製品の一部分を分与する。これらの種類の容器は、手用除菌剤、手用洗浄剤および手用ローションの持ち運び用途において、極めて一般的である。
手用除菌剤、手用洗浄剤および手用ローションは、また、容積式ポンプを用いたディスペンサーの使用を通しても、分与される。これらのディスペンサーの一部分は、携帯するのに十分なサイズにされる。これらの携帯用ディスペンサーは、ピストンヘッドを包含し、このピストンヘッドを押して、主容器から液体製品を分与する。これらの携帯用ディスペンサーは、その分与機構の作動により一回分の量の液体製品を分与するという有利な機能を提供する。しかし、(例えば、ディスペンサーをハンドバッグ又は他の手荷物に入れて持ち運んでいるときに)ピストンヘッドが非意図的に押されることで、これらのディスペンサーが誤って作動することは容易にあり得る。そのため、これらのディスペンサーは、より好適には、デッキ上又は流し台のそばでの用途に用いられる。
携帯用の個人用ディスペンサーは、また、米国特許第6,789,706号および米国公開特許出願第2006/0255068号に記載のような可撓性壁および定量分与能力を有するものとしても提供されている。ポンプは、可撓性壁の容器中の液体製品源と連通し、また出口とも連通する。前記ポンプが作動すると、前記出口から液体製品が押し出され、前記ポンプが解放されると、更に一回分の量の液体製品が前記容器から引き込まれて、その後の作動により分与される。これらは、液体製品を分与する単一構成要素のディスペンサーである。
近年、多種の液体を泡形態で分与することが一般的になっており、この泡は基本的には、少なくとも2つの成分の混合物(典型的には、発泡可能な液体中全体に分散した気泡)である。そのため、多くの環境において、前記標準的な液体ポンプは、所望の泡を生成するような態様で空気と液体とを混合する手段を必要とする泡生成ポンプに取って代わられている。そのため、特定の実施例において、本発明は、一回分の量の泡製品を分与する能力を有する可撓性壁型ディスペンサーを提供し、これにより、個人使用用の、容易に携帯可能な泡ディスペンサーを提供する。以下の開示から明らかなように、本発明は、泡ディスペンサーに限定されるのではなく、泡を生成するため、又は反応を生成させるなどの他のあらゆる理由において、空気が液体と混合される任意のディスペンサーも包含するものである。
本発明は、押し出し式液体容器と、押し出し式液体チャンバと、押し出し式空気チャンバと、混合チャンバとを包含する手持ち型ディスペンサーを提供する。前記液体容器は、液体を保持する容積を限定する。前記押し出し式液体チャンバは、前記液体容器内の前記液体と液体入口弁を通して連通し、また前記混合チャンバと液体出口通路を通して連通する。前記押し出し式液体チャンバは、拡張容積と圧縮容積との間で操作されるようにされる。前記押し出し式空気チャンバは、前記ディスペンサーの外部の空気と空気入口弁を通して連通し、また前記混合ユニットと空気出口通路を通して連通する。前記押し出し式空気チャンバは、拡張容積と圧縮容積との間で操作されるようにされる。前記押し出し式液体チャンバおよび前記押し出し式空気チャンバは、片手で操作可能なように、前記押し出し式液体容器に取り付けられる。前記押し出し式液体チャンバが前記圧縮容積から前記拡張容積へと拡張したときには、前記液体の一部分が前記押し出し式液体チャンバ内へと引き込まれ、また、前記押し出し式液体チャンバが前記拡張容積から前記圧縮容積へと圧縮されたときには、前記押し出し式液体チャンバ内の前記液体の一部分が、前記押し出し式液体チャンバ内から吐出されて、前記液体出口通路へと強制移動される。前記押し出し式空気チャンバが前記圧縮容積から前記拡張容積へと拡張すると、空気が前記押し出し式空気チャンバ内へと引き込まれ、また、前記押し出し式空気チャンバが前記拡張容積から前記圧縮容積へと圧縮されると、前記押し出し式空気チャンバ内の空気は前記押し出し式空気チャンバ内から吐出されて、前記空気出口通路へと強制移動される。前記空気出口通路を通して強制移動された空気と、前記液体出口通路を通して強制移動された液体とは、前記混合ユニットにおいて出会い、混合する。
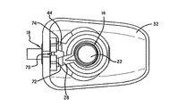
本発明によるディスペンサーの第1の実施例の斜視図である。
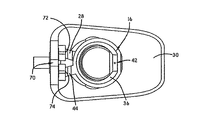
前記第1の実施例の平面図である。
図2と同様の平面図であるが、頂部フィルムが除去されて、液体出口通路が示されている。
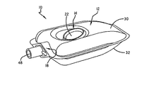
前記第1の実施例の底面図である。
図4と同様の底面図であるが、底部フィルムが除去されて、空気出口通路が示されている。
分解図であり、種々の独立する要素をどのように組み合わせて前記ディスペンサーを形成するかの様子を示している。
図2の線7−7に沿った断面図であり、前記ディスペンサーが非作動状態にある様子を示している。
図7と同様の断面図であるが、前記ディスペンサーが作動状態にある様子を示している。
図7と同様の断面図であるが、液体ポンプおよび空気ポンプが前記作作動状態から解放された後の前記ディスペンサーを示している。
図8の線10−10に沿った断面図であり、液体および空気の出口通路が開いている状態を示している。
図7の線11−11に沿った断面図であり、液体および空気の出口通路が閉まっている状態を示している。
混合ユニットの断面図である。
本発明によるディスペンサーの第2の実施例の斜視図である。
前記第2の実施例の平面図である。
前記ディスペンサーの種々の要素をどのようにして組み合わせて前記ディスペンサーを形成する様子を示す分解図であり、前記要素の上部が見えるようになっている。
図15と同様の分解図であるが、前記要素の底部が見えるようになっている。
図14の線17−17に沿った断面図である。
前記第2の実施例の弁フィルム、チャンネルプレートおよびチャンネルフィルムの要素のアセンブリの平面図であり、液体チャンネルおよび空気チャンネルの配置構成ならびに液体ポンプの液体入口弁の機能についての理解を助けるための図である。
図1〜図7を参照するに、本発明のディスペンサーが示され、参照符号10で示されているのが分かる。ディスペンサー10は、液体Sを保持する液体容器12を包含する。ディスペンサー10は、更に、液体ポンプ14および空気ポンプ16を包含する(図4および図5)。空気ポンプ16が一回分の量の空気を混合ユニット18へと前進させるように作動している間、液体ポンプ14は、一回分の量の液体Sを混合ユニット18へと前進させるように作動する。ディスペンサー10は、混合ユニット18において空気と液体とを混合することにより、所望の製品を生成する。
液体ポンプ14は、ベース20および液体ドーム22で形成される。液体ドーム22は、ベース20に取り付けられて、押し出し式液体チャンバ24を形作る。押し出し式液体チャンバ24は、液体容器12内の液体Sと液体入口弁2を通して流体連通する(図7〜図9)。押し出し式液体チャンバ24は、また、混合ユニット18へと通じる液体出口通路28とも流体連通する(図3)。液体入口弁26は、押し出し式液体チャンバ24内への流体流れを規制し、液体出口通路28の特殊な構造は、押し出し式液体チャンバ24から混合ユニット18内への流体流れを規制する機能を持つ(すなわち、前記液体出口通路の構造に起因して、液体出口通路28の特殊な構造は弁として機能する)。この構造について、本明細書中以下により詳細に開示する。
液体ドーム22は、弾性であるため、ベース20の方向に押し込むことができ、これにより、押し出し式液体チャンバ24を拡張又は膨張容積(図7)から圧縮又は収縮容積(図8)へと押し出すことができる。液体ドーム22上の圧力が解放されると、液体ドーム22は、十分な弾性により、前記押し出し位置から図7に示す静止位置へと弾性的に戻ることができる。液体ドーム22がベース20に向かって押されて、押し出し式液体チャンバ24が圧縮容積に移動すると、押し出し式液体チャンバ24内の圧力が増加し、その内容物は押し出し式液体チャンバ24から出て行き、液体出口通路28内へと入る。液体ドーム22から圧力が解放されると、液体ドーム22はその通常の静止位置へと弾性的に戻り、押し出し式液体チャンバ24をその拡張容積へと戻す。拡張時、押し出し式液体チャンバ24内に真空が発生し、液体Sは液体入口弁26を通して引き込まれ、これにより、押し出し式液体チャンバ24内に次の一回分の量の液体Sが再充填される。
この実施例において、図6に示すように、液体容器12は、頂部フィルム30がその周辺において底部フィルム32に溶着されて形成される。液体ポンプ14は、頂部フィルム30において液体容器12に取り付けられる。より詳細には、液体ポンプ14のドーム20は、頂部フィルム30のポンプ開口34を通して延び、液体ポンプ14は溶着又は適当な接着剤によってこの開口34において取り付けられる。あるいは、ポンプ開口34を頂部フィルム30から省略してもよく、液体ポンプ14を完全に液体容器12の内側に保持して、可撓性頂部フィルム30を通して操作可能なようにしてもよい。頂部フィルム30および底部フィルム32は封止された可撓性フィルムであるため、前記押し出し式液体チャンバ24の収縮および拡張時に、一回分の量の液体Sが容器12内から押し出し式液体チャンバ24へと引き込まれるのにつれて、液体容器12がへこむ。
次に、特に図4〜図6を参照するに、空気ポンプ16が、ベース36とこのベース36に取り付けられた空気ドーム38とで形成され、押し出し式空気チャンバ40を形作っていることが分かる。押し出し式空気チャンバ40は、空気入口弁42(図7〜図9)を通して大気と流体連通し、これにより、前記大気は空気源として機能する。押し出し式空気チャンバ40は、また、混合ユニット18へと通じる空気出口通路44(図5)とも流体連通する。空気入口弁42は、押し出し式空気チャンバ40内への空気流れを規制し、空気出口通路44の特殊な構造は、押し出し式空気チャンバ40から混合ユニット18への空気流れを規制する機能を持つ。この特殊な構造について、本明細書中以下に詳細に開示する。
空気ドーム38は、弾性であるため、ベース36が液体ポンプ14の方向に押されると、空気ドーム38はベース20と接触し、ベース36に向かって圧縮され、これにより、押し出し式液体チャンバ40は拡張又は膨張容積(図7)から圧縮又は収縮容積(図8)へとへこまされる。ベース36への圧力が解放されると、空気ドーム38は、十分な弾性により、前記押し出し位置から図7に示す静止位置へと弾性的に戻ることができる。空気ドーム38がベース36に向かって押されて、押し出し式空気チャンバ40が圧縮容積になると、押し出し式空気チャンバ40内において圧力が増加し、その内容物は押し出し式空気チャンバ40から出て行き、空気出口通路44に入る。圧力が空気ドーム38から解放されると、空気ドーム38はその通常の静止位置へと弾性的に戻り、その結果、押し出し式空気チャンバ40はその拡張容積へと戻る。前記拡張時において、押し出し式空気チャンバ40内に真空が発生し、空気入口弁42を通して空気が引き込まれ、これにより、次の一回分の量の空気が押し出し式空気チャンバ40に再充填される。
この実施例において、図6に示すように、空気ポンプ16は、底部フィルム32において液体容器12に取り付けられる。より詳細には、空気ポンプ16のベース36は、底部フィルム32のポンプ開口46を通して延び、空気ポンプ16はこの開口46において溶着又は適当な接着剤によって取り付けられる。あるいは、液体ポンプ14について説明したように、空気ポンプ16を完全に液体容器12の内側に保持し、可撓性底部フィルム32を通して操作可能なようにしてもよい。
図面に示すように、液体ポンプ14および空気ポンプ16は好適には互いに整列され、液体ポンプ14のベース20は好適には空気ポンプ16の空気ドーム38に隣接する。このような構造により、ディスペンサー10を指で持ってポンプ14又は16を押し、および前記親指でポンプ14又は16のうちの他方を押すことにより、ドーム22および38が相互に近づくように同時に圧迫することが可能になる。図示の構成において、液体ポンプ14の液体ドーム22にアクセスし、操作すると同時に、空気ポンプ16のベース36にアクセスし、操作することができ、前記2つを相互に近づくように圧迫することで押し出し式液体チャンバ24および押し出し式空気チャンバ40両方がへこまされる。液体容器12は、好適には、このような片手での操作に適したサイズにされる。ベース20が空気ドーム38に隣接することで、液体ポンプ14および空気ポンプ16がこのように圧迫されると、押し出し式液体チャンバ24および押し出し式空気チャンバ40が実質的に同時にへこまされる。チャンバ24および40がへこまされると、液体Sおよび空気は、それぞれ液体出口通路28および空気出口通路44を通して混合ユニット18内へと強制移動させられる。混合ユニット18において、前記一回分の量の空気および液体をさらに混合する構造が設けられる。前記液体が発泡可能な液体(例えば、石鹸又は発泡性の手用除菌剤)である場合、前記混合構造により、均一な泡が出口48において分与される。
この実施例の構造のさらなる詳細は、以下のディスペンサー10の機能についての開示において、理解されよう。図7において、ディスペンサー10の断面が示されており、ディスペンサー10は静止位置にある(すなわち、作動していない)。この非作動状態において、押し出し式液体チャンバ24は一回分の量の液体Sを収容し、押し出し式空気チャンバ40は一回分の量の空気を収容する。これらの押し出し式チャンバがそれぞれへこまされると、前記一回分の量の液体および前記一回分の量の空気が混合ユニット18へと前進する。これを図8に示し、そこでは、液体ポンプ14および空気ポンプ16はどちらも作動している。より詳細には、ドーム22および38を圧迫することにより、押し出し式液体チャンバ24および押し出し式空気チャンバ40の容積が減少している。
液体ポンプ14において、押し出し式液体チャンバ24がへこまされると、その内部に保持されている液体Sが液体出口通路28内へと、そしてこの液体出口通路28を通して強制移動される。流体入口弁26は閉まっているため、液体出口通路28は押し出し式液体チャンバ24からの唯一の出口である。図7および図8に示すように、フラッパ50が可撓性ドーム22から延びて、ベース20にある入口開口52を被覆している。静止時および作動時の両方において、このフラッパ50は入口開口52上に延びており、押し出し式液体チャンバ24の内容物が液体容器12に再度入らないようにしている。押し出し式液体チャンバ24の容積が減少すると、その内部の液体Sは液体出口通路28へと前進するしかなくなる。図6、図10および図11に示すように、液体出口通路28は、頂部フィルム54および底部フィルム56で形成される。これらの頂部フィルム54および底部フィルム56は、その周囲において互いに密着され、これにより、静止時において、頂部フィルム54および底部フィルム56は貼りつき合って、液体がその間を流れるのを阻止する(すなわち、液体出口通路28は閉められる)。しかし、押し出し式液体チャンバ24がへこむと、押し出し式液体チャンバ24から液体を強制移動させる圧力が十分に高くなり、その結果、この液体出口通路28が開き、液体Sは混合ユニット18へと移動する。
同様に、空気ポンプ16において、押し出し式空気チャンバ40がへこまされると、その内部に保持されている空気は、空気出口通路44の内部へ、そしてこの空気出口通路44を通して強制移動される。空気入口弁42は閉められているため、空気出口通路44は、押し出し式空気チャンバ40からの唯一の出口である。図7および図8に示すように、フラッパ58は、可撓性ドーム38から延びて、ベース36にある入口開口60を被覆する。静止時および作動時の両方において、このフラッパ弁58は入口開口60上に延びており、押し出し式空気チャンバ40の内容物が大気へと出て行かないようにする。押し出し式空気チャンバ40の容積が減少すると、その内部の空気は空気出口通路44に向かって前進するしかなくなる。図6、図10および図11に示すように、空気出口通路44は、頂部フィルム62および底部フィルム64で形成される。頂部フィルム62および底部フィルム64は、その周囲において互いに密着され、通常は貼りつき合って、その間を空気が流れないようになっている。しかし、押し出し式空気チャンバ40がへこまされると、押し出し式空気チャンバ40から強制移動される空気の圧力は十分に高くなり、その結果、この空気出口通路が開き、空気は混合ユニット18へと移動する。
次に図9を参照するに、押し出し式液体チャンバ24および押し出し式空気チャンバ40への一回分の量の液体および空気の再充填について説明する。液体ドーム22上への押し出し力が解除されると、図9に示すように、液体ドーム22は自然にその非押し出し位置へと戻る。この液体ドーム22の動きにより、押し出し式液体チャンバ24内に真空が発生し、その結果、フラッパ50はベース20にある入口開口52から引き離され、その結果、次の一回分の量の液体Sが液体ポンプ14内へと引き込まれる。液体出口通路28も、図11に示すように、再び平坦状態に戻ることが理解されよう。同様に、空気ドーム38上の押し出し力が解除されると、図9に示すように、空気ドーム38は自然にその非押し出し位置へと戻る。この空気ドーム38の動きにより、押し出し式空気チャンバ40内において真空が発生し、その結果、フラッパ58はベース36にある入口開口60から引き離され、その結果、次の一回分の量の空気が液体ポンプ16内へと引き込まれる。空気出口通路44も、図11に示すように、平坦に戻る。
図3、図5、図6および図12を参照するに、液体出口通路28は液体入口72においてマニホールド70に通じる一方、空気出口通路44は空気入口74においてマニホールド70に通じることが分かる。これらの別個の空気通路および液体通路は、マニホールド70においてひとつになり、共通出口通路76を通して出口48に向かって強制移動される。少なくとも1つの網目スクリーン78が出口通路76に設けられ、これにより、前記別個の空気通路および液体通路の結合部において形成された空気および液体の粗い混合物をより均一な混合物に均質化できるようにする。前記液体が発泡可能な液体である場合、前記均質化により、良質な泡製品を出口48において分与することができる。特定の実施例によれば、少なくとも1つの網目スクリーン78が混合カートリッジ80において第1のスクリーンとして設けられ、これは、網目スクリーン78および第2の網目スクリーン84によって境界付けられた管82となる。
混合ユニット18は、硬質のカヌーフィットメント86を提供する。硬質のカヌーフィットメント86は、前記液体容器の頂部フィルム30および底部フィルム32に溶着される。図6に示すように、液体出口通路28の頂部フィルム54および底部フィルム56と、空気出口通路44の頂部フィルム62および底部フィルム64とは、マニホールド70の液体入口72および空気入口74にヒートシールされる。
この実施例において、空気ポンプに対向する液体ポンプを有するディスペンサー10が提供され、これにより、前記液体ポンプおよび前記空気ポンプを相互に向かって圧迫することで、これらのポンプを作動させ、空気と液体とを混合して、所望の製品を分与することができる。特定の実施例において、前記液体として発泡可能な液体(例えば、石鹸又は発泡性消毒剤)が選択され、分与される製品は泡形態をとる。前記液体容器は密閉され、好適には可撓性フィルムから形成され、これにより、前記容器がへこまされると、一回分の量の液体が前記押し出し式液体チャンバ内へと引き込まれる。前記容器を押し出し式に作ることにより、前記容器中の液体は、前記押し出し式液体チャンバへの入口弁の位置において常時存在するようになる。その結果、確実に、一回分の量の液体が、前記押し出し式液体チャンバの拡張時において、前記押し出し式液体チャンバ内に一貫して引き込まれる。より硬質の通気式容器構造も用いることができるが、前記押し出し式液体チャンバ内に空気が入るのを回避するために、時として特定の向きにさせる必要がある場合がある。この実施例の対向する液体ポンプおよび空気ポンプによる構造は使い易いが、前記液体ポンプおよび空気ポンプを異なる位置に配置してもよいことが理解されよう。実際、前記空気ポンプが空気源と連通しかつ前記液体ポンプが液体源と連通し、なおかつ、これらの両方のポンプが共通出口と連通して、2つの別々の成分の混合を可能にしさえすれば、前記液体ポンプおよび前記空気ポンプは任意の位置に配置することができる。下記に開示される別の実施例において、前記液体ポンプが前記空気ポンプによって包囲され、ポンプ内にポンプがある構造になっている。この構造は、前記液体容器の片側から延びるものである。
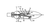
次に図13〜図18を参照するに、ポンプ内にポンプがある構造を示すディスペンサーの一実施例が示され、参照符号110によって示されている。ディスペンサー110は、液体Sを保持する液体容器112を包含する。ディスペンサー110は、更に、液体ポンプ114および空気ポンプ116(図17)を包含する。液体ポンプ114は、一回分の量の液体Sを混合ユニット118へと前進させるように作動する。一方、空気ポンプ116は、一回分の量の空気を混合ユニット118へと前進させるように作動する。ディスペンサー110は、混合ユニット118において空気と液体とを混合することにより、所望の製品を生成する。
液体ポンプ114は、弾性液体ドーム122と、より硬質のチャンネルプレート120および弁フィルム190との間の相互作用により、形成される。液体ドーム122は、チャンネルプレート120に取り付けられて、押し出し式液体チャンバ124を形作る。押し出し式液体チャンバ124は、液体容器112内の液体Sと液体入口弁126(図18)を通して流体連通する。液体入口弁126は、押し出し式液体チャンバ124内への液体Sの流れを規制する。押し出し式液体チャンバ124は、また、混合ユニット118へと通じる液体出口通路128(図18)とも流体連通する。この実施例の液体出口通路128は、前述した実施例の液体出口通路28とは構造が異なるが、本明細書中以下により詳細に説明するように、同様に、押し出し式液体チャンバ124から混合ユニット118内へと流れる流体の流れを規制する機能を持つ。
次に、特に図15〜図17を参照するに、液体ポンプ114の液体ドーム122を包囲する弾性空気ドーム138で空気ポンプ116が形成されていることが、分かる。この空気ドーム138もチャンネルプレート120に取り付けられ、これにより、押し出し式空気チャンバ140を形作る。スペーサ部材141は空気ドーム138から押し出し式空気チャンバ140内へと延びて、液体ドーム122と接触するか又は液体ドーム122に近接する。このスペーサ部材141は、空気ドーム138が押圧されると液体ドーム122をへこませ始めるため、有利である。押し出し式空気チャンバ140は、空気入口弁142(図13および図14)を通して大気と流体連通し、これにより、前記大気は空気源として機能する。この実施例において、空気入口弁142は、スペーサ部材141を貫通する通路143(図17)であり、また、ディスペンサー110のユーザの手の指、特に親指によって塞がれるか又は塞がれないことにより、空気流れを規制する機能を持つ。押し出し式空気チャンバ140は、また、混合ユニット118へと通じる空気出口通路144(図18)とも流体連通する。空気入口弁142が、押し出し式空気チャンバ140内への空気流れを規制するように、設けられる。この実施例の空気出口通路144は、前記した実施例の空気出口通路44と構造が異なるが、本明細書中以下により詳細に説明するように、同様に、押し出し式空気チャンバ140から混合ユニット118内への流体流れを規制する機能を持つ。
液体ポンプ114の液体ドーム122および空気ポンプ116の空気ドーム138はどちらとも弾性であるため、チャンネルプレート120の方向へ押圧することができ、これにより、そのそれぞれの押し出し式液体チャンバ124および押し出し式空気チャンバ140を拡張容積(図17)から圧縮容積へとへこませる。空気ドーム138上の圧力が解放されると、ドーム122および138の両方は、十分な弾性により、前記押し出し位置から図17に示す静止位置へと弾性的に戻る。前述したように、空気ドーム138上の圧力は、スペーサ部材141によって液体ドーム122へと平行移動される。空気ドーム138がベース120に向かって押されて、押し出し式液体チャンバ124および押し出し式空気チャンバ140の両方が圧縮容積になると、2つのチャンバ124および140内において圧力が増加し、その内容物は、そのそれぞれの液体出口128および空気出口通路144に入る。空気ドーム138から圧力が解放されると、液体ドーム122および空気ドーム138の両方はその通常の静止位置へと弾性的に戻り、これにより、押し出し式液体チャンバ124および押し出し式空気チャンバ140はその拡張容積へと戻る。前記拡張時において、押し出し式液体チャンバ128内および押し出し式空気チャンバ140内において真空が発生し、液体入口弁126および空気入口弁142を通して液体および空気が引き込まれ、これにより、次の一回分の量の液体および空気が押し出し式液体チャンバ128および押し出し式空気チャンバ140に再充填される。
この第2の実施例において、図15および図16に示すように、空気ポンプ116は、頂部フィルム130において液体容器112に取り付けられる。より詳細には、空気ポンプ116の空気ドーム138は、頂部フィルム30のポンプ開口134を通して延び、空気ポンプ116はドーム周縁139において溶着又は適当な接着剤によってこの開口134に取り付けられる。あるいは、空気ポンプ116を完全に液体容器112の内側に保持して、可撓性頂部フィルム130を通して操作可能なようにしてもよい。
図15に示すように、空気ポンプ116は液体ポンプ114を同軸に包囲するが、液体ポンプ114は偏心され得る。液体ポンプ114および空気ポンプ116は、液体ドーム122および空気ドーム138を弁フィルム190に溶着することによって又は接着することにより、形成される。弁フィルム190は、チャンネルプレート120と共に、液体ポンプ114が機能するのに必要な弁構造を提供する。空気ポンプ116の機能は、空気入口弁142の機能により促進される。この構造により、ユーザは底部フィルム132の下側に手の指をあててディスペンサー110を持ち、親指で空気入口弁142を押圧かつ塞ぐことにより、ドーム122および138の両方をへこませることが可能となる。液体容器112は、好適には、このような片手操作に適したサイズにされる。チャンバ124および140がへこまされることにより、液体Sおよび空気はそのそれぞれの液体出口通路128および空気出口通路144から混合ユニット118内へと強制移動される。混合ユニット118は、この実施例において、第1の実施例の混合ユニット118と実質的に同一である。
この第2の実施例の構造のさらなる詳細は、ディスペンサー110の機能に関する以下の開示により、理解されよう。図17において、ディスペンサー110の断面が示されている。ディスペンサー110は、静止位置にある(すなわち、作動していない)。この非作動状態において、押し出し式液体チャンバ124は一回分の量の液体Sを収容し、押し出し式空気チャンバ140は一回分の量の空気を収容する。これらの押し出し式チャンバをそれぞれへこませることで、前記一回分の量の液体および前記一回分の量の空気を混合ユニット118へと前進させることができる。これらの押し出し式チャンバは、手の指の圧力によってへこませ、空気ドーム138を移動させ、よって液体ドーム122をチャンネルプレート120に向かって移動させる。
液体ポンプ114において、押し出し式液体チャンバ124がへこまされると、その内部に保持されている液体Sは液体出口通路128内へと、そしてこの液体出口通路128を通して強制移動される。液体入口弁126は閉まっているため、液体出口通路128は、押し出し式液体チャンバ124からの唯一の出口である。弁フィルム190と、チャンネルプレート120と、チャンネルフィルム194(図15および図16)とのアセンブリの平面図である図18に示すように、弁フィルム190の半島状伸長部192に設けられたフラッパ150が、チャンネルプレート120にある液体入口開口152を塞ぐ。静止時および作動時のどちらにおいても、このフラッパ150は入口開口152上に延び、これにより、押し出し式液体チャンバ124の内容物が液体容器112内に再度入らないようにする。押し出し式液体チャンバ124の容積が減少すると、その内部の液体Sは液体出口通路128に向かって前進するしかなくなる。液体出口通路128は、チャンネルフィルム194によって被覆されたチャンネルプレート120の液体チャンネル121(図16)により形成される。液体チャンネル121は、チャンネルプレート120にある液体出口開口123からその前縁部125へと延びる。この前縁部125において、弁フィルム190の延長にある頂部フィルム154と、チャンネルフィルム194の延長にある底部フィルム156とが、混合ユニット118の液体入口ポート172の周囲において互いに密着される。
同様に、空気ポンプ116において、押し出し式空気チャンバ140がへこまされると、その内部に保持されている空気は空気出口通路144内に、そしてこの空気出口通路144を通して強制移動される。作動時には空気入口弁142はユーザの手の指、特に親指によって閉められているため、空気出口通路144は、押し出し式空気チャンバ140からの唯一の出口である。図15、図16および図18に示すように、押し出し式空気チャンバ140の容積は、空気出口開口129を通して、チャンネルプレート120にある空気チャンネル127と連通する。空気入口弁142がユーザの指、特に親指によって塞がれかつ押し出し式空気チャンバ140の容積が減少すると、その内部の空気は空気出口通路144に前進するしかなくなる。空気出口通路144はチャンネルフィルム194によって被覆された空気チャンネル127により形成され、この空気出口通路144はチャンネルプレート120の前縁部125へと延びる。この前縁部125において、弁フィルム190の延長である頂部フィルム154と、チャンネルフィルム194の延長である底部フィルム156とが、混合ユニット118の空気入口ポート174の周囲において互いに密着される。
空気ドーム138への押圧力が解除されると、空気ドーム138および液体ドーム122はどちらとも、図17に示すように、その非押し出し位置へと戻る。この液体ドーム122の動きにより、押し出し式液体チャンバ124内において真空が発生し、その結果、フラッパ150はチャンネルプレート120の液体入口開口152から引き離され、その結果、次の一回分の量の液体Sが液体ポンプ114内へと引き込まれる。チャンネルフィルム194は液体入口開口152と整列された開口196を包含し、これにより、チャンネルフィルム194は次の一回分の量の液体の充填と干渉しない。また、空気ドーム138の動きによっても、押し出し式空気チャンバ140内に真空が発生し、その結果、通路143を通して空気が引き込まれ、これにより、押し出し式空気チャンバ140に空気が充填される。
前述して開示した第1の実施例と同様に、別個の空気通路および液体通路が混合ユニット118においてひとつになる。混合ユニット118は、混合ユニット18と実質的に同一である。
この実施例において、液体ポンプを包囲する空気ポンプを有するディスペンサー110が提供され、これにより、前記空空気ポンプが押圧されると、前記空気ポンプおよび前記液体ポンプのどちらとも作動させ、空気と液体とを混合して、所望の製品を分与することができる。特定の実施例において、前記液体として発泡可能な液体(例えば、石鹸又は発泡性消毒剤)が選択され、分与される製品は泡形態をとる。前記液体容器は密閉され、好適には可撓性フィルムから形成され、これにより、前記容器がへこまされると、一回分の量の液体が前記押し出し式液体チャンバ内へと引き込まれる。前記容器を押し出し式に作ることにより、前記容器中の液体は、前記押し出し式液体チャンバへの入口弁の位置において常時存在するようになる。その結果、確実に、一回分の量の液体が、前記押し出し式液体チャンバの拡張時において、前記押し出し式液体チャンバ内に一貫して引き込まれる。より硬質の通気式容器構造も用いることができるが、前記押し出し式液体チャンバ内に空気が入るのを回避するために時として特定の向きにさせる必要がある場合がある。
以上述べたことから、本発明は、液体を空気と混合して所望の最終製品を生成するのに適した手持ち型の個人用ディスペンサーを提供することにより、ディスペンサーの技術を進展させることが明らかであろう。本発明は、いくつかの実施例において、泡状の手用石鹸又は泡状の手用除菌剤用の個人用ディスペンサーを提供することを意図しているが、本発明はこれに限定されずまたこれによっても限定されない。また、本発明を用いて、実質的に任意の目的のために、実質的に任意の液体を空気と混合してもよい。特許請求の範囲の記載が、本発明を限定する役目を果たすものである。

Claims (16)

  1. 液体と混合された空気を分与する手持ち型ディスペンサーであって、
    液体を保持する押し出し式液体容器と、
    混合チャンバと、
    押し出し式液体チャンバを包含する液体ポンプであって、前記押し出し式液体チャンバが液体出口通路を通して前記混合チャンバと連通し、また前記押し出し式液体チャンバが拡張容積と収縮容積との間で操作されるようにされ、更に前記押し出し式液体チャンバが弁を通して前記液体チャンバ内の前記液体と連通する、液体ポンプと、
    押し出し式空気チャンバを包含する空気ポンプであって、前記押し出し式空気チャンバが空気出口通路を通して前記混合チャンバと連通し、また前記押し出し式空気チャンバが拡張容積と収縮容積との間で操作されるようにされ、更に前記押し出し式空気チャンバが弁を通して前記ディスペンサーの外部の空気と連通する、空気ポンプと、
    を包含し、
    前記押し出し式液体チャンバおよび前記押し出し式空気チャンバは片手で操作可能なように前記押し出し式液体容器に取り付けられ、
    前記押し出し式液体チャンバが前記収縮容積から前記拡張容積へと拡張すると、前記液体の一部分が前記押し出し式液体チャンバ内へと引き込まれ、また、前記押し出し式液体チャンバが前記拡張容積から前記収縮容積へと収縮すると、前記押し出し式液体チャンバ内の前記液体の一部分が前記押し出し式液体チャンバ内から吐出されて、前記液体出口通路へと強制移動され、
    前記押し出し式空気チャンバが前記収縮容積から前記拡張容積へと拡張すると、空気が前記押し出し式空気チャンバ内へと引き込まれ、また前記押し出し式空気チャンバが前記拡張容積から前記収縮容積へと収縮すると、前記押し出し式空気チャンバ内の空気が前記押し出し式空気チャンバ内から吐出されて、前記空気出口通路へと強制移動され、
    前記空気出口通路を通して強制移動された空気と、前記液体出口通路を通して強制移動された液体とにより、空気および液体の混合物が前記混合チャンバにおいて生成されるようにした手持ち型ディスペンサー。
  2. 前記押し出し式液体チャンバは前記押し出し式空気チャンバに対向して配置され、これにより、前記液体ポンプを前記空気ポンプに向かって圧迫することにより、前記押し出し式液体チャンバおよび前記押し出し式空気チャンバの両方を同時に操作することができるようにされている、請求項1記載の手持ち型ディスペンサー。
  3. 前記押し出し式液体容器は頂部フィルムが底部フィルムに密着されて形成され、前記液体ポンプは前記頂部フィルムと関連され、また前記空気ポンプは前記底部フィルムと関連されている、請求項2記載の手持ち型ディスペンサー。
  4. 前記液体ポンプは前記頂部フィルムに取り付けられた液体ポンプベースを包含し、前記押し出し式液体チャンバは弾性液体ドームが前記液体ポンプベースに取り付けられて形成されている、請求項3記載の手持ち型ディスペンサー。
  5. 前記空気ポンプは前記底部フィルムに取り付けられた空気ポンプベースを包含し、前記押し出し式空気チャンバは弾性空気ドームが前記空気ポンプベースに取り付けられて形成されている、請求項4記載の手持ち型ディスペンサー。
  6. 前記液体出口通路は相互に接合された頂部フィルム部材および底部フィルム部材により形成されている、請求項5記載の手持ち型ディスペンサー
  7. 前記空気出口通路は相互に接合された頂部フィルム部材および底部フィルム部材により形成されている請求項6記載の手持ち型ディスペンサー。
  8. 前記液体は発泡可能な液体であり、これにより、前記混合チャンバにおける空気および液体の前記混合物により泡製品が生成されるようにした、請求項1記載の手持ち型ディスペンサー。
  9. 前記押し出し式液体チャンバは前記押し出し式空気チャンバにより少なくとも部分的に包囲されている請求項1記載の手持ち型ディスペンサー。
  10. 前記押し出し式液体チャンバは部分的に弾性液体ドームによって形成され、また前記押し出し式空気チャンバは部分的に弾性空気ドームによって形成され、前記弾性空気ドームは前記弾性液体ドームを包囲している、請求項1記載の手持ち型ディスペンサー。
  11. 更に、液体入口開口および液体出口開口を包含するチャンネルプレートを包含し、前記弾性液体ドームは前記液体入口開口および前記液体出口開口を包囲し、前記液体入口開口は前記押し出し式液体容器の内部と前記押し出し式液体チャンバとの間の連通を作り、また前記液体出口開口部は前記押し出し式液体チャンバと前記液体出口通路との間の連通を作っている、請求項10記載の手持ち型ディスペンサー。
  12. 更に、前記チャンネルプレートの前記液体入口開口に設けた一方向弁を包含し、前記一方向弁により、流体が前記液体入口開口を通して前記押し出し式液体チャンバ内へと流れることが可能となり、かつ、前記押し出し式液体チャンバの内部からの流体流れが前記液体入口開口を通過するのが回避されるようにした、請求項11記載の手持ち型ディスペンサー。
  13. 前記チャンネルプレートは空気出口開口を包含し、前記弾性空気ドームは前記空気出口開口を包囲し、前記空気出口開口は前記押し出し式空気チャンバと前記空気出口通路との間の連通を作っている、請求項11記載の手持ち型ディスペンサー。
  14. 前記弾性空気ドームは前記押し出し式空気チャンバと前記大気との間の連通を作る空気入口弁を包含している、請求項13記載の手持ち型ディスペンサー。
  15. 前記空気入口弁は、前記弾性空気ドームを通して延びて前記大気と前記押し出し式空気チャンバとの間を連通させる通路であり、これにより、前記通路は、ユーザによって塞がれることで前記空気入口弁を閉じ、また、ユーザによって選択的に塞がれないことで前記空気入口弁を開くようにした、請求項14記載の手持ち型ディスペンサー。
  16. 前記液体は発泡可能な液体であり、これにより、前記混合チャンバにおける空気および液体の前記混合物により泡製品が生成されるようにした、請求項15記載の手持ち型ディスペンサー。
JP2009244731A 2008-10-23 2009-10-23 個人使用用の手持ち型ディスペンサー Expired - Fee Related JP5546827B2 (ja)

Applications Claiming Priority (2)

Application Number Priority Date Filing Date Title
US12/288,785 2008-10-23
US12/288,785 US7984831B2 (en) 2008-10-23 2008-10-23 Handheld dispensers for personal use

Publications (2)

Publication Number Publication Date
JP2010100340A true JP2010100340A (ja) 2010-05-06
JP5546827B2 JP5546827B2 (ja) 2014-07-09

Family

ID=41572460

Family Applications (1)

Application Number Title Priority Date Filing Date
JP2009244731A Expired - Fee Related JP5546827B2 (ja) 2008-10-23 2009-10-23 個人使用用の手持ち型ディスペンサー

Country Status (13)

Country Link
US (1) US7984831B2 (ja)
EP (1) EP2179796B1 (ja)
JP (1) JP5546827B2 (ja)
KR (1) KR20100045390A (ja)
CN (1) CN101722122B (ja)
AU (1) AU2009227899B2 (ja)
BR (1) BRPI0904314A2 (ja)
CA (1) CA2683324A1 (ja)
DK (1) DK2179796T3 (ja)
ES (1) ES2443291T3 (ja)
MY (1) MY146327A (ja)
PT (1) PT2179796E (ja)
TW (1) TW201020030A (ja)

Cited By (3)

* Cited by examiner, † Cited by third party
Publication number Priority date Publication date Assignee Title
JP2013535382A (ja) * 2010-07-26 2013-09-12 ジョン シク ハン 二重パック
JP2019509030A (ja) * 2016-02-10 2019-04-04 エクスプロラメッド・エヌシー7・インコーポレイテッドExploramed Nc7, Inc. 搾乳容器アセンブリ及び方法
JP2022058163A (ja) * 2020-09-30 2022-04-11 富佳生技股▲ふん▼有限公司 液体移送装置

Families Citing this family (27)

* Cited by examiner, † Cited by third party
Publication number Priority date Publication date Assignee Title
US20110182652A1 (en) * 2010-01-22 2011-07-28 Hannah Chung Wearable Sanitizing Gel Dispenser, Kit, and Associated Methods
BR112013004938B8 (pt) 2010-09-02 2020-10-13 Kraft Foods Group Brands Llc recipientes para dispensar concentrados de bebidas
CN103347800B (zh) 2010-12-14 2016-07-06 卡夫食品集团品牌有限责任公司 用于在分配之前隔离液体的容器和方法
CA2773801C (en) 2011-04-08 2019-08-06 Gotohti.Com Inc. Dispenser with sound generators
US8820579B2 (en) * 2011-09-28 2014-09-02 Leonard B. Wood Fluid reservoir shell
US8988228B2 (en) * 2012-04-03 2015-03-24 Swipesense, Inc. Electronic module for tracking hand hygiene
US9060655B2 (en) 2012-06-13 2015-06-23 Swipesense, Inc. Dispenser for hand sanitizer
US11123153B2 (en) 2012-09-17 2021-09-21 Sage Products, Llc Method and system for ensuring and tracking hand hygiene compliance
US10121149B2 (en) 2012-09-17 2018-11-06 Sage Products, Llc Methods for ensuring and tracking hand hygiene compliance
FR3001719B1 (fr) * 2013-02-07 2016-02-05 Gb Dev Dispositif distributeur de fluide et procede de fabrication d'un tel dispositif.
FR3002215B1 (fr) * 2013-02-20 2015-03-20 Rexam Dispensing Smt Poche presentant une enveloppe souple delimitant un reservoir dans lequel un produit a distribuer est destine a etre conditionne
US20140252033A1 (en) * 2013-03-08 2014-09-11 Pouch Pac Innovations, Llc Fitment for flexible pouch
USD742137S1 (en) 2013-03-15 2015-11-03 Buckeye International, Inc. Dispenser for dispensing cleaning solutions
USD730167S1 (en) * 2013-05-21 2015-05-26 Ronald Burgess Container
US20160073833A1 (en) * 2014-09-12 2016-03-17 Gojo Industries, Inc. Multi-chamber refill unit and dispensers
USD773849S1 (en) 2015-03-13 2016-12-13 Buckeye International, Inc. Dispenser for dispensing a cleaning solution
KR101687341B1 (ko) * 2015-06-05 2016-12-16 (주)에이치앤비메디텍 의료용 흡인 장치 및 그 제조 방법
US10472162B2 (en) 2016-09-09 2019-11-12 The Clorox Company Continuous spray dispenser for highly corrosive and other low compatibility products
US10278549B1 (en) 2016-10-31 2019-05-07 Gpcp Ip Holdings Llc Counter-mounted skincare product dispenser
CA3058172C (en) * 2017-03-30 2023-05-23 Roger J. Laflamme Self sealing airless measured dispenser
CN107374466A (zh) * 2017-09-12 2017-11-24 广州尚功塑胶有限公司 一种按压式发泡器
IT201700115255A1 (it) * 2017-10-12 2019-04-12 Taplast Srl Sistema di erogazione di fluidi o miscele e dispositivo utilizzato in tale sistema.
IT201700115249A1 (it) * 2017-10-12 2019-04-12 Taplast Srl Sistema di erogazione di fluidi o miscele e dispositivo utilizzato in tale sistema.
CN110252565B (zh) * 2019-07-12 2020-11-06 李秀春 拖拽式消杀车
US12233428B2 (en) 2019-09-25 2025-02-25 Kao Corporation Dispenser
ES2854199A1 (es) * 2020-03-18 2021-09-20 Vilas Joaquin Sabaris Pulsera desinfectante mejorada
CN111674703B (zh) * 2020-06-18 2021-12-21 东莞市润科水墨有限公司 一种避免挤出溶液成块而造成表现效果差的涂料容器装置

Citations (2)

* Cited by examiner, † Cited by third party
Publication number Priority date Publication date Assignee Title
JP2004506511A (ja) * 2000-08-25 2004-03-04 バルワー エス.アー.エス. 組み込みポンプを備えたディスペンサ
JP2006517858A (ja) * 2003-02-18 2006-08-03 インクロ リミテッド ディスペンサーポンプ

Family Cites Families (22)

* Cited by examiner, † Cited by third party
Publication number Priority date Publication date Assignee Title
US3048878A (en) * 1959-07-15 1962-08-14 Kleer Site Corp Eyeglass liquid applicator device
US3471064A (en) * 1968-06-07 1969-10-07 Leeds & Micallef Foam generating and dispensing device
US6358239B1 (en) * 1992-01-24 2002-03-19 I-Flow Corporation Platen pump
US5911716A (en) * 1992-01-24 1999-06-15 I-Flow Corporation Platen pump
FR2778639B1 (fr) * 1998-05-18 2000-07-28 Valois Sa Dispositif de pulverisation du type echantillon
FR2791645B1 (fr) * 1999-04-02 2001-06-15 Valois Sa Echantillon de produit fluide destine a la presse
US6981614B2 (en) * 2000-06-06 2006-01-03 Decko Products Inc. Dispensing pouch
IL149677A0 (en) * 2002-05-15 2002-11-10 Amir Genosar Liquid dispenser
FR2844773B1 (fr) * 2002-09-24 2005-01-28 Jerome Boumnso Dispositif formant un conditionnement de produits visqueux a vidage integral par pompage manuel
US6855985B2 (en) * 2002-09-29 2005-02-15 Advanced Analogic Technologies, Inc. Modular bipolar-CMOS-DMOS analog integrated circuit & power transistor technology
WO2004041107A2 (de) * 2002-11-02 2004-05-21 Kettenbach Gmbh & Co. Kg Vorrichtung zum lagern und ausbringen viskoser substanzen
IL155033A0 (en) * 2003-03-23 2003-10-31 Silex Projects Ltd Flexible film package with integral dosing pump
FR2866321B1 (fr) * 2004-02-13 2007-05-18 Lablabo Poche souple deformable et dispositif pour le conditionnement et la distribution de produits fluides.
US7419322B2 (en) 2004-03-10 2008-09-02 Poly-D Llc Fluid dispensing device with metered delivery
US20060186140A1 (en) 2005-02-24 2006-08-24 Kanfer Joseph S Fluid dispensers for personal use
US7780039B2 (en) * 2006-04-28 2010-08-24 Buckeye International, Inc. Soap dispensing pump head with vacuum applying drip guard member
US20080077419A1 (en) * 2006-09-27 2008-03-27 Santiago Pamela M System And Method For Training Employees Of An Organization To Align Their Job Activities To Achieving The Organization's Strategic Objectives
WO2008073875A2 (en) * 2006-12-11 2008-06-19 Poly-D, Llc Dispensing stand-up pouch
US20080277419A1 (en) * 2006-12-21 2008-11-13 Chef'n Corporation Fluid Dispenser
WO2008103890A2 (en) 2007-02-23 2008-08-28 Poly-D, Llc Dual chambered fluid dispenser with mixing chamber
ES2396966T3 (es) 2007-03-14 2013-03-01 Sealed Air Corporation (Us) Dispensador con sistema de doble bomba
WO2008118830A1 (en) * 2007-03-26 2008-10-02 Poly-D, Llc Hanging liquid dispenser

Patent Citations (2)

* Cited by examiner, † Cited by third party
Publication number Priority date Publication date Assignee Title
JP2004506511A (ja) * 2000-08-25 2004-03-04 バルワー エス.アー.エス. 組み込みポンプを備えたディスペンサ
JP2006517858A (ja) * 2003-02-18 2006-08-03 インクロ リミテッド ディスペンサーポンプ

Cited By (4)

* Cited by examiner, † Cited by third party
Publication number Priority date Publication date Assignee Title
JP2013535382A (ja) * 2010-07-26 2013-09-12 ジョン シク ハン 二重パック
JP2019509030A (ja) * 2016-02-10 2019-04-04 エクスプロラメッド・エヌシー7・インコーポレイテッドExploramed Nc7, Inc. 搾乳容器アセンブリ及び方法
JP2021178180A (ja) * 2016-02-10 2021-11-18 ウィロー・イノベイションズ・インコーポレイテッドWillow Innovations, Inc. 搾乳容器アセンブリ及び方法
JP2022058163A (ja) * 2020-09-30 2022-04-11 富佳生技股▲ふん▼有限公司 液体移送装置

Also Published As

Publication number Publication date
EP2179796B1 (en) 2013-12-25
TW201020030A (en) 2010-06-01
PT2179796E (pt) 2014-03-11
ES2443291T3 (es) 2014-02-18
EP2179796A1 (en) 2010-04-28
KR20100045390A (ko) 2010-05-03
US20100102085A1 (en) 2010-04-29
CN101722122B (zh) 2014-01-01
BRPI0904314A2 (pt) 2010-11-09
AU2009227899A1 (en) 2010-05-13
AU2009227899B2 (en) 2015-10-29
HK1140982A1 (en) 2010-10-29
JP5546827B2 (ja) 2014-07-09
US7984831B2 (en) 2011-07-26
CN101722122A (zh) 2010-06-09
MY146327A (en) 2012-07-31
CA2683324A1 (en) 2010-04-23
DK2179796T3 (da) 2014-01-20

Similar Documents

Publication Publication Date Title
JP5546827B2 (ja) 個人使用用の手持ち型ディスペンサー
CN101596509B (zh) 空气活塞和拱顶泡沫泵
CN101273854B (zh) 具有固定分配管的泡沫肥皂分配器
EP2134616B1 (en) Dispenser with dual pump system
CN102762463B (zh) 具有可选储存器的分配器
JP5112337B2 (ja) 自己浄化式泡吐出装置および泡吐出方法
US7861895B2 (en) High velocity foam pump
JP2006517859A (ja) 分配ノズル
EP1503866B1 (en) Liquid dispenser
US8136700B2 (en) Dual chambered fluid dispenser with mixing chamber
US7762435B2 (en) Dispensing apparatus
HK1140982B (en) Handheld dispensers for personal use

Legal Events

Date Code Title Description
A621 Written request for application examination

Free format text: JAPANESE INTERMEDIATE CODE: A621

Effective date: 20121023

A977 Report on retrieval

Free format text: JAPANESE INTERMEDIATE CODE: A971007

Effective date: 20130930

A131 Notification of reasons for refusal

Free format text: JAPANESE INTERMEDIATE CODE: A131

Effective date: 20131008

A521 Request for written amendment filed

Free format text: JAPANESE INTERMEDIATE CODE: A523

Effective date: 20131129

TRDD Decision of grant or rejection written
A01 Written decision to grant a patent or to grant a registration (utility model)

Free format text: JAPANESE INTERMEDIATE CODE: A01

Effective date: 20140416

A61 First payment of annual fees (during grant procedure)

Free format text: JAPANESE INTERMEDIATE CODE: A61

Effective date: 20140514

R150 Certificate of patent or registration of utility model

Ref document number: 5546827

Country of ref document: JP

Free format text: JAPANESE INTERMEDIATE CODE: R150

LAPS Cancellation because of no payment of annual fees