JP2010099759A - ハンマー - Google Patents
ハンマー Download PDFInfo
- Publication number
- JP2010099759A JP2010099759A JP2008271326A JP2008271326A JP2010099759A JP 2010099759 A JP2010099759 A JP 2010099759A JP 2008271326 A JP2008271326 A JP 2008271326A JP 2008271326 A JP2008271326 A JP 2008271326A JP 2010099759 A JP2010099759 A JP 2010099759A
- Authority
- JP
- Japan
- Prior art keywords
- striking
- hit
- hitting
- hammer
- mass
- Prior art date
- Legal status (The legal status is an assumption and is not a legal conclusion. Google has not performed a legal analysis and makes no representation as to the accuracy of the status listed.)
- Granted
Links
- 229910001128 Sn alloy Inorganic materials 0.000 claims abstract description 44
- 239000010949 copper Substances 0.000 claims abstract description 31
- RYGMFSIKBFXOCR-UHFFFAOYSA-N Copper Chemical compound [Cu] RYGMFSIKBFXOCR-UHFFFAOYSA-N 0.000 claims abstract description 29
- 229910052802 copper Inorganic materials 0.000 claims abstract description 29
- 229910052793 cadmium Inorganic materials 0.000 claims abstract description 17
- BDOSMKKIYDKNTQ-UHFFFAOYSA-N cadmium atom Chemical compound [Cd] BDOSMKKIYDKNTQ-UHFFFAOYSA-N 0.000 claims abstract description 17
- 229910052787 antimony Inorganic materials 0.000 claims abstract description 16
- WATWJIUSRGPENY-UHFFFAOYSA-N antimony atom Chemical compound [Sb] WATWJIUSRGPENY-UHFFFAOYSA-N 0.000 claims abstract description 16
- ZLMJMSJWJFRBEC-UHFFFAOYSA-N Potassium Chemical compound [K] ZLMJMSJWJFRBEC-UHFFFAOYSA-N 0.000 claims abstract description 15
- 239000011591 potassium Substances 0.000 claims abstract description 15
- 229910052700 potassium Inorganic materials 0.000 claims abstract description 15
- 239000011358 absorbing material Substances 0.000 claims description 7
- 239000002131 composite material Substances 0.000 abstract description 12
- 239000006096 absorbing agent Substances 0.000 abstract description 6
- 230000035939 shock Effects 0.000 abstract description 5
- 230000000052 comparative effect Effects 0.000 description 48
- 239000011133 lead Substances 0.000 description 19
- 230000000694 effects Effects 0.000 description 17
- XEEYBQQBJWHFJM-UHFFFAOYSA-N Iron Chemical compound [Fe] XEEYBQQBJWHFJM-UHFFFAOYSA-N 0.000 description 13
- 229910001361 White metal Inorganic materials 0.000 description 11
- 239000010969 white metal Substances 0.000 description 11
- 229910052782 aluminium Inorganic materials 0.000 description 8
- XAGFODPZIPBFFR-UHFFFAOYSA-N aluminium Chemical compound [Al] XAGFODPZIPBFFR-UHFFFAOYSA-N 0.000 description 8
- 239000011734 sodium Substances 0.000 description 7
- 230000009466 transformation Effects 0.000 description 7
- DGAQECJNVWCQMB-PUAWFVPOSA-M Ilexoside XXIX Chemical compound C[C@@H]1CC[C@@]2(CC[C@@]3(C(=CC[C@H]4[C@]3(CC[C@@H]5[C@@]4(CC[C@@H](C5(C)C)OS(=O)(=O)[O-])C)C)[C@@H]2[C@]1(C)O)C)C(=O)O[C@H]6[C@@H]([C@H]([C@@H]([C@H](O6)CO)O)O)O.[Na+] DGAQECJNVWCQMB-PUAWFVPOSA-M 0.000 description 6
- ATJFFYVFTNAWJD-UHFFFAOYSA-N Tin Chemical compound [Sn] ATJFFYVFTNAWJD-UHFFFAOYSA-N 0.000 description 6
- 230000005540 biological transmission Effects 0.000 description 6
- 229910052742 iron Inorganic materials 0.000 description 6
- 229920005989 resin Polymers 0.000 description 6
- 239000011347 resin Substances 0.000 description 6
- 229910052708 sodium Inorganic materials 0.000 description 6
- 230000007704 transition Effects 0.000 description 6
- 239000003795 chemical substances by application Substances 0.000 description 4
- 229920001971 elastomer Polymers 0.000 description 4
- 229910052751 metal Inorganic materials 0.000 description 4
- 239000002184 metal Substances 0.000 description 4
- 238000000034 method Methods 0.000 description 4
- 239000005060 rubber Substances 0.000 description 4
- 239000011359 shock absorbing material Substances 0.000 description 4
- 229920001187 thermosetting polymer Polymers 0.000 description 4
- 239000010936 titanium Substances 0.000 description 4
- PXHVJJICTQNCMI-UHFFFAOYSA-N Nickel Chemical compound [Ni] PXHVJJICTQNCMI-UHFFFAOYSA-N 0.000 description 3
- 229920006311 Urethane elastomer Polymers 0.000 description 3
- 238000005266 casting Methods 0.000 description 3
- 239000007799 cork Substances 0.000 description 3
- 239000003365 glass fiber Substances 0.000 description 3
- 230000003647 oxidation Effects 0.000 description 3
- 238000007254 oxidation reaction Methods 0.000 description 3
- 244000043261 Hevea brasiliensis Species 0.000 description 2
- 239000004677 Nylon Substances 0.000 description 2
- XUIMIQQOPSSXEZ-UHFFFAOYSA-N Silicon Chemical compound [Si] XUIMIQQOPSSXEZ-UHFFFAOYSA-N 0.000 description 2
- RTAQQCXQSZGOHL-UHFFFAOYSA-N Titanium Chemical compound [Ti] RTAQQCXQSZGOHL-UHFFFAOYSA-N 0.000 description 2
- 239000000460 chlorine Substances 0.000 description 2
- 239000011651 chromium Substances 0.000 description 2
- 230000003247 decreasing effect Effects 0.000 description 2
- 239000012634 fragment Substances 0.000 description 2
- 238000009863 impact test Methods 0.000 description 2
- 239000011572 manganese Substances 0.000 description 2
- 239000000463 material Substances 0.000 description 2
- 239000000203 mixture Substances 0.000 description 2
- 229920003052 natural elastomer Polymers 0.000 description 2
- 229920001194 natural rubber Polymers 0.000 description 2
- 229920001778 nylon Polymers 0.000 description 2
- 229910052710 silicon Inorganic materials 0.000 description 2
- 239000010703 silicon Substances 0.000 description 2
- 229910052719 titanium Inorganic materials 0.000 description 2
- ZAMOUSCENKQFHK-UHFFFAOYSA-N Chlorine atom Chemical compound [Cl] ZAMOUSCENKQFHK-UHFFFAOYSA-N 0.000 description 1
- VYZAMTAEIAYCRO-UHFFFAOYSA-N Chromium Chemical compound [Cr] VYZAMTAEIAYCRO-UHFFFAOYSA-N 0.000 description 1
- PWHULOQIROXLJO-UHFFFAOYSA-N Manganese Chemical compound [Mn] PWHULOQIROXLJO-UHFFFAOYSA-N 0.000 description 1
- OAICVXFJPJFONN-UHFFFAOYSA-N Phosphorus Chemical compound [P] OAICVXFJPJFONN-UHFFFAOYSA-N 0.000 description 1
- 229910000831 Steel Inorganic materials 0.000 description 1
- NINIDFKCEFEMDL-UHFFFAOYSA-N Sulfur Chemical compound [S] NINIDFKCEFEMDL-UHFFFAOYSA-N 0.000 description 1
- 230000002745 absorbent Effects 0.000 description 1
- 239000002250 absorbent Substances 0.000 description 1
- 229910045601 alloy Inorganic materials 0.000 description 1
- 239000000956 alloy Substances 0.000 description 1
- 229910052785 arsenic Inorganic materials 0.000 description 1
- RQNWIZPPADIBDY-UHFFFAOYSA-N arsenic atom Chemical compound [As] RQNWIZPPADIBDY-UHFFFAOYSA-N 0.000 description 1
- 229910052797 bismuth Inorganic materials 0.000 description 1
- JCXGWMGPZLAOME-UHFFFAOYSA-N bismuth atom Chemical compound [Bi] JCXGWMGPZLAOME-UHFFFAOYSA-N 0.000 description 1
- 229910052801 chlorine Inorganic materials 0.000 description 1
- 229910052804 chromium Inorganic materials 0.000 description 1
- 230000007423 decrease Effects 0.000 description 1
- 235000019589 hardness Nutrition 0.000 description 1
- 229910052748 manganese Inorganic materials 0.000 description 1
- 229910052759 nickel Inorganic materials 0.000 description 1
- 229910052698 phosphorus Inorganic materials 0.000 description 1
- 239000011574 phosphorus Substances 0.000 description 1
- 230000002265 prevention Effects 0.000 description 1
- 239000010959 steel Substances 0.000 description 1
- 239000011593 sulfur Substances 0.000 description 1
- 229910052717 sulfur Inorganic materials 0.000 description 1
- 230000002195 synergetic effect Effects 0.000 description 1
- JBQYATWDVHIOAR-UHFFFAOYSA-N tellanylidenegermanium Chemical compound [Te]=[Ge] JBQYATWDVHIOAR-UHFFFAOYSA-N 0.000 description 1
Images
Landscapes
- Percussive Tools And Related Accessories (AREA)
Abstract
【解決手段】本発明のハンマー1は、打撃部5を、4.5〜9.5質量%のアンチモンと、2.5〜6.0質量%のカドミウムと、0.2〜2.5質量%の銅と、0.3〜2.5質量%のカリウムとを含むスズ合金によって形成した。
【選択図】図1
Description
前記スズ合金において、アンチモンの含有割合が4.5質量%未満では、前記アンチモンによる、先に説明した、熱硬化剤として機能してスズ合金を応力硬化させて、打撃部を、打撃によって変形しにくくする効果が得られない。一方、アンチモンの含有割合が9.5質量%を超える場合には、前記アンチモンによる、熱硬化剤としての機能が強くなりすぎる上、相対的に、スズの含有割合が少なくなるため、打撃部が脆くなってしまい、前記打撃部の、変形によって膨らんだ部分が破損するのを防止する効果が得られない。
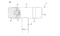
受台4の、受面4aの周縁には、前記受面4aを囲んで環状の突出部9が形成されている。また受台4は、前記受面4aと背向させて取付面24を有すると共に、前記取付面24から打撃面5bと反対の方向に突設された突出部25を備えている。また、突出部25の、突出方向の途中の位置には通孔10が形成されている。シリンダ13は、一端が前記取付面24に当接される筒状の本体26と、前記本体26の、取付面24側の端部に内挿され、図示していないが、例えば溶接等によって本体26に固定された、スライドハンマー14からの衝撃を受台4に伝えるための、有底筒状の衝撃伝達体27とを備えている。
スズを主成分とし、表1の各成分を含むスズ合金を調製し、前記スズ合金を用いて、先に説明した鋳込み法によって、図1に示す形状を有する打撃部5を、受台4と一体に形成した。前記打撃部5の、打撃方向の長さは30mm、径は47mmとした。なお、実施例1、比較例1では、その他の成分としてアルミニウム、鉛、鉄、ケイ素等が検出された。
スズ合金に代えて鉛(比較例2)、銅(比較例3)、またはホワイトメタル(WJ4、比較例4)を用いたこと以外は実施例1と同様にして、打撃部5を、受台4と一体に形成した。
(打撃試験)
実施例1、2、比較例1〜4で受台4と一体に形成した打撃部5を、図4に示すように、ヘッド取付部3の両端に、先に説明した取り付け構造によって取り付けて打撃試験用のヘッド8を用意し、前記ヘッド8を、図4に示す試験装置9の、定滑車10の周囲にかけたロープ11の一端に固定した保持具12によって保持した。
E=W×h (1)
〔式中Wはヘッド8の質量(kg)、hは、金床13の上面から、ヘッド8の一方の打撃部5の打撃面までの高さhである。〕
で求められる、重さWを1kgに調整したヘッド8のみを、高さh=1mに設定した際の衝突エネルギーEの3倍となるように、前記ヘッド8と保持具12の合計の質量は3kgに調整したが、実際の衝突エネルギーは、定滑車10の回転抵抗の影響、および高さhのばらつきの影響等により、前記衝突エネルギーEの2〜3.2倍であった。打撃部の、打撃方向の長さの変化を図5、径の変化を図6に示す。
、長さが8mmまで短くなると共に、径が71mmまで膨らんだことから、やはり、僅かな打撃の繰り返しで大きく変形することが判った。さらに、ホワイトメタルで形成した比較例4の打撃部は、800回の打撃で、長さが11mmまで短くなると共に、径が72mmまで膨らんだことから、前記鉛や銅ほどではないものの、やはり打撃の繰り返しで大きく変形することが判った。
表2の各成分を含むスズ合金を用いたこと以外は実施例1と同様にして、打撃部5を、受台4と一体に形成した。その他の成分としてはアルミニウム、鉛、鉄、ナトリウム等が検出された。前記実施例3、4、比較例5〜7で受台4と一体に形成した打撃部5を用いて、先の打撃試験を行った。打撃部の、打撃方向の長さの変化を図7、径の変化を図8に示す。
表3の各成分を含むスズ合金を用いたこと以外は実施例1と同様にして、打撃部5を、受台4と一体に形成した。その他の成分としてはアルミニウム、鉛、鉄、ナトリウム等が検出された。前記比較例8〜10で受台4と一体に形成した打撃部5を用いて、先の打撃試験を行った。打撃部の、打撃方向の長さの変化を図9、径の変化を図10に、それぞれ実施例3、4の結果と合わせて示す。
表4の各成分を含むスズ合金を用いたこと以外は実施例1と同様にして、打撃部5を、受台4と一体に形成した。その他の成分としてはアルミニウム、鉛、鉄、ナトリウム等が検出された。前記比較例11、12で受台4と一体に形成した打撃部5を用いて、先の打撃試験を行った。打撃部の、打撃方向の長さの変化を図11、径の変化を図12に、それぞれ実施例3、4の結果と合わせて示す。
表5の各成分を含むスズ合金を用いたこと以外は実施例1と同様にして、打撃部5を、受台4と一体に形成した。その他の成分としてはアルミニウム、鉛、鉄、ナトリウム等が検出された。前記実施例5、6で受台4と一体に形成した打撃部5を用いて、先の打撃試験を行った。打撃部の、打撃方向の長さの変化を図13、径の変化を図14に示す。
表6の各成分を含むスズ合金を用いたこと以外は実施例1と同様にして、打撃部5を、受台4と一体に形成した。その他の成分としてはアルミニウム、鉛、鉄、ナトリウム等が検出された。
(実施例8)
実施例1で使用したのと同じ配合のスズ合金を用いて、あらかじめ衝撃吸収材7を埋設するための孔を有する打撃部5を形成した。そして、前記打撃部5の孔内に、ウレタンゴム製の衝撃吸収材7を挿入した後、孔を塞ぐように受台4と打撃部5とを組み立てて、図2に示すように、前記衝撃吸収材7を埋設した打撃部5と、受台4との結合体を得た。
2 柄
3 ヘッド取付部
4 受台
5 打撃部
6 ロールピン
7 衝撃吸収材
Claims (4)
- 4.5〜9.5質量%のアンチモンと、2.5〜6.0質量%のカドミウムと、0.2〜2.5質量%の銅と、0.3〜2.5質量%のカリウムとを含むスズ合金からなる打撃部を備えることを特徴とするハンマー。
- アンチモンの含有割合が7.9〜8.4質量%、カドミウムの含有割合が3.5〜4.4質量%、銅の含有割合が1.0〜1.6質量%、カリウムの含有割合が0.8〜1.8質量%である請求項1に記載のハンマー。
- 打撃部中に衝撃吸収材が埋設されている請求項1または2に記載のハンマー。
- 先端に打撃部を備えたシリンダと、前記シリンダに対して抜き挿し可能に設けられたスライドハンマーとを備え、前記打撃部を被打撃物に当接させた状態で、スライドハンマーを、シリンダによって案内しながら打撃部に背後から衝突させることで、打撃部によって被打撃物を打撃するスライド式のハンマーである請求項1ないし3のいずれかに記載のハンマー。
Priority Applications (1)
| Application Number | Priority Date | Filing Date | Title |
|---|---|---|---|
| JP2008271326A JP4323556B1 (ja) | 2008-10-21 | 2008-10-21 | ハンマー |
Applications Claiming Priority (1)
| Application Number | Priority Date | Filing Date | Title |
|---|---|---|---|
| JP2008271326A JP4323556B1 (ja) | 2008-10-21 | 2008-10-21 | ハンマー |
Publications (2)
| Publication Number | Publication Date |
|---|---|
| JP4323556B1 JP4323556B1 (ja) | 2009-09-02 |
| JP2010099759A true JP2010099759A (ja) | 2010-05-06 |
Family
ID=41149051
Family Applications (1)
| Application Number | Title | Priority Date | Filing Date |
|---|---|---|---|
| JP2008271326A Expired - Fee Related JP4323556B1 (ja) | 2008-10-21 | 2008-10-21 | ハンマー |
Country Status (1)
| Country | Link |
|---|---|
| JP (1) | JP4323556B1 (ja) |
Families Citing this family (1)
| Publication number | Priority date | Publication date | Assignee | Title |
|---|---|---|---|---|
| CN104440791A (zh) * | 2014-12-09 | 2015-03-25 | 中船动力有限公司 | 钳工作业锤击棒 |
-
2008
- 2008-10-21 JP JP2008271326A patent/JP4323556B1/ja not_active Expired - Fee Related
Also Published As
| Publication number | Publication date |
|---|---|
| JP4323556B1 (ja) | 2009-09-02 |
Similar Documents
| Publication | Publication Date | Title |
|---|---|---|
| EP1894681A1 (en) | A Manually Operable Impact Tool and a Method for Making a Manually Operable Impact Tool | |
| US11559879B2 (en) | Power tool | |
| EP1955824A3 (en) | Impact power tool | |
| MX2012004759A (es) | Ensamble de cabeza y mango de martillo. | |
| SE510427C2 (sv) | Hammare med motvikt i ändan av skaftet | |
| JP4323556B1 (ja) | ハンマー | |
| WO2004113007A3 (en) | Filler composition for high yield strength base metals | |
| US7077033B2 (en) | Socket wrench for power tool | |
| ES2259716T3 (es) | Herramienta de impacto con cabezal antiesquirlas. | |
| JP4473621B2 (ja) | アイアン型ゴルフクラブヘッド及びアイアン型ゴルフクラブセット | |
| KR101644616B1 (ko) | 브레이커의 프론트 헤드 보호용 충격 흡수 장치 | |
| JP3151899U (ja) | ハンマー | |
| WO2008094134A3 (en) | Combination of impact tool and shaped relatively lower modulus material | |
| DE102011079367A1 (de) | Schlagwerkvorrichtung | |
| JP4209454B1 (ja) | ハンマー | |
| US2337127A (en) | Metal stamping die | |
| JP2006325897A (ja) | ドライバートレーニングマシン | |
| KR20060060905A (ko) | 동망치의 제조방법 | |
| CA3193787A1 (en) | Dead blow hammer head | |
| DE102005006742A1 (de) | Gesenkschmiede-Hammer | |
| US2355641A (en) | Soft hammer | |
| JP2006000461A (ja) | ゴルフクラブとその製造方法 | |
| DE270749C (ja) | ||
| TW202035077A (zh) | 敲打工具 | |
| CN200957550Y (zh) | 多用加力手锤 |
Legal Events
| Date | Code | Title | Description |
|---|---|---|---|
| TRDD | Decision of grant or rejection written | ||
| A01 | Written decision to grant a patent or to grant a registration (utility model) |
Free format text: JAPANESE INTERMEDIATE CODE: A01 Effective date: 20090528 |
|
| A01 | Written decision to grant a patent or to grant a registration (utility model) |
Free format text: JAPANESE INTERMEDIATE CODE: A01 |
|
| A61 | First payment of annual fees (during grant procedure) |
Free format text: JAPANESE INTERMEDIATE CODE: A61 Effective date: 20090604 |
|
| R150 | Certificate of patent or registration of utility model |
Free format text: JAPANESE INTERMEDIATE CODE: R150 |
|
| FPAY | Renewal fee payment (event date is renewal date of database) |
Free format text: PAYMENT UNTIL: 20150612 Year of fee payment: 6 |
|
| R250 | Receipt of annual fees |
Free format text: JAPANESE INTERMEDIATE CODE: R250 |
|
| R250 | Receipt of annual fees |
Free format text: JAPANESE INTERMEDIATE CODE: R250 |
|
| R250 | Receipt of annual fees |
Free format text: JAPANESE INTERMEDIATE CODE: R250 |
|
| LAPS | Cancellation because of no payment of annual fees |
