JP2010099395A - Mri装置 - Google Patents

Mri装置 Download PDF

Info

Publication number
JP2010099395A
JP2010099395A JP2008275557A JP2008275557A JP2010099395A JP 2010099395 A JP2010099395 A JP 2010099395A JP 2008275557 A JP2008275557 A JP 2008275557A JP 2008275557 A JP2008275557 A JP 2008275557A JP 2010099395 A JP2010099395 A JP 2010099395A
Authority
JP
Japan
Prior art keywords
top plate
magnetic field
subject
moving
motor
Prior art date
Legal status (The legal status is an assumption and is not a legal conclusion. Google has not performed a legal analysis and makes no representation as to the accuracy of the status listed.)
Granted
Application number
JP2008275557A
Other languages
English (en)
Other versions
JP5305833B2 (ja
Inventor
Takuhiro Osawa
卓浩 大澤
Current Assignee (The listed assignees may be inaccurate. Google has not performed a legal analysis and makes no representation or warranty as to the accuracy of the list.)
Toshiba Corp
Canon Medical Systems Corp
Original Assignee
Toshiba Corp
Toshiba Medical Systems Corp
Priority date (The priority date is an assumption and is not a legal conclusion. Google has not performed a legal analysis and makes no representation as to the accuracy of the date listed.)
Filing date
Publication date
Application filed by Toshiba Corp, Toshiba Medical Systems Corp filed Critical Toshiba Corp
Priority to JP2008275557A priority Critical patent/JP5305833B2/ja
Publication of JP2010099395A publication Critical patent/JP2010099395A/ja
Application granted granted Critical
Publication of JP5305833B2 publication Critical patent/JP5305833B2/ja
Active legal-status Critical Current
Anticipated expiration legal-status Critical

Links

Images

Landscapes

  • Magnetic Resonance Imaging Apparatus (AREA)

Abstract

【課題】天板を移動させながら天板上の被検体を撮影する場合において、天板の移動速度を安定させることができるMRI装置を提供することである。
【解決手段】MRI装置において、被検体Pを載せる天板12と、天板12を移動させるマイクロステップ駆動方式のステッピングモータ13と、被検体Pに印加する静磁場を発生する静磁場発生部4と、被検体Pに印加する傾斜磁場を発生する傾斜磁場発生部5と、被検体Pに印加するRFパルスを発生するRFパルス発生部6と、被検体Pから発生するMR信号を受信するMR信号受信部7と、被検体Pを撮影する撮影条件を入力する入力部16と、入力された撮影条件に応じてステッピンクモータ13による天板12の移動速度を変更する移動速度制御部15と、を備える。
【選択図】 図1

Description

本発明は、天板に載せられた被検体を撮影するMRI装置に関する。
磁気共鳴画像(MRI)装置は、撮影領域に位置する被検体に対して静磁場と傾斜磁場とRF(高周波)パルスとを印加し、被検体から発生するMR信号(磁気共鳴信号)を受信部で受信し、受信したMR信号をコンピュータ処理することにより被検体のMRI画像を得る装置である。
このようなMRI装置においては、被検体を載せる天板を備えた寝台が設けられ、天板は、被検体を撮影領域内と撮影領域外とに移動させる向きに往復移動される。
天板を移動させる天板駆動機構としては、下記特許文献1に記載されているように、寝台の設置面積を小さく抑えることができ、及び、天板の移動距離を大きくして被検体の広い範囲を撮影可能とするものが種々提案されている。
従来のMRI装置における天板の駆動と撮影タイミングとの関係は、天板上の被検体が撮影領域に位置するまで天板を移動させ、被検体が撮影領域に移動した場合に天板の移動を停止させ、天板を停止させた状態で撮影を行なっている。
このため、天板の移動に関しては、天板を撮影領域で正確に停止させることができればよく、天板の移動速度のばらつきに関しては制約が少ない。そこで、天板を移動させる動力源としては、サーボモータ、ACモータ、DCモータ、ステッピングモータ等の多様なものが使用されている。
しかし、天板の移動を停止した状態で天板上の被検体を撮影する場合には、撮影領域における天板の移動方向に沿った両端部では、静磁場の不均一性や傾斜磁場の非直線性のために得られるMRI画像の画質が低下するという問題がある。また、移動中は撮影を休止しているために効率が悪い。
そこで、天板を移動させながら被検体を撮影し、撮影領域を天板の移動方向に沿った狭い範囲とすれば、撮影領域の中心付近であって静磁場が安定した範囲内で撮影することができ、高画質のMRI画像を得ることができる。また、移動中も撮影を行なうため、休止時間がなく効率が良い。
なお、ステッピンクモータを使用して天板を移動させるMRI装置においては、天板上の被検体を撮影位置に移動させるための天板の移動速度は、個々のMRI装置において1パターンのみが設定されている。
特開2007−195954号公報
しかしながら、天板を移動させながら天板上の被検体を撮影する場合において、天板の移動速度にばらつきが有ると、得られるMRI画像の画質が低下する。
本発明はこのような課題を解決するためになされたもので、その目的は、天板を移動させながら天板上の被検体を撮影する場合において、天板の移動速度を安定させることができるMRI装置を提供することである。
請求項1記載の発明の特徴は、MRI装置において、被検体を載せる天板と、前記天板を移動させるマイクロステップ駆動方式のステッピングモータと、前記被検体に印加する静磁場を発生する静磁場発生部と、前記被検体に印加する傾斜磁場を発生する傾斜磁場発生部と、前記被検体に印加するRFパルスを発生するRFパルス発生部と、前記被検体から発生するMR信号を受信するMR信号受信部と、前記被検体を撮影する撮影条件を入力する入力部と、入力された前記撮影条件に応じて前記ステッピンクモータによる前記天板の移動速度を変更する移動速度制御部と、を備えることである。
本発明によれば、天板を移動させながら天板上の被検体を撮影する場合において、天板の移動速度を遅くしたい場合はステッピングモータの駆動パルス周波数を変えずにステップ角を変更することにより、高速時でも低速時でも移動速度変動を抑制でき、移動速度設定の微調整が必要な場合は駆動パルス周波数の変更で行なう。
以下、本発明の一実施の形態に係るMRI装置について、図面を用いて説明する。図1は、MRI装置のブロック図を示しており、MRI装置は、ガントリ1と寝台2とを備えている。ガントリ1は、後述する磁場発生部や送受信用のコイルを外装ケース1aによって囲むことにより形成されている。
ガントリ1の中心部には、被検体Pが配置される撮影領域3が形成されている。ガントリ1内における撮影領域3の周囲には、静磁場発生部4と、傾斜磁場発生部5と、RFパルス発生部である送信コイル6と、MR信号受信部である受信コイル7とが設けられている。
静磁場発生部4は、撮影領域3内に配置される被検体Pに印加する静磁場を発生する。この静磁場発生部4としては、永久磁石や電磁石を用いることができる。静磁場発生部4として電磁石を用いる場合には、電磁石に電流を供給する静磁場電源を設ける。
傾斜磁場発生部5は、撮影領域3内に配置される被検体Pに印加する傾斜磁場を発生する。この傾斜磁場発生部5は、互いに直交するX軸方向、Y軸方向、Z軸方向のそれぞれに対応した3組のコイルを組み合わせて形成されている。傾斜磁場発生部5には、傾斜磁場発生部5を構成する3組のコイルのそれぞれに対してパルス電流を供給する傾斜磁場電源8が接続されている。
送信コイル6は、撮影領域3内に配置される被検体Pに印加するRFパルスを発生する。送信コイル6は、送信部9から供給されるRFパルス信号に応じてRFパルスを発生する。
受信コイル7は、被検体Pから発生するMR信号を受信し、受信したMR信号を受信部10に送る。
傾斜磁場電源8と送信部9と受信部10とには、これらのタイミングを一括して制御するシーケンス制御部11が接続されている。
寝台2には、被検体Pを載せる天板12が設けられている。天板12は、天板12に載せられた被検体Pをガントリ1の撮影領域3内と撮影領域3外とに移動させる水平方向向きに往復移動可能に設けられている。天板12を往復移動させる駆動部として、マイクロステップ駆動方式のステッピングモータ13が用いられている。ステッピンクモータ13の回転軸には駆動プーリ(図示せず)が連結され、この駆動プーリと天板11の移動方向に沿って配置された複数の従動プーリ(図示せず)との間にタイミングベルト(図示せず)が巻き掛けられている。タイミングベルトの一部は、天板12に連結されている。タイミングベルトの一部が天板12に連結されていることにより、ステッピンクモータ13が正転又は逆転することに伴い天板12が往復移動する。ステッピンクモータ13には、ステッピングモータ13を駆動するモータドライバ14が入出力ケーブル15を介して接続されている。
シーケンス制御部11とモータドライバ14とは、主制御部16に接続されている。主制御部16は、MRI装置の各部を制御し、及び、その制御の一部である天板12の移動速度を変更する移動速度制御部として機能する。さらに、この主制御部16には、入力部17と表示部18とが接続されている。
入力部17からは、MRI装置を駆動するための各種の条件、例えば、被検体Pを撮影する撮影条件が入力される。この撮影条件としては、スピンエコー系、フィールドエコー系、IR系などの撮影シーケンスの種類や、有効撮影領域(FOV)、マトリクスのサイズ、RFパルスを印加する間隔である繰り返し時間(TR)等が挙げられる。
表示部18には、受信コイル7で受信されたMR信号に基づいて主制御部16において作成されたMRI画像が表示される。
図2は、マイクロステップ駆動方式のステッピングモータ13における、駆動パルス周波数と回転速度との関係を示すグラフである。なお、図2における(1)のグラフは、ステッピングモータ13の1ステップ当りの回転角(ステップ角)が0.72°の場合を示し、図2における(2)のグラフは、ステップ角が0.72°/5(=0.144°)の場合を示している。図2に示すグラフから分かるように、ステップ角を小さくすると回転速度が遅くなり、また、駆動パルス周波数を大きくすると回転速度が速くなる。
図3は、マイクロステップ駆動方式のステッピンクモータ13におけるステップ角の変化の様子を示すグラフである。図3における(1)のグラフは、ステップ角が0.72°で、及び、1ステップ当りの回転時間が200msである場合を示している。図3における(2)のグラフは、ステップ角を0.72°/5(=0.144°)とし、及び、1ステップ当りの回転時間を1/5(40ms)とした場合を示している。
図3における(1)、(2)のグラフから、ステッピングモータ13の特性として、1ステップ当りのステップ角は、回転の開始直後に大きく変化し、その後は回転が終了までほとんど変化しないことがわかる。即ち、ステッピンクモータ13は、1ステップの回転内において、回転速度がばらつきを生じていることが、例えば、ステップ角を1/5にすれば、回転速度のばらつきも1/5になることが分かる。
もし、同じステップ角で回転速度を1/5にした場合、回転速度のばらつきは5倍になってしまう。そこで、図3における(2)のグラフに示すように、例えば回転速度を1/5にしたい場合は、同じ駆動パルス周波数でステップ角を1/5にすると、1ステップの回転内における回転速度のばらつきが小さくなり、回転速度のばらつきは5倍の駆動パルス周波数のときと同じになる。ステップ角をさらに小さくし、例えば、0.72°/50(=0.0144°)にすると、ステッピンクモータ13のステップ角の変化の様子は、図3における(3)のグラフに示すように略直線状となり、ステッピングモータ13の回転がさらに滑らかになる。
天板12を移動させながら撮影する場合の移動速度は、撮影シーケンスの種類によってほぼ定まるが、「有効撮影領域(FOV)」、「マトリクスとのサイズ」、「RFパルスを印加する間隔である繰り返し時間(TR)」等により多少の変更が必要となる。
そこで、撮影シーケンスの種類によってステッピングモータ13のステップ角を設定し、その他の条件により設定変更は駆動パルス周波数の変更で行なう。
MRI装置は、被検体Pから発生するMR信号を受信し、その受信結果に基づいてMRI画像を作成するものである。そして、被検体Pから発生するMR信号は微小な電波であるため、電磁波ノイズの影響を受け易く、電磁波ノイズの影響により作成されるMRI画像の画質が低下する。
そこで、このMRI装置では、電磁波ノイズの影響を抑えるため、以下に説明する種々の手段が講じられている。
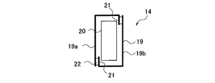
まず、入出力ケーブル15を介してステッピンクモータ13に接続されるモータドライバ14は電磁波ノイズを発生しやすい部分であるため、このモータドライバ14が電磁波シールドされている。モータドライバ14は、図4に示すように、外装ケース19内に回路基板20を収容して構成されている。外装ケース19は、金属性の一対のケース19a、19bを連結することにより形成されている。ケース19a、19bには、ケース19a、19bを連結した場合に相手側のケース19b、19aに対して平面部分を対向させる折り返し21が形成されている。さらに、ケース19a、19bを連結した場合に、折り返し21とこの折り返し21が対向する相手側のケース19b、19aとの間にガスケット22が介装されている。ガスケット22は、金属繊維を編むことにより形成されている。
このように、ケース19a、19bに折り返し21を形成し、ケース19a、19bを連結する場合に、ケース19a、19bの折り返し21と相手側のケース19b、19aとの間にガスケット22を介装することにより、モータドライバ14が電磁波シールドされ、回路基板20から発生する電磁波ノイズがモータドライバ14外に漏れ出すことが抑制される。これにより、モータドライバ14から発生した電磁波ノイズが撮像領域3内に入り込むことが抑制され、電磁波ノイズの影響によるMRI画像の画質低下が抑制される。
また、図5に示すように、外装ケース19の端部にコネクタ23が設けられ、このコネクタ23を覆う金属製のカバー24がガスケット25を介して外装ケース19の端部に嵌合されている。ガスケット25は、金属繊維を編むことにより形成されている。カバー24には、入出力ケーブル15を通す穴26が形成され、入出力ケーブル15の端部に設けられたコネクタ27がコネクタ23に接続されている。穴26は、入出力ケーブル18の直径より僅かに大きく形成されている。
このように、コネクタ23、27の接続部分がカバー24により覆われ、入出力ケーブル15がカバー24に形成された穴26に挿通され、さらに、カバー24と外装ケース19との嵌合部分にガスケット25が介装されることにより、モータドライバ14のコネクタ23と入出力ケーブル15のコネクタ27との接続部分の周囲が電磁波シールドされる。これにより、モータドライバ14から発生する電磁波ノイズがモータドライバ14外に漏れ出すことが抑制され、及び、漏れ出した電磁波ノイズが撮像領域3内に入り込むことが抑制され、電磁波ノイズの影響によるMRI画像の画質低下が抑制される。
さらに、図5に示すように、モータドライバ14内の回路基板20と外装ケース19とがアース線28により接続され、回路基板20のグランドパターンと外装ケース19のグランドパターンとが共通化されている。これにより、回路基板20から発生する電磁波ノイズが抑制される。
モータドライバ14は、図1に示すように、天板12の移動方向である静磁場発生部4の長手方向の側方であって、この長手方向の略中央位置に配置されている。静磁場発生部4は、永久磁石又は電磁石のいずれを使用している場合であっても金属が使用されており、電磁波ノイズが撮影領域3内に入り込むことに対する電磁波シールド効果を有する。このため、この静磁場発生部4の長手方向の側方にモータドライバ14を配置することにより、モータドライバ14から発生する電磁波ノイズが撮影領域3内に入り込むことが静磁場発生部4により抑制される。さらに、モータドライバ14を静磁場発生部4の長手方向の略中央部に配置することにより、モータドライバ14から発生した電磁波ノイズが撮影領域3の両端側(静磁場発生部4の両端側)の開口部分に回り込んで撮影領域3内に入り込むことが抑制される。
なお、モータドライバ14を配置する位置は、静磁場発生部4の外周側と外装ケース1aの内周側との間であることが好適であるが、外装ケース1aの外周側に配置してもよい。
このような構成において、このMRI装置においては、天板12上に載せられた被検体Pを撮影する場合に、2つの方法をとることができる。1つは、被検体Pが撮影領域3内の所定位置に位置するまで天板12を移動させ、天板12の移動を停止させた後に撮影する方法であり、従来から行なわれている方法である。他の1つは、天板12を移動させながら撮影する方法である。
天板12の移動を停止させた状態で被検体Pを撮影する場合には、ステッピングモータ13を駆動させる1ステップ内における天板12の移動速度にばらつきが生じても、何ら問題はない。
一方、天板12を移動させながら撮影する場合には、ステッピングモータ13を駆動させる1ステップ内における天板12の移動速度にばらつきが生じると、撮影されたMRI画像の画質が低下する。
そこで、図2における(2)のグラフ、及び、図3における(2)のグラフに示すように、ステッピングモータ13のステップ角を小さくしている。これにより、ステッピンクモータ13の駆動パルス周波数が同じであれば、天板12の移動速度が遅くなるが、1ステップ内における天板12の移動速度のばらつきが小さくなり、被検体Pを撮影して得られるMRI画像の画質が高くなる。
しかも、このステップ角は、被検体Pを撮影する撮影条件の一つである撮影シーケンスの種類に基づいて予め設定されている。このため、入力部16から入力される撮影シーケンスの種類に応じた最適なステップ角で天板12が移動され、移動している天板12上の被検体Pが撮影される。
さらに、入力部16から入力される被検体Pを撮影する撮影条件である、有効撮影領域(FOV)、マトリクスのサイズ、RFパルスを印加する間隔である繰り返し時間(TR)等により、ステッピングモータ13の駆動パルス周波数が自動的に設定される。これにより、天板12の移動速度のばらつきを抑制することができるとともに、天板12の移動速度を可能な範囲で上げることができ、被検体Pの撮影効率を上げることができる。
また、このMRI装置では、天板12を移動させながら撮影を行なうため、天板12を移動させることにより発生する電磁波ノイズ、特に、モータドライバ14から発生する電磁波ノイズが撮影領域3内に入り込むことを抑制する必要がある。
そこで、図4ないし図6に示すように、モータドライバ14を電磁波シールドし、モータドライバ14から発生した電磁波ノイズが撮影領域3内に入り込むことを抑制している。
図4ないし図6に示すようにモータドライバ14を電磁波シールドすることにより、モータドライバ14から発生した電磁波ノイズが撮影領域3内に入り込むことが抑制され、被検体Pを撮影して得られるMRI画像の画質が高くなる。
本発明の一実施の形態に係るMRI装置の概略を示すブロック図である。 マイクロステップ駆動方式のステッピングモータにおける、駆動パルス周波数と回転速度との関係を示すグラフである。 マイクロステップ駆動方式のステッピンクモータにおける1ステップ当りの回転角度の変化の様子を示すグラフである。 モータドライバにおける電磁波シールドの構造を示す断面図である。 モータドライバにおける電磁波シールドの構造を示す断面図である。 モータドライバにおける電磁波シールドの構造を示す断面図である。
符号の説明
4…天板
5…静磁場発生部
6…傾斜磁場発生部
7…MR信号受信部
12…天板
13…マイクロステップ駆動方式のステッピングモータ
15…移動速度制御部
16…入力部
P…被検体

Claims (4)

  1. 被検体を載せる天板と、
    前記天板を移動させるマイクロステップ駆動方式のステッピングモータと、
    前記被検体に印加する静磁場を発生する静磁場発生部と、
    前記被検体に印加する傾斜磁場を発生する傾斜磁場発生部と、
    前記被検体に印加するRFパルスを発生するRFパルス発生部と、
    前記被検体から発生するMR信号を受信するMR信号受信部と、
    前記被検体を撮影する撮影条件を入力する入力部と、
    入力された前記撮影条件に応じて前記ステッピンクモータによる前記天板の移動速度を変更する移動速度制御部と、
    を備えることを特徴とするMRI装置。
  2. 前記移動速度の変更は、前記ステッピンクモータの駆動パルス周波数を変更することにより行われると共にステップ角を変更することによっても行なわれることを特徴とする請求項1記載のMRI装置。
  3. 前記ステッピンクモータを駆動するモータドライバが設けられ、このモータドライバから発生する電磁波ノイズがシールドされていることを特徴とする請求項1又は2記載のMRI装置。
  4. 前記ステッピンクモータを駆動するモータドライバが設けられ、このモータドライバが前記静磁場発生部の長手方向の側方に配置されていることを特徴とする請求項1又は2記載のMRI装置。
JP2008275557A 2008-10-27 2008-10-27 Mri装置 Active JP5305833B2 (ja)

Priority Applications (1)

Application Number Priority Date Filing Date Title
JP2008275557A JP5305833B2 (ja) 2008-10-27 2008-10-27 Mri装置

Applications Claiming Priority (1)

Application Number Priority Date Filing Date Title
JP2008275557A JP5305833B2 (ja) 2008-10-27 2008-10-27 Mri装置

Publications (2)

Publication Number Publication Date
JP2010099395A true JP2010099395A (ja) 2010-05-06
JP5305833B2 JP5305833B2 (ja) 2013-10-02

Family

ID=42290568

Family Applications (1)

Application Number Title Priority Date Filing Date
JP2008275557A Active JP5305833B2 (ja) 2008-10-27 2008-10-27 Mri装置

Country Status (1)

Country Link
JP (1) JP5305833B2 (ja)

Cited By (3)

* Cited by examiner, † Cited by third party
Publication number Priority date Publication date Assignee Title
JP2014057833A (ja) * 2012-08-23 2014-04-03 Toshiba Corp 磁気共鳴イメージング装置
JP2015100487A (ja) * 2013-11-22 2015-06-04 株式会社東芝 磁気共鳴イメージング装置
CN114795175A (zh) * 2021-01-21 2022-07-29 佳能医疗系统株式会社 磁共振成像装置

Citations (3)

* Cited by examiner, † Cited by third party
Publication number Priority date Publication date Assignee Title
JPS63194648A (ja) * 1987-02-09 1988-08-11 株式会社日立製作所 Nmrイメ−ジング装置
JPH04114634A (ja) * 1990-09-04 1992-04-15 Toshiba Corp 医療診断用寝台
WO2007094174A1 (ja) * 2006-02-13 2007-08-23 Hitachi Medical Corporation 磁気共鳴撮影装置および方法

Patent Citations (3)

* Cited by examiner, † Cited by third party
Publication number Priority date Publication date Assignee Title
JPS63194648A (ja) * 1987-02-09 1988-08-11 株式会社日立製作所 Nmrイメ−ジング装置
JPH04114634A (ja) * 1990-09-04 1992-04-15 Toshiba Corp 医療診断用寝台
WO2007094174A1 (ja) * 2006-02-13 2007-08-23 Hitachi Medical Corporation 磁気共鳴撮影装置および方法

Cited By (3)

* Cited by examiner, † Cited by third party
Publication number Priority date Publication date Assignee Title
JP2014057833A (ja) * 2012-08-23 2014-04-03 Toshiba Corp 磁気共鳴イメージング装置
JP2015100487A (ja) * 2013-11-22 2015-06-04 株式会社東芝 磁気共鳴イメージング装置
CN114795175A (zh) * 2021-01-21 2022-07-29 佳能医疗系统株式会社 磁共振成像装置

Also Published As

Publication number Publication date
JP5305833B2 (ja) 2013-10-02

Similar Documents

Publication Publication Date Title
US9939499B2 (en) Magnetic resonance imaging apparatus
JP5305833B2 (ja) Mri装置
CN101051074A (zh) 磁共振成像装置和磁共振成像方法
JP2008302214A (ja) 磁気共鳴映像装置
JP6139064B2 (ja) 磁気共鳴イメージング装置及び磁気共鳴イメージング装置用の磁場調整具
US9157973B2 (en) Magnetic resonance imaging apparatus
CN103876740A (zh) 供磁共振和其他成像装置使用的通信系统
US10598746B2 (en) Magnetic resonance method and apparatus with reduction of artifacts by a combination of SPAIR pulse and saturation pulse
US10353024B2 (en) Magnetic resonance imaging apparatus
US20130134977A1 (en) Magnetic resonance apparatus
JP2012115474A (ja) Mri装置
JP2015130918A (ja) 磁気共鳴イメージング装置
KR102429692B1 (ko) 인공물에 대한 가이드 정보를 제공하는 방법 및 이를 위한 자기공명영상장치
JP4350679B2 (ja) 磁気共鳴イメージング装置および画像撮影装置
JP4762432B2 (ja) 磁気共鳴撮像装置およびその方法
JP2013027461A (ja) 磁気共鳴イメージング装置
JP4293784B2 (ja) 磁気共鳴イメージング装置
JP5322389B2 (ja) 磁気共鳴イメージング装置
JP2001224570A (ja) 磁気共鳴イメージング装置
US11946992B2 (en) Magnetic resonance apparatus with a main magnet disposed between examination rooms
US12474426B2 (en) Magnetic resonance elastography apparatus
JP2001309902A (ja) 磁気共鳴イメージング装置
US10859649B2 (en) Vibration reduction for a magnetic resonance imaging apparatus
JP2005124616A (ja) 磁気共鳴撮像装置
JP6422739B2 (ja) 傾斜磁場コイル及び磁気共鳴イメージング装置

Legal Events

Date Code Title Description
RD02 Notification of acceptance of power of attorney

Free format text: JAPANESE INTERMEDIATE CODE: A7422

Effective date: 20100804

RD03 Notification of appointment of power of attorney

Free format text: JAPANESE INTERMEDIATE CODE: A7423

Effective date: 20100908

RD04 Notification of resignation of power of attorney

Free format text: JAPANESE INTERMEDIATE CODE: A7424

Effective date: 20100817

A621 Written request for application examination

Free format text: JAPANESE INTERMEDIATE CODE: A621

Effective date: 20110901

A131 Notification of reasons for refusal

Free format text: JAPANESE INTERMEDIATE CODE: A131

Effective date: 20130222

A521 Written amendment

Free format text: JAPANESE INTERMEDIATE CODE: A523

Effective date: 20130422

TRDD Decision of grant or rejection written
A01 Written decision to grant a patent or to grant a registration (utility model)

Free format text: JAPANESE INTERMEDIATE CODE: A01

Effective date: 20130529

A61 First payment of annual fees (during grant procedure)

Free format text: JAPANESE INTERMEDIATE CODE: A61

Effective date: 20130625

R150 Certificate of patent or registration of utility model

Free format text: JAPANESE INTERMEDIATE CODE: R150

Ref document number: 5305833

Country of ref document: JP

Free format text: JAPANESE INTERMEDIATE CODE: R150

S111 Request for change of ownership or part of ownership

Free format text: JAPANESE INTERMEDIATE CODE: R313117

R350 Written notification of registration of transfer

Free format text: JAPANESE INTERMEDIATE CODE: R350

S533 Written request for registration of change of name

Free format text: JAPANESE INTERMEDIATE CODE: R313533

R350 Written notification of registration of transfer

Free format text: JAPANESE INTERMEDIATE CODE: R350