JP2010097831A - 多層絶縁電線及びそれを用いた変圧器 - Google Patents
多層絶縁電線及びそれを用いた変圧器 Download PDFInfo
- Publication number
- JP2010097831A JP2010097831A JP2008267997A JP2008267997A JP2010097831A JP 2010097831 A JP2010097831 A JP 2010097831A JP 2008267997 A JP2008267997 A JP 2008267997A JP 2008267997 A JP2008267997 A JP 2008267997A JP 2010097831 A JP2010097831 A JP 2010097831A
- Authority
- JP
- Japan
- Prior art keywords
- resin
- insulated wire
- layer
- insulating layer
- multilayer insulated
- Prior art date
- Legal status (The legal status is an assumption and is not a legal conclusion. Google has not performed a legal analysis and makes no representation as to the accuracy of the status listed.)
- Granted
Links
Images
Landscapes
- Coils Of Transformers For General Uses (AREA)
- Insulating Of Coils (AREA)
- Insulated Conductors (AREA)
Abstract
【解決手段】絶縁層の最外層(A)が、全部または一部が脂肪族アルコール成分と酸成分とを縮重合して形成される熱可塑性ポリエステル樹脂であり、その脂肪族アルコール成分の炭素原子数が4である樹脂を含む押出被覆層からなり、最内層(B)が、全部または一部が脂肪族アルコール成分と酸成分とを縮重合して形成される熱可塑性ポリエステル樹脂を含む押出被覆層からなり、中間の絶縁層(C)が、融点が250℃以上の結晶性樹脂を含む押出被被覆層からなる多層絶縁電線。
【選択図】なし
Description
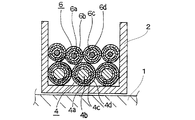
このような規格のもとで、従来、主流の座を占めている変圧器は、図2に断面図で例示するような構造が採用されてきた。この変圧器は、フェライトコア1上のボビン2の周面両側端に沿面距離を確保するための絶縁バリヤ3が配置された状態でエナメル被覆された一次巻線4が巻回されたのち、この一次巻線4の上に、絶縁テープ5を少なくとも3層巻回し、更にこの絶縁テープの上に沿面距離を確保するための絶縁バリヤ3を配置したのち、同じくエナメル被覆された二次巻線6が巻回された構造である。
図1で示した変圧器を製造する場合、用いる1次巻線4及び2次巻線6では、いずれか一方もしくは両方の導体4a(6a)の外周に少なくとも3層の絶縁層4b(6b),4c(6c),4d(6d)が形成されていることが前記したIEC規格との関係で必要になる。
また、前記のフッ素樹脂押出の場合では、絶縁層はフッ素系樹脂で形成されているので、耐熱性は良好であるという利点を備えているが、樹脂のコストが高く、さらに高剪断速度で引っ張ると外観状態が悪化するという性質がある。そのために製造スピードを上げることが困難で、絶縁テープ巻と同様に電線コストが高いものになってしまうという問題点がある。
しかしながら、3層目の絶縁層としてポリアミド樹脂を押出被覆した場合、ポリアミド樹脂では電線表面が軟らかいため引っ掻き傷に弱いことが懸念点として挙げられる。電気・電子機器に使用されるため、部品先端が引っ掻かれ、故障の原因になる恐れもある。そこで電線としては十分な伸び特性を持ち合わせながら電線表面は引っ掻き傷に強い多層絶縁電線が求められている。
すなわち本発明は、
(1)導体と前記導体を被覆する3層以上の押出絶縁層を有してなる多層絶縁電線であって、前記絶縁層の最外層(A)が、全部または一部が脂肪族アルコール成分と酸成分とを縮重合して形成される熱可塑性ポリエステル樹脂であり、その脂肪族アルコール成分の炭素原子数が4である樹脂を含む押出被覆層からなり、最内層(B)が、全部または一部が脂肪族アルコール成分と酸成分とを縮重合して形成される熱可塑性ポリエステル樹脂を含む押出被覆層からなり、
最外層と最内層の間の絶縁層(C)が、融点が250℃以上の結晶性樹脂またはガラス転移温度が180℃以上の非晶性樹脂を含む押出被覆層からなることを特徴とする多層絶縁電線、
(2)前記絶縁層の最外層(A)を形成する熱可塑性ポリエステル樹脂が、ポリブチレンテレフタレート樹脂(PBT)であることを特徴とする(1)記載の多層絶縁電線、
(3)前記絶縁層の最外層(A)を形成する熱可塑性ポリエステル樹脂が、ポリブチレンナフタレート樹脂(PBN)であることを特徴とする(1)記載の多層絶縁電線、
(4)前記絶縁層の最外層(A)を形成する樹脂が、全部または一部が脂肪族アルコール成分と酸成分とを縮重合して形成される熱可塑性ポリエステル樹脂100質量部に対して、エポキシ基、オキサゾリル基、アミノ基及び無水マレイン酸残基からなる群から選択される少なくとも1種類の官能基を有する樹脂1〜20質量部を配合して成る樹脂混和物であることを特徴とする(1)〜(3)のいずれか1項記載の多層絶縁電線、
(5)前記絶縁層の最外層(A)を形成する樹脂が、ポリブチレンテレフタレート樹脂(PBT)をハードセグメントに用いたポリエステルエラストマーであることを特徴とする請求項1記載の多層絶縁電線、
(6)前記絶縁層の最内層(B)を形成する熱可塑性ポリエステル樹脂が、ポリブチレンテレフタレート樹脂(PBT)であることを特徴とする(1)記載の多層絶縁電線、
(7)前記絶縁層の最内層(B)を形成する熱可塑性ポリエステル樹脂が、ポリエチレンテレフタレート樹脂(PET)であることを特徴とする(1)記載の多層絶縁電線、
(8)前記絶縁層の最内層(B)を形成する樹脂が、全部または一部が脂肪族アルコール成分と酸成分とを縮重合して形成される熱可塑性ポリエステル樹脂100質量部に対して、エポキシ基、オキサゾリル基、アミノ基及び無水マレイン酸残基からなる群から選択される少なくとも1種類の官能基を有する樹脂1〜20質量部を配合して成る樹脂混和物であることを特徴とする(1)、(6)又は(7)記載の多層絶縁電線、
(9)前記絶縁層(C)を形成する結晶性樹脂が、液晶ポリエステル以外のポリエステル樹脂75〜95質量部および液晶ポリエステル5〜25質量部を含有するポリエステル系樹脂組成物であることを特徴とする(1)記載の多層絶縁電線、
(10)前記絶縁層(C)を形成する結晶性樹脂が、前記ポリエステル系樹脂組成物100質量部に対し、エポキシ基、オキサゾリル基、アミノ基及び無水マレイン酸残基からなる群から選択される少なくとも1種類の官能基を含有する樹脂1〜20質量部を配合して成る樹脂混和物であることを特徴とする(9)記載の多層絶縁電線、
(11)前記絶縁層(C)を形成する結晶性樹脂が、ポリフェニレンスルフィド樹脂(PPS)であることを特徴とする(1)記載の多層絶縁電線、
(12)前記絶縁層(C)を形成する非晶性樹脂が、ポリエーテルスルホン樹脂(PES)であることを特徴とする(1)記載の多層絶縁電線、および、
(13)前記(1)〜(12)のいずれか1項に記載の多層絶縁電線を用いてなることを特徴とする変圧器、
を提供するものである。
絶縁電線の最外層(A)には、耐溶剤性に優れるほか、伸び特性にも優れ、皮膜強度が強い樹脂を必要とするので、熱可塑性ポリエステル樹脂を採用する。この熱可塑性ポリエステル樹脂は、全部または一部が脂肪族アルコール成分と酸成分とを縮重合して形成される熱可塑性ポリエステル樹脂であり、その脂肪族アルコール成分の炭素原子数が4の樹脂である。一般に、結晶性樹脂であるポリエステル樹脂は耐溶剤性に優れていると言われているが、電線皮膜として使用される場合は結晶化が進まず非晶性の状態であるため溶剤に侵されてしまう。しかしながら、ポリエステル樹脂の中で脂肪族アルコール成分の炭素元素数が4である樹脂は、結晶化速度が速く、電線皮膜として使用する場合も結晶化が素早く進行するため、耐溶剤性にも優れ、さらに結晶化しているため電線皮膜強度も向上することがわかった。
本発明に用いられるこのポリエステル樹脂としては、芳香族ジカルボン酸またはその一部が脂肪族ジカルボン酸で置換されているジカルボン酸と脂肪族ジオールとのエステル反応で得られたものが好ましく用いられる。例えば、ポリエチレンテレフタレート樹脂(PET)、ポリブチレンテレフタレート樹脂(PBT)、ポリエチレンナフレート樹脂(PEN)、ポリシクロヘキサンジメチレンテレフタレート(PCT)樹脂などを代表例としてあげることができる。
一方、エステル反応に用いるアルコ−ル成分としては、脂肪族ジオールが好ましく、例えば、エチレングリコール,トリメチレングリコール,テトラメチレングリコール,ヘキサンジオール,デカンジオールなどをあげることができる。これらのうち、エチレングリコール,テトラメチルグリコールが好適である。また、脂肪族ジオールとしては、その一部がポリエチレングリコールやポリテトラメチレングリコールのようなオキシグリコールになっていてもよい。
ポリエチレンナフタレート(PEN)樹脂は、「帝人PEN」(商品名:帝人社製)等が挙げられ、ポリシクロヘキサンジメチレンテレフタレート(PCT)樹脂は「エクター」(商品名:東レ社製)等が挙げられる。
上記の官能基は、ポリエステル樹脂と反応性を有する官能基であり、ポリエステル樹脂に配合し混和することにより両者は反応し樹脂混和物となる。この反応性を有する樹脂としては、特にエポキシ基を有することが好ましい。エポキシ基が開環することでポリエステル樹脂と化学結合し反応が進行する。上記の官能基を有する反応性改質樹脂は、該官能基含有単量体成分を20質量%以下有することが好ましく、15質量%以下有することがより好ましい。このような樹脂としては、エポキシ基含有化合物成分を含む共重合体であることが好ましい。反応性を有する重合体を与えるエポキシ基含有化合物としては、例えば、下記一般式(1)に示される不飽和カルボン酸のグリシジルエステル化合物が挙げられる。
両者のより好ましい配合割合は、前者100質量部に対し、後者は1〜15質量部である。
本発明の絶縁層(C)の融点250℃以上の結晶性樹脂としては、好ましくは液晶ポリエステルを含むポリエステル樹脂が用いられ、液晶ポリエステル以外のポリエステル樹脂と液晶ポリエステルを配合されたポリエステル系樹脂(例えば、「帝人PET」(商品名:帝人社製)及び「ユニチカロッドラン」(商品名:ユニチカ社製))も好ましい。
液晶ポリエステルの融点が低すぎると電線として所望の耐熱効果が得られないので好ましくない。
これらの中で、(I)、(II)、(V)に示す組み合わせのものが好ましく、さらに好ましくは(V)に示す組み合わせのものが挙げられる。
また、液晶ポリエステル以外のポリエステル樹脂と液晶ポリエステルの混合方法は任意の方法を用いることができる。
反応性改質樹脂が20質量部を越えると耐熱性がやや低くなり、少なすぎると可とう性向上の効果は発現しない。液晶ポリエステルや液晶ポリエステル以外のポリエステル樹脂に比べてエラストマー成分の耐熱性が低いためと推定される。
用いられる反応性改質樹脂は、上記した最外層(A)及び最内層(B)に用いられる反応性改質樹脂と同様で良い。
本発明の多層絶縁層は、上記した3層に限らず、中間層としてさらなる耐熱性向上のために液晶ポリエステル、ポリフェニレンスルフィドやポリエーテルサルホン等からなる絶縁層を設けることができる。
(実施例1〜10及び比較例1〜4)
導体として線径1.0mmの軟銅線を用意した。表1に示した各樹脂を表示の割合(組成の数値は質量部を示す)で各層の押出し被覆用樹脂とし、導体上に順に最内層(B)、最外層と最内層の間の層(C)、最外層(A)を順次押出し被覆して、表示の厚さ(すべて100μm)で多層絶縁電線を製造した。
PBT樹脂:「ノバデュラン」(商品名:三菱エンジニアリング社製)、
ポリブチレンテレフタレート樹脂
PBN樹脂:「バイロペット」(商品名:東洋紡社製)、ポリブチレンナフタレート樹脂
反応性改質樹脂:「ボンドファースト7M」(商品名:住友化学工業社製)、
エポキシ基含有樹脂
PBTエラストマー:「ペルプレン」(商品名:東洋紡社製)、
ポリエステルエラストマー樹脂
ポリアミド樹脂:「FDK−1」(商品名:ユニチカ社製)、 ポリアミド66樹脂
LCP樹脂:「ロッドラン」(商品名:ユニチカ社製)、液晶ポリエステル樹脂
PET樹脂:「帝人PET」(商品名:帝人社製)、ポリエチレンテレフタレート樹脂
PES樹脂:「スミカエクセル」(商品名:住友化学社製)、ポリエーテルサルホン樹脂
PPS樹脂:「DICPPS」(商品名:DIC社製)、ポリフェニレンスルフィド樹脂
A.電線表面の引っ掻き傷程度確認:
JIS C 3003−1984 14耐溶剤(1)記載のつめ法を模擬して、爪先で電線表面を1回こすった時、導体が現れるほど、皮膜が剥がれないかを目視で調べる。
剥がれが少しでも認められたものは「皮膜剥がれ」と表示し、剥がれが無いものは「良好」とした。
B.電気的耐熱性:
IEC規格60950の2.9.4.4項の付属書U(電線)と1.5.3項の付属書C(トランス)に準拠した下記の試験方法で評価した。
直径10mmのマンドレルに多層絶縁電線を、荷重118MPa(12kg/mm2)をかけながら10ターン巻付け、215℃1時間加熱、更に140℃21時間及び190℃3時間を3サイクル加熱し、更に30℃、湿度95%の雰囲気に48時間保持し、その後3000Vにて1分間電圧を印加し短絡しなければ、E種合格と判定した。
同様にマンドレルに巻き付け、225℃1時間加熱、更に150℃21時間及び200℃3時間を3サイクル加熱し、更に30℃、湿度95%の雰囲気に48時間保持し、その後3000Vにて1分間電圧を印加し短絡しなければ、B種合格と判定した。
(いずれも、判定はn=5にて評価、1つでもNGになれば不合格となる)。
C.耐溶剤性
巻線加工として導体径の20倍径の巻き付けを行った電線をキシレン、スチレン、及びイソプロピルアルコール溶媒に30秒間浸漬し、乾燥後試料表面の観察を行い、クレージング発生の有無判定を行った。すべての試料でクレージング発生が認められなかったので「○」と表示した。
そして、これら上記A、B、Cの試験結果を総合して、絶縁電線としての合否を判定し、好ましいものは「○」、不適切なものは「×」とした。
ポリアミド樹脂を最外層(A)に被覆した比較例1及び2では、引っ掻き試験の結果導体が現れるほど皮膜が剥離した。比較例3及び4では、最外層と最内層の間の層(C)をPBT樹脂としたが、これは融点が約224℃で本発明の規定範囲外であり、電気的耐熱性がE種を満足しなかった。一方、実施例1〜6では、引っ掻き試験、電気的耐熱性(E種)、耐溶剤性のいずれも合格基準を満たした。実施例7〜10では、その他に電気的耐熱性(B種)を満たした。
2 ボビン
3 絶縁バリヤ
4 一次巻線
4a 導体
4b,4c,4d 絶縁層
5 絶縁テープ
6 二次巻線
6a 導体
6b,6c,6d 絶縁層
Claims (13)
- 導体と前記導体を被覆する3層以上の押出絶縁層を有してなる多層絶縁電線であって、
前記絶縁層の最外層(A)が、全部または一部が脂肪族アルコール成分と酸成分とを縮重合して形成される熱可塑性ポリエステル樹脂であり、その脂肪族アルコール成分の炭素原子数が4である樹脂を含む押出被覆層からなり、
最内層(B)が、全部または一部が脂肪族アルコール成分と酸成分とを縮重合して形成される熱可塑性ポリエステル樹脂を含む押出被覆層からなり、
最外層と最内層の間の絶縁層(C)が、融点が250℃以上の結晶性樹脂またはガラス転移温度が180℃以上の非晶性樹脂を含む押出被覆層からなることを特徴とする多層絶縁電線。 - 前記絶縁層の最外層(A)を形成する熱可塑性ポリエステル樹脂が、ポリブチレンテレフタレート樹脂であることを特徴とする請求項1記載の多層絶縁電線。
- 前記絶縁層の最外層(A)を形成する熱可塑性ポリエステル樹脂が、ポリブチレンナフタレート樹脂であることを特徴とする請求項1記載の多層絶縁電線。
- 前記絶縁層の最外層(A)を形成する樹脂が、全部または一部が脂肪族アルコール成分と酸成分とを縮重合して形成される熱可塑性ポリエステル樹脂100質量部に対して、エポキシ基、オキサゾリル基、アミノ基及び無水マレイン酸残基からなる群から選択される少なくとも1種類の官能基を有する反応性改質樹脂1〜20質量部を配合して成る樹脂混和物であることを特徴とする請求項1〜3のいずれか1項記載の多層絶縁電線。
- 前記絶縁層の最外層(A)を形成する樹脂が、ポリブチレンテレフタレート樹脂をハードセグメントに用いたポリエステルエラストマーであることを特徴とする請求項1記載の多層絶縁電線。
- 前記絶縁層の最内層(B)を形成する熱可塑性ポリエステル樹脂が、ポリブチレンテレフタレート樹脂であることを特徴とする請求項1記載の多層絶縁電線。
- 前記絶縁層の最内層(B)を形成する熱可塑性ポリエステル樹脂が、ポリエチレンテレフタレート樹脂であることを特徴とする請求項1記載の多層絶縁電線。
- 前記絶縁層の最内層(B)を形成する樹脂が、全部または一部が脂肪族アルコール成分と酸成分とを縮重合して形成される熱可塑性ポリエステル樹脂100質量部に対して、エポキシ基、オキサゾリル基、アミノ基及び無水マレイン酸残基からなる群から選択される少なくとも1種類の官能基を有する反応性改質樹脂1〜20質量部を配合して成る樹脂混和物であることを特徴とする請求項1、6又は7記載の多層絶縁電線。
- 前記絶縁層(C)を形成する結晶性樹脂が、液晶ポリエステル以外のポリエステル樹脂75〜95質量部および液晶ポリエステル5〜25質量部を含有するポリエステル系樹脂組成物であることを特徴とする請求項1記載の多層絶縁電線。
- 前記絶縁層(C)を形成する結晶性樹脂が、前記ポリエステル系樹脂組成物100質量部に対し、エポキシ基、オキサゾリル基、アミノ基及び無水マレイン酸残基からなる群から選択される少なくとも1種類の官能基を含有する反応性改質樹脂1〜20質量部を配合して成る樹脂混和物であることを特徴とする請求項9記載の多層絶縁電線。
- 前記絶縁層(C)を形成する結晶性樹脂が、ポリフェニレンスルフィド樹脂であることを特徴とする請求項1記載の多層絶縁電線。
- 前記絶縁層(C)を形成する非晶性樹脂が、ポリエーテルスルホン樹脂であることを特徴とする請求項1記載の多層絶縁電線。
- 請求項1〜12のいずれか1項に記載の多層絶縁電線を用いてなることを特徴とする変圧器。
Priority Applications (1)
| Application Number | Priority Date | Filing Date | Title |
|---|---|---|---|
| JP2008267997A JP5520468B2 (ja) | 2008-10-16 | 2008-10-16 | 多層絶縁電線及びそれを用いた変圧器 |
Applications Claiming Priority (1)
| Application Number | Priority Date | Filing Date | Title |
|---|---|---|---|
| JP2008267997A JP5520468B2 (ja) | 2008-10-16 | 2008-10-16 | 多層絶縁電線及びそれを用いた変圧器 |
Publications (2)
| Publication Number | Publication Date |
|---|---|
| JP2010097831A true JP2010097831A (ja) | 2010-04-30 |
| JP5520468B2 JP5520468B2 (ja) | 2014-06-11 |
Family
ID=42259373
Family Applications (1)
| Application Number | Title | Priority Date | Filing Date |
|---|---|---|---|
| JP2008267997A Expired - Fee Related JP5520468B2 (ja) | 2008-10-16 | 2008-10-16 | 多層絶縁電線及びそれを用いた変圧器 |
Country Status (1)
| Country | Link |
|---|---|
| JP (1) | JP5520468B2 (ja) |
Citations (6)
| Publication number | Priority date | Publication date | Assignee | Title |
|---|---|---|---|---|
| JPS633888B2 (ja) * | 1977-10-20 | 1988-01-26 | Hekisuto Seraniizu Corp | |
| JPH06139827A (ja) * | 1992-10-28 | 1994-05-20 | Furukawa Electric Co Ltd:The | 多層絶縁電線とその製造方法 |
| JPH06139828A (ja) * | 1992-10-28 | 1994-05-20 | Furukawa Electric Co Ltd:The | 多層絶縁電線 |
| JP2006224319A (ja) * | 2005-02-15 | 2006-08-31 | Sumitomo Chemical Co Ltd | 成形体 |
| JP2008198445A (ja) * | 2007-02-09 | 2008-08-28 | Furukawa Electric Co Ltd:The | 絶縁電線 |
| JP2008243738A (ja) * | 2007-03-28 | 2008-10-09 | Furukawa Electric Co Ltd:The | 多層絶縁電線及びそれを用いた変圧器 |
-
2008
- 2008-10-16 JP JP2008267997A patent/JP5520468B2/ja not_active Expired - Fee Related
Patent Citations (6)
| Publication number | Priority date | Publication date | Assignee | Title |
|---|---|---|---|---|
| JPS633888B2 (ja) * | 1977-10-20 | 1988-01-26 | Hekisuto Seraniizu Corp | |
| JPH06139827A (ja) * | 1992-10-28 | 1994-05-20 | Furukawa Electric Co Ltd:The | 多層絶縁電線とその製造方法 |
| JPH06139828A (ja) * | 1992-10-28 | 1994-05-20 | Furukawa Electric Co Ltd:The | 多層絶縁電線 |
| JP2006224319A (ja) * | 2005-02-15 | 2006-08-31 | Sumitomo Chemical Co Ltd | 成形体 |
| JP2008198445A (ja) * | 2007-02-09 | 2008-08-28 | Furukawa Electric Co Ltd:The | 絶縁電線 |
| JP2008243738A (ja) * | 2007-03-28 | 2008-10-09 | Furukawa Electric Co Ltd:The | 多層絶縁電線及びそれを用いた変圧器 |
Non-Patent Citations (1)
| Title |
|---|
| JPN6013021934; アミランの製品カタログ * |
Also Published As
| Publication number | Publication date |
|---|---|
| JP5520468B2 (ja) | 2014-06-11 |
Similar Documents
| Publication | Publication Date | Title |
|---|---|---|
| JP5739810B2 (ja) | 多層絶縁電線及びそれを用いた変圧器 | |
| JP5520493B2 (ja) | 多層絶縁電線及びそれを用いた変圧器 | |
| US8518535B2 (en) | Multilayer insulated wire and transformer using the same | |
| JP5184346B2 (ja) | 多層絶縁電線 | |
| JP4974147B2 (ja) | 多層絶縁電線及びそれを用いた変圧器 | |
| JP4897963B2 (ja) | 多層絶縁電線及びそれを用いた変圧器 | |
| JP5520468B2 (ja) | 多層絶縁電線及びそれを用いた変圧器 | |
| KR101279299B1 (ko) | 절연 전선 | |
| JPH10125140A (ja) | 多層絶縁電線及びそれを用いた変圧器 | |
| JP5342279B2 (ja) | 多層絶縁電線 | |
| HK1161932B (en) | Multilayer insulated wire and transformer using same | |
| HK1172144A (en) | Multilayer insulated wire and transformer using same | |
| JP2009231025A (ja) | 多層絶縁電線及びそれを用いた変圧器 | |
| HK1120332B (en) | Multilayer insulated wire and transformer made using the same |
Legal Events
| Date | Code | Title | Description |
|---|---|---|---|
| A621 | Written request for application examination |
Free format text: JAPANESE INTERMEDIATE CODE: A621 Effective date: 20110801 |
|
| A977 | Report on retrieval |
Free format text: JAPANESE INTERMEDIATE CODE: A971007 Effective date: 20130425 |
|
| A131 | Notification of reasons for refusal |
Free format text: JAPANESE INTERMEDIATE CODE: A131 Effective date: 20130521 |
|
| A521 | Written amendment |
Free format text: JAPANESE INTERMEDIATE CODE: A523 Effective date: 20130722 |
|
| A02 | Decision of refusal |
Free format text: JAPANESE INTERMEDIATE CODE: A02 Effective date: 20130827 |
|
| A521 | Written amendment |
Free format text: JAPANESE INTERMEDIATE CODE: A523 Effective date: 20131127 |
|
| A911 | Transfer of reconsideration by examiner before appeal (zenchi) |
Free format text: JAPANESE INTERMEDIATE CODE: A911 Effective date: 20131206 |
|
| A131 | Notification of reasons for refusal |
Free format text: JAPANESE INTERMEDIATE CODE: A131 Effective date: 20140114 |
|
| A521 | Written amendment |
Free format text: JAPANESE INTERMEDIATE CODE: A523 Effective date: 20140219 |
|
| TRDD | Decision of grant or rejection written | ||
| A01 | Written decision to grant a patent or to grant a registration (utility model) |
Free format text: JAPANESE INTERMEDIATE CODE: A01 Effective date: 20140318 |
|
| A61 | First payment of annual fees (during grant procedure) |
Free format text: JAPANESE INTERMEDIATE CODE: A61 Effective date: 20140407 |
|
| LAPS | Cancellation because of no payment of annual fees |
