JP2010097293A - 情報処理装置、省電力管理プログラム及び省電力管理プログラムが記憶された記憶媒体 - Google Patents

情報処理装置、省電力管理プログラム及び省電力管理プログラムが記憶された記憶媒体 Download PDF

Info

Publication number
JP2010097293A
JP2010097293A JP2008265791A JP2008265791A JP2010097293A JP 2010097293 A JP2010097293 A JP 2010097293A JP 2008265791 A JP2008265791 A JP 2008265791A JP 2008265791 A JP2008265791 A JP 2008265791A JP 2010097293 A JP2010097293 A JP 2010097293A
Authority
JP
Japan
Prior art keywords
power
mode
main body
power saving
auto power
Prior art date
Legal status (The legal status is an assumption and is not a legal conclusion. Google has not performed a legal analysis and makes no representation as to the accuracy of the status listed.)
Granted
Application number
JP2008265791A
Other languages
English (en)
Other versions
JP5260229B2 (ja
Inventor
Yasuhiro Yamanaka
泰博 山中
Fumiaki Hisamatsu
史明 久松
Current Assignee (The listed assignees may be inaccurate. Google has not performed a legal analysis and makes no representation or warranty as to the accuracy of the list.)
Sony Interactive Entertainment Inc
Original Assignee
Sony Computer Entertainment Inc
Priority date (The priority date is an assumption and is not a legal conclusion. Google has not performed a legal analysis and makes no representation as to the accuracy of the date listed.)
Filing date
Publication date
Application filed by Sony Computer Entertainment Inc filed Critical Sony Computer Entertainment Inc
Priority to JP2008265791A priority Critical patent/JP5260229B2/ja
Priority to US12/576,155 priority patent/US8386817B2/en
Publication of JP2010097293A publication Critical patent/JP2010097293A/ja
Priority to US13/750,914 priority patent/US8850253B2/en
Application granted granted Critical
Publication of JP5260229B2 publication Critical patent/JP5260229B2/ja
Active legal-status Critical Current
Anticipated expiration legal-status Critical

Links

Images

Classifications

    • A63F13/10
    • GPHYSICS
    • G06COMPUTING OR CALCULATING; COUNTING
    • G06FELECTRIC DIGITAL DATA PROCESSING
    • G06F1/00Details not covered by groups G06F3/00 - G06F13/00 and G06F21/00
    • G06F1/26Power supply means, e.g. regulation thereof
    • G06F1/32Means for saving power
    • G06F1/3203Power management, i.e. event-based initiation of a power-saving mode
    • AHUMAN NECESSITIES
    • A63SPORTS; GAMES; AMUSEMENTS
    • A63FCARD, BOARD, OR ROULETTE GAMES; INDOOR GAMES USING SMALL MOVING PLAYING BODIES; VIDEO GAMES; GAMES NOT OTHERWISE PROVIDED FOR
    • A63F13/00Video games, i.e. games using an electronically generated display having two or more dimensions
    • A63F13/45Controlling the progress of the video game
    • GPHYSICS
    • G06COMPUTING OR CALCULATING; COUNTING
    • G06FELECTRIC DIGITAL DATA PROCESSING
    • G06F1/00Details not covered by groups G06F3/00 - G06F13/00 and G06F21/00
    • G06F1/26Power supply means, e.g. regulation thereof
    • G06F1/32Means for saving power
    • G06F1/3203Power management, i.e. event-based initiation of a power-saving mode
    • G06F1/3206Monitoring of events, devices or parameters that trigger a change in power modality
    • G06F1/3228Monitoring task completion, e.g. by use of idle timers, stop commands or wait commands
    • AHUMAN NECESSITIES
    • A63SPORTS; GAMES; AMUSEMENTS
    • A63FCARD, BOARD, OR ROULETTE GAMES; INDOOR GAMES USING SMALL MOVING PLAYING BODIES; VIDEO GAMES; GAMES NOT OTHERWISE PROVIDED FOR
    • A63F2300/00Features of games using an electronically generated display having two or more dimensions, e.g. on a television screen, showing representations related to the game
    • A63F2300/10Features of games using an electronically generated display having two or more dimensions, e.g. on a television screen, showing representations related to the game characterized by input arrangements for converting player-generated signals into game device control signals
    • A63F2300/1025Features of games using an electronically generated display having two or more dimensions, e.g. on a television screen, showing representations related to the game characterized by input arrangements for converting player-generated signals into game device control signals details of the interface with the game device, e.g. USB version detection
    • A63F2300/1031Features of games using an electronically generated display having two or more dimensions, e.g. on a television screen, showing representations related to the game characterized by input arrangements for converting player-generated signals into game device control signals details of the interface with the game device, e.g. USB version detection using a wireless connection, e.g. Bluetooth, infrared connections
    • AHUMAN NECESSITIES
    • A63SPORTS; GAMES; AMUSEMENTS
    • A63FCARD, BOARD, OR ROULETTE GAMES; INDOOR GAMES USING SMALL MOVING PLAYING BODIES; VIDEO GAMES; GAMES NOT OTHERWISE PROVIDED FOR
    • A63F2300/00Features of games using an electronically generated display having two or more dimensions, e.g. on a television screen, showing representations related to the game
    • A63F2300/60Methods for processing data by generating or executing the game program
    • A63F2300/63Methods for processing data by generating or executing the game program for controlling the execution of the game in time

Landscapes

  • Engineering & Computer Science (AREA)
  • Theoretical Computer Science (AREA)
  • Physics & Mathematics (AREA)
  • General Engineering & Computer Science (AREA)
  • General Physics & Mathematics (AREA)
  • Multimedia (AREA)
  • Power Sources (AREA)

Abstract

【課題】簡単な操作入力によって、個々のユーザが自己の要求に応じたオートパワーオフを実行させることが可能な情報処理装置の提供。
【解決手段】オートパワーオフ機能を有する装置本体10は、消費電力の低減効果が段階的に異なる第1のモードと第2のモードとを含む複数の省電力モードの中から、ユーザからの設定入力に従って1つのモードが設定される。装置本体10のメインCPU64は、ユーザからの入力操作を受けていない非操作状態が所定時間以上継続したとき、設定されているモードと実行中の内部処理とに基づいて、オートパワーオフ機能を実行するか否かを決定する。
【選択図】図4

Description

本発明は、情報処理装置、省電力管理プログラム及び省電力管理プログラムが記憶された記憶媒体に関する。
オートパワーオフ時間を変更して設定可能なオートパワーオフ機能を有する情報処理装置が知られている。
特開2003−99160号公報
しかし、オートパワーオフに対する要求は、ユーザによって個人差がある。例えば、情報処理装置において同じ内部処理が実行されている状態で、オートパワーオフを有効に機能させたいか否かは、個々のユーザによって相違する。
本発明は、簡単な操作入力によって、個々のユーザが自己の要求に応じたオートパワーオフを実行させることが可能な情報処理装置の提供を目的とする。
本発明は、オートパワーオフ機能を有する情報処理装置であって、消費電力の低減効果が段階的に異なる第1のモードと第2のモードとを含む複数の省電力モードの中から、ユーザからの設定入力に従って1つのモードを設定する省電力モード設定手段と、ユーザからの入力操作を受けていない非操作状態が所定時間以上継続したか否かを判定する非操作継続時間判定手段と、内部処理を実行する処理実行手段と、前記非操作状態が所定時間以上継続したと前記非操作継続時間判定手段が判定したとき、前記省電力モード設定手段が設定したモードと、前記処理実行手段が実行中の内部処理とに基づいて、オートパワーオフ機能を実行するか否かを決定するオートパワーオフ決定手段と、を備える。
本発明によれば、簡単な操作入力によって、個々のユーザが自己の要求に応じたオートパワーオフを実行させることができる。
〔本実施の形態の概略構成〕
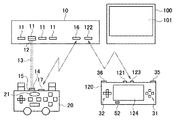
本発明一実施形態として、図1に示すエンタテインメントシステムは、本発明の情報処理装置の一例のビデオゲーム機であるエンタテインメント装置(以下、装置本体と称する)10と、ユーザ(プレイヤー)によって操作される操作端末であるコントローラ20とを備える。装置本体10とコントローラ20との間では、通信により情報が送受信される。ユーザは、両者間の通信方法として、USB接続ケーブル13を介した有線接続による通信と無線による通信のうち任意の一方を選択可能である。また、装置本体10にコントローラ20を有線接続した場合、後述する起動処理を除き有線による通信が優先して実行され、無線よる通信は実行されない。
図1の例において、装置本体10は、複数のコントローラポート11を有する。コントローラ20と装置本体10とを有線接続する場合、USB接続ケーブル13は、一端部に設けられた差込コネクタ12が装置本体10のコントローラポート11のうち任意の一つに差し込まれて電気的に接続され、他端部に設けられた差込コネクタ14がコントローラ20の接続ポート15に差し込まれて電気的に接続される。装置本体10とコントローラ20との有線接続方式は、双方向にて通信可能であればよく、本実施形態では、USB(Universal Serial Bus)形式による接続(以下、USB接続と称する)を採用している。
コントローラ20には、装置本体10の無線通信部(アンテナ)16との間で無線による情報の送受信を行う無線通信部(アンテナ)17が設けられている。両無線通信部16,17同士の通信方式としては、双方向にて無線通信可能であれば、ブルーツゥース(Bluetooth(登録商標))規格のような汎用の近距離高速無線通信方式や専用の近距離無線通信方式などのあらゆる通信方式の適用が可能である。本実施形態では、ブルーツゥースによる無線通信方式(以下、BT通信と称する)を採用している。
このエンタテインメントシステムでは、コントローラ20に代えて又は加えて、携帯端末装置120をユーザによって操作される操作端末として使用することができる。さらに、操作端末10には、キーボードやマウスが有線又は無線によって接続可能であり、これらキーボードやマウスを操作端末として使用することもできる。
携帯端末装置120には、装置本体10のコントローラポート11との間で有線接続による情報の送受信を行う接続ポート121と、装置本体10の無線通信部(アンテナ)112との間で無線による情報の送受信を行う無線通信部(アンテナ)123とが設けられている。装置本体10と携帯端末装置120との間の接続方式は、有線接続又は無線による通信のうち任意の一方が選択可能である。装置本体10と携帯端末装置120との有線接続方式は、双方向にて通信可能であればよく、本実施形態では、USB接続を採用している。携帯端末装置120と装置本体10とを有線接続する場合、USB接続ケーブル13は、一端部に設けられた差込コネクタ12が装置本体10のコントローラポート11のうち任意の一つに差し込まれて電気的に接続され、他端部に設けられた差込コネクタ14が携帯端末装置120の接続ポート121に差し込まれて電気的に接続される。また、両無線通信部122,123同士の通信方式としては、双方向にて無線通信可能であれば、無線LANのような汎用の近距離高速無線通信方式や専用の近距離無線通信方式などのあらゆる通信方式の適用が可能である。本実施形態では、IEEE802.11による無線通信方式(以下、無線LAN通信と称する)を採用している。なお、以下の説明において、装置本体10を、携帯端末装置120を用いた無線LAN通信によって操作することをリモートプレイと称する。
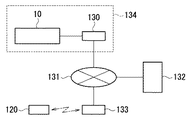
図2に示すように、装置本体10は、中継器(例えば、ターミナルアダプタやルータ)130を介してインターネット131に接続され、インターネット131を介して外部のサーバ132などとの間で双方向通信によって情報を送受信する。また、携帯端末装置120は、インターネット131に接続された無線LAN対応のアクセスポイント133との間で無線LAN通信を行うことにより、装置本体10との間での双方向通信が可能となる。例えば、装置本体10が設置された屋内134から外出したユーザは、外出先のアクセスポイント133、インターネット131及び中継器130を介して携帯端末装置120を装置本体10に接続することにより、リモートプレイを行うことができる。
〔エンタテインメントシステムの全体構成〕
図1に示すエンタテインメントシステムは、装置本体10と、コントローラ20と、装置本体10から映像及び音声信号が供給されるモニタ装置(例えばテレビジョン受像機など)100とから構成されている。モニタ装置100は、装置本体10から供給された映像信号に基づいて画像を表示する画像表示部101を有する。
〔装置本体の概要〕
上記装置本体10には、上記コントローラポート11及び無線通信部16,122の他、図示は省略するが、メモリカードが着脱自在とされるメモリカードスロット、ディスクトレイ、ディスクトレイをオープン又はクローズさせるオープン/クローズボタン(エジェクトボタン)、電源のオンやスタンバイ、リセットを行うためのオン/スタンバイ/リセットボタン、音声映像出力端子(AVマルチ出力端子)、PCカードスロット、光ディジタル出力端子、IEEE(Institute of Electrical and Electronics Engineers)1394接続端子、電源スイッチ、AC電源入力端子などが設けられている。
装置本体10は、オン状態(完全起動状態)とオフ状態との何れかに設定される。オフ状態には、通常オフ状態(スタンバイ状態・スリープ状態)と完全オフ状態(完全停止状態)とが含まれ、装置本体10は、オン状態と通常オフ状態と完全オフ状態の3段階のうち、何れかの状態に設定される。なお、以下の説明において、通常オフ状態からオン状態への変更を起動と称する。
電源スイッチが操作されることにより、装置本体10は、オン状態と完全オフ状態とに切り替わる。オン状態の装置本体10は、オン/スタンバイ/リセットボタンが操作されることにより、オン状態と通常オフ状態とに切り替わる。なお、以下の説明において、オン状態を電源オンと称し、通常オフ状態を電源オフと称する。
装置本体10の電源オンと電源オフとの間の切り替えは、コントローラ20からの操作入力によっても可能である。例えば、装置本体10が電源オンであるとき、コントローラ20を操作して、モニタ装置100にメニュー画面を表示させ、メニュー内の「本体の電源を切る」という項目を選択して決定することにより、装置本体10が電源オフへ切り替わる。また、装置本体10が電源オフであるとき、コントローラ20の後述する開始ボタン53(図2に示す)を押下することにより、装置本体10が起動する。
一方、中継器130の中には、電源オフの装置本体10を電源オンに切り替えるための起動要求信号を携帯端末装置120が送信しても、その起動要求信号を装置本体10に送信しないものが存在する。このような中継器130が装置本体10に接続されている場合、リモートプレイによって装置本体10が電源オンから電源オフに切り替えられてしまうと、リモートプレイによって装置本体10を起動させることができなくなり、外出先でリモートプレイを行っているユーザにとって不便である。このため、装置本体10は、リモートプレイによる電源オンから電源オフへの切り替えを禁止している。
装置本体10は、ゲームアプリケーションの実行、ビデオ・音楽・スライドショーの再生、フォトの1枚表示、ビデオチャット、印刷、ブラウザの実行、バックグラウンドでのダウンロード、フォアグラウンドでのダウンロード、プログラムのダウンロードやアップデート、データのコピーや削除、HDDなどの内部メモリのフォーマットやバックアップやリストア、放送番組の録画など、様々な内部処理を実行する機能を有する。
ゲームアプリケーションの実行では、例えばHDDなどの内部メモリ、DVD−ROMやCD−ROM等のディスク媒体などの様々な記憶媒体(以下、単に記憶媒体と称する)に記憶されているビデオゲーム用のアプリケーションプログラムに基づき、ユーザからの入力操作に応じてビデオゲームが実行される。ビデオ・音楽の再生では、記憶媒体に記憶されたビデオデータ・オーディオデータが再生(デコード)される。スライドショーの再生では、記憶媒体に記憶された静止画像データが所定時間毎に切り替えてモニタ装置100に表示される。印刷では、装置本体10に接続されたプリンタ(図示省略)に対して印刷制御信号が出力され、プリンタによって印刷処理が実行される。フォトの1枚表示では、記憶媒体に記憶された静止画像データがモニタ装置100に表示される。ビデオチャットでは、装置本体10に接続されたカメラ及びマイク(図示省略)から入力された入力された映像及び音声が、通信相手の端末装置(例えば、他のエンタテインメント装置)との間でインターネット131を介して送受信され、端末装置10のユーザと通信相手との間で会話が行われる。バックグラウンド又はフォアグラウンドでのダウンロードでは、例えばインターネット131を介して外部のサーバ132からデータがダウンロードされる。バックグラウンドでのダウンロードでは、ダウンロードの途中で装置本体10が電源オンから電源オフに切り替わると、ダウンロードが一時的に中断され、装置本体10の再起動に伴ってダウンロードが再開される。一方、フォアグラウンドでのダウンロードでは、ダウンロードの途中で装置本体10が電源オンから電源オフに切り替わると、ダウンロードが途中で終了し、装置本体10が再起動してもダウンロードは再開されない。なお、ダウンロードをフォアグラウンドで行うかバックグラウンドで行うかは、ユーザからの入力操作に応じて決定される。放送番組の録画では、放送受信用ケーブル(図示省略)を介して受信された放送番組が、放送番組録画用のアプリケーションプログラムに従って録画される。放送番組録画用のアプリケーションプログラムとは、例えば、録画の開始時及び終了時と録画するチャンネルとを予め記憶させて所望の番組を予約録画する予約録画機能を実行させるプログラムである。
なお、上記アプリケーションプログラムやビデオ、オーディオデータは、ディスク媒体に限らず、半導体メモリやテープ媒体から読み取られたもの、有線若しくは無線の広域或いは域内通信回線(例えば、インターネット131)等により供給されたものであってもよい。
また、装置本体10は、オートパワーオフ機能を有し、ユーザからの設定入力に従って、通常モード(非省電力モード)と、電力消費の低減を考慮した省電力モード(オート電源オフモード)とに選択的に設定される。省電力モードでは、電源オンのまま、後述するタイマ解除要件が一度も発生することなく所定時間が経過した(非操作状態が所定時間以上継続した)ことを契機として、強制的に電源オンから電源オフに切り替わる(オートパワーオフ)。一方、通常モードでは、タイマ解除要件の発生の有無に拘わらず、電源オンが維持される。
省電力モードは、第1省電力モードと第2省電力モードという消費電力の低減効果が段階的に異なる2つのモードを含み、装置本体10は、ユーザからの設定入力に従って、省電力モードのうち何れかのモードに選択的に設定される。すなわち、ユーザは、電力消費に関して、通常モード、第1省電力モード及び第2省電力モードという3段階のモードのうち、1つのモードに適宜設定することができる。
第1省電力モードとは、消費電力の低減とユーザの利便性の双方を考慮したモードであり、第2省電力モードとは、消費電力の低減を最優先したモードである。この第1省電力モードと第2省電力モードとの設定に関し、装置本体10が実行する様々な内部処理は、以下の4つのグループに分類される。第1のグループは、当該内部処理の実行中に電源オフに切り替えても、装置本体10に不具合が生じる可能性が低く、且つユーザの利便性があまり低下しない内部処理のグループである。第2のグループは、当該内部処理の実行中に電源オフに切り替えても、装置本体10に不具合が生じる可能性は低いが、ユーザの利便性が低下してしまう内部処理のグループである。第3のグループは、当該内部処理の実行中に電源オフに切り替えてしまうと、装置本体10に不具合が生じる可能性が高いか、又はユーザの利便性が著しく低下してしまう内部処理のグループである。第4のグループは、上記第1〜第3の何れにも属さない内部処理のグループである。
第1省電力モードにおいて、電源オンのままタイマ解除要件が一度も発生することなく所定時間が経過すると、第1のグループの内部処理の実行中は、オートパワーオフ機能が有効となって電源オフに切り替わり、第2及び第3のグループの内部処理の実行中は、オートパワーオフ機能が無効となって、電源オンが維持される。また、第2省電力モードにおいて、電源オンのままタイマ解除要件が一度も発生することなく所定時間が経過すると、第1及び第2のグループの内部処理の実行中は、オートパワーオフ機能が有効となって、電源オフに切り替わり、第3のグループの内部処理の実行中は、オートパワーオフ機能が無効となって、電源オンが維持される。すなわち、第1省電力モードは第2省電力モードに比べてユーザの利便性が良く、第2省電力モードは第1省電力モードに比べて消費電力の低減効果が大きい。第4のグループの場合は、内部処理のそれぞれに応じて電源オフへの切り替えが行われる。
なお、本実施形態では、内部処理を3つの基本グループ(第1〜第3のグループ)とそれ以外の第4のグループとに分類し、2段階の省電力モードを設けたが、内部処理を4つ以上の基本グループに分類し、3段階以上の複数の省電力モードを設けてもよい。内部処理を4つ以上の基本グループに分類する方法としては、例えば、電源オフがユーザの利便性に対して与える影響を3段階以上に分けたり、電源オフが装置本体10に対して与える影響を3段階以上に分けたり、他の判断要素を組み合わせたりなど、様々な方法が可能である。
また、装置本体10(後述するメインCPU64)は、アプリケーションプログラムを実行している途中に電源オフに切り替える場合、アプリケーションプログラムの終了処理を実行した後に電源オフへの切り替えを行う。例えば、ゲームアプリケーションの実行中に電源オフに切り替える場合、切替時のゲームアプリケーションの状態を保存するためのデータ記憶処理などの終了処理を実行した後、電源オフへの切り替えを行う。
〔コントローラの外観〕
図3を用いて、コントローラ20の外観を簡単に説明する。
上記コントローラ20は、装置本体10との間でUSB接続するための上記接続ポート15と、装置本体10との間でBT通信するための上記無線通信部17と、表示部21を備えている。
コントローラ20には、ユーザがコントローラ20を左右の手により把持した状態で、ユーザの左右の手の親指により操作される右操作部31及び左操作部32と、同じく左右の親指によりアナログ操作が可能な右アナログ操作部33及び左アナログ操作部34と、左右の人差し指によりそれぞれ押下操作される右第1押下ボタン35及び左第1押下ボタン36と、左右の中指によりそれぞれ押下操作される右第2押下ボタン37及び左第2押下ボタン38が設けられている。
上記左操作部32には、例えばゲームキャラクタを画面上で移動させるなどの操作をユーザが行う場合に用いられる、上指示ボタン41、下指示ボタン42、左指示ボタン43、右指示ボタン44が設けられている。また、上記右操作部31には、例えばゲームキャラクタの機能の設定や実行など、ゲームアプリケーションによりそれぞれ異なる機能が割り付けられる第1〜第4の操作ボタン45〜48が設けられている。
上記左右のアナログ操作部34,33は、操作軸を中心に360度方向に回転可能で且つ非操作時には弾性部材により中立位置に復帰する左右の回転操作子(図示省略)と、これら左右の回転操作子の操作に応じた信号を発生する信号発生部(図示省略)等を備えている。信号発生部は、操作軸周りの回転操作子の回転位置(回転角度)を示す回転角度信号と、中立位置からの回転操作子の傾斜角度を示す傾斜角度信号とを発生する。
上記左右のアナログ操作部34,33は、例えば、左右の回転操作子を回転操作することにより、ゲームキャラクタを回転しながら移動させ、或いは速度を可変しながら移動させ、さらには形態を変更させる等のアナログ的な動きを実現するための指令信号を入力するため等に用いられる。
さらにコントローラ20は、オン/オフボタン51と、ホームボタン52と、起動ボタン53とを有している。
オン/オフボタン51は、コントローラ20の電源をオン状態とオフ状態とに切り替える際の入力用に割り当てられ、オフ状態のコントローラ20は、オン/オフボタン51が押下されることによりオン状態となる。
ホームボタン52は、装置本体10との間で通信を開始させる際の入力用、及び画像表示部101へのメニュー画面の表示処理を装置本体10に開始させるための入力用として割り当てられている。装置本体10におけるメニュー画面の表示処理は、実行中の他のアプリケーションプログラムを中断して優先的に実行される。また、ホームボタン52が押下されてコントローラ20が装置本体10との間で通信を開始した場合にも、メニュー画面が表示される。
起動ボタン53は、電源オフの装置本体10を起動させて電源オンに切り替える際の入力用として割り当てられている。なお、電源オフの装置本体10を起動させて電源オンに切り替える際の入力用としての機能を、起動ボタン53以外の他のボタンに割り当ててもよい。
表示部21は、例えば、液晶表示パネル、有機若しくは無機EL(Electorluminescence)パネル、セグメント表示器、LED(発光ダイオード)など、ユーザが視認可能な表示を行うものである。
〔装置本体の内部回路構成〕
図4には、上記装置本体10の主要な内部構成を示す。
図4に示すように、装置本体10は、メインバス61とサブバス62とを有し、これらのバス61,62は、バスインターフェース63を介して互いに接続され又は切り離される。
メインバス61には、メインCPU64と、DRAMで構成される揮発性のメインメモリ65と、メインDMAC(Direct Memory Access Controller)66と、フレームメモリ67を内蔵する画像処理デバイス(GPU(Graphic Processing Unit))68が接続される。GPU68には、ビデオ出力信号を生成するための制御手段であるCRTC(CRT controller)69が接続される。ビデオ出力信号により、ケーブル等によって装置本体10と接続されている所定の表示装置(本実施形態では、モニタ装置100の画像表示部101)に画像が表示される。
メインCPU64は、装置本体10の起動時にサブバス62上のROM70から、バスインターフェース63を介して起動プログラムを読み込み、その起動プログラムを実行してオペレーティングシステムを動作させた後、メインバス61上のメインメモリ65から本体機能の設定プログラムや省電力管理プログラムを含む様々なプログラムを読み出し、そのプログラムを動作させる。本体機能の設定プログラムは、省電力モード設定プログラムを含む。また、メインCPU64は、メディアドライブ71を制御するとともに、このメディアドライブ71に装着されたメディア72からアプリケーションプログラムやデータを読み出し、これをメインメモリ65に記憶させる。さらに、メディア72から読み出した各種データ、例えば複数の基本図形(ポリゴン)で構成された3次元オブジェクトデータ(ポリゴンの頂点(代表点)の座標値など)に対して、ジオメトリ処理を行う。ジオメトリ処理によりポリゴン定義情報をその内容とするディスプレイリストを生成する。また、MPEG(Moving Picture Experts Group)方式あるいはJPEG(Joint Photographic Experts Group)方式等で圧縮されたデータを伸張する。つまりメインCPU64は、ソフトウェアにより情報を解読する情報解読機能を持つ。
ポリゴン定義情報は、描画領域設定情報とポリゴン情報とからなる。描画領域設定情報は、描画領域のフレームバッファアドレスにおけるオフセット座標と、描画領域の外部にポリゴンの座標があった場合に、描画をキャンセルするための描画クリッピング領域の座標からなる。ポリゴン情報は、ポリゴン属性情報と頂点情報とからなり、ポリゴン属性情報は、シェーディングモード、αブレンディングモード、およびテクスチャマッピングモード等を指定する情報であり、頂点情報は、頂点描画領域内座標、頂点テクスチャ領域内座標、および頂点色等の情報である。
GPU68は、描画コンテクストを保持しており、メインCPU64から通知されるディスプレイリストに含まれる画像コンテクストの識別情報に基づいて該当する描画コンテクストを読み出し、これを用いてレンダリング処理を行い、フレームメモリ67にポリゴンを描画する。フレームメモリ67は、テクスチャメモリとしても使用できるため、フレームメモリ67上のピクセルイメージをテクスチャとして描画するポリゴンに貼り付けることができる。
メインDMAC66は、メインバス61に接続されている各回路を対象としてDMA転送制御を行うとともに、バスインターフェース63の状態に応じて、サブバス62に接続されている各回路を対象としてDMA転送制御を行う。
メインメモリ65には、コントローラ20の固有IDを登録するUSB接続用コントローラID登録テーブルとBT接続用コントローラID登録テーブルとが予め設けられている。USB接続用コントローラID登録テーブルに登録された固有IDに対応するコントローラ20との間ではUSB接続による通信によって情報の送受信が可能であり、BT接続用コントローラID登録テーブルに登録された固有IDに対応するコントローラ20との間ではBT接続による通信によって情報の送受信が可能となる。ここで、コントローラ20との間で情報の送受信が可能な状態(論理層接続状態)とは、ユーザがコントローラ20の上記各種の入力ボタン33,34,35〜38,41〜48,51,52,53を操作した際に、装置本体10が、ユーザからの操作入力に対応した情報をコントローラ20から受信するとともに、受信した情報が何れのコントローラ20からのものであるかを認識し、受信した情報に応じてメインCPU64が所定の処理を実行することが可能な状態をいう。また、メインメモリ65には、待機時間記憶領域とモード種別記憶領域とが設けられている。待機時間記憶領域には、ユーザによって設定された待機時間(電源オフへの切り替え指示がユーザから入力されない限り、装置本体10が電源オンを継続する時間)が記憶される。モード種別記憶領域には、ユーザによって設定されたモードの種別(通常モード・第1省電力モード・第2省電力モードの何れか)に対応したモード種別情報が記憶される。
サブバス62には、マイクロプロセッサなどで構成されるシステムコントローラ73、フラッシュメモリ等で構成される不揮発性のサブメモリ74、サブDMAC75、オペレーティングシステムなどのプログラムが記憶されているROM70、サウンドメモリ76に蓄積された音データを読み出してオーディオ出力として出力する音声処理装置(SPU(Sound Processing Unit))77、USB通信モジュール78及びBT通信モジュール79と他の構成要素(例えばシステムコントローラ73やサブメモリ74など)との間でのデータの受け渡しを管理する回路群から構成されるサウスブリッジ(SB(South Bridge))54、所定のメディア72を装着するためのメディアドライブ71、及びキーボード80が接続されている。メディア72は、画像処理用のプログラムが記憶されたCD−ROMやDVD−ROM等の記憶媒体である。装置本体10は、この画像処理用のプログラムを読み取って実行することにより、所要のエンタテインメント処理を実行する。USB通信モジュール78は、コントローラポート11(図1に示す)を含み、USB接続ケーブル13を介してコントローラ20との間で有線による情報の送受信を行う。BT通信モジュール79は、無線通信部16(図1に示す)を含み、BT通信を介してコントローラ20との間で無線による情報の送受信を行う。
システムコントローラ73は、ROM70に記憶されているプログラムに従って後述する起動処理を含む各種動作を行う。また、システムコントローラ73は、サウスブリッジ54をバイパスしてBT通信モジュール79に直接接続されている。これにより、電源オフにおいてサウスブリッジ54が停止している場合であっても、BT通信モジュール79がコントローラ20から物理層接続要求信号を受信すると、この物理層接続要求信号がシステムコントローラ73へ送信される。サブDMAC75は、バスインターフェース63がメインバス61とサブバス62を切り離している状態においてのみ、サブバス62に接続されている各回路を対象としてDMA転送などの制御を行う。
電源オフでは、システムコントローラ73とBT通信モジュール79のみが起動し、メインCPU64などの他の構成要素は停止する。この状態で、BT通信モジュール79は、コントローラ20から物理層接続要求信号を受信可能である。また、電源オフの装置本体10が電源オンへの切り替え指示を受けると、システムコントローラ73がメインCPU64などの停止中の構成要素を起動させる起動処理を開始する。この起動処理において、メインCPU64は、サブバス62上のROM70から、バスインターフェース63を介して起動プログラムを読み込み、その起動プログラムを実行してオペレーティングシステムを動作させ、さらにメインバス61上のメインメモリ65からBTドライバやUSBドライバやコントローラ接続管理プログラムなどのプログラムを順次読み込み、そのプログラムを順次動作させる。起動処理時にメインCPU64が読み込んで動作させるプログラムは予め設定されており、設定された全てのプログラムを動作させることにより、メインCPU64の起動が完了する。また、起動処理において、USB通信モジュール78及びサウスブリッジ54は、メインCPU64の起動開始前に起動する。さらに、メインCPU64は、BTドライバ及びUSBドライバの読み込み及び動作を実行した後、コントローラ接続管理プログラムの読み込み及び動作を実行する。
また、BT通信モジュール79は、物理層接続要求信号をコントローラ20から受信すると、コントローラ20へ物理層接続許可信号を送信し、コントローラ20との間で無線通信による情報(データ)の論理層間での送受信が可能な状態(無線接続完了状態)を確立する。
〔コントローラの内部構成〕
次に、図5に、コントローラ20の主要な内部構成を示す。
図5において、コントローラ20は、CPU81と、DRAMで構成される揮発性のメインメモリ82と、バッテリ83と、傾斜センサ84と、振動素子85と、スピーカ86と、操作キー87と、表示部(セグメント表示器又はLED)21と、USB通信モジュール88と、BT通信モジュール89と、フラッシュメモリ等で構成される不揮発性のサブメモリ91とを有し、これらはバス90を介して接続されている。操作キー87とは、コントローラ20に設けられた上記各種の入力ボタン33,34,35〜38,41〜48,51〜53の総称である。
CPU81は、コントローラ20の起動時にサブメモリ91から起動プログラムを読み込み、その起動プログラムを実行する。また、CPU81は、表示部21を所定の発光状態に制御する表示制御や、スピーカ86への音声出力を制御する音声制御や、振動素子85を駆動させてコントローラ20に振動を与える振動制御を実行する。
さらにCPU81は、ホームボタン52又は起動ボタン53が押下されたとき、物理層接続要求信号を生成し、生成した物理層接続要求信号をBT通信モジュール89から装置本体10へ送信させる。
USB通信モジュール88は、USB接続ケーブル13を介して装置本体10との間で有線による情報の送受信を行い、BT通信モジュール89は、BT通信を介して装置本体10との間で無線による情報の送受信を行う。USB通信モジュール88は、接続ポート15(図1に示す)を含み、BT通信モジュール89は、無線通信部17(図1に示す)を含む。USB通信モジュール88の接続ポート15とBT通信モジュール89の無線通信部17とは、一方の通信パスのみが選択的に使用可能であり、何れの通信パスを使用するかはCPU81によって設定される。基本的に、コントローラ20と装置本体10とがUSB接続ケーブル13で接続されている状態では、通信パスとしてUSB通信モジュール88が選択され設定される。
但し、コントローラ20と装置本体10とがUSB接続ケーブル13で接続されている状態であっても、起動ボタン53が押下操作された場合には、通信パスとしてBT通信モジュール89が選択され設定される。そして、BT通信モジュール89と装置本体10との間で無線接続完了状態が確立すると、CPU81は通信パスをBT通信モジュール89からUSB通信モジュール88に切り替える。このように、USB接続ケーブル13が接続されている場合であっても、通信パスとしてBT通信モジュール89を設定するのは、起動ボタン53が押下操作される場合、装置本体10が電源オフである可能性が高く、電源オフの装置本体10ではUSB通信モジュール78の起動やメインCPU64によるUSBドライバの読み込み及び動作が完了するまでUSB通信による情報(データ)の送受を行うことができず、BT通信モジュール89と装置本体10との間で無線接続完了状態が確立した後であれば、USB通信モジュール78の起動やメインCPU64によるUSBドライバの読み込み及び動作が完了しており、USB通信が可能なためである。
また、サブメモリ91には、コントローラ20ごとに固有に付された端末識別情報としての固有IDが予め記憶されている。CPU81は、所定のタイミングでサブメモリ91から固有IDを読み出し、読み出した固有IDをUSB通信モジュール88又はBT通信モジュール89から装置本体10へ送信させる。
また、CPU81は、操作キー87に対するユーザからの操作入力に応じて予め設定された指示信号を生成し、生成した指示信号をUSB通信モジュール88又はBT通信モジュール89から装置本体10へ送信させる。特に、ホームボタン52と、他の入力ボタン33,34,35〜38,41〜48,53のうち少なくとも一つとが同時に押下されると、CPU81は、ボタンの組み合わせに応じた特定処理実行指示信号を、装置本体10へ送信させる。なお、アナログ操作部34,33が操作された場合、CPU81は、上記信号発生部が発生する回転角度信号及び傾斜角度信号を装置本体10へ送信させる。
なお、コントローラ20と装置本体10との間を接続するUSB接続ケーブル13(図1に示す)は電源供給線を含み、USB接続状態において、装置本体10は、電源供給線を介してコントローラ20の電源を供給すると共に、バッテリ83の充電を行う。
傾きセンサ92は、例えば3軸方向の加速度を検出する加速度センサと1軸周りの角速度を検出する角速度センサとから構成され、各センサからの検出値は、USB通信モジュール88又はBT通信モジュール89から装置本体10へ送信される。装置本体10では、コントローラ20から受信した傾きセンサ92の検出値が変化したか否かを検知し、変化した場合には、コントローラ20の姿勢が変化したと判定する。なお、傾きセンサ92は、上記に限定されるものではなく、加速度センサに代えて他の軸周りの角速度を検出する角速度センサを設けるなど、コントローラ20の姿勢の変化を検知可能であれば、どのような構成であってもよい。
〔携帯端末装置の概略構成〕
携帯端末装置120は、装置本体10と同様のビデオゲーム機としての機能と、コントローラ20と同様の操作端末としての機能とを有する小型の情報処理装置である。携帯端末装置120の外面には、上記接続ポート121及び無線通信部123と、コントローラ20と同様に、右操作部31及び左操作部32と、右第1押下ボタン35及び左第1押下ボタン36と、ホームボタン52とが、操作キーとして設けられている。リモートプレイ実行時において、ユーザが操作キーに対して操作入力を行うと、携帯端末装置120は、操作された操作キーに対応する指示信号を装置本体10へ送信する。
また、携帯端末装置120は、表示パネル124を一体的に備える。表示パネル124は、例えば、液晶パネル、有機若しくは無機ELパネルなど、ユーザが視認可能な表示を行うものである。リモートプレイの実行時において、装置本体10は、モニタ装置100へ供給する映像信号を携帯端末装置120にも送信する。携帯端末装置120のメインCPU(図示省略)は、装置本体10から受信した映像信号に基づく映像を、表示パネル124に表示させる。すなわち、リモートプレイの実行時には、表示パネル124にモニタ装置100と同じ映像が表示され、ユーザは表示パネル124の表示を視ながら、携帯端末装置120の操作キーを操作して、装置本体10に対する操作入力を行うことができる。
〔省電力モード設定処理の説明〕
装置本体10のメインCPU64は、メインメモリ65に記憶された省電力モード設定プログラムに従って、省電力モード設定処理を実行する。なお、コントローラ20と携帯端末装置120とでは、ユーザによる入力操作が共通するため、以下の説明では、コントローラ20を用いた場合について説明し、携帯端末装置120を用いた場合についてはその説明を省略する。また、装置本体10の表示制御の対象はモニタ装置100であり、ユーザの操作入力の対象はコントローラ20であるため、各操作対象については適宜省略して説明する。
省電力モードの設定は、ユーザからコントローラ20への省電力モード設定指示入力によって開始される。具体的には、ユーザは、コントローラ20に対して所定の入力操作を行い、メニュー画面をモニタ装置100に表示させ、メニュー内の「省電力設定」という項目(アイコン)を選択して決定する。この決定入力に対応する信号を受信した装置本体10は、「本体自動電源オフ」という項目と「コントローラ自動電源オフ」という項目とを表示する。ユーザがコントローラ20に対して所定の入力操作を行い、「本体自動電源オフ」という項目を選択して決定すると、この決定入力に対応する信号を受信した装置本体10のメインCPU64は、省電力モード設定処理を開始する。
省電力モード設定処理が開始されると、装置本体10は、「1時間後」、「2時間後」、「3時間後」、「5時間後」という4段階の待機時間を示す項目と、「切」という通常モードへの移行を示す項目を並列して表示する。ユーザが所定の入力操作を行い、「1時間後」、「2時間後」、「3時間後」、又は「5時間後」のうち何れかの項目(「切」以外の項目)を選択して決定すると、この決定入力に対応する信号を受信した装置本体10は、受信した信号に対応する待機時間(ユーザによって選択された待機時間)をメインメモリ65の待機時間記憶領域に記憶するとともに、第2省電力モードを設定するためのチェックボックスと決定アイコンとを表示する。チェックボックスの近傍には、例えば「一部の機能が動作中でも自動的に電源を切る」などのように、第2省電力モードを設定するためのチェックボックスであることを報知する文章が表示される。また、決定アイコンには、例えば「OK」などの文字が表示される。
ユーザが所定の入力操作を行い、チェックボックスを選択して決定し、且つ決定アイコンを選択して決定すると、この決定入力に対応する信号を受信した装置本体10は、メインメモリ65のモード種別記憶領域に、第2省電力モードを示すモード種別情報を記憶させて、本処理を終了する。一方、ユーザが所定の入力操作を行い、チェックボックスを選択せずに決定アイコンを選択して決定すると、この決定入力に対応する信号を受信した装置本体10は、メインメモリ65のモード種別記憶領域に、第1省電力モードを示すモード種別情報を記憶させて、本処理を終了する。
また、「1時間後」、「2時間後」、「3時間後」、「5時間後」及び「切」という5つの項目が表示された状態で、ユーザが所定の入力操作を行い、「切」の項目を選択して決定すると、この決定入力に対応する信号を受信した装置本体10は、メインメモリ65のモード種別記憶領域に記憶されているモード種別情報を削除(クリア)して、本処理を終了する。
なお、初期設定(デフォルト設定)は、通常モードであり、モード種別記憶領域には何れのモード種別情報も記憶されていない。
〔内部処理と省電力モードの種別と電源オフへの切替条件との対応関係の説明〕
内部処理と省電力モードの種別と電源オフへの切替条件との対応関係について、図6を参照して説明する。図6は、装置本体10が実行する各内部処理と、設定されている省電力モードの種別(第1省電力モード・第2省電力モード)と、電源オンのままタイマ解除要件が一度も発生することなく所定時間が経過したときに設定する電源の状態(電源オン継続又は電源オフ)との対応関係を示す図である。なお、これらの対応関係は、省電力管理プログラムに予め含まれている。また、以下の説明中、括弧内の数字は、図6に付した番号である。
省電力モードにおいて、装置本体10が実行する様々な内部処理の各々は、第1〜第3のグループ(基本グループ)と、それ以外の第4のグループとに分類される。
第1のグループには、電源オンのままタイマ解除要件が一度も発生することなく所定時間が経過したときに、電源オフに切り替えても、装置本体10に不具合が生じる可能性が低く、且つユーザの利便性があまり低下しない内部処理が属する。具体的には、(6)ビデオチャットで一人待機中、(7)ビデオ/音楽/スライドショー一時停止中、(8)フォト1枚表示中、(9)ブラウザ実行中、及び(10)バックグラウンドでダウンロード中が第1のグループに属する。なお、(10)バックグラウンドでダウンロード中が本グループに属しているのは、ダウンロードの途中で装置本体10が電源オンから電源オフに切り替わると、ダウンロードが一時的に中断され、装置本体10の再起動に伴ってダウンロードが再開されるため、ユーザの利便性が著しく低下しないためである。
第2のグループには、電源オフに切り替えても、装置本体10に不具合が生じる可能性は低いが、ユーザの利便性が低下してしまう内部処理が属する。具体的には、(1)ゲームアプリケーション実行中(2)ビデオ/音楽/スライドショー再生中(3)ビデオチャット中(4)印刷中(5)リモートプレイ待機中が第2のグループに属する。なお、(5)リモートプレイ待機中とは、装置本体10が携帯端末装置120からリモートプレイのための接続要求信号を受け付け可能な状態に設定された状態であって、リモートプレイによって他の内部処理(上記(1)〜(4)及び(6)〜(14)の何れかの処理)が未だ実行されていない状態である。このリモートプレイ待機中が本グループに属しているのは、中継器130の中には、電源オフの装置本体10を電源オンに切り替えるための起動要求信号を携帯端末装置120が送信しても、その起動要求信号を装置本体10に送信しないものが存在し、このような中継器130が装置本体10に接続されている場合、リモートプレイによって装置本体10が電源オンから電源オフに切り替えられてしまうと、リモートプレイによって装置本体10を起動させることができなくなり、外出先でリモートプレイを行っているユーザにとって利便性が低下するためである。
第3のグループには、電源オフに切り替えると、装置本体10に不具合が生じる可能性が高いか、又はユーザの利便性が著しく低下してしまう内部処理が属する。具体的には、(11)フォアグラウンドでダウンロード中(12)インストール中/アップデート中(13)コピー中/削除中(14)フォーマット中/バックアップ中/リストア中(15)放送番組の録画中が属する。なお、(11)フォアグラウンドでダウンロード中が本グループに属しているのは、ダウンロードの途中で装置本体10が電源オンから電源オフに切り替わると、ダウンロードが途中で終了し、装置本体10が再起動してもダウンロードは再開されないためである。また、(15)放送番組の録画中が本グループに属しているのは、放送時間が待機時間よりも長い番組を録画する場合、その録画中に電源オフに切り替わってしまうことは、ユーザにとって著しく不便なためである。
第1省電力モードにおいて、電源オンのままタイマ解除要件が一度も発生することなく所定時間(待機時間記憶領域に記憶された待機時間)が経過した場合、第1のグループの内部処理の実行中であれば、電源オンから電源オフに切り替える。一方、第2及び第3のグループの内部処理の実行中であれば、電源オンを維持する。
また、第2省電力モードにおいて、電源オンのままタイマ解除要件が一度も発生することなく所定時間が経過した場合、第1及び第2のグループの内部処理の実行中であれば、電源オンから電源オフに切り替える。一方、第3のグループの内部処理の実行中であれば、電源オンを維持する。
また、第4グループには、(16)リモートプレイ実行中が属する。第1省電力モードにおけるリモートプレイ実行中であれば、電源オンのままタイマ解除要件が一度も発生することなく所定時間が経過した場合、上記(5)リモートプレイ待機中と同様の理由から、電源オンを維持する。一方、第2省電力モードにおけるリモートプレイ実行中の場合、電源オンを維持するか電源オフに切り替えるかを、リモートプレイによって装置本体10が実行している内部処理(上記(1)〜(15))に応じて決定する。すなわち、上記(1)〜(10)の場合には電源オンから電源オフに切り替え、上記(11)〜(15)の場合には電源オンを維持する。
〔タイマ解除要件の説明〕
タイマ解除要件とは、装置本体10が省電力管理処理を実行しているときに、常に計時している内部タイマをクリアする(それまで計時した時間をクリアしてゼロから計時を再開する)契機となる要件であり、その内容を図7に示す。なお、これらのタイマ解除要件のうち下記(1)〜(5)は、省電力管理プログラムに予め含まれている。また、以下の説明中、括弧内の数字は、図7に付した番号である。
図7に示すように、タイマ解除要件は、(1)コントローラ20から操作キー87の何れかに対応した指示信号を受信すること、(2)傾きセンサ84からの検出値が変化すること、(3)キーボード/マウスから指示信号を受信すること、(4)外部メディアのエジェクトボタンの操作を検知(5)外部メディアの挿入を検知すること、及び(6)第1省電力モード又は第2省電力モードにおいて、電源オンのまま上記(1)〜(5)のタイマ解除条件が一度も成立せずに所定時間が経過しても電源オンが継続することである。これらの要件(1)〜(3)は、ユーザが操作端末を操作した場合であり、要件(4)及び(5)は、ユーザが装置本体10を直接操作した場合である。なお、(1)は、携帯端末装置120から操作キーの何れかに対応した指示信号を受信することも含む。さらに、(1)は、受信した回転操作子の回転角度信号又は傾斜角度信号が変化した場合も含む。
〔省電力管理処理の説明〕
装置本体10のメインCPU64は、メインメモリ65に記憶された省電力管理プログラムに従って、省電力管理処理を実行する。この省電力管理処理は、電源オフ時及び電源音時の双方で実行される。
図8は、メインCPU64が実行する省電力管理処理を示すフローチャートである。省電力管理処理は、装置本体10が省電力モードへの移行したときに開始され、電源オンであるときに所定時間毎に繰り返して実行される。
省電力管理処理が開始されると、内部タイマによる計時が開始し、タイマ解除要件が発生したか否かを判定する(ステップS1)。タイマ解除要件が発生していないときは(ステップS1:No)、内部タイマの計時が所定時間(設定された待機時間)を経過したか否かを判定し(ステップS2)、所定時間に未だ達していないときは(ステップS2:No)、本処理を終了する。すなわち、ユーザが操作端末及び装置本体10の何れに対しても操作を行っていない状態が、記憶された待機時間以上継続するまでの間は、電源オンに維持される。
内部タイマの計時が所定時間に達しているときは(ステップS2:Yes)、設定されている省電力モードの種別と、装置本体10が実行している各内部処理と、図6の対応関係とに基づき、電源オフへの切替条件が成立しているか否かを判定し(ステップS3)、電源オフへの切替条件が成立していると判定した場合(ステップS3:Yes)、電源オフに切り替え(ステップS4)、本処理を終了する。
ステップS3の処理において電源オフへの切替条件が成立していないと判定した場合(ステップS3:No)、内部タイマをリセットし、それまで計時した時間をクリアしてゼロから計時を再開して、本処理を終了する。
例えば、装置本体10がゲームアプリケーションを実行中であり(図6の内部処理(1))、記憶された待機時間が1時間であり、設定された省電力モードが第2省電力モードである場合、ユーザが操作端末及び装置本体10の何れに対しても操作を行っていない状態が1時間以上継続すると、メインCPU64は装置本体10を電源オフに切り替える。一方、装置本体10がゲームアプリケーションを実行中であり(図6の内部処理(1))、記憶された待機時間が1時間であり、設定された省電力モードが第1省電力モードである場合、ユーザが操作端末及び装置本体10の何れに対しても操作を行っていない状態が1時間以上継続しても、メインCPU64は装置本体10を電源オンに維持する。
また、タイマ解除要件が発生したときは(ステップS1:Yes)、内部タイマをリセットし(ステップS6)、それまで計時した時間をクリアしてゼロから計時を再開して、本処理を終了する。
以上説明したように、本実施形態によれば、各ユーザは、簡単な操作入力によって、装置本体10を所望の省電力モードに設定することができ、これにより、自己の要求に応じたオートパワーオフを実行させることができる。
なお、上記実施形態では、各省電力モードの種別及び内容が図6に示すように予め設定されているが、ユーザからの操作入力に種別や内容(対応関係)を適宜変更して設定可能に構成してもよい。
最後に、上述の各実施の形態の説明は本発明の一例である。このため、本発明は上述の各実施の形態に限定されることはなく、本発明の技術的思想を逸脱しない範囲であれば、上述の実施の形態以外であっても種々の変更が可能であることは勿論である。
本発明は、オートパワーオフ機能を有する情報処理装置に広く適用可能である。
本発明の一実施形態のエンタテインメントシステムの概要を示す模式図である。 装置本体が接続されたネットワークを示す模式図である。 コントローラの外部構成を示す模式図である。 装置本体の内部構成を示すブロック図である。 コントローラの内部構成を示すブロック図である。 装置本体が実行する各内部処理と、省電力モードの種別と、電源オンのままタイマ解除要件が一度も発生することなく所定時間が経過したときに設定する電源の状態との対応関係を示す図である。 タイマ解除要件の内容を示す図である。 省電力管理処理を示すフローチャートである。
符号の説明
10:エンタテインメント装置(装置本体)、20:コントローラ、64:メインCPU、65:メインメモリ、120:携帯操作端末

Claims (6)

  1. オートパワーオフ機能を有する情報処理装置であって、
    消費電力の低減効果が段階的に異なる第1のモードと第2のモードとを含む複数の省電力モードの中から、ユーザからの設定入力に従って1つのモードを設定する省電力モード設定手段と、
    ユーザからの入力操作を受けていない非操作状態が所定時間以上継続したか否かを判定する非操作継続時間判定手段と、
    内部処理を実行する処理実行手段と、
    前記非操作状態が所定時間以上継続したと前記非操作継続時間判定手段が判定したとき、前記省電力モード設定手段が設定したモードと、前記処理実行手段が実行中の内部処理とに基づいて、オートパワーオフ機能を実行するか否かを決定するオートパワーオフ決定手段と、
    を備えたことを特徴とする情報処理装置。
  2. 請求項1に記載の情報処理装置であって、
    前記第1のモードは、前記処理実行手段が所定の内部処理の実行中に、前記非操作状態が所定時間以上継続したと前記非操作継続時間判定手段が判定したときに、前記オートパワーオフ決定手段がオートパワーオフを実行しないと決定するモードであり、
    前記第2のモードは、前記処理実行手段が前記所定の内部処理の実行中に、前記非操作状態が所定時間以上継続したと前記非操作継続時間判定手段が判定したときに、前記オートパワーオフ決定手段がオートパワーオフを実行すると決定するモードである
    ことを特徴とする情報処理装置。
  3. 請求項2に記載の情報処理装置であって、
    前記所定の内部処理は、ゲームアプリケーションの実行又はビデオの再生である
    ことを特徴とする情報処理装置。
  4. 請求項1に記載の情報処理装置であって、
    前記処理実行手段が実行する内部処理は、前記非操作状態が所定時間以上継続したと前記非操作継続時間判定手段が判定したとき、前記オートパワーオフ決定手段が、前記第1のモードと前記第2のモードの何れであってもオートパワーオフを実行する決定する第1のグループと、前記第1のモードではオートパワーオフを実行しないと決定し、前記第2のモードではオートパワーオフを実行すると決定する第2のグループと、前記第1のモードと前記第2のモードの何れであってもオートパワーオフを実行しないと決定する第3のグループとを含む複数のグループに分類される
    ことを特徴とする情報処理装置。
  5. オートパワーオフ機能を有する情報処理装置のコンピュータを、
    消費電力の低減効果が段階的に異なる第1のモードと第2のモードとを含む複数のモードの中から、ユーザからの設定入力に従って1つのモードを設定する省電力モード設定手段、
    ユーザからの入力操作を受けていない非操作状態が所定時間以上継続したか否かを判定する非操作継続時間判定手段、
    内部処理を実行する処理実行手段、及び
    前記非操作状態が所定時間以上継続したと前記非操作継続時間判定手段が判定したとき、前記省電力モード設定手段が設定したモードと、前記処理実行手段が実行中の内部処理とに基づいて、オートパワーオフを実行するか否かを決定するオートパワーオフ決定手段、
    として機能させるための省電力管理プログラム。
  6. 請求項5に記載の省電力管理プログラムが記憶されたコンピュータ読み取り可能な記憶媒体。
JP2008265791A 2008-10-14 2008-10-14 情報処理装置、省電力管理プログラム及び省電力管理プログラムが記憶された記憶媒体 Active JP5260229B2 (ja)

Priority Applications (3)

Application Number Priority Date Filing Date Title
JP2008265791A JP5260229B2 (ja) 2008-10-14 2008-10-14 情報処理装置、省電力管理プログラム及び省電力管理プログラムが記憶された記憶媒体
US12/576,155 US8386817B2 (en) 2008-10-14 2009-10-08 Information processing unit, power-saving management program, and storage medium stored with the power-saving management program
US13/750,914 US8850253B2 (en) 2008-10-14 2013-01-25 Information processing unit, power-saving management program, and storage medium stored with the power-saving management program

Applications Claiming Priority (1)

Application Number Priority Date Filing Date Title
JP2008265791A JP5260229B2 (ja) 2008-10-14 2008-10-14 情報処理装置、省電力管理プログラム及び省電力管理プログラムが記憶された記憶媒体

Publications (2)

Publication Number Publication Date
JP2010097293A true JP2010097293A (ja) 2010-04-30
JP5260229B2 JP5260229B2 (ja) 2013-08-14

Family

ID=42099975

Family Applications (1)

Application Number Title Priority Date Filing Date
JP2008265791A Active JP5260229B2 (ja) 2008-10-14 2008-10-14 情報処理装置、省電力管理プログラム及び省電力管理プログラムが記憶された記憶媒体

Country Status (2)

Country Link
US (2) US8386817B2 (ja)
JP (1) JP5260229B2 (ja)

Cited By (3)

* Cited by examiner, † Cited by third party
Publication number Priority date Publication date Assignee Title
JP2012249885A (ja) * 2011-06-03 2012-12-20 Nintendo Co Ltd ゲームシステム、情報処理方法、ゲーム装置、および情報処理プログラム
JP2014066936A (ja) * 2012-09-26 2014-04-17 Xing Inc カラオケ装置
JP2015084944A (ja) * 2013-10-30 2015-05-07 株式会社ソニー・コンピュータエンタテインメント 情報処理システムおよび情報処理装置

Families Citing this family (19)

* Cited by examiner, † Cited by third party
Publication number Priority date Publication date Assignee Title
JP5260229B2 (ja) 2008-10-14 2013-08-14 株式会社ソニー・コンピュータエンタテインメント 情報処理装置、省電力管理プログラム及び省電力管理プログラムが記憶された記憶媒体
JP5493970B2 (ja) * 2010-02-17 2014-05-14 セイコーエプソン株式会社 画像形成装置
CN103210639B (zh) 2010-09-13 2019-05-07 康道尔知识产权控股有限责任公司 配置用于远程图像采集控制和观看的便携式数字视频摄像机
US8850251B1 (en) * 2011-01-19 2014-09-30 Intellectual Ventures Fund 79 Llc Methods, devices, and mediums associated with controlling a power mode
JP6001843B2 (ja) * 2011-11-15 2016-10-05 任天堂株式会社 情報処理装置、情報処理システム、情報処理方法およびプログラム
US9367342B2 (en) * 2011-11-24 2016-06-14 Panasonic Intellectual Property Corporation Of America Optimizing a deactivation process for a virtual machine system
JP6075820B2 (ja) * 2012-02-06 2017-02-08 キヤノン株式会社 画像形成装置及び画像形成装置の制御方法
US8934045B2 (en) * 2012-03-12 2015-01-13 Apple Inc. Digital camera system having remote control
US20130235234A1 (en) 2012-03-12 2013-09-12 Megan Lyn Cucci Digital camera having multiple image capture systems
EP2890093A4 (en) * 2012-08-24 2016-01-20 Toyota Motor Co Ltd PORTABLE TERMINAL, METHOD FOR CONTROLLING THE PORTABLE TERMINAL, PROGRAM CARRIED OUT ON THE PORTABLE TERMINAL AND SUPPORT FOR THE PORTABLE TERMINAL
US9436505B2 (en) * 2013-02-22 2016-09-06 Red Hat Israel, Ltd. Power management for host with devices assigned to virtual machines
KR20140110570A (ko) * 2013-03-08 2014-09-17 삼성전자주식회사 단말의 절전모드 운영방법 및 장치
CN106232195A (zh) * 2014-03-09 2016-12-14 西博互动有限公司 经由产品的动态通知系统
KR102161200B1 (ko) * 2014-04-21 2020-09-29 삼성전자주식회사 슬립 모드 제어 방법 및 그 전자 장치
AU2016204533A1 (en) * 2015-07-09 2017-02-02 Embertec Pty Ltd Standby Power Controller With Enhanced Use Detection
JP6592366B2 (ja) * 2016-01-21 2019-10-16 キヤノン株式会社 通信装置およびその制御方法ならびにプログラム
CN109416577B (zh) * 2016-06-28 2021-12-31 索尼互动娱乐股份有限公司 使用状态确定装置、使用状态确定方法和程序
CN206022735U (zh) * 2016-07-01 2017-03-15 吴文强 多功能插座
JP7161358B2 (ja) 2018-09-26 2022-10-26 キヤノン株式会社 電子機器及び当該機器における電源オフのエラーの提示方法

Citations (5)

* Cited by examiner, † Cited by third party
Publication number Priority date Publication date Assignee Title
JPH1083232A (ja) * 1996-09-06 1998-03-31 Yazaki Corp オートパワーオフ方法、及びこれを用いた情報処理装置
JP2002182805A (ja) * 2000-12-18 2002-06-28 Casio Comput Co Ltd 情報端末装置及び電源管理処理プログラムを記憶した記録媒体
JP2003274262A (ja) * 2002-03-13 2003-09-26 Sony Corp 電子機器、撮像装置および電源制御方法
JP2004185050A (ja) * 2002-11-29 2004-07-02 Toshiba Corp 電子機器および同機器のシステム環境設定方法
JP2006114170A (ja) * 2004-10-18 2006-04-27 Funai Electric Co Ltd 再生装置

Family Cites Families (4)

* Cited by examiner, † Cited by third party
Publication number Priority date Publication date Assignee Title
JP2003099160A (ja) 2001-09-21 2003-04-04 Sharp Corp オートパワーオフ機能を有する情報機器
WO2006095848A1 (ja) * 2005-03-11 2006-09-14 Vodafone K.K. 処理判定方法及び移動通信端末装置
JP4743856B2 (ja) * 2005-09-13 2011-08-10 キヤノン株式会社 撮像装置及びその制御方法
JP5260229B2 (ja) 2008-10-14 2013-08-14 株式会社ソニー・コンピュータエンタテインメント 情報処理装置、省電力管理プログラム及び省電力管理プログラムが記憶された記憶媒体

Patent Citations (5)

* Cited by examiner, † Cited by third party
Publication number Priority date Publication date Assignee Title
JPH1083232A (ja) * 1996-09-06 1998-03-31 Yazaki Corp オートパワーオフ方法、及びこれを用いた情報処理装置
JP2002182805A (ja) * 2000-12-18 2002-06-28 Casio Comput Co Ltd 情報端末装置及び電源管理処理プログラムを記憶した記録媒体
JP2003274262A (ja) * 2002-03-13 2003-09-26 Sony Corp 電子機器、撮像装置および電源制御方法
JP2004185050A (ja) * 2002-11-29 2004-07-02 Toshiba Corp 電子機器および同機器のシステム環境設定方法
JP2006114170A (ja) * 2004-10-18 2006-04-27 Funai Electric Co Ltd 再生装置

Cited By (5)

* Cited by examiner, † Cited by third party
Publication number Priority date Publication date Assignee Title
JP2012249885A (ja) * 2011-06-03 2012-12-20 Nintendo Co Ltd ゲームシステム、情報処理方法、ゲーム装置、および情報処理プログラム
JP2014066936A (ja) * 2012-09-26 2014-04-17 Xing Inc カラオケ装置
JP2015084944A (ja) * 2013-10-30 2015-05-07 株式会社ソニー・コンピュータエンタテインメント 情報処理システムおよび情報処理装置
WO2015063966A1 (ja) * 2013-10-30 2015-05-07 株式会社ソニー・コンピュータエンタテインメント 情報処理システムおよび情報処理装置
US10130880B2 (en) 2013-10-30 2018-11-20 Sony Interactive Entertainment Inc. Information processing system and information processing device

Also Published As

Publication number Publication date
US20130191671A1 (en) 2013-07-25
US8850253B2 (en) 2014-09-30
JP5260229B2 (ja) 2013-08-14
US20100095144A1 (en) 2010-04-15
US8386817B2 (en) 2013-02-26

Similar Documents

Publication Publication Date Title
JP5260229B2 (ja) 情報処理装置、省電力管理プログラム及び省電力管理プログラムが記憶された記憶媒体
US12274938B2 (en) Information processing apparatus and inputting apparatus for sharing image data
JP5694887B2 (ja) 情報通信システム、情報処理装置、及び操作端末
CN103975313A (zh) 信息处理系统、电子设备、图像文件播放方法和生成方法
US12330059B2 (en) Information processing device and image display method
CN101249308B (zh) 信息通信系统、信息处理装置及信息通信方法
CN101700434B (zh) 游戏系统
JP5010822B2 (ja) 情報通信システム、情報処理装置、情報処理プログラム、及び情報処理プログラムが記憶された記憶媒体、表示制御方法
JP7568388B2 (ja) 情報処理装置および画像表示方法
JP7670776B2 (ja) ゲーム装置および処理方法

Legal Events

Date Code Title Description
A711 Notification of change in applicant

Free format text: JAPANESE INTERMEDIATE CODE: A712

Effective date: 20101125

RD02 Notification of acceptance of power of attorney

Free format text: JAPANESE INTERMEDIATE CODE: A7422

Effective date: 20110105

A621 Written request for application examination

Free format text: JAPANESE INTERMEDIATE CODE: A621

Effective date: 20110929

A977 Report on retrieval

Free format text: JAPANESE INTERMEDIATE CODE: A971007

Effective date: 20120815

A131 Notification of reasons for refusal

Free format text: JAPANESE INTERMEDIATE CODE: A131

Effective date: 20120817

A521 Request for written amendment filed

Free format text: JAPANESE INTERMEDIATE CODE: A523

Effective date: 20121015

TRDD Decision of grant or rejection written
A01 Written decision to grant a patent or to grant a registration (utility model)

Free format text: JAPANESE INTERMEDIATE CODE: A01

Effective date: 20130329

A61 First payment of annual fees (during grant procedure)

Free format text: JAPANESE INTERMEDIATE CODE: A61

Effective date: 20130425

FPAY Renewal fee payment (event date is renewal date of database)

Free format text: PAYMENT UNTIL: 20160502

Year of fee payment: 3

R150 Certificate of patent or registration of utility model

Ref document number: 5260229

Country of ref document: JP

Free format text: JAPANESE INTERMEDIATE CODE: R150

Free format text: JAPANESE INTERMEDIATE CODE: R150

R250 Receipt of annual fees

Free format text: JAPANESE INTERMEDIATE CODE: R250

R250 Receipt of annual fees

Free format text: JAPANESE INTERMEDIATE CODE: R250

R250 Receipt of annual fees

Free format text: JAPANESE INTERMEDIATE CODE: R250

R250 Receipt of annual fees

Free format text: JAPANESE INTERMEDIATE CODE: R250

R250 Receipt of annual fees

Free format text: JAPANESE INTERMEDIATE CODE: R250

R250 Receipt of annual fees

Free format text: JAPANESE INTERMEDIATE CODE: R250