JP2010095902A - 戸当り - Google Patents

戸当り Download PDF

Info

Publication number
JP2010095902A
JP2010095902A JP2008267516A JP2008267516A JP2010095902A JP 2010095902 A JP2010095902 A JP 2010095902A JP 2008267516 A JP2008267516 A JP 2008267516A JP 2008267516 A JP2008267516 A JP 2008267516A JP 2010095902 A JP2010095902 A JP 2010095902A
Authority
JP
Japan
Prior art keywords
door
side member
magnet
casing
floor surface
Prior art date
Legal status (The legal status is an assumption and is not a legal conclusion. Google has not performed a legal analysis and makes no representation as to the accuracy of the status listed.)
Granted
Application number
JP2008267516A
Other languages
English (en)
Other versions
JP5285386B2 (ja
Inventor
Katsumi Yagi
克巳 八木
Norito Yagi
準人 八木
Current Assignee (The listed assignees may be inaccurate. Google has not performed a legal analysis and makes no representation or warranty as to the accuracy of the list.)
Yagi KK
Original Assignee
Yagi KK
Priority date (The priority date is an assumption and is not a legal conclusion. Google has not performed a legal analysis and makes no representation as to the accuracy of the date listed.)
Filing date
Publication date
Application filed by Yagi KK filed Critical Yagi KK
Priority to JP2008267516A priority Critical patent/JP5285386B2/ja
Publication of JP2010095902A publication Critical patent/JP2010095902A/ja
Application granted granted Critical
Publication of JP5285386B2 publication Critical patent/JP5285386B2/ja
Expired - Fee Related legal-status Critical Current
Anticipated expiration legal-status Critical

Links

Images

Landscapes

  • Closing And Opening Devices For Wings, And Checks For Wings (AREA)

Abstract

【課題】本発明は、歩行や運搬物などの移動を安全に行なうことができ、しかも扉の周辺の床面の美観を向上することができる戸当りであって、しかも構造が簡単な戸当りを提供することを目的とする。また、簡単な操作で扉を全開状態で完全に固定することができる戸当りの提供を目的とする。
【解決手段】本発明の戸当りは、扉に設けられた扉側部材と、床面に設けられた磁性体からなる床面側部材とからなる戸当りであって、前記扉側部材が、ケーシングと、該ケーシング内に収納され、該ケーシングの下方から出没自在に設けられた磁石と、前記ケーシングの下方から前記磁石とは別に出没可能であり、上下動により前記床面側部材と係合可能な突出部材と、該突出部材と係合し、該突出部材を上下動させる被押圧部とからなり、前記床面側部材が、該床面側部材の少なくとも一部に、上方へ突出し、前記磁石が当接する緩衝部と、前記突出部材を係止させる係止突起とを有することを特徴とする。
【選択図】図1

Description

本発明は、戸当りに関する。
従来より、図8〜9に示すように、扉50の開閉により扉50またはノブ51が壁または扉50周辺の家具やキャビネット52などに衝突し、これらに損傷が生じるのを防ぐために戸当り53が扉50の付近の床54に設けられている。
かかる戸当り53としては、床54に立設される雄ねじ(図示せず)に螺着される基部55と、該基部55の上部に固着される緩衝体56とからなるものがある。
また、扉50を開放状態にしておくために、前記基部55内に差し込まれているU字状の止め金具57を引き抜き、扉50の側面に設けられた鉤付き座金58の鉤部59に係止するようにしている。
しかしながら、前記戸当り53では、常時床54に立設されているため、前記扉50が戸当り53に固定されていないばあい、歩行中誤って戸当り53に蹴つまづいてしまう惧れがある。
また、運搬物、たとえばキャビネット52を移動させる際に、邪魔になり、誤ってキャビネット52が戸当り53に衝突すると、キャビネット52がへこんだり、戸当り53が変形する惧れがある。さらに、床掃除をする際に邪魔になっていた。
さらに、従来の戸当り53は、常時床54に立設されているため、床54の上に異物が突出しているように見え、美観上好ましくない。
また、従来の戸当りにおいては、扉を全開位置で固定するためには、床面側にある戸当りの止め金具を係止するために、しゃがんだりしたうえで手により止め金具を操作しなければならなかった。
また、全開位置で固定するためには、扉を全開位置に保持した状態で金具を操作しなければならず、物を持った状態などで全開位置に固定することはほぼ不可能であった。
本発明はかかる問題を解消するためになされたものであり、歩行や運搬物などの移動を安全に行なうことができ、しかも扉の周辺の床面の美観を向上することができる戸当りであって、しかも構造が簡単な戸当りを提供することを目的とする。また、簡単な操作で扉を全開状態で完全に固定することができる戸当りの提供を目的とする。
本発明の戸当りは、扉に設けられた扉側部材と、床面に設けられた磁性体からなる床面側部材とからなる戸当りであって、前記扉側部材が、ケーシングと、該ケーシング内に収納され、該ケーシングの下方から出没自在に設けられた磁石と、前記ケーシングの下方から前記磁石とは別に出没可能であり、上下動により前記床面側部材と係合可能な突出部材と、該突出部材と係合し、該突出部材を上下動させる被押圧部とからなり、前記床面側部材が、該床面側部材の少なくとも一部に、上方へ突出し、前記磁石が当接する緩衝部と、前記突出部材を係止させる係止突起とを有することを特徴とする。
また、前記ケーシング内に磁石が収納される凹部が形成され、該凹部の内面に磁性体からなるストッパが設けられ、前記ストッパが、前記磁性体からなる床面側部材よりも前記磁石に引かれる力が小さいことが好ましい。
また、前記突出部材が圧縮コイルバネを介して被押圧部に連結されてなることが好ましい。
また、前記床面側部材の前記係止突起が、その高さが漸増する傾斜部を有し、前記突出部材の下端に、前記傾斜部と面接触可能な切り欠き部が設けられてなることが好ましい。
本発明の戸当りによれば、床面側部材が、薄いプレート状であるため、歩行や運搬物などの移動の妨げにならない。しかも、床面のフラット感を生かした玄関周りのエクステリア設計が可能になる。
また、本発明の戸当りによれば、上下移動自在の磁石を、戸当りのケーシングに設けるとともに、当該磁石に衝突し得る程度の高さの緩衝部を有する床面側部材を床面に設けることにより、床下に穴を形成することなく設置することができる。しかも、緩衝部の高さは非常に低くすることができるため、歩行やキャビネットなどの運搬物の移動を安定に行なうことができ、また美観も向上する。
そして、床面側部材は、若干突出した緩衝部および係止突起を有するだけの構造であるため、構造が簡単である。
さらに、本発明の戸当りによれば、磁石と床面側部材との係合による仮固定ができるだけでなく、被押圧部を押し下げるだけで、簡単に扉を完全に固定することができ、2段階で扉を固定することができる。また、被押圧部を押し下げた状態で、扉を全開位置まで開放すると、係止突起と突出部材が係止することにより、自動で扉を全開位置で完全固定することが可能である。
以下、添付図面を参照しつつ本発明の戸当りを詳細に説明する。
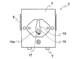
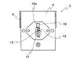
図1は本発明の戸当りを説明するための斜視図であり、図2は本発明の戸当りに用いられる扉側装置を説明するための図であり、図3は本発明の戸当りに用いられる突出部材を説明するための図であり、図4は本発明の戸当りに用いられる昇降機構を説明するための図であり、図5は本発明の戸当りの使用状態を説明するための図であり、図6は本発明の戸当りの使用状態を説明するための図であり、図7は本発明の戸当りの他の実施の形態を示す図である。
図1〜3を参照すると、本発明の戸当り1は、床面に設けられる床面側部材2と扉Dに設けられる扉側部材3とから構成されている。床面側部材2は、磁性体からなり、床面に螺子、くぎ、接着剤等の公知の固着手段により床面に固着されるが、固着手段は特に限定されるものではない。また、扉側部材3も、扉Dに床面側部材2と同様、公知の固着手段により固着され、固着手段は特に限定されるものではない。
扉側部材3は、ケーシング4と、該ケーシング4内に収納され、該ケーシング4の下方から出没自在に設けられた磁石6と、前記ケーシング4の下方から前記磁石6とは別に出没可能であり、上下動により前記床面側部材2と係合可能な突出部材7と、該突出部材7と係合し、該突出部材7を上下動させる被押圧部8とから構成されている。
ケーシング4の材質は特に限定されないが、金属であっても、合成樹脂であってもよい。ケーシング4内には、磁石6が収納される凹部5が形成されており、凹部5の内面に磁性体からなるストッパ11が設けられている。ストッパ11は、磁性体からなる床面側部材2よりも前記磁石6に引かれる力が小さくなるように設計される。ストッパ11の磁石吸着力が、床面側部材2の磁石吸着力より小さいことにより、床面側部材2の上方に磁石6が位置したときには、床面側部材2に磁石6が吸着され、それ以外のときはストッパ11に磁石6が吸着されるので、磁石6が凹部5に収納された状態で保持される。
なお、図2に示されるように、磁石6は、磁石が、磁石を保護するカバーにより覆われており、さらに上下に移動可能なように、ケースを介してピン等によりケーシング4に連結されているが、本明細書中では、磁石6は、便宜上、磁石だけでなく、カバーやケースをも含む概念をいう。なお、磁石6のケーシング4への取り付けは、ピンによる接続に限られるものではなく、当業者に自明の公知の連結手段によりすることができる。
ケーシング4には、圧縮コイルバネ13を介して被押圧部8が連結されており、被押圧部8の上下動に伴い、突出部材7が上下動する。圧縮コイルバネ13は、バネ定数が高すぎると、人の力では被押圧部8の操作ができないので、足による被押圧部8の操作に問題がない程度のバネ定数のバネが用いられる。被押圧部8は後述する昇降機構により、突出部材7をケーシング4から突出した状態およびケーシング4に収納された状態に保持することが可能である。
ケーシング4内には、図3に示されるように、床面側部材2と係合する突出部材7が収納されている。当該突出部材7により、戸当り1を扉Dの全開状態で完全に固定することができる。突出部材7は、被押圧部8と係合しており、本実施の形態においては、圧縮コイルバネ12を介して被押圧部8に連結されている。なお、突出部材7は図3(a)に示されるようにピンPにより、被押圧部8に係合しているが、被押圧部8に溝を設け、突出部材7側に突起を設けることにより係合しても構わず、特にその接合は限定されることはない。圧縮コイルバネ12は、突出部材7を下向きに付勢しており、人の力で扉Dを開けた場合に、床面側部材2から受ける上向きの抗力よりも小さい付勢力であり、扉Dを全開位置まで開き、床面側部材2から受ける上向きの抗力により、突出部材7が圧縮コイルバネ12の付勢力に抗して上方へ移動できるようなバネ定数が採用される。
突出部材7の下端は、図3(b)および(c)に示されるように、床面側部材2の係止突起10と接触する側に切り欠き部7aが設けられている。切り欠き部7aの形状は、図3(b)および(c)の形状に限られることはなく、床面側部材2に対応するように形成されることが好ましいが、係止突起と接触する面が曲面状、球面上であっても構わない。
なお、突出部材7は図3においては、二股にわかれており、2つの突出部を有するが、突出部材7の形状は特に限定されるものではなく、突出部が1つであっても構わないし、突出部の数はいくつであっても構わない。また、それぞれの突出部に応じて複数の圧縮コイルバネ12を設けてもよい。また、それに応じて床面側部材2の係止突起10の数も適宜変更が可能である。
つぎに、床面側部材2について説明する。図1を参照すると、床面側部材2は、磁性体からなるプレート状の部材からなり、磁石6が当接する緩衝部9と、突出部材7が係止される係止突起10が設けられている。床面側部材2は、ほぼフラットなプレート状の部材からなるので、床面側部材2を埋設するために床に穴をあける必要がなく、その高さは床面から2〜5mm程度であるので、歩行の妨げになることはない。
床面側部材2は、螺子、くぎ、接着剤等の公知の固着手段により、床面に固定することができ、特に固着手段は限定されることはない。また、床面側部材2には、磁石6が突き当たる停止部14が設けられている。緩衝部9は高さが漸増する第1の緩衝部9aとフラットな第2の緩衝部9bが設けられている。また、緩衝部9は磁石6との接触面を減らし、金属と金属の摩擦を軽減するために、長手方向に対して垂直の断面が曲面状に形成されている。磁性体である床面側部材2に吸着された磁石6は、第1の緩衝部9aを乗り越えて、第1の緩衝部9aよりも高さが低い第2の緩衝部9bに当接し、それと同時に停止部14に当接することにより、停止部14と第1の緩衝部9aとの間で仮固定される。第1の緩衝部9aの停止部14に対向する側の端部から停止部14までの厚みは、磁石6の厚みとほぼ同寸法になるように形成されており、磁石6と停止部14および緩衝部9aとの隙間がほぼなくなる。これにより扉Dが、扉Dの開方向および閉方向に移動することなく固定された状態なので、扉Dががたつくことがない。
また、床面側部材2に設けられた係止突起10は、扉側部材3の突出部材7と係合するために設けられ、係止突起10と突出部材7が係合することにより扉Dを完全に固定することができる。そのため、係止突起10は、突出部材7を係止する垂直面10bと、突出部材7が乗り越える傾斜面10aが形成された山型形状を呈している。これにより、磁石6と磁性体である床面側部材2との磁力による仮固定だけでなく、係止突起10と突出部材7との係合により、扉Dを完全に固定をすることができる。
さらに、本実施の形態の戸当り1は、図4に示されるように、被押圧部8および突出部材7を所定の下方位置および上方位置で容易に保持できるように、裏蓋15の内側に昇降機構を備えている。
昇降機構は、図4に示されるように、ケーシング4の後面(扉側)に回転自在に取り付けられた係止部16aを有する係止体16と、ケーシング4の後面に設けられた、前記係止体16に当接し得る当接体17と、前記ケーシング4の後面の前記当接体17よりも上側に設けられた、前記係止体16の係止部16aを係止するための突起18とから構成されている。
昇降機構は、以下のようにして被押圧部8および突出部材7の保持を行なう。まず、足で被押圧部8の上面を押し下げれば、係止体16がケーシング4の後面に形成された溝内部を下降し、当接体17が係止体16に当接して係止体16を回転させる(図4(b)参照)。
そののち、足を被押圧部8から離せば、被押圧部8は、圧縮コイルバネ13の付勢力によって上昇するが、係止体16の係止部16aが突起18に係止されたときに所定の下方位置にロックされる(図4(c)参照)。このとき、突出部材7の下端は、ケーシング4から若干下方に突出する(図4(c)参照)。ただし、前述のように、突出部材7は、圧縮コイルバネ12を介して被押圧部8に連結されているので、被押圧部8に対して突出部材7は単独で上下に若干移動可能であり、突出部材7はケーシング4から出没自在である。
さらに、もう1度、足で被押圧部8を押し下げれば、図4(d)のように、当接体17がさらに係止体16を回転させることにより、被押圧部8のロックを解除することができる。
つぎに、図5および図6を用いて、本発明の戸当り1の動きを説明する。図5(a)に示されるように、戸当り1の扉(図5および図6においては図示を省略している)を開放していくと、それに伴い、扉側部材3は、床面側部材2に向かって進んでいく。そして、扉側部材3の磁石6が床面側部材2の上方に位置すると、磁石6は磁性体である床面側部材2に吸着され、第1の緩衝部9aに当接する(図5(b)参照)。そして第1の緩衝部9a上を当接しながらさらに移動し、第1の緩衝部9aを乗り越えて、磁石6は第2の緩衝部9bの高さまで降り、それと同時に停止部14の垂直面に接触することによって、仮固定される。
この状態で、停止部14の垂直面と第1の緩衝部9aの端部に挟まれる形で仮固定されるが、磁石6の幅と停止部14と第1の緩衝部9aの間隔がほぼ同じであるので、磁石6ががたつくことがなく、扉Dもがたつくことがない。さらにこの状態で、被押圧部8を足で押し下げ、突出部材7を下げることにより、突出部材7と床面側部材2の係止突起が係合し、扉Dは全開位置で完全に固定される(図5(c)参照)。このように全開位置で、磁石6と床面側部材2により、仮固定された状態で、足で被押圧部8を押し下げることにより容易に扉Dを全開位置で完全に固定することができる。また仮固定することができるので、扉Dを完全に固定する場合に、扉Dが閉まらないように押えておかなくてもよいので、全開位置での完全固定が非常に容易である。
つぎに、本発明の戸当り1の別の使用状態を説明する。図6に示す動きは、あらかじめ被押圧部8を下に押し下げた状態で、扉Dを全開位置に移動させ、扉Dが全開位置に移動したときに、全開位置で被押圧部8を操作しなくても完全固定をすることができる。
図6を用いて説明すると、まず扉Dが閉まっている状態もしくは扉Dの開放途中の段階で被押圧部8を押し下げ、突出部材7をケーシング4から突出させる(図6(a)参照)。
その状態で扉Dを全開位置に向かって開放していくと、図5と同様に床面側部材2の上方に位置したときに磁石6は磁性体である床面側部材2に吸着され、第1の緩衝部9aに当接する(図6(b)参照)。そしてそのまま全開位置に向かって扉Dを開放していくと、突出部材7の切り欠き部7aが係止突起10の傾斜面10aに当接する(図6(b)参照)。さらに扉Dを全開位置まで開いていくと、突出部材7は傾斜面10aから上方向に向かって抗力を受けることにより、突出部材7の上端に連結された圧縮コイルバネ12の下向きの付勢力に抗して、突出部材7は上方に移動する。このとき、人が扉を開く力によって突出部材7が傾斜面10aから受ける上向きの抗力が、圧縮コイルバネ12の下向きの付勢力より大きくなければならず、上向きの抗力より、圧縮コイルバネ12の下向きの付勢力が小さいことにより、突出部材7が上方向に逃げることができ、係止突起10の傾斜面10aを乗り越えることができる。
そして、突出部材7が係止突起10を乗り越えることにより、係止突起10の垂直面と突出部材7が係止され、扉Dは全開位置で完全固定することができる(図6(c)参照)。このとき、図5と同様に磁石6は第1の緩衝部9aを乗り越えて、磁石6は第2の緩衝部9bの高さまで降り、それと同時に停止部14の垂直面に接触することによって、固定される。このように、あらかじめ被押圧部8を押し下げておき、扉Dを全開位置まで開くだけで、扉を全開位置で容易に固定することができ、全開位置で何の操作をすることもなく完全に固定することができる。
図5および図6のように、全開位置で完全固定した後に、固定を解除したい場合には、被押圧部8を足で再度押すことにより、突出部材7が上方に移動し、ケーシング4内に収納され、仮固定の状態になるので、扉Dが閉まる方向に力を加えることにより、扉Dを閉めることができる。
さらに、本発明の別の態様として、図7に示されるように、ケーシング4内に磁石6を設けず、突出部材7の先端部分(床面側部材2との当接部分)を磁石材とすることにより、前記動作と同様の効果を得ることができる。この場合には、磁石6や磁石6を収納する凹部5等が不要になり、より構造が簡素化できるという利点がある。なお、この場合には、突出部材7と連結された圧縮コイルバネ12が、突出部材7を引っ張る力が、突出部材7と床面側部材2との磁石による吸着力よりも大きくなるように設計する。そうすると、まず被押圧部8を押し下げて、突出部材7をケーシング4から突出させ、扉Dを全開位置まで開放すると、突出部材7は、係止突起10を乗り越えて床面側部材2に完全固定される。さらに、完全固定の状態から、被押圧部8を押すことにより、突出部材7と床面側部材2との磁力による当接が解除され、完全固定の状態が解除され、扉Dを閉めることができる。なお、図7に示される態様では、係止突起10の垂直面10bから停止部14までの間隔が、突出部材7の先端部の厚みと同じ寸法であることが好ましい。同じ寸法にすることにより、扉がぐらつかず、安定した状態で扉を固定することができる。また、突出部材7の先端部を磁石材とした場合には、停止部14の高さを突出部材7の垂直な面が、停止部14の垂直な面に当接するように高さを調節することが好ましい。
本発明の戸当りを説明するための斜視図である。 本発明の戸当りに用いられる扉側装置を説明するための図である。 本発明の戸当りに用いられる突出部材を説明するための図である。 本発明の戸当りに用いられる昇降機構を説明するための図である。 本発明の戸当りに用いられる昇降機構を説明するための図である。 本発明の戸当りに用いられる昇降機構を説明するための図である。 本発明の戸当りに用いられる昇降機構を説明するための図である。 本発明の戸当りの使用状態を説明するための図である。 本発明の戸当りの使用状態を説明するための図である。 本発明の戸当りの他の実施の形態を示す図である。 従来の戸当りを説明するための図である。 従来の戸当りを説明するための図である。
符号の説明
1 戸当り
2 床面側部材
3 扉側部材
4 ケーシング
5 凹部
6 磁石
7 突出部材
7a 切り欠き部
8 被押圧部
9 緩衝部
9a 第1の緩衝部
9b 第2の緩衝部
10 係止突起
10a 傾斜面
10b 垂直面
11 ストッパ
12、13 圧縮コイルバネ
14 停止部
15 裏蓋
16 係止体
17 当接体
18 突起
D 扉

Claims (4)

  1. 扉に設けられた扉側部材と、床面に設けられた磁性体からなる床面側部材とからなる戸当りであって、
    前記扉側部材が、ケーシングと、該ケーシング内に収納され、該ケーシングの下方から出没自在に設けられた磁石と、前記ケーシングの下方から前記磁石とは別に出没可能であり、上下動により前記床面側部材と係合可能な突出部材と、該突出部材と係合し、該突出部材を上下動させる被押圧部とからなり、
    前記床面側部材が、該床面側部材の少なくとも一部に、上方へ突出し、前記磁石が当接する緩衝部と、前記突出部材を係止させる係止突起とを有することを特徴とする戸当り。
  2. 前記ケーシング内に磁石が収納される凹部が形成され、該凹部の内面に磁性体からなるストッパが設けられ、
    前記ストッパが、前記磁性体からなる床面側部材よりも前記磁石に引かれる力が小さいことを特徴とする請求項1記載の戸当り。
  3. 前記突出部材が圧縮コイルバネを介して被押圧部に連結されてなることを特徴とする請求項1または2記載の戸当り。
  4. 前記床面側部材の前記係止突起が、その高さが漸増する傾斜部を有し、前記突出部材の下端に、前記傾斜部と面接触可能な切り欠き部が設けられてなる請求項1〜3のいずれかに記載の戸当り。
JP2008267516A 2008-10-16 2008-10-16 戸当り Expired - Fee Related JP5285386B2 (ja)

Priority Applications (1)

Application Number Priority Date Filing Date Title
JP2008267516A JP5285386B2 (ja) 2008-10-16 2008-10-16 戸当り

Applications Claiming Priority (1)

Application Number Priority Date Filing Date Title
JP2008267516A JP5285386B2 (ja) 2008-10-16 2008-10-16 戸当り

Publications (2)

Publication Number Publication Date
JP2010095902A true JP2010095902A (ja) 2010-04-30
JP5285386B2 JP5285386B2 (ja) 2013-09-11

Family

ID=42257774

Family Applications (1)

Application Number Title Priority Date Filing Date
JP2008267516A Expired - Fee Related JP5285386B2 (ja) 2008-10-16 2008-10-16 戸当り

Country Status (1)

Country Link
JP (1) JP5285386B2 (ja)

Cited By (1)

* Cited by examiner, † Cited by third party
Publication number Priority date Publication date Assignee Title
US20250084681A1 (en) * 2022-01-18 2025-03-13 Verum Italy S.R.L. Magnetically activated mechanical doorstop

Families Citing this family (1)

* Cited by examiner, † Cited by third party
Publication number Priority date Publication date Assignee Title
CN109589960B (zh) * 2018-11-09 2019-11-22 四川大学 一种壁流式低贵金属含量催化剂、制备方法及其应用

Citations (3)

* Cited by examiner, † Cited by third party
Publication number Priority date Publication date Assignee Title
JP2000087640A (ja) * 1998-09-09 2000-03-28 Yagi:Kk 戸当り
JP2001003626A (ja) * 1999-06-18 2001-01-09 Kg Parutekku Kk 戸の係止装置
JP2008190314A (ja) * 2007-12-11 2008-08-21 Yagi & Co Ltd 戸当り

Patent Citations (3)

* Cited by examiner, † Cited by third party
Publication number Priority date Publication date Assignee Title
JP2000087640A (ja) * 1998-09-09 2000-03-28 Yagi:Kk 戸当り
JP2001003626A (ja) * 1999-06-18 2001-01-09 Kg Parutekku Kk 戸の係止装置
JP2008190314A (ja) * 2007-12-11 2008-08-21 Yagi & Co Ltd 戸当り

Cited By (1)

* Cited by examiner, † Cited by third party
Publication number Priority date Publication date Assignee Title
US20250084681A1 (en) * 2022-01-18 2025-03-13 Verum Italy S.R.L. Magnetically activated mechanical doorstop

Also Published As

Publication number Publication date
JP5285386B2 (ja) 2013-09-11

Similar Documents

Publication Publication Date Title
US20110308920A1 (en) Lock-On Switch System for Hand Drill and Hand Drill having the Same
JP5285386B2 (ja) 戸当り
US7733641B2 (en) Hard disk drive lever with button-induced ejection, and over-travel button-induced ejection, and over-travel indicator
KR101810487B1 (ko) 푸시풀 도어락용 래치볼트
JP4916927B2 (ja) ラッチ付きドア錠
JP5329146B2 (ja) 戸当り
JP6375090B2 (ja) 開き扉の施解錠機構
JP4217028B2 (ja) 戸当り
JP2008190314A (ja) 戸当り
JP4902694B2 (ja) 戸当り
JP7167678B2 (ja) ドアキャッチャー、及び開き戸
JP3586265B2 (ja) 扉止め装置及び扉
JPH084445A (ja) ドアの気密保持装置
JP2001065224A (ja) ドアストッパ
JP3823090B2 (ja) 戸当り
JP3947300B2 (ja) 戸当り
JP3105443U (ja) 自動位置回復の引出し用軌道
JP4011416B2 (ja) 戸当り
JP3136212U (ja) 戸当り
JP4889703B2 (ja) 戸当り
JPH1144146A (ja) ウィング開閉装置及びドア停止装置
JP2002357041A (ja) 扉止め装置及び扉
JPH0728363Y2 (ja) 引出、扉等のラッチ装置
JP3062931U (ja) 開閉用のハンドル装置
JP2004316425A (ja) ドアストッパ

Legal Events

Date Code Title Description
RD03 Notification of appointment of power of attorney

Free format text: JAPANESE INTERMEDIATE CODE: A7423

Effective date: 20100518

A621 Written request for application examination

Free format text: JAPANESE INTERMEDIATE CODE: A621

Effective date: 20110802

A977 Report on retrieval

Free format text: JAPANESE INTERMEDIATE CODE: A971007

Effective date: 20121002

A131 Notification of reasons for refusal

Free format text: JAPANESE INTERMEDIATE CODE: A131

Effective date: 20121009

A521 Request for written amendment filed

Free format text: JAPANESE INTERMEDIATE CODE: A523

Effective date: 20121113

TRDD Decision of grant or rejection written
A01 Written decision to grant a patent or to grant a registration (utility model)

Free format text: JAPANESE INTERMEDIATE CODE: A01

Effective date: 20130507

A61 First payment of annual fees (during grant procedure)

Free format text: JAPANESE INTERMEDIATE CODE: A61

Effective date: 20130531

R150 Certificate of patent or registration of utility model

Ref document number: 5285386

Country of ref document: JP

Free format text: JAPANESE INTERMEDIATE CODE: R150

R250 Receipt of annual fees

Free format text: JAPANESE INTERMEDIATE CODE: R250

R250 Receipt of annual fees

Free format text: JAPANESE INTERMEDIATE CODE: R250

LAPS Cancellation because of no payment of annual fees