JP2010094856A - インクジェット記録装置 - Google Patents
インクジェット記録装置 Download PDFInfo
- Publication number
- JP2010094856A JP2010094856A JP2008266147A JP2008266147A JP2010094856A JP 2010094856 A JP2010094856 A JP 2010094856A JP 2008266147 A JP2008266147 A JP 2008266147A JP 2008266147 A JP2008266147 A JP 2008266147A JP 2010094856 A JP2010094856 A JP 2010094856A
- Authority
- JP
- Japan
- Prior art keywords
- pulse
- ink
- recording apparatus
- pressure chamber
- jet recording
- Prior art date
- Legal status (The legal status is an assumption and is not a legal conclusion. Google has not performed a legal analysis and makes no representation as to the accuracy of the status listed.)
- Granted
Links
- 230000008602 contraction Effects 0.000 claims abstract description 43
- 238000007639 printing Methods 0.000 claims abstract description 21
- 229920005989 resin Polymers 0.000 claims description 52
- 239000011347 resin Substances 0.000 claims description 52
- 238000005192 partition Methods 0.000 claims description 29
- 239000000463 material Substances 0.000 claims description 26
- 238000006243 chemical reaction Methods 0.000 claims description 8
- 238000007641 inkjet printing Methods 0.000 claims description 2
- 230000000452 restraining effect Effects 0.000 abstract 1
- 239000000976 ink Substances 0.000 description 261
- 150000001875 compounds Chemical class 0.000 description 61
- 239000002609 medium Substances 0.000 description 43
- -1 oxetane compound Chemical class 0.000 description 42
- 239000002904 solvent Substances 0.000 description 38
- 239000000049 pigment Substances 0.000 description 31
- 239000003999 initiator Substances 0.000 description 30
- 238000000034 method Methods 0.000 description 27
- 239000004800 polyvinyl chloride Substances 0.000 description 27
- 229920000915 polyvinyl chloride Polymers 0.000 description 26
- 239000006185 dispersion Substances 0.000 description 17
- 239000002270 dispersing agent Substances 0.000 description 15
- MCMNRKCIXSYSNV-UHFFFAOYSA-N Zirconium dioxide Chemical compound O=[Zr]=O MCMNRKCIXSYSNV-UHFFFAOYSA-N 0.000 description 12
- 238000002360 preparation method Methods 0.000 description 12
- 229920000642 polymer Polymers 0.000 description 11
- 229920002554 vinyl polymer Polymers 0.000 description 11
- LFQSCWFLJHTTHZ-UHFFFAOYSA-N Ethanol Chemical compound CCO LFQSCWFLJHTTHZ-UHFFFAOYSA-N 0.000 description 10
- 230000015572 biosynthetic process Effects 0.000 description 10
- 238000005755 formation reaction Methods 0.000 description 10
- 239000000126 substance Substances 0.000 description 10
- 239000004925 Acrylic resin Substances 0.000 description 9
- 229920000178 Acrylic resin Polymers 0.000 description 9
- 125000004432 carbon atom Chemical group C* 0.000 description 9
- 150000003839 salts Chemical class 0.000 description 9
- 238000007599 discharging Methods 0.000 description 8
- 238000010438 heat treatment Methods 0.000 description 8
- 230000001976 improved effect Effects 0.000 description 8
- 239000000178 monomer Substances 0.000 description 8
- 239000007870 radical polymerization initiator Substances 0.000 description 8
- 125000000391 vinyl group Chemical group [H]C([*])=C([H])[H] 0.000 description 8
- 239000011324 bead Substances 0.000 description 7
- 230000000694 effects Effects 0.000 description 7
- 238000011156 evaluation Methods 0.000 description 7
- 239000004014 plasticizer Substances 0.000 description 7
- 238000003860 storage Methods 0.000 description 7
- 239000000758 substrate Substances 0.000 description 7
- XLYOFNOQVPJJNP-UHFFFAOYSA-N water Substances O XLYOFNOQVPJJNP-UHFFFAOYSA-N 0.000 description 7
- HCLJOFJIQIJXHS-UHFFFAOYSA-N 2-[2-[2-(2-prop-2-enoyloxyethoxy)ethoxy]ethoxy]ethyl prop-2-enoate Chemical compound C=CC(=O)OCCOCCOCCOCCOC(=O)C=C HCLJOFJIQIJXHS-UHFFFAOYSA-N 0.000 description 6
- JTXMVXSTHSMVQF-UHFFFAOYSA-N 2-acetyloxyethyl acetate Chemical compound CC(=O)OCCOC(C)=O JTXMVXSTHSMVQF-UHFFFAOYSA-N 0.000 description 6
- LYCAIKOWRPUZTN-UHFFFAOYSA-N Ethylene glycol Chemical compound OCCO LYCAIKOWRPUZTN-UHFFFAOYSA-N 0.000 description 6
- 239000000654 additive Substances 0.000 description 6
- 125000000217 alkyl group Chemical group 0.000 description 6
- JHIVVAPYMSGYDF-UHFFFAOYSA-N cyclohexanone Chemical compound O=C1CCCCC1 JHIVVAPYMSGYDF-UHFFFAOYSA-N 0.000 description 6
- 150000002148 esters Chemical class 0.000 description 6
- RAXXELZNTBOGNW-UHFFFAOYSA-N imidazole Natural products C1=CNC=N1 RAXXELZNTBOGNW-UHFFFAOYSA-N 0.000 description 6
- 230000005499 meniscus Effects 0.000 description 6
- RRQYJINTUHWNHW-UHFFFAOYSA-N 1-ethoxy-2-(2-ethoxyethoxy)ethane Chemical compound CCOCCOCCOCC RRQYJINTUHWNHW-UHFFFAOYSA-N 0.000 description 5
- IAZDPXIOMUYVGZ-UHFFFAOYSA-N Dimethylsulphoxide Chemical compound CS(C)=O IAZDPXIOMUYVGZ-UHFFFAOYSA-N 0.000 description 5
- 239000004952 Polyamide Substances 0.000 description 5
- 229920002433 Vinyl chloride-vinyl acetate copolymer Polymers 0.000 description 5
- 239000002253 acid Substances 0.000 description 5
- 238000010538 cationic polymerization reaction Methods 0.000 description 5
- 229920001577 copolymer Polymers 0.000 description 5
- 229940019778 diethylene glycol diethyl ether Drugs 0.000 description 5
- 238000010528 free radical solution polymerization reaction Methods 0.000 description 5
- 210000003128 head Anatomy 0.000 description 5
- 230000000977 initiatory effect Effects 0.000 description 5
- 230000007774 longterm Effects 0.000 description 5
- 125000002496 methyl group Chemical group [H]C([H])([H])* 0.000 description 5
- 239000000123 paper Substances 0.000 description 5
- 229920002647 polyamide Polymers 0.000 description 5
- 239000003505 polymerization initiator Substances 0.000 description 5
- 238000006116 polymerization reaction Methods 0.000 description 5
- 238000010526 radical polymerization reaction Methods 0.000 description 5
- 150000003254 radicals Chemical class 0.000 description 5
- 125000001424 substituent group Chemical group 0.000 description 5
- YRHRIQCWCFGUEQ-UHFFFAOYSA-N thioxanthen-9-one Chemical class C1=CC=C2C(=O)C3=CC=CC=C3SC2=C1 YRHRIQCWCFGUEQ-UHFFFAOYSA-N 0.000 description 5
- YEJRWHAVMIAJKC-UHFFFAOYSA-N 4-Butyrolactone Chemical compound O=C1CCCO1 YEJRWHAVMIAJKC-UHFFFAOYSA-N 0.000 description 4
- CDSULTPOCMWJCM-UHFFFAOYSA-N 4h-chromene-2,3-dione Chemical compound C1=CC=C2OC(=O)C(=O)CC2=C1 CDSULTPOCMWJCM-UHFFFAOYSA-N 0.000 description 4
- 239000004593 Epoxy Substances 0.000 description 4
- WSFSSNUMVMOOMR-UHFFFAOYSA-N Formaldehyde Chemical compound O=C WSFSSNUMVMOOMR-UHFFFAOYSA-N 0.000 description 4
- SECXISVLQFMRJM-UHFFFAOYSA-N N-Methylpyrrolidone Chemical compound CN1CCCC1=O SECXISVLQFMRJM-UHFFFAOYSA-N 0.000 description 4
- ATUOYWHBWRKTHZ-UHFFFAOYSA-N Propane Chemical compound CCC ATUOYWHBWRKTHZ-UHFFFAOYSA-N 0.000 description 4
- 238000010521 absorption reaction Methods 0.000 description 4
- DZBUGLKDJFMEHC-UHFFFAOYSA-N acridine Chemical compound C1=CC=CC2=CC3=CC=CC=C3N=C21 DZBUGLKDJFMEHC-UHFFFAOYSA-N 0.000 description 4
- 125000002091 cationic group Chemical group 0.000 description 4
- 239000000470 constituent Substances 0.000 description 4
- 238000010586 diagram Methods 0.000 description 4
- 238000001035 drying Methods 0.000 description 4
- JBKVHLHDHHXQEQ-UHFFFAOYSA-N epsilon-caprolactam Chemical compound O=C1CCCCCN1 JBKVHLHDHHXQEQ-UHFFFAOYSA-N 0.000 description 4
- 125000001495 ethyl group Chemical group [H]C([H])([H])C([H])([H])* 0.000 description 4
- GAEKPEKOJKCEMS-UHFFFAOYSA-N gamma-valerolactone Chemical compound CC1CCC(=O)O1 GAEKPEKOJKCEMS-UHFFFAOYSA-N 0.000 description 4
- 230000007274 generation of a signal involved in cell-cell signaling Effects 0.000 description 4
- 239000011521 glass Substances 0.000 description 4
- 150000007529 inorganic bases Chemical class 0.000 description 4
- 239000002245 particle Substances 0.000 description 4
- 229920001225 polyester resin Polymers 0.000 description 4
- 239000004645 polyester resin Substances 0.000 description 4
- 229920000139 polyethylene terephthalate Polymers 0.000 description 4
- 239000005020 polyethylene terephthalate Substances 0.000 description 4
- 229920005749 polyurethane resin Polymers 0.000 description 4
- 229920002545 silicone oil Polymers 0.000 description 4
- 239000007787 solid Substances 0.000 description 4
- QGKMIGUHVLGJBR-UHFFFAOYSA-M (4z)-1-(3-methylbutyl)-4-[[1-(3-methylbutyl)quinolin-1-ium-4-yl]methylidene]quinoline;iodide Chemical compound [I-].C12=CC=CC=C2N(CCC(C)C)C=CC1=CC1=CC=[N+](CCC(C)C)C2=CC=CC=C12 QGKMIGUHVLGJBR-UHFFFAOYSA-M 0.000 description 3
- ZWEHNKRNPOVVGH-UHFFFAOYSA-N 2-Butanone Chemical compound CCC(C)=O ZWEHNKRNPOVVGH-UHFFFAOYSA-N 0.000 description 3
- CSCPPACGZOOCGX-UHFFFAOYSA-N Acetone Chemical compound CC(C)=O CSCPPACGZOOCGX-UHFFFAOYSA-N 0.000 description 3
- RTZKZFJDLAIYFH-UHFFFAOYSA-N Diethyl ether Chemical compound CCOCC RTZKZFJDLAIYFH-UHFFFAOYSA-N 0.000 description 3
- ZMXDDKWLCZADIW-UHFFFAOYSA-N N,N-Dimethylformamide Chemical compound CN(C)C=O ZMXDDKWLCZADIW-UHFFFAOYSA-N 0.000 description 3
- 239000002202 Polyethylene glycol Substances 0.000 description 3
- 239000004642 Polyimide Substances 0.000 description 3
- 239000004743 Polypropylene Substances 0.000 description 3
- BZHJMEDXRYGGRV-UHFFFAOYSA-N Vinyl chloride Chemical compound ClC=C BZHJMEDXRYGGRV-UHFFFAOYSA-N 0.000 description 3
- 229920000122 acrylonitrile butadiene styrene Polymers 0.000 description 3
- 125000003545 alkoxy group Chemical group 0.000 description 3
- 230000001588 bifunctional effect Effects 0.000 description 3
- 238000004140 cleaning Methods 0.000 description 3
- 125000004122 cyclic group Chemical group 0.000 description 3
- PESYEWKSBIWTAK-UHFFFAOYSA-N cyclopenta-1,3-diene;titanium(2+) Chemical compound [Ti+2].C=1C=C[CH-]C=1.C=1C=C[CH-]C=1 PESYEWKSBIWTAK-UHFFFAOYSA-N 0.000 description 3
- 239000002612 dispersion medium Substances 0.000 description 3
- WGCNASOHLSPBMP-UHFFFAOYSA-N hydroxyacetaldehyde Natural products OCC=O WGCNASOHLSPBMP-UHFFFAOYSA-N 0.000 description 3
- 239000003112 inhibitor Substances 0.000 description 3
- XEEYBQQBJWHFJM-UHFFFAOYSA-N iron Substances [Fe] XEEYBQQBJWHFJM-UHFFFAOYSA-N 0.000 description 3
- 150000002596 lactones Chemical class 0.000 description 3
- 229910052751 metal Inorganic materials 0.000 description 3
- 239000002184 metal Substances 0.000 description 3
- 239000000203 mixture Substances 0.000 description 3
- 239000003973 paint Substances 0.000 description 3
- 229920003023 plastic Polymers 0.000 description 3
- 239000004033 plastic Substances 0.000 description 3
- 230000010287 polarization Effects 0.000 description 3
- 229920000515 polycarbonate Polymers 0.000 description 3
- 239000004417 polycarbonate Substances 0.000 description 3
- 229920001223 polyethylene glycol Polymers 0.000 description 3
- 229920001721 polyimide Polymers 0.000 description 3
- 229920006324 polyoxymethylene Polymers 0.000 description 3
- 229920001155 polypropylene Polymers 0.000 description 3
- 230000001235 sensitizing effect Effects 0.000 description 3
- 238000003756 stirring Methods 0.000 description 3
- MYWOJODOMFBVCB-UHFFFAOYSA-N 1,2,6-trimethylphenanthrene Chemical compound CC1=CC=C2C3=CC(C)=CC=C3C=CC2=C1C MYWOJODOMFBVCB-UHFFFAOYSA-N 0.000 description 2
- QJJDJWUCRAPCOL-UHFFFAOYSA-N 1-ethenoxyoctadecane Chemical compound CCCCCCCCCCCCCCCCCCOC=C QJJDJWUCRAPCOL-UHFFFAOYSA-N 0.000 description 2
- ZIKLJUUTSQYGQI-UHFFFAOYSA-N 1-ethoxy-2-(2-ethoxypropoxy)propane Chemical compound CCOCC(C)OCC(C)OCC ZIKLJUUTSQYGQI-UHFFFAOYSA-N 0.000 description 2
- NQMUGNMMFTYOHK-UHFFFAOYSA-N 1-methoxynaphthalene Chemical compound C1=CC=C2C(OC)=CC=CC2=C1 NQMUGNMMFTYOHK-UHFFFAOYSA-N 0.000 description 2
- KJCVRFUGPWSIIH-UHFFFAOYSA-N 1-naphthol Chemical compound C1=CC=C2C(O)=CC=CC2=C1 KJCVRFUGPWSIIH-UHFFFAOYSA-N 0.000 description 2
- WJFKNYWRSNBZNX-UHFFFAOYSA-N 10H-phenothiazine Chemical compound C1=CC=C2NC3=CC=CC=C3SC2=C1 WJFKNYWRSNBZNX-UHFFFAOYSA-N 0.000 description 2
- VEPOHXYIFQMVHW-XOZOLZJESA-N 2,3-dihydroxybutanedioic acid (2S,3S)-3,4-dimethyl-2-phenylmorpholine Chemical compound OC(C(O)C(O)=O)C(O)=O.C[C@H]1[C@@H](OCCN1C)c1ccccc1 VEPOHXYIFQMVHW-XOZOLZJESA-N 0.000 description 2
- LEJBBGNFPAFPKQ-UHFFFAOYSA-N 2-(2-prop-2-enoyloxyethoxy)ethyl prop-2-enoate Chemical compound C=CC(=O)OCCOCCOC(=O)C=C LEJBBGNFPAFPKQ-UHFFFAOYSA-N 0.000 description 2
- HZAXFHJVJLSVMW-UHFFFAOYSA-N 2-Aminoethan-1-ol Chemical compound NCCO HZAXFHJVJLSVMW-UHFFFAOYSA-N 0.000 description 2
- INQDDHNZXOAFFD-UHFFFAOYSA-N 2-[2-(2-prop-2-enoyloxyethoxy)ethoxy]ethyl prop-2-enoate Chemical compound C=CC(=O)OCCOCCOCCOC(=O)C=C INQDDHNZXOAFFD-UHFFFAOYSA-N 0.000 description 2
- VUIWJRYTWUGOOF-UHFFFAOYSA-N 2-ethenoxyethanol Chemical compound OCCOC=C VUIWJRYTWUGOOF-UHFFFAOYSA-N 0.000 description 2
- JWAZRIHNYRIHIV-UHFFFAOYSA-N 2-naphthol Chemical compound C1=CC=CC2=CC(O)=CC=C21 JWAZRIHNYRIHIV-UHFFFAOYSA-N 0.000 description 2
- DNZPLHRZXUJATK-UHFFFAOYSA-N 2-sulfanylidene-5-[[5-[2-(trifluoromethyl)phenyl]furan-2-yl]methyl]-1,3-diazinane-4,6-dione Chemical compound FC(F)(F)C1=CC=CC=C1C(O1)=CC=C1CC1C(=O)NC(=S)NC1=O DNZPLHRZXUJATK-UHFFFAOYSA-N 0.000 description 2
- RVBUGGBMJDPOST-UHFFFAOYSA-N 2-thiobarbituric acid Chemical class O=C1CC(=O)NC(=S)N1 RVBUGGBMJDPOST-UHFFFAOYSA-N 0.000 description 2
- GOLORTLGFDVFDW-UHFFFAOYSA-N 3-(1h-benzimidazol-2-yl)-7-(diethylamino)chromen-2-one Chemical compound C1=CC=C2NC(C3=CC4=CC=C(C=C4OC3=O)N(CC)CC)=NC2=C1 GOLORTLGFDVFDW-UHFFFAOYSA-N 0.000 description 2
- VATRWWPJWVCZTA-UHFFFAOYSA-N 3-oxo-n-[2-(trifluoromethyl)phenyl]butanamide Chemical compound CC(=O)CC(=O)NC1=CC=CC=C1C(F)(F)F VATRWWPJWVCZTA-UHFFFAOYSA-N 0.000 description 2
- BOTGCZBEERTTDQ-UHFFFAOYSA-N 4-Methoxy-1-naphthol Chemical compound C1=CC=C2C(OC)=CC=C(O)C2=C1 BOTGCZBEERTTDQ-UHFFFAOYSA-N 0.000 description 2
- OALYTRUKMRCXNH-UHFFFAOYSA-N 5-pentyloxolan-2-one Chemical compound CCCCCC1CCC(=O)O1 OALYTRUKMRCXNH-UHFFFAOYSA-N 0.000 description 2
- OZJPLYNZGCXSJM-UHFFFAOYSA-N 5-valerolactone Chemical compound O=C1CCCCO1 OZJPLYNZGCXSJM-UHFFFAOYSA-N 0.000 description 2
- GHBSPIPJMLAMEP-UHFFFAOYSA-N 6-pentyloxan-2-one Chemical compound CCCCCC1CCCC(=O)O1 GHBSPIPJMLAMEP-UHFFFAOYSA-N 0.000 description 2
- UJOBWOGCFQCDNV-UHFFFAOYSA-N 9H-carbazole Chemical compound C1=CC=C2C3=CC=CC=C3NC2=C1 UJOBWOGCFQCDNV-UHFFFAOYSA-N 0.000 description 2
- PQJUJGAVDBINPI-UHFFFAOYSA-N 9H-thioxanthene Chemical compound C1=CC=C2CC3=CC=CC=C3SC2=C1 PQJUJGAVDBINPI-UHFFFAOYSA-N 0.000 description 2
- GJCOSYZMQJWQCA-UHFFFAOYSA-N 9H-xanthene Chemical compound C1=CC=C2CC3=CC=CC=C3OC2=C1 GJCOSYZMQJWQCA-UHFFFAOYSA-N 0.000 description 2
- LSNNMFCWUKXFEE-UHFFFAOYSA-M Bisulfite Chemical compound OS([O-])=O LSNNMFCWUKXFEE-UHFFFAOYSA-M 0.000 description 2
- SOGAXMICEFXMKE-UHFFFAOYSA-N Butylmethacrylate Chemical compound CCCCOC(=O)C(C)=C SOGAXMICEFXMKE-UHFFFAOYSA-N 0.000 description 2
- VLSVVMPLPMNWBH-UHFFFAOYSA-N Dihydro-5-propyl-2(3H)-furanone Chemical compound CCCC1CCC(=O)O1 VLSVVMPLPMNWBH-UHFFFAOYSA-N 0.000 description 2
- PEDCQBHIVMGVHV-UHFFFAOYSA-N Glycerine Chemical compound OCC(O)CO PEDCQBHIVMGVHV-UHFFFAOYSA-N 0.000 description 2
- MHAJPDPJQMAIIY-UHFFFAOYSA-N Hydrogen peroxide Chemical compound OO MHAJPDPJQMAIIY-UHFFFAOYSA-N 0.000 description 2
- 235000000177 Indigofera tinctoria Nutrition 0.000 description 2
- YNAVUWVOSKDBBP-UHFFFAOYSA-N Morpholine Chemical compound C1COCCN1 YNAVUWVOSKDBBP-UHFFFAOYSA-N 0.000 description 2
- ATHHXGZTWNVVOU-UHFFFAOYSA-N N-methylformamide Chemical compound CNC=O ATHHXGZTWNVVOU-UHFFFAOYSA-N 0.000 description 2
- PCNDJXKNXGMECE-UHFFFAOYSA-N Phenazine Natural products C1=CC=CC2=NC3=CC=CC=C3N=C21 PCNDJXKNXGMECE-UHFFFAOYSA-N 0.000 description 2
- 239000004698 Polyethylene Substances 0.000 description 2
- JUJWROOIHBZHMG-UHFFFAOYSA-N Pyridine Chemical compound C1=CC=NC=C1 JUJWROOIHBZHMG-UHFFFAOYSA-N 0.000 description 2
- NRCMAYZCPIVABH-UHFFFAOYSA-N Quinacridone Chemical compound N1C2=CC=CC=C2C(=O)C2=C1C=C1C(=O)C3=CC=CC=C3NC1=C2 NRCMAYZCPIVABH-UHFFFAOYSA-N 0.000 description 2
- PPBRXRYQALVLMV-UHFFFAOYSA-N Styrene Chemical compound C=CC1=CC=CC=C1 PPBRXRYQALVLMV-UHFFFAOYSA-N 0.000 description 2
- 238000003848 UV Light-Curing Methods 0.000 description 2
- HVVWZTWDBSEWIH-UHFFFAOYSA-N [2-(hydroxymethyl)-3-prop-2-enoyloxy-2-(prop-2-enoyloxymethyl)propyl] prop-2-enoate Chemical compound C=CC(=O)OCC(CO)(COC(=O)C=C)COC(=O)C=C HVVWZTWDBSEWIH-UHFFFAOYSA-N 0.000 description 2
- 125000001539 acetonyl group Chemical group [H]C([H])([H])C(=O)C([H])([H])* 0.000 description 2
- 125000002777 acetyl group Chemical group [H]C([H])([H])C(*)=O 0.000 description 2
- 125000002102 aryl alkyloxo group Chemical group 0.000 description 2
- 150000001716 carbazoles Chemical class 0.000 description 2
- 150000001735 carboxylic acids Chemical class 0.000 description 2
- 239000003795 chemical substances by application Substances 0.000 description 2
- 150000001846 chrysenes Chemical class 0.000 description 2
- 230000000052 comparative effect Effects 0.000 description 2
- XCJYREBRNVKWGJ-UHFFFAOYSA-N copper(II) phthalocyanine Chemical compound [Cu+2].C12=CC=CC=C2C(N=C2[N-]C(C3=CC=CC=C32)=N2)=NC1=NC([C]1C=CC=CC1=1)=NC=1N=C1[C]3C=CC=CC3=C2[N-]1 XCJYREBRNVKWGJ-UHFFFAOYSA-N 0.000 description 2
- 238000001723 curing Methods 0.000 description 2
- IOJUPLGTWVMSFF-UHFFFAOYSA-N cyclobenzothiazole Natural products C1=CC=C2SC=NC2=C1 IOJUPLGTWVMSFF-UHFFFAOYSA-N 0.000 description 2
- HGCIXCUEYOPUTN-UHFFFAOYSA-N cyclohexene Chemical compound C1CCC=CC1 HGCIXCUEYOPUTN-UHFFFAOYSA-N 0.000 description 2
- 125000000113 cyclohexyl group Chemical group [H]C1([H])C([H])([H])C([H])([H])C([H])(*)C([H])([H])C1([H])[H] 0.000 description 2
- 125000004386 diacrylate group Chemical group 0.000 description 2
- SBZXBUIDTXKZTM-UHFFFAOYSA-N diglyme Chemical compound COCCOCCOC SBZXBUIDTXKZTM-UHFFFAOYSA-N 0.000 description 2
- CZZYITDELCSZES-UHFFFAOYSA-N diphenylmethane Chemical compound C=1C=CC=CC=1CC1=CC=CC=C1 CZZYITDELCSZES-UHFFFAOYSA-N 0.000 description 2
- 230000005684 electric field Effects 0.000 description 2
- 238000001227 electron beam curing Methods 0.000 description 2
- 238000005516 engineering process Methods 0.000 description 2
- FJKIXWOMBXYWOQ-UHFFFAOYSA-N ethenoxyethane Chemical compound CCOC=C FJKIXWOMBXYWOQ-UHFFFAOYSA-N 0.000 description 2
- STVZJERGLQHEKB-UHFFFAOYSA-N ethylene glycol dimethacrylate Substances CC(=C)C(=O)OCCOC(=O)C(C)=C STVZJERGLQHEKB-UHFFFAOYSA-N 0.000 description 2
- KTWOOEGAPBSYNW-UHFFFAOYSA-N ferrocene Chemical compound [Fe+2].C=1C=C[CH-]C=1.C=1C=C[CH-]C=1 KTWOOEGAPBSYNW-UHFFFAOYSA-N 0.000 description 2
- 238000011049 filling Methods 0.000 description 2
- 238000001914 filtration Methods 0.000 description 2
- RMBPEFMHABBEKP-UHFFFAOYSA-N fluorene Chemical compound C1=CC=C2C3=C[CH]C=CC3=CC2=C1 RMBPEFMHABBEKP-UHFFFAOYSA-N 0.000 description 2
- IFYYFLINQYPWGJ-UHFFFAOYSA-N gamma-decalactone Chemical compound CCCCCCC1CCC(=O)O1 IFYYFLINQYPWGJ-UHFFFAOYSA-N 0.000 description 2
- 125000000457 gamma-lactone group Chemical group 0.000 description 2
- 125000005842 heteroatom Chemical group 0.000 description 2
- 125000004435 hydrogen atom Chemical group [H]* 0.000 description 2
- 125000002887 hydroxy group Chemical group [H]O* 0.000 description 2
- 238000003384 imaging method Methods 0.000 description 2
- 229940097275 indigo Drugs 0.000 description 2
- COHYTHOBJLSHDF-UHFFFAOYSA-N indigo powder Natural products N1C2=CC=CC=C2C(=O)C1=C1C(=O)C2=CC=CC=C2N1 COHYTHOBJLSHDF-UHFFFAOYSA-N 0.000 description 2
- 229910052742 iron Inorganic materials 0.000 description 2
- 125000001449 isopropyl group Chemical group [H]C([H])([H])C([H])(*)C([H])([H])[H] 0.000 description 2
- QDLAGTHXVHQKRE-UHFFFAOYSA-N lichenxanthone Natural products COC1=CC(O)=C2C(=O)C3=C(C)C=C(OC)C=C3OC2=C1 QDLAGTHXVHQKRE-UHFFFAOYSA-N 0.000 description 2
- 230000007246 mechanism Effects 0.000 description 2
- DZVCFNFOPIZQKX-LTHRDKTGSA-M merocyanine Chemical compound [Na+].O=C1N(CCCC)C(=O)N(CCCC)C(=O)C1=C\C=C\C=C/1N(CCCS([O-])(=O)=O)C2=CC=CC=C2O\1 DZVCFNFOPIZQKX-LTHRDKTGSA-M 0.000 description 2
- 125000004123 n-propyl group Chemical group [H]C([H])([H])C([H])([H])C([H])([H])* 0.000 description 2
- 150000002790 naphthalenes Chemical class 0.000 description 2
- 230000007935 neutral effect Effects 0.000 description 2
- NIHNNTQXNPWCJQ-UHFFFAOYSA-N o-biphenylenemethane Natural products C1=CC=C2CC3=CC=CC=C3C2=C1 NIHNNTQXNPWCJQ-UHFFFAOYSA-N 0.000 description 2
- 150000004010 onium ions Chemical class 0.000 description 2
- 239000003960 organic solvent Substances 0.000 description 2
- 125000006353 oxyethylene group Chemical group 0.000 description 2
- 125000002080 perylenyl group Chemical group C1(=CC=C2C=CC=C3C4=CC=CC5=CC=CC(C1=C23)=C45)* 0.000 description 2
- CSHWQDPOILHKBI-UHFFFAOYSA-N peryrene Natural products C1=CC(C2=CC=CC=3C2=C2C=CC=3)=C3C2=CC=CC3=C1 CSHWQDPOILHKBI-UHFFFAOYSA-N 0.000 description 2
- 150000002987 phenanthrenes Chemical class 0.000 description 2
- 229950000688 phenothiazine Drugs 0.000 description 2
- 125000001997 phenyl group Chemical group [H]C1=C([H])C([H])=C(*)C([H])=C1[H] 0.000 description 2
- IEQIEDJGQAUEQZ-UHFFFAOYSA-N phthalocyanine Chemical compound N1C(N=C2C3=CC=CC=C3C(N=C3C4=CC=CC=C4C(=N4)N3)=N2)=C(C=CC=C2)C2=C1N=C1C2=CC=CC=C2C4=N1 IEQIEDJGQAUEQZ-UHFFFAOYSA-N 0.000 description 2
- 150000004291 polyenes Chemical class 0.000 description 2
- 229920000728 polyester Polymers 0.000 description 2
- 229920000570 polyether Polymers 0.000 description 2
- 229920000573 polyethylene Polymers 0.000 description 2
- 229920002635 polyurethane Polymers 0.000 description 2
- 150000004032 porphyrins Chemical class 0.000 description 2
- KCTAWXVAICEBSD-UHFFFAOYSA-N prop-2-enoyloxy prop-2-eneperoxoate Chemical compound C=CC(=O)OOOC(=O)C=C KCTAWXVAICEBSD-UHFFFAOYSA-N 0.000 description 2
- 239000001294 propane Substances 0.000 description 2
- 238000001454 recorded image Methods 0.000 description 2
- 238000011160 research Methods 0.000 description 2
- 238000012552 review Methods 0.000 description 2
- 230000035945 sensitivity Effects 0.000 description 2
- 150000003413 spiro compounds Chemical class 0.000 description 2
- 230000006641 stabilisation Effects 0.000 description 2
- 238000011105 stabilization Methods 0.000 description 2
- 125000005504 styryl group Chemical group 0.000 description 2
- HXJUTPCZVOIRIF-UHFFFAOYSA-N sulfolane Chemical compound O=S1(=O)CCCC1 HXJUTPCZVOIRIF-UHFFFAOYSA-N 0.000 description 2
- 239000004094 surface-active agent Substances 0.000 description 2
- HJUGFYREWKUQJT-UHFFFAOYSA-N tetrabromomethane Chemical compound BrC(Br)(Br)Br HJUGFYREWKUQJT-UHFFFAOYSA-N 0.000 description 2
- ZUHZGEOKBKGPSW-UHFFFAOYSA-N tetraglyme Chemical compound COCCOCCOCCOCCOC ZUHZGEOKBKGPSW-UHFFFAOYSA-N 0.000 description 2
- LDHQCZJRKDOVOX-UHFFFAOYSA-N trans-crotonic acid Natural products CC=CC(O)=O LDHQCZJRKDOVOX-UHFFFAOYSA-N 0.000 description 2
- 229910052723 transition metal Inorganic materials 0.000 description 2
- 150000003624 transition metals Chemical class 0.000 description 2
- AAAQKTZKLRYKHR-UHFFFAOYSA-N triphenylmethane Chemical compound C1=CC=CC=C1C(C=1C=CC=CC=1)C1=CC=CC=C1 AAAQKTZKLRYKHR-UHFFFAOYSA-N 0.000 description 2
- 150000003673 urethanes Chemical class 0.000 description 2
- 229960000834 vinyl ether Drugs 0.000 description 2
- PHXATPHONSXBIL-UHFFFAOYSA-N xi-gamma-Undecalactone Chemical compound CCCCCCCC1CCC(=O)O1 PHXATPHONSXBIL-UHFFFAOYSA-N 0.000 description 2
- HHQAGBQXOWLTLL-UHFFFAOYSA-N (2-hydroxy-3-phenoxypropyl) prop-2-enoate Chemical compound C=CC(=O)OCC(O)COC1=CC=CC=C1 HHQAGBQXOWLTLL-UHFFFAOYSA-N 0.000 description 1
- 239000001730 (5R)-5-butyloxolan-2-one Substances 0.000 description 1
- PPTXVXKCQZKFBN-UHFFFAOYSA-N (S)-(-)-1,1'-Bi-2-naphthol Chemical compound C1=CC=C2C(C3=C4C=CC=CC4=CC=C3O)=C(O)C=CC2=C1 PPTXVXKCQZKFBN-UHFFFAOYSA-N 0.000 description 1
- UUGXDEDGRPYWHG-UHFFFAOYSA-N (dimethylamino)methyl 2-methylprop-2-enoate Chemical compound CN(C)COC(=O)C(C)=C UUGXDEDGRPYWHG-UHFFFAOYSA-N 0.000 description 1
- GPHWXFINOWXMDN-UHFFFAOYSA-N 1,1-bis(ethenoxy)hexane Chemical compound CCCCCC(OC=C)OC=C GPHWXFINOWXMDN-UHFFFAOYSA-N 0.000 description 1
- HIYIGPVBMDKPCR-UHFFFAOYSA-N 1,1-bis(ethenoxymethyl)cyclohexane Chemical compound C=COCC1(COC=C)CCCCC1 HIYIGPVBMDKPCR-UHFFFAOYSA-N 0.000 description 1
- SKYXLDSRLNRAPS-UHFFFAOYSA-N 1,2,4-trifluoro-5-methoxybenzene Chemical compound COC1=CC(F)=C(F)C=C1F SKYXLDSRLNRAPS-UHFFFAOYSA-N 0.000 description 1
- WSLDOOZREJYCGB-UHFFFAOYSA-N 1,2-Dichloroethane Chemical compound ClCCCl WSLDOOZREJYCGB-UHFFFAOYSA-N 0.000 description 1
- CYIGRWUIQAVBFG-UHFFFAOYSA-N 1,2-bis(2-ethenoxyethoxy)ethane Chemical compound C=COCCOCCOCCOC=C CYIGRWUIQAVBFG-UHFFFAOYSA-N 0.000 description 1
- ZXHDVRATSGZISC-UHFFFAOYSA-N 1,2-bis(ethenoxy)ethane Chemical compound C=COCCOC=C ZXHDVRATSGZISC-UHFFFAOYSA-N 0.000 description 1
- LXSVCBDMOGLGFA-UHFFFAOYSA-N 1,2-bis(ethenoxy)propane Chemical compound C=COC(C)COC=C LXSVCBDMOGLGFA-UHFFFAOYSA-N 0.000 description 1
- RYHBNJHYFVUHQT-UHFFFAOYSA-N 1,4-Dioxane Chemical compound C1COCCO1 RYHBNJHYFVUHQT-UHFFFAOYSA-N 0.000 description 1
- MWZJGRDWJVHRDV-UHFFFAOYSA-N 1,4-bis(ethenoxy)butane Chemical compound C=COCCCCOC=C MWZJGRDWJVHRDV-UHFFFAOYSA-N 0.000 description 1
- PBFUEKVVMPLYFH-UHFFFAOYSA-N 1,4-bis(phenylmethoxy)chrysene Chemical compound C=1C=CC=CC=1COC(C1=C2C3=CC=C4C=CC=CC4=C3C=C1)=CC=C2OCC1=CC=CC=C1 PBFUEKVVMPLYFH-UHFFFAOYSA-N 0.000 description 1
- ONJJGUNDDUSPKW-UHFFFAOYSA-N 1,4-diethoxychrysene Chemical compound C1=CC2=C3C=CC=CC3=CC=C2C2=C1C(OCC)=CC=C2OCC ONJJGUNDDUSPKW-UHFFFAOYSA-N 0.000 description 1
- ROYYJIIRTNVPFY-UHFFFAOYSA-N 1,4-dimethoxychrysene Chemical compound C1=CC2=C3C=CC=CC3=CC=C2C2=C1C(OC)=CC=C2OC ROYYJIIRTNVPFY-UHFFFAOYSA-N 0.000 description 1
- JGOYPFYYIIIGRT-UHFFFAOYSA-N 1,4-dipropoxychrysene Chemical compound C1=CC2=C3C=CC=CC3=CC=C2C2=C1C(OCCC)=CC=C2OCCC JGOYPFYYIIIGRT-UHFFFAOYSA-N 0.000 description 1
- GDXHBFHOEYVPED-UHFFFAOYSA-N 1-(2-butoxyethoxy)butane Chemical compound CCCCOCCOCCCC GDXHBFHOEYVPED-UHFFFAOYSA-N 0.000 description 1
- HGYMQZVPTMKXGI-UHFFFAOYSA-N 1-(2-hydroxynaphthalen-1-yl)sulfanylnaphthalen-2-ol Chemical compound C1=CC=C2C(SC3=C4C=CC=CC4=CC=C3O)=C(O)C=CC2=C1 HGYMQZVPTMKXGI-UHFFFAOYSA-N 0.000 description 1
- JDHQUJOFJHVHEU-UHFFFAOYSA-N 1-(2-hydroxypropylsulfonyl)propan-2-ol Chemical compound CC(O)CS(=O)(=O)CC(C)O JDHQUJOFJHVHEU-UHFFFAOYSA-N 0.000 description 1
- VKQJCUYEEABXNK-UHFFFAOYSA-N 1-chloro-4-propoxythioxanthen-9-one Chemical compound S1C2=CC=CC=C2C(=O)C2=C1C(OCCC)=CC=C2Cl VKQJCUYEEABXNK-UHFFFAOYSA-N 0.000 description 1
- CZAVRNDQSIORTH-UHFFFAOYSA-N 1-ethenoxy-2,2-bis(ethenoxymethyl)butane Chemical compound C=COCC(CC)(COC=C)COC=C CZAVRNDQSIORTH-UHFFFAOYSA-N 0.000 description 1
- SAMJGBVVQUEMGC-UHFFFAOYSA-N 1-ethenoxy-2-(2-ethenoxyethoxy)ethane Chemical compound C=COCCOCCOC=C SAMJGBVVQUEMGC-UHFFFAOYSA-N 0.000 description 1
- RQJCIXUNHZZFMB-UHFFFAOYSA-N 1-ethenoxy-2-(2-ethenoxypropoxy)propane Chemical compound C=COCC(C)OCC(C)OC=C RQJCIXUNHZZFMB-UHFFFAOYSA-N 0.000 description 1
- OZCMOJQQLBXBKI-UHFFFAOYSA-N 1-ethenoxy-2-methylpropane Chemical compound CC(C)COC=C OZCMOJQQLBXBKI-UHFFFAOYSA-N 0.000 description 1
- UZKWTJUDCOPSNM-UHFFFAOYSA-N 1-ethenoxybutane Chemical compound CCCCOC=C UZKWTJUDCOPSNM-UHFFFAOYSA-N 0.000 description 1
- LAYAKLSFVAPMEL-UHFFFAOYSA-N 1-ethenoxydodecane Chemical compound CCCCCCCCCCCCOC=C LAYAKLSFVAPMEL-UHFFFAOYSA-N 0.000 description 1
- OVGRCEFMXPHEBL-UHFFFAOYSA-N 1-ethenoxypropane Chemical compound CCCOC=C OVGRCEFMXPHEBL-UHFFFAOYSA-N 0.000 description 1
- FZYSZYWKHFCLSF-UHFFFAOYSA-N 1-methyl-1,4-diazepan-5-one Chemical compound CN1CCNC(=O)CC1 FZYSZYWKHFCLSF-UHFFFAOYSA-N 0.000 description 1
- VTRRCXRVEQTTOE-UHFFFAOYSA-N 1-methylsulfinylethane Chemical compound CCS(C)=O VTRRCXRVEQTTOE-UHFFFAOYSA-N 0.000 description 1
- YBJCDTIWNDBNTM-UHFFFAOYSA-N 1-methylsulfonylethane Chemical compound CCS(C)(=O)=O YBJCDTIWNDBNTM-UHFFFAOYSA-N 0.000 description 1
- XLPJNCYCZORXHG-UHFFFAOYSA-N 1-morpholin-4-ylprop-2-en-1-one Chemical compound C=CC(=O)N1CCOCC1 XLPJNCYCZORXHG-UHFFFAOYSA-N 0.000 description 1
- GPCTVEYMDITHHQ-UHFFFAOYSA-N 1-octadecoxynaphthalene Chemical compound C1=CC=C2C(OCCCCCCCCCCCCCCCCCC)=CC=CC2=C1 GPCTVEYMDITHHQ-UHFFFAOYSA-N 0.000 description 1
- YIKSHDNOAYSSPX-UHFFFAOYSA-N 1-propan-2-ylthioxanthen-9-one Chemical compound S1C2=CC=CC=C2C(=O)C2=C1C=CC=C2C(C)C YIKSHDNOAYSSPX-UHFFFAOYSA-N 0.000 description 1
- GZBSIABKXVPBFY-UHFFFAOYSA-N 2,2-bis(hydroxymethyl)propane-1,3-diol;prop-2-enoic acid Chemical compound OC(=O)C=C.OC(=O)C=C.OC(=O)C=C.OC(=O)C=C.OCC(CO)(CO)CO GZBSIABKXVPBFY-UHFFFAOYSA-N 0.000 description 1
- MSYHXPDISYORMC-UHFFFAOYSA-N 2,3-dimethyl-9,10-bis(phenylmethoxy)anthracene Chemical compound C12=CC=CC=C2C(OCC=2C=CC=CC=2)=C2C=C(C)C(C)=CC2=C1OCC1=CC=CC=C1 MSYHXPDISYORMC-UHFFFAOYSA-N 0.000 description 1
- AGTYTCIZMSYDFZ-UHFFFAOYSA-N 2,3-dimethyl-9,10-dipropoxyanthracene Chemical compound CC1=C(C)C=C2C(OCCC)=C(C=CC=C3)C3=C(OCCC)C2=C1 AGTYTCIZMSYDFZ-UHFFFAOYSA-N 0.000 description 1
- BTJPUDCSZVCXFQ-UHFFFAOYSA-N 2,4-diethylthioxanthen-9-one Chemical compound C1=CC=C2C(=O)C3=CC(CC)=CC(CC)=C3SC2=C1 BTJPUDCSZVCXFQ-UHFFFAOYSA-N 0.000 description 1
- LCHAFMWSFCONOO-UHFFFAOYSA-N 2,4-dimethylthioxanthen-9-one Chemical compound C1=CC=C2C(=O)C3=CC(C)=CC(C)=C3SC2=C1 LCHAFMWSFCONOO-UHFFFAOYSA-N 0.000 description 1
- PPKHAIRFQKFMLE-UHFFFAOYSA-N 2,7-dimethoxynaphthalene Chemical compound C1=CC(OC)=CC2=CC(OC)=CC=C21 PPKHAIRFQKFMLE-UHFFFAOYSA-N 0.000 description 1
- STMDPCBYJCIZOD-UHFFFAOYSA-N 2-(2,4-dinitroanilino)-4-methylpentanoic acid Chemical compound CC(C)CC(C(O)=O)NC1=CC=C([N+]([O-])=O)C=C1[N+]([O-])=O STMDPCBYJCIZOD-UHFFFAOYSA-N 0.000 description 1
- WULAHPYSGCVQHM-UHFFFAOYSA-N 2-(2-ethenoxyethoxy)ethanol Chemical compound OCCOCCOC=C WULAHPYSGCVQHM-UHFFFAOYSA-N 0.000 description 1
- NLDJRLVSKQKBQV-UHFFFAOYSA-N 2-(2-ethenoxyethoxy)naphthalene Chemical compound C1=CC=CC2=CC(OCCOC=C)=CC=C21 NLDJRLVSKQKBQV-UHFFFAOYSA-N 0.000 description 1
- FTALTLPZDVFJSS-UHFFFAOYSA-N 2-(2-ethoxyethoxy)ethyl prop-2-enoate Chemical compound CCOCCOCCOC(=O)C=C FTALTLPZDVFJSS-UHFFFAOYSA-N 0.000 description 1
- SMZOUWXMTYCWNB-UHFFFAOYSA-N 2-(2-methoxy-5-methylphenyl)ethanamine Chemical compound COC1=CC=C(C)C=C1CCN SMZOUWXMTYCWNB-UHFFFAOYSA-N 0.000 description 1
- JAHNSTQSQJOJLO-UHFFFAOYSA-N 2-(3-fluorophenyl)-1h-imidazole Chemical compound FC1=CC=CC(C=2NC=CN=2)=C1 JAHNSTQSQJOJLO-UHFFFAOYSA-N 0.000 description 1
- QYYCPWLLBSSFBW-UHFFFAOYSA-N 2-(naphthalen-1-yloxymethyl)oxirane Chemical compound C=1C=CC2=CC=CC=C2C=1OCC1CO1 QYYCPWLLBSSFBW-UHFFFAOYSA-N 0.000 description 1
- GOXQRTZXKQZDDN-UHFFFAOYSA-N 2-Ethylhexyl acrylate Chemical compound CCCCC(CC)COC(=O)C=C GOXQRTZXKQZDDN-UHFFFAOYSA-N 0.000 description 1
- LUZDYPLAQQGJEA-UHFFFAOYSA-N 2-Methoxynaphthalene Chemical compound C1=CC=CC2=CC(OC)=CC=C21 LUZDYPLAQQGJEA-UHFFFAOYSA-N 0.000 description 1
- NIXOWILDQLNWCW-UHFFFAOYSA-N 2-Propenoic acid Natural products OC(=O)C=C NIXOWILDQLNWCW-UHFFFAOYSA-N 0.000 description 1
- PRDISNSOFCDGJQ-UHFFFAOYSA-N 2-[10-(2-hydroxyethoxy)anthracen-9-yl]oxyethanol Chemical compound C1=CC=C2C(OCCO)=C(C=CC=C3)C3=C(OCCO)C2=C1 PRDISNSOFCDGJQ-UHFFFAOYSA-N 0.000 description 1
- XRBWKWGATZNBFW-UHFFFAOYSA-N 2-[2-(2-ethenoxyethoxy)ethoxy]ethanol Chemical compound OCCOCCOCCOC=C XRBWKWGATZNBFW-UHFFFAOYSA-N 0.000 description 1
- WAEVWDZKMBQDEJ-UHFFFAOYSA-N 2-[2-(2-methoxypropoxy)propoxy]propan-1-ol Chemical compound COC(C)COC(C)COC(C)CO WAEVWDZKMBQDEJ-UHFFFAOYSA-N 0.000 description 1
- HWSSEYVMGDIFMH-UHFFFAOYSA-N 2-[2-[2-(2-methylprop-2-enoyloxy)ethoxy]ethoxy]ethyl 2-methylprop-2-enoate Chemical compound CC(=C)C(=O)OCCOCCOCCOC(=O)C(C)=C HWSSEYVMGDIFMH-UHFFFAOYSA-N 0.000 description 1
- TXBCBTDQIULDIA-UHFFFAOYSA-N 2-[[3-hydroxy-2,2-bis(hydroxymethyl)propoxy]methyl]-2-(hydroxymethyl)propane-1,3-diol Chemical compound OCC(CO)(CO)COCC(CO)(CO)CO TXBCBTDQIULDIA-UHFFFAOYSA-N 0.000 description 1
- XAOPXEUWSFVUCU-UHFFFAOYSA-N 2-aminoacetic acid;2-methylprop-2-enoic acid Chemical compound NCC(O)=O.CC(=C)C(O)=O XAOPXEUWSFVUCU-UHFFFAOYSA-N 0.000 description 1
- PTJDGKYFJYEAOK-UHFFFAOYSA-N 2-butoxyethyl prop-2-enoate Chemical compound CCCCOCCOC(=O)C=C PTJDGKYFJYEAOK-UHFFFAOYSA-N 0.000 description 1
- JELWIQYGVYWSEX-UHFFFAOYSA-N 2-chlorothioxanthen-9-one;1-propan-2-ylthioxanthen-9-one Chemical compound C1=CC=C2C(=O)C3=CC(Cl)=CC=C3SC2=C1.S1C2=CC=CC=C2C(=O)C2=C1C=CC=C2C(C)C JELWIQYGVYWSEX-UHFFFAOYSA-N 0.000 description 1
- SGZSHWXSWILTIG-UHFFFAOYSA-N 2-dodecoxynaphthalene Chemical compound C1=CC=CC2=CC(OCCCCCCCCCCCC)=CC=C21 SGZSHWXSWILTIG-UHFFFAOYSA-N 0.000 description 1
- GNUGVECARVKIPH-UHFFFAOYSA-N 2-ethenoxypropane Chemical compound CC(C)OC=C GNUGVECARVKIPH-UHFFFAOYSA-N 0.000 description 1
- FLVWPWRASWZGRA-UHFFFAOYSA-N 2-ethyl-9,10-bis(phenylmethoxy)anthracene Chemical compound C=12C=CC=CC2=C(OCC=2C=CC=CC=2)C2=CC(CC)=CC=C2C=1OCC1=CC=CC=C1 FLVWPWRASWZGRA-UHFFFAOYSA-N 0.000 description 1
- SURWYRGVICLUBJ-UHFFFAOYSA-N 2-ethyl-9,10-dimethoxyanthracene Chemical compound C1=CC=CC2=C(OC)C3=CC(CC)=CC=C3C(OC)=C21 SURWYRGVICLUBJ-UHFFFAOYSA-N 0.000 description 1
- BDPJILVXUVJWBF-UHFFFAOYSA-N 2-ethyl-9,10-dipropoxyanthracene Chemical compound CCC1=CC=C2C(OCCC)=C(C=CC=C3)C3=C(OCCC)C2=C1 BDPJILVXUVJWBF-UHFFFAOYSA-N 0.000 description 1
- WDQMWEYDKDCEHT-UHFFFAOYSA-N 2-ethylhexyl 2-methylprop-2-enoate Chemical compound CCCCC(CC)COC(=O)C(C)=C WDQMWEYDKDCEHT-UHFFFAOYSA-N 0.000 description 1
- OMIGHNLMNHATMP-UHFFFAOYSA-N 2-hydroxyethyl prop-2-enoate Chemical compound OCCOC(=O)C=C OMIGHNLMNHATMP-UHFFFAOYSA-N 0.000 description 1
- LWRBVKNFOYUCNP-UHFFFAOYSA-N 2-methyl-1-(4-methylsulfanylphenyl)-2-morpholin-4-ylpropan-1-one Chemical compound C1=CC(SC)=CC=C1C(=O)C(C)(C)N1CCOCC1 LWRBVKNFOYUCNP-UHFFFAOYSA-N 0.000 description 1
- RZVINYQDSSQUKO-UHFFFAOYSA-N 2-phenoxyethyl prop-2-enoate Chemical compound C=CC(=O)OCCOC1=CC=CC=C1 RZVINYQDSSQUKO-UHFFFAOYSA-N 0.000 description 1
- 125000003903 2-propenyl group Chemical group [H]C([*])([H])C([H])=C([H])[H] 0.000 description 1
- QCAHUFWKIQLBNB-UHFFFAOYSA-N 3-(3-methoxypropoxy)propan-1-ol Chemical compound COCCCOCCCO QCAHUFWKIQLBNB-UHFFFAOYSA-N 0.000 description 1
- DSSAWHFZNWVJEC-UHFFFAOYSA-N 3-(ethenoxymethyl)heptane Chemical compound CCCCC(CC)COC=C DSSAWHFZNWVJEC-UHFFFAOYSA-N 0.000 description 1
- DBCAQXHNJOFNGC-UHFFFAOYSA-N 4-bromo-1,1,1-trifluorobutane Chemical compound FC(F)(F)CCCBr DBCAQXHNJOFNGC-UHFFFAOYSA-N 0.000 description 1
- HMBNQNDUEFFFNZ-UHFFFAOYSA-N 4-ethenoxybutan-1-ol Chemical compound OCCCCOC=C HMBNQNDUEFFFNZ-UHFFFAOYSA-N 0.000 description 1
- SAPGBCWOQLHKKZ-UHFFFAOYSA-N 6-(2-methylprop-2-enoyloxy)hexyl 2-methylprop-2-enoate Chemical compound CC(=C)C(=O)OCCCCCCOC(=O)C(C)=C SAPGBCWOQLHKKZ-UHFFFAOYSA-N 0.000 description 1
- PXRBWNLUQYZAAX-UHFFFAOYSA-N 6-Butyltetrahydro-2H-pyran-2-one Chemical compound CCCCC1CCCC(=O)O1 PXRBWNLUQYZAAX-UHFFFAOYSA-N 0.000 description 1
- YZRXRLLRSPQHDK-UHFFFAOYSA-N 6-Hexyltetrahydro-2H-pyran-2-one Chemical compound CCCCCCC1CCCC(=O)O1 YZRXRLLRSPQHDK-UHFFFAOYSA-N 0.000 description 1
- JFVQYQDTHWLYHG-UHFFFAOYSA-N 6-ethyloxan-2-one Chemical compound CCC1CCCC(=O)O1 JFVQYQDTHWLYHG-UHFFFAOYSA-N 0.000 description 1
- GJEZBVHHZQAEDB-UHFFFAOYSA-N 6-oxabicyclo[3.1.0]hexane Chemical compound C1CCC2OC21 GJEZBVHHZQAEDB-UHFFFAOYSA-N 0.000 description 1
- FIHBHSQYSYVZQE-UHFFFAOYSA-N 6-prop-2-enoyloxyhexyl prop-2-enoate Chemical compound C=CC(=O)OCCCCCCOC(=O)C=C FIHBHSQYSYVZQE-UHFFFAOYSA-N 0.000 description 1
- GVQWEXVGSCZATN-UHFFFAOYSA-N 9,10-bis(phenylmethoxy)anthracene Chemical compound C=1C=CC=CC=1COC(C1=CC=CC=C11)=C2C=CC=CC2=C1OCC1=CC=CC=C1 GVQWEXVGSCZATN-UHFFFAOYSA-N 0.000 description 1
- SVNMDXTZBMAECY-UHFFFAOYSA-N 9,10-diethoxy-2,3-dimethylanthracene Chemical compound CC1=C(C)C=C2C(OCC)=C(C=CC=C3)C3=C(OCC)C2=C1 SVNMDXTZBMAECY-UHFFFAOYSA-N 0.000 description 1
- FUWFDADDJOUNDL-UHFFFAOYSA-N 9,10-diethoxy-2-ethylanthracene Chemical compound CCC1=CC=C2C(OCC)=C(C=CC=C3)C3=C(OCC)C2=C1 FUWFDADDJOUNDL-UHFFFAOYSA-N 0.000 description 1
- GJNKQJAJXSUJBO-UHFFFAOYSA-N 9,10-diethoxyanthracene Chemical compound C1=CC=C2C(OCC)=C(C=CC=C3)C3=C(OCC)C2=C1 GJNKQJAJXSUJBO-UHFFFAOYSA-N 0.000 description 1
- DMZQKGOTFQLLGR-UHFFFAOYSA-N 9,10-diethoxyphenanthrene Chemical compound C1=CC=C2C(OCC)=C(OCC)C3=CC=CC=C3C2=C1 DMZQKGOTFQLLGR-UHFFFAOYSA-N 0.000 description 1
- URNHKGAEEHGYPK-UHFFFAOYSA-N 9,10-dimethoxy-2,3-dimethylanthracene Chemical compound CC1=C(C)C=C2C(OC)=C(C=CC=C3)C3=C(OC)C2=C1 URNHKGAEEHGYPK-UHFFFAOYSA-N 0.000 description 1
- JWJMBKSFTTXMLL-UHFFFAOYSA-N 9,10-dimethoxyanthracene Chemical compound C1=CC=C2C(OC)=C(C=CC=C3)C3=C(OC)C2=C1 JWJMBKSFTTXMLL-UHFFFAOYSA-N 0.000 description 1
- RSVPDHZJHULKHF-UHFFFAOYSA-N 9,10-dimethoxyphenanthrene Chemical compound C1=CC=C2C(OC)=C(OC)C3=CC=CC=C3C2=C1 RSVPDHZJHULKHF-UHFFFAOYSA-N 0.000 description 1
- QVJGSQBLTKJRSE-UHFFFAOYSA-N 9-ethenoxynonan-1-ol Chemical compound OCCCCCCCCCOC=C QVJGSQBLTKJRSE-UHFFFAOYSA-N 0.000 description 1
- FTNHBFLTHCMFRW-UHFFFAOYSA-N 9-ethoxy-10-methylanthracene Chemical compound C1=CC=C2C(OCC)=C(C=CC=C3)C3=C(C)C2=C1 FTNHBFLTHCMFRW-UHFFFAOYSA-N 0.000 description 1
- PLAZXGNBGZYJSA-UHFFFAOYSA-N 9-ethylcarbazole Chemical compound C1=CC=C2N(CC)C3=CC=CC=C3C2=C1 PLAZXGNBGZYJSA-UHFFFAOYSA-N 0.000 description 1
- ROUPCHNBAWMYEW-UHFFFAOYSA-N 9-methoxy-10-methylanthracene Chemical compound C1=CC=C2C(OC)=C(C=CC=C3)C3=C(C)C2=C1 ROUPCHNBAWMYEW-UHFFFAOYSA-N 0.000 description 1
- NXOKRFIYHOIOPM-UHFFFAOYSA-N 9-methyl-10-(1-phenylethoxy)anthracene Chemical compound C=12C=CC=CC2=C(C)C2=CC=CC=C2C=1OC(C)C1=CC=CC=C1 NXOKRFIYHOIOPM-UHFFFAOYSA-N 0.000 description 1
- VUMLWMKPSJPGLQ-UHFFFAOYSA-N 9-methyl-10-phenylmethoxyanthracene Chemical compound C12=CC=CC=C2C(C)=C2C=CC=CC2=C1OCC1=CC=CC=C1 VUMLWMKPSJPGLQ-UHFFFAOYSA-N 0.000 description 1
- WPKBFCIULMUVHF-UHFFFAOYSA-N 9-methyl-10-propan-2-yloxyanthracene Chemical compound C1=CC=C2C(OC(C)C)=C(C=CC=C3)C3=C(C)C2=C1 WPKBFCIULMUVHF-UHFFFAOYSA-N 0.000 description 1
- DZKIUEHLEXLYKM-UHFFFAOYSA-N 9-phenanthrol Chemical compound C1=CC=C2C(O)=CC3=CC=CC=C3C2=C1 DZKIUEHLEXLYKM-UHFFFAOYSA-N 0.000 description 1
- VIJYEGDOKCKUOL-UHFFFAOYSA-N 9-phenylcarbazole Chemical compound C1=CC=CC=C1N1C2=CC=CC=C2C2=CC=CC=C21 VIJYEGDOKCKUOL-UHFFFAOYSA-N 0.000 description 1
- NIXOWILDQLNWCW-UHFFFAOYSA-M Acrylate Chemical compound [O-]C(=O)C=C NIXOWILDQLNWCW-UHFFFAOYSA-M 0.000 description 1
- NLHHRLWOUZZQLW-UHFFFAOYSA-N Acrylonitrile Chemical compound C=CC#N NLHHRLWOUZZQLW-UHFFFAOYSA-N 0.000 description 1
- QGZKDVFQNNGYKY-UHFFFAOYSA-O Ammonium Chemical compound [NH4+] QGZKDVFQNNGYKY-UHFFFAOYSA-O 0.000 description 1
- 241001388118 Anisotremus taeniatus Species 0.000 description 1
- 229910017008 AsF 6 Inorganic materials 0.000 description 1
- DKPFZGUDAPQIHT-UHFFFAOYSA-N Butyl acetate Natural products CCCCOC(C)=O DKPFZGUDAPQIHT-UHFFFAOYSA-N 0.000 description 1
- PSTMHVVVPGHMLA-UHFFFAOYSA-N C(=O)(O)CCOC=1C2=CC=CC=C2C(=C2C=CC=CC=12)OCCC(=O)O Chemical compound C(=O)(O)CCOC=1C2=CC=CC=C2C(=C2C=CC=CC=12)OCCC(=O)O PSTMHVVVPGHMLA-UHFFFAOYSA-N 0.000 description 1
- OKTJSMMVPCPJKN-UHFFFAOYSA-N Carbon Chemical compound [C] OKTJSMMVPCPJKN-UHFFFAOYSA-N 0.000 description 1
- 229920000742 Cotton Polymers 0.000 description 1
- 239000004971 Cross linker Substances 0.000 description 1
- XDTMQSROBMDMFD-UHFFFAOYSA-N Cyclohexane Chemical compound C1CCCCC1 XDTMQSROBMDMFD-UHFFFAOYSA-N 0.000 description 1
- RZTOWFMDBDPERY-UHFFFAOYSA-N Delta-Hexanolactone Chemical compound CC1CCCC(=O)O1 RZTOWFMDBDPERY-UHFFFAOYSA-N 0.000 description 1
- 239000004641 Diallyl-phthalate Substances 0.000 description 1
- JJHHIJFTHRNPIK-UHFFFAOYSA-N Diphenyl sulfoxide Chemical compound C=1C=CC=CC=1S(=O)C1=CC=CC=C1 JJHHIJFTHRNPIK-UHFFFAOYSA-N 0.000 description 1
- 102220466693 Histone H4 transcription factor_S22P_mutation Human genes 0.000 description 1
- JHWNWJKBPDFINM-UHFFFAOYSA-N Laurolactam Chemical compound O=C1CCCCCCCCCCCN1 JHWNWJKBPDFINM-UHFFFAOYSA-N 0.000 description 1
- CERQOIWHTDAKMF-UHFFFAOYSA-N Methacrylic acid Chemical compound CC(=C)C(O)=O CERQOIWHTDAKMF-UHFFFAOYSA-N 0.000 description 1
- VVQNEPGJFQJSBK-UHFFFAOYSA-N Methyl methacrylate Chemical compound COC(=O)C(C)=C VVQNEPGJFQJSBK-UHFFFAOYSA-N 0.000 description 1
- FXHOOIRPVKKKFG-UHFFFAOYSA-N N,N-Dimethylacetamide Chemical compound CN(C)C(C)=O FXHOOIRPVKKKFG-UHFFFAOYSA-N 0.000 description 1
- SUAKHGWARZSWIH-UHFFFAOYSA-N N,N‐diethylformamide Chemical compound CCN(CC)C=O SUAKHGWARZSWIH-UHFFFAOYSA-N 0.000 description 1
- CNCOEDDPFOAUMB-UHFFFAOYSA-N N-Methylolacrylamide Chemical compound OCNC(=O)C=C CNCOEDDPFOAUMB-UHFFFAOYSA-N 0.000 description 1
- OHLUUHNLEMFGTQ-UHFFFAOYSA-N N-methylacetamide Chemical compound CNC(C)=O OHLUUHNLEMFGTQ-UHFFFAOYSA-N 0.000 description 1
- 229910019142 PO4 Inorganic materials 0.000 description 1
- OFSAUHSCHWRZKM-UHFFFAOYSA-N Padimate A Chemical compound CC(C)CCOC(=O)C1=CC=C(N(C)C)C=C1 OFSAUHSCHWRZKM-UHFFFAOYSA-N 0.000 description 1
- 229920003171 Poly (ethylene oxide) Polymers 0.000 description 1
- 229930182556 Polyacetal Natural products 0.000 description 1
- 239000004721 Polyphenylene oxide Substances 0.000 description 1
- 239000004372 Polyvinyl alcohol Substances 0.000 description 1
- OFOBLEOULBTSOW-UHFFFAOYSA-N Propanedioic acid Natural products OC(=O)CC(O)=O OFOBLEOULBTSOW-UHFFFAOYSA-N 0.000 description 1
- 102220472834 Proteasomal ATPase-associated factor 1_S14P_mutation Human genes 0.000 description 1
- 102220513579 Pulmonary surfactant-associated protein D_S12P_mutation Human genes 0.000 description 1
- KJTLSVCANCCWHF-UHFFFAOYSA-N Ruthenium Chemical compound [Ru] KJTLSVCANCCWHF-UHFFFAOYSA-N 0.000 description 1
- 229910018286 SbF 6 Inorganic materials 0.000 description 1
- 229910000831 Steel Inorganic materials 0.000 description 1
- GWEVSGVZZGPLCZ-UHFFFAOYSA-N Titan oxide Chemical compound O=[Ti]=O GWEVSGVZZGPLCZ-UHFFFAOYSA-N 0.000 description 1
- GSEJCLTVZPLZKY-UHFFFAOYSA-N Triethanolamine Chemical compound OCCN(CCO)CCO GSEJCLTVZPLZKY-UHFFFAOYSA-N 0.000 description 1
- ZJCCRDAZUWHFQH-UHFFFAOYSA-N Trimethylolpropane Chemical compound CCC(CO)(CO)CO ZJCCRDAZUWHFQH-UHFFFAOYSA-N 0.000 description 1
- DAKWPKUUDNSNPN-UHFFFAOYSA-N Trimethylolpropane triacrylate Chemical compound C=CC(=O)OCC(CC)(COC(=O)C=C)COC(=O)C=C DAKWPKUUDNSNPN-UHFFFAOYSA-N 0.000 description 1
- QYKIQEUNHZKYBP-UHFFFAOYSA-N Vinyl ether Chemical class C=COC=C QYKIQEUNHZKYBP-UHFFFAOYSA-N 0.000 description 1
- MOOIXEMFUKBQLJ-UHFFFAOYSA-N [1-(ethenoxymethyl)cyclohexyl]methanol Chemical compound C=COCC1(CO)CCCCC1 MOOIXEMFUKBQLJ-UHFFFAOYSA-N 0.000 description 1
- SWHLOXLFJPTYTL-UHFFFAOYSA-N [2-methyl-3-(2-methylprop-2-enoyloxy)-2-(2-methylprop-2-enoyloxymethyl)propyl] 2-methylprop-2-enoate Chemical compound CC(=C)C(=O)OCC(C)(COC(=O)C(C)=C)COC(=O)C(C)=C SWHLOXLFJPTYTL-UHFFFAOYSA-N 0.000 description 1
- FHLPGTXWCFQMIU-UHFFFAOYSA-N [4-[2-(4-prop-2-enoyloxyphenyl)propan-2-yl]phenyl] prop-2-enoate Chemical class C=1C=C(OC(=O)C=C)C=CC=1C(C)(C)C1=CC=C(OC(=O)C=C)C=C1 FHLPGTXWCFQMIU-UHFFFAOYSA-N 0.000 description 1
- 230000005856 abnormality Effects 0.000 description 1
- 238000005299 abrasion Methods 0.000 description 1
- 239000006096 absorbing agent Substances 0.000 description 1
- 150000007513 acids Chemical class 0.000 description 1
- 150000001252 acrylic acid derivatives Chemical class 0.000 description 1
- 239000012190 activator Substances 0.000 description 1
- 230000000996 additive effect Effects 0.000 description 1
- 125000002723 alicyclic group Chemical group 0.000 description 1
- 125000002947 alkylene group Chemical group 0.000 description 1
- 150000001361 allenes Chemical class 0.000 description 1
- 229910052782 aluminium Inorganic materials 0.000 description 1
- XAGFODPZIPBFFR-UHFFFAOYSA-N aluminium Chemical compound [Al] XAGFODPZIPBFFR-UHFFFAOYSA-N 0.000 description 1
- 150000001408 amides Chemical class 0.000 description 1
- 230000003321 amplification Effects 0.000 description 1
- 125000000129 anionic group Chemical group 0.000 description 1
- 150000001454 anthracenes Chemical class 0.000 description 1
- 239000002519 antifouling agent Substances 0.000 description 1
- 239000003963 antioxidant agent Substances 0.000 description 1
- 239000003125 aqueous solvent Substances 0.000 description 1
- 125000003118 aryl group Chemical group 0.000 description 1
- 230000008901 benefit Effects 0.000 description 1
- AOJOEFVRHOZDFN-UHFFFAOYSA-N benzyl 2-methylprop-2-enoate Chemical compound CC(=C)C(=O)OCC1=CC=CC=C1 AOJOEFVRHOZDFN-UHFFFAOYSA-N 0.000 description 1
- GCTPMLUUWLLESL-UHFFFAOYSA-N benzyl prop-2-enoate Chemical compound C=CC(=O)OCC1=CC=CC=C1 GCTPMLUUWLLESL-UHFFFAOYSA-N 0.000 description 1
- 125000000051 benzyloxy group Chemical group [H]C1=C([H])C([H])=C(C([H])=C1[H])C([H])([H])O* 0.000 description 1
- 229950011260 betanaphthol Drugs 0.000 description 1
- 239000011230 binding agent Substances 0.000 description 1
- QUDWYFHPNIMBFC-UHFFFAOYSA-N bis(prop-2-enyl) benzene-1,2-dicarboxylate Chemical compound C=CCOC(=O)C1=CC=CC=C1C(=O)OCC=C QUDWYFHPNIMBFC-UHFFFAOYSA-N 0.000 description 1
- 238000009835 boiling Methods 0.000 description 1
- 229930188620 butyrolactone Natural products 0.000 description 1
- 102220393251 c.79T>C Human genes 0.000 description 1
- 150000001733 carboxylic acid esters Chemical class 0.000 description 1
- 239000000919 ceramic Substances 0.000 description 1
- 230000008859 change Effects 0.000 description 1
- 239000000084 colloidal system Substances 0.000 description 1
- 238000004040 coloring Methods 0.000 description 1
- 238000001816 cooling Methods 0.000 description 1
- LDHQCZJRKDOVOX-NSCUHMNNSA-N crotonic acid Chemical compound C\C=C\C(O)=O LDHQCZJRKDOVOX-NSCUHMNNSA-N 0.000 description 1
- 125000000753 cycloalkyl group Chemical group 0.000 description 1
- ZWAJLVLEBYIOTI-UHFFFAOYSA-N cyclohexene oxide Chemical compound C1CCCC2OC21 ZWAJLVLEBYIOTI-UHFFFAOYSA-N 0.000 description 1
- FWFSEYBSWVRWGL-UHFFFAOYSA-N cyclohexene oxide Natural products O=C1CCCC=C1 FWFSEYBSWVRWGL-UHFFFAOYSA-N 0.000 description 1
- KBLWLMPSVYBVDK-UHFFFAOYSA-N cyclohexyl prop-2-enoate Chemical compound C=CC(=O)OC1CCCCC1 KBLWLMPSVYBVDK-UHFFFAOYSA-N 0.000 description 1
- 125000002433 cyclopentenyl group Chemical group C1(=CCCC1)* 0.000 description 1
- 230000003247 decreasing effect Effects 0.000 description 1
- 125000000422 delta-lactone group Chemical group 0.000 description 1
- FYTRVXSHONWYNE-UHFFFAOYSA-N delta-octanolide Chemical compound CCCC1CCCC(=O)O1 FYTRVXSHONWYNE-UHFFFAOYSA-N 0.000 description 1
- XUWHAWMETYGRKB-UHFFFAOYSA-N delta-valerolactam Natural products O=C1CCCCN1 XUWHAWMETYGRKB-UHFFFAOYSA-N 0.000 description 1
- 238000013461 design Methods 0.000 description 1
- 230000006866 deterioration Effects 0.000 description 1
- 238000011161 development Methods 0.000 description 1
- 239000012954 diazonium Substances 0.000 description 1
- 150000001989 diazonium salts Chemical class 0.000 description 1
- IJGRMHOSHXDMSA-UHFFFAOYSA-O diazynium Chemical compound [NH+]#N IJGRMHOSHXDMSA-UHFFFAOYSA-O 0.000 description 1
- ZBCBWPMODOFKDW-UHFFFAOYSA-N diethanolamine Chemical compound OCCNCCO ZBCBWPMODOFKDW-UHFFFAOYSA-N 0.000 description 1
- CCAFPWNGIUBUSD-UHFFFAOYSA-N diethyl sulfoxide Chemical compound CCS(=O)CC CCAFPWNGIUBUSD-UHFFFAOYSA-N 0.000 description 1
- XXJWXESWEXIICW-UHFFFAOYSA-N diethylene glycol monoethyl ether Chemical compound CCOCCOCCO XXJWXESWEXIICW-UHFFFAOYSA-N 0.000 description 1
- 229940075557 diethylene glycol monoethyl ether Drugs 0.000 description 1
- UYAAVKFHBMJOJZ-UHFFFAOYSA-N diimidazo[1,3-b:1',3'-e]pyrazine-5,10-dione Chemical compound O=C1C2=CN=CN2C(=O)C2=CN=CN12 UYAAVKFHBMJOJZ-UHFFFAOYSA-N 0.000 description 1
- 238000007865 diluting Methods 0.000 description 1
- 239000000539 dimer Substances 0.000 description 1
- OZLBDYMWFAHSOQ-UHFFFAOYSA-N diphenyliodanium Chemical class C=1C=CC=CC=1[I+]C1=CC=CC=C1 OZLBDYMWFAHSOQ-UHFFFAOYSA-N 0.000 description 1
- GMSCBRSQMRDRCD-UHFFFAOYSA-N dodecyl 2-methylprop-2-enoate Chemical compound CCCCCCCCCCCCOC(=O)C(C)=C GMSCBRSQMRDRCD-UHFFFAOYSA-N 0.000 description 1
- 229920001971 elastomer Polymers 0.000 description 1
- 238000010556 emulsion polymerization method Methods 0.000 description 1
- 239000003822 epoxy resin Substances 0.000 description 1
- 150000002170 ethers Chemical class 0.000 description 1
- 125000001301 ethoxy group Chemical group [H]C([H])([H])C([H])([H])O* 0.000 description 1
- 238000005562 fading Methods 0.000 description 1
- 230000002349 favourable effect Effects 0.000 description 1
- NVVZQXQBYZPMLJ-UHFFFAOYSA-N formaldehyde;naphthalene-1-sulfonic acid Chemical compound O=C.C1=CC=C2C(S(=O)(=O)O)=CC=CC2=C1 NVVZQXQBYZPMLJ-UHFFFAOYSA-N 0.000 description 1
- 125000000524 functional group Chemical group 0.000 description 1
- IFYYFLINQYPWGJ-VIFPVBQESA-N gamma-Decalactone Natural products CCCCCC[C@H]1CCC(=O)O1 IFYYFLINQYPWGJ-VIFPVBQESA-N 0.000 description 1
- OALYTRUKMRCXNH-QMMMGPOBSA-N gamma-Nonalactone Natural products CCCCC[C@H]1CCC(=O)O1 OALYTRUKMRCXNH-QMMMGPOBSA-N 0.000 description 1
- PHXATPHONSXBIL-JTQLQIEISA-N gamma-Undecalactone Natural products CCCCCCC[C@H]1CCC(=O)O1 PHXATPHONSXBIL-JTQLQIEISA-N 0.000 description 1
- JBFHTYHTHYHCDJ-UHFFFAOYSA-N gamma-caprolactone Chemical compound CCC1CCC(=O)O1 JBFHTYHTHYHCDJ-UHFFFAOYSA-N 0.000 description 1
- IPBFYZQJXZJBFQ-UHFFFAOYSA-N gamma-octalactone Chemical compound CCCCC1CCC(=O)O1 IPBFYZQJXZJBFQ-UHFFFAOYSA-N 0.000 description 1
- 229940020436 gamma-undecalactone Drugs 0.000 description 1
- 235000011187 glycerol Nutrition 0.000 description 1
- 150000004820 halides Chemical class 0.000 description 1
- 230000020169 heat generation Effects 0.000 description 1
- FUZZWVXGSFPDMH-UHFFFAOYSA-N hexanoic acid Chemical compound CCCCCC(O)=O FUZZWVXGSFPDMH-UHFFFAOYSA-N 0.000 description 1
- 239000012943 hotmelt Substances 0.000 description 1
- 239000012433 hydrogen halide Substances 0.000 description 1
- 229910000039 hydrogen halide Inorganic materials 0.000 description 1
- 230000001771 impaired effect Effects 0.000 description 1
- MGFYSGNNHQQTJW-UHFFFAOYSA-N iodonium Chemical compound [IH2+] MGFYSGNNHQQTJW-UHFFFAOYSA-N 0.000 description 1
- JEIPFZHSYJVQDO-UHFFFAOYSA-N iron(III) oxide Inorganic materials O=[Fe]O[Fe]=O JEIPFZHSYJVQDO-UHFFFAOYSA-N 0.000 description 1
- 230000001678 irradiating effect Effects 0.000 description 1
- LDHQCZJRKDOVOX-IHWYPQMZSA-N isocrotonic acid Chemical compound C\C=C/C(O)=O LDHQCZJRKDOVOX-IHWYPQMZSA-N 0.000 description 1
- 125000000555 isopropenyl group Chemical group [H]\C([H])=C(\*)C([H])([H])[H] 0.000 description 1
- 239000004816 latex Substances 0.000 description 1
- 229920000126 latex Polymers 0.000 description 1
- PBOSTUDLECTMNL-UHFFFAOYSA-N lauryl acrylate Chemical compound CCCCCCCCCCCCOC(=O)C=C PBOSTUDLECTMNL-UHFFFAOYSA-N 0.000 description 1
- 239000007788 liquid Substances 0.000 description 1
- 229920002521 macromolecule Polymers 0.000 description 1
- VZCYOOQTPOCHFL-UPHRSURJSA-N maleic acid Chemical compound OC(=O)\C=C/C(O)=O VZCYOOQTPOCHFL-UPHRSURJSA-N 0.000 description 1
- 239000011976 maleic acid Substances 0.000 description 1
- 238000004519 manufacturing process Methods 0.000 description 1
- 239000006224 matting agent Substances 0.000 description 1
- 239000000155 melt Substances 0.000 description 1
- 125000005395 methacrylic acid group Chemical group 0.000 description 1
- 125000000956 methoxy group Chemical group [H]C([H])([H])O* 0.000 description 1
- YDKNBNOOCSNPNS-UHFFFAOYSA-N methyl 1,3-benzoxazole-2-carboxylate Chemical compound C1=CC=C2OC(C(=O)OC)=NC2=C1 YDKNBNOOCSNPNS-UHFFFAOYSA-N 0.000 description 1
- LVHBHZANLOWSRM-UHFFFAOYSA-N methylenebutanedioic acid Natural products OC(=O)CC(=C)C(O)=O LVHBHZANLOWSRM-UHFFFAOYSA-N 0.000 description 1
- HHVIBTZHLRERCL-UHFFFAOYSA-N methylsulphonylmethane Natural products CS(C)(=O)=O HHVIBTZHLRERCL-UHFFFAOYSA-N 0.000 description 1
- 239000012046 mixed solvent Substances 0.000 description 1
- AJFDBNQQDYLMJN-UHFFFAOYSA-N n,n-diethylacetamide Chemical compound CCN(CC)C(C)=O AJFDBNQQDYLMJN-UHFFFAOYSA-N 0.000 description 1
- OMNKZBIFPJNNIO-UHFFFAOYSA-N n-(2-methyl-4-oxopentan-2-yl)prop-2-enamide Chemical compound CC(=O)CC(C)(C)NC(=O)C=C OMNKZBIFPJNNIO-UHFFFAOYSA-N 0.000 description 1
- KKFHAJHLJHVUDM-UHFFFAOYSA-N n-vinylcarbazole Chemical compound C1=CC=C2N(C=C)C3=CC=CC=C3C2=C1 KKFHAJHLJHVUDM-UHFFFAOYSA-N 0.000 description 1
- PCILLCXFKWDRMK-UHFFFAOYSA-N naphthalene-1,4-diol Chemical compound C1=CC=C2C(O)=CC=C(O)C2=C1 PCILLCXFKWDRMK-UHFFFAOYSA-N 0.000 description 1
- FZZQNEVOYIYFPF-UHFFFAOYSA-N naphthalene-1,6-diol Chemical compound OC1=CC=CC2=CC(O)=CC=C21 FZZQNEVOYIYFPF-UHFFFAOYSA-N 0.000 description 1
- DFQICHCWIIJABH-UHFFFAOYSA-N naphthalene-2,7-diol Chemical compound C1=CC(O)=CC2=CC(O)=CC=C21 DFQICHCWIIJABH-UHFFFAOYSA-N 0.000 description 1
- 150000004780 naphthols Chemical class 0.000 description 1
- MCSAJNNLRCFZED-UHFFFAOYSA-N nitroethane Chemical compound CC[N+]([O-])=O MCSAJNNLRCFZED-UHFFFAOYSA-N 0.000 description 1
- 238000003199 nucleic acid amplification method Methods 0.000 description 1
- UPHWVVKYDQHTCF-UHFFFAOYSA-N octadecylazanium;acetate Chemical class CC(O)=O.CCCCCCCCCCCCCCCCCCN UPHWVVKYDQHTCF-UHFFFAOYSA-N 0.000 description 1
- 229920002601 oligoester Polymers 0.000 description 1
- 150000002896 organic halogen compounds Chemical class 0.000 description 1
- 239000011368 organic material Substances 0.000 description 1
- 239000007800 oxidant agent Substances 0.000 description 1
- FZUGPQWGEGAKET-UHFFFAOYSA-N parbenate Chemical compound CCOC(=O)C1=CC=C(N(C)C)C=C1 FZUGPQWGEGAKET-UHFFFAOYSA-N 0.000 description 1
- 150000004965 peroxy acids Chemical class 0.000 description 1
- 239000010452 phosphate Substances 0.000 description 1
- XYFCBTPGUUZFHI-UHFFFAOYSA-O phosphonium Chemical compound [PH4+] XYFCBTPGUUZFHI-UHFFFAOYSA-O 0.000 description 1
- 238000000016 photochemical curing Methods 0.000 description 1
- 229920002120 photoresistant polymer Polymers 0.000 description 1
- 230000000704 physical effect Effects 0.000 description 1
- 229940110337 pigment blue 1 Drugs 0.000 description 1
- 229940104573 pigment red 5 Drugs 0.000 description 1
- 229920000083 poly(allylamine) Polymers 0.000 description 1
- 229920000058 polyacrylate Polymers 0.000 description 1
- 229920000647 polyepoxide Polymers 0.000 description 1
- 229920013716 polyethylene resin Polymers 0.000 description 1
- 229920005650 polypropylene glycol diacrylate Polymers 0.000 description 1
- 229920005651 polypropylene glycol dimethacrylate Polymers 0.000 description 1
- 239000004814 polyurethane Substances 0.000 description 1
- 229920002451 polyvinyl alcohol Polymers 0.000 description 1
- 230000008569 process Effects 0.000 description 1
- 230000001737 promoting effect Effects 0.000 description 1
- FBCQUCJYYPMKRO-UHFFFAOYSA-N prop-2-enyl 2-methylprop-2-enoate Chemical compound CC(=C)C(=O)OCC=C FBCQUCJYYPMKRO-UHFFFAOYSA-N 0.000 description 1
- QQONPFPTGQHPMA-UHFFFAOYSA-N propylene Natural products CC=C QQONPFPTGQHPMA-UHFFFAOYSA-N 0.000 description 1
- 229940116423 propylene glycol diacetate Drugs 0.000 description 1
- 125000004805 propylene group Chemical group [H]C([H])([H])C([H])([*:1])C([H])([H])[*:2] 0.000 description 1
- 230000035485 pulse pressure Effects 0.000 description 1
- MCSKRVKAXABJLX-UHFFFAOYSA-N pyrazolo[3,4-d]triazole Chemical compound N1=NN=C2N=NC=C21 MCSKRVKAXABJLX-UHFFFAOYSA-N 0.000 description 1
- UMJSCPRVCHMLSP-UHFFFAOYSA-N pyridine Natural products COC1=CC=CN=C1 UMJSCPRVCHMLSP-UHFFFAOYSA-N 0.000 description 1
- HNJBEVLQSNELDL-UHFFFAOYSA-N pyrrolidin-2-one Chemical compound O=C1CCCN1 HNJBEVLQSNELDL-UHFFFAOYSA-N 0.000 description 1
- 150000005839 radical cations Chemical class 0.000 description 1
- 239000002994 raw material Substances 0.000 description 1
- 230000009257 reactivity Effects 0.000 description 1
- 230000009467 reduction Effects 0.000 description 1
- 102220215697 rs200971068 Human genes 0.000 description 1
- 102220029788 rs398123653 Human genes 0.000 description 1
- 102220135142 rs749616889 Human genes 0.000 description 1
- 239000005060 rubber Substances 0.000 description 1
- 229910052707 ruthenium Inorganic materials 0.000 description 1
- 239000004576 sand Substances 0.000 description 1
- 229930195734 saturated hydrocarbon Natural products 0.000 description 1
- 238000004904 shortening Methods 0.000 description 1
- 239000010959 steel Substances 0.000 description 1
- 150000003457 sulfones Chemical class 0.000 description 1
- RWSOTUBLDIXVET-UHFFFAOYSA-O sulfonium Chemical compound [SH3+] RWSOTUBLDIXVET-UHFFFAOYSA-O 0.000 description 1
- 238000010558 suspension polymerization method Methods 0.000 description 1
- 230000002194 synthesizing effect Effects 0.000 description 1
- 230000035488 systolic blood pressure Effects 0.000 description 1
- MUTNCGKQJGXKEM-UHFFFAOYSA-N tamibarotene Chemical compound C=1C=C2C(C)(C)CCC(C)(C)C2=CC=1NC(=O)C1=CC=C(C(O)=O)C=C1 MUTNCGKQJGXKEM-UHFFFAOYSA-N 0.000 description 1
- 238000012719 thermal polymerization Methods 0.000 description 1
- OKYDCMQQLGECPI-UHFFFAOYSA-N thiopyrylium Chemical class C1=CC=[S+]C=C1 OKYDCMQQLGECPI-UHFFFAOYSA-N 0.000 description 1
- VZCYOOQTPOCHFL-UHFFFAOYSA-N trans-butenedioic acid Natural products OC(=O)C=CC(O)=O VZCYOOQTPOCHFL-UHFFFAOYSA-N 0.000 description 1
- 125000005409 triarylsulfonium group Chemical group 0.000 description 1
- 150000003918 triazines Chemical class 0.000 description 1
- JLGLQAWTXXGVEM-UHFFFAOYSA-N triethylene glycol monomethyl ether Chemical compound COCCOCCOCCO JLGLQAWTXXGVEM-UHFFFAOYSA-N 0.000 description 1
- GRPURDFRFHUDSP-UHFFFAOYSA-N tris(prop-2-enyl) benzene-1,2,4-tricarboxylate Chemical compound C=CCOC(=O)C1=CC=C(C(=O)OCC=C)C(C(=O)OCC=C)=C1 GRPURDFRFHUDSP-UHFFFAOYSA-N 0.000 description 1
- 238000002211 ultraviolet spectrum Methods 0.000 description 1
- 229920006305 unsaturated polyester Polymers 0.000 description 1
- 239000004034 viscosity adjusting agent Substances 0.000 description 1
- 239000001993 wax Substances 0.000 description 1
- 150000003952 β-lactams Chemical class 0.000 description 1
- 150000003954 δ-lactams Chemical class 0.000 description 1
Images
Landscapes
- Particle Formation And Scattering Control In Inkjet Printers (AREA)
Abstract
【解決手段】一印刷周期内に印加される少なくとも3つの駆動パルスのうち、最初に印加される第1パルスの待機時間がAL(ALは圧力室の音響的共振周期の1/2)の2倍よりも長く4倍よりも短く、最後に印加される最終パルスの待機時間が前記ALの偶数倍であり、前記第1パルスと前記最終パルスの間に印加される各中間パルスの待機時間が前記ALの1倍以上2倍未満であり、各駆動パルスにおける膨張パルスの電圧は互いに実質的に等しく、かつ、収縮パルスの電圧は互いに実質的に等しいことを特徴とするインクジェット記録装置。
【選択図】図4
Description
一印刷周期内の各駆動パルスは、前記圧力室の容積を膨張させる膨張パルスと、該膨張パルスに続いて前記圧力室の容積を収縮させる収縮パルスと、該収縮パルスに後続する待機時間とを有し、
これらの駆動パルスのうち、最初に印加される第1パルスの待機時間がAL(ALは圧力室の音響的共振周期の1/2)の2倍よりも長く4倍よりも短く、最後に印加される最終パルスの待機時間が前記ALの偶数倍であり、前記第1パルスと前記最終パルスの間に印加される各中間パルスの待機時間が前記ALよりも長く前記ALの2倍よりも短く、
各駆動パルスにおける膨張パルスの電圧は互いに実質的に等しく、かつ、収縮パルスの電圧は互いに実質的に等しいことを特徴とするインクジェット記録装置。
次いで、本発明に係るインクについて説明する。
本発明に係る光硬化性インクについて説明する。
本発明に係る光硬化性インクに適用可能な光重合性化合物としては、ラジカル重合性化合物とカチオン重合性化合物を挙げることができる。
本発明に適用可能なラジカル重合性化合物は、ラジカル重合可能なエチレン性不飽和結合を有する化合物であり、分子中にラジカル重合可能なエチレン性不飽和結合を少なくとも1つ有する化合物であればどの様なものでもよく、モノマー、オリゴマー、ポリマー等の化学形態をもつものが含まれる。ラジカル重合性化合物は1種のみ用いてもよく、また目的とする特性を向上するために任意の比率で2種以上を併用してもよい。また、単官能化合物よりも官能基を2つ以上持つ多官能化合物の方がより好ましい。更に好ましくは多官能化合物を2種以上併用して用いることが、反応性、物性などの性能を制御する上で好ましい。
本発明に適用可能なカチオン重合性化合物としては、例えば、カチオン重合により高分子化することができるエポキシ化合物、オキセタン化合物、ビニルエーテル化合物等を挙げることができる。
本発明にかかる光重合開始剤群を構成する添加剤としては、ラジカル重合開始剤、カチオン重合開始剤、開始助剤、増感剤等が包含される。これらの光重合開始剤群のインク中への添加量はインク全体の1〜10質量部が必要となる。
〈ラジカル重合開始剤〉
ラジカル重合開始剤としては、特公昭59−1281号、同61−9621号、及び特開昭60−60104号等の各公報記載のトリアジン誘導体、特開昭59−1504号及び同61−243807号等の各公報に記載の有機過酸化物、特公昭43−23684号、同44−6413号、同44−6413号及び同47−1604号等の各公報並びに米国特許第3,567,453号明細書に記載のジアゾニウム化合物、米国特許第2,848,328号、同2,852,379号及び同2,940,853号各明細書に記載の有機アジド化合物、特公昭36−22062号、同37−13109号、同38−18015号、同45−9610号等の各公報に記載のオルト−キノンジアジド類、特公昭55−39162号、特開昭59−14023号等の各公報及び「マクロモレキュルス(Macromolecules)、第10巻、第1307ページ(1977年)に記載の各種オニウム化合物、特開昭59−142205号公報に記載のアゾ化合物、特開平1−54440号公報、ヨーロッパ特許第109,851号、同126,712号等の各明細書、「ジャーナル・オブ・イメージング・サイエンス」(J.Imag.Sci.)」、第30巻、第174ページ(1986年)に記載の金属アレン錯体、特開平4−213861号及び同4−255347号の各公報に記載の(オキソ)スルホニウム有機ホウ素錯体、特開昭61−151197号公報に記載のチタノセン類、「コーディネーション・ケミストリー・レビュー(Coordination Chemistry Review)」、第84巻、第85〜第277ページ(1988年)及び特開平2−182701号公報に記載のルテニウム等の遷移金属を含有する遷移金属錯体、特開平3−209477号公報に記載の2,4,5−トリアリールイミダゾール二量体、四臭化炭素や特開昭59−107344号公報記載の有機ハロゲン化合物等が挙げられる。これらの重合開始剤はラジカル重合可能なエチレン不飽和結合を有する化合物100質量部に対して0.01〜10質量部の範囲で含有されるのが好ましい。
本発明に係る光硬化性インクにおいては、カチオン重合性化合物と共に、光重合開始剤としてカチオン重合開始剤を含有することが好ましい。
本発明に係る光硬化性インクにおいては、300nmよりも長波長に紫外線スペクトル吸収を有する増感剤を用いることが好ましく、例えば、置換基として水酸基、置換されていてもよいアラルキルオキシ基またはアルコキシ基を少なくとも1つ有する多環芳香族化合物、カルバゾール誘導体、チオキサントン誘導体等を挙げることができる。
開始助剤とは、光照射により、電子供与、電子吸引、熱の発生等により開始剤にエネルギーを供与して、開始剤のラジカルまたは酸の発生効率を向上させる増感色素として作用する物質であり、開始剤と組み合わせて適用される。
本発明に係る光硬化性インクに用いる色材は、顔料あるいは染料を用いることができる。画像の耐候性の観点から、顔料を用いることが好ましい。
C.I.Pigment Red 5,7,12,22,38,48:1,48:2,48:4,49:1,53:1,57:1,63:1,101,112,122,123,144,146,168,184,185,202、
C.I.Pigment Violet 19,23、
C.I.Pigment Blue 1,2,3,15:1,15:2,15:3,15:4,18,22,27,29,60、
C.I.Pigment Green 7,36、
C.I.Pigment White 6,18,21、
C.I.Pigment Black 7。
本発明に係るインクには、保存性を高める観点から、重合禁止剤を200〜20000ppm添加することができる。本発明に係るインクは40〜80℃の範囲で加熱、低粘度化して射出することが好ましいので、熱重合によるヘッド詰まりを防ぐためにも重合禁止剤を入れることが好ましい。
長期の耐候性が求められる屋外掲示物や曲面を有する物体への密着性が求められる印字物等には、記録媒体としてポリ塩化ビニルやポリエチレンなどのプラスチック製の記録媒体が用いられ、特に広い用途で軟質ポリ塩化ビニル製の記録媒体が使用されている。軟質ポリ塩化ビニルに印刷する方法は多数あるが、版作製の必要がなく、仕上がりまでの時間が短く、少量多品種の生産に適する方法として、インクジェット記録方法がある。
本発明に係る非水性インクにおいては、本発明に係る溶媒(A)の他に、本発明の目的効果を損なわない範囲で、従来公知の溶媒を含有しても良く、そのような溶媒としては、例えば、ジエチレングリコールモノエチルエーテル、トリエチレングリコールモノメチルエーテル、ジプロピレングリコールモノメチルエーテル、トリプロピレングリコールモノメチルエーテル等のアルキレングリコールモノアルキルエーテル類、エチレングリコールジブチルエーテル、テトラエチレングリコールジメチルエーテル等のアルキレングリコールジアルキルエーテル類が挙げられる。
一般式(6)
R3CON(R4)2
〔式中、R3、R4は、それぞれ独立に水素原子または炭素数1〜4のアルキル基を表す。〕
上記一般式(5)で表される溶媒の具体例としては、β−ラクタム、2−ピロリドン、δ−ラクタム、ε−カプロラクタム、ラウロラクタム、N−メチル−2−ピロリドン等が挙げられる。
本発明に係る非水系インクにおいては、色材として顔料を使用する。色材として顔料を用いることにより、ポリ塩化ビニル等のプラスチック製の記録媒体に記録した記録物の耐候性を高めることができる。
本発明に係るインクにおいては、顔料分散剤としては、界面活性剤、高分子分散剤等が用いることができる。高分子分散剤としては、(メタ)アクリル系樹脂、スチレン−(メタ)アクリル系樹脂、水酸基含有カルボン酸エステル、長鎖ポリアミノアマイドと高分子量酸エステルの塩、高分子量ポリカルボン酸の塩、長鎖ポリアミノアマイドと極性酸エステルの塩、高分子量不飽和酸エステル、ポリアリルアミンと遊離のカルボン酸を有するポリエステルの縮合物または造塩物、変性ポリウレタン、変性ポリアクリレート、ポリエーテルエステル型アニオン系活性剤、ナフタレンスルホン酸ホルマリン縮合物塩、芳香族スルホン酸ホルマリン縮合物塩、ポリオキシエチレンアルキルリン酸エステル、ポリオキシエチレンノニルフェニルエーテル、ステアリルアミンアセテート、顔料誘導体等を挙げることができる。
本発明に係る非水系インクでは、ポリ塩化ビニル等のプラスチック製の記録媒体に記録した際の定着性を向上させるために、様々な樹脂(以下、単に樹脂ともいう)が添加される。
本発明に係る非水系インクでは、上記説明した以外に、必要に応じて、出射安定性、プリントヘッドやインクカートリッジ適合性、保存安定性、画像保存性、その他の諸性能向上の目的に応じて、公知の各種添加剤、例えば、粘度調整剤、比抵抗調整剤、皮膜形成剤、紫外線吸収剤、酸化防止剤、退色防止剤、防ばい剤、防錆剤等を適宜選択して用いることができる。
本発明のインクジェット記録装置においては、紙、樹脂、金属、ガラス等の各種記録媒体を適用することができる。
(実施例1)
<インク>
なお、実施例において「部」あるいは「%」の表示を用いるが、特に断りがない限り「質量部」あるいは「質量%」を表す。
<光硬化性インクのインク1の作製>
〔分散液1の調製〕
下記の各化合物をステンレスビーカーに入れ、65℃のホットプレート上で加熱しながら1時間加熱撹拌溶解した。
テトラエチレングリコールジアクリレート(TEGDA、二官能) 72部
室温まで冷却した後、これにPigment Blue 15:4(山陽色素社製Cyanine Blue 4044)を20部加えて、直径0.3mmのジルコニアビーズ200gと共にガラス瓶に入れ密栓し、ペイントシェーカーにて4時間分散処理した後、ジルコニアビーズを除去し、分散液1を調製した。
上記調整した分散液1を14部、重合性化合物(ラジカル重合性)としてRAを24.9部とTEGDAを29.0部とA−400を25.0部、変性シリコーンオイルとしてSDX−1843を0.1部、光重合開始剤群として光重合開始剤であるI−907を5.0部と増感剤であるIPTXを2.0部を混合して、次いで、0.8μmのフィルターによりろ過して、光硬化性インクのインク1を得た。
<光硬化性インクのインク2の作製>
〔分散液2の調製〕
下記の各化合物をステンレスビーカーに入れ、65℃のホットプレート上で加熱しながら1時間加熱撹拌溶解した。
OXT221(東亞合成社製オキセタン化合物) 71部
室温まで冷却した後、これにPigment Blue 15:4(山陽色素社製Cyanine Blue 4044)を20部加えて、直径0.3mmのジルコニアビーズ200gと共にガラス瓶に入れ密栓し、ペイントシェーカーにて4時間分散処理した後、ジルコニアビーズを除去し、分散液2を調製した。
上記調整した分散液2を14部、重合性化合物(カチオン重合性)として2021Pを20.0部とOXT221を43.9部とOXT212を15.0部、変性シリコーンオイルとしてSDX−1843を0.1部、光重合開始剤群として光重合開始剤であるUVI6992を5.0部と増感剤であるCPTXを2.0部を混合して、次いで、0.8μmのフィルターによりろ過して、光硬化性インクのインク2を得た。
RA:ラウリルアクリレート
TEGDA:テトラエチレングリコールジアクリレート
A−400:NKエステル 新中村化学工業製
〈カチオン重合性化合物〉
2021P:セロキザイド2021P(脂環式エポキシ化合物、二官能、ダイセル化学工業社製)
OXT212:単官能オキセタン化合物、東亞合成社製
OXT221:二官能オキセタン化合物、東亞合成社製
〈変性シリコーンオイル〉
SDX−1843:変性シリコーンオイルSDX−1843、旭電化工業社製
〈光重合開始剤〉
I−907:イルガキュア907 チバ・ジャパン社製
UVI6992:トリアリールスルホニウム塩、UVI6992、ダウケミカル社製
〈増感剤〉
IPTX:イソプロピルチオキサントン
CPTX:1−クロロ−4−プロポキシチオキサントン
AHC:3−アセチル−7−ヒドロキシクマリン
<非水系のインク3の作製>
以下に記載の顔料分散剤、樹脂は、減圧蒸留にて低沸点溶媒を留去し、固形分が20質量%となるように分散で用いる有機溶媒で希釈して使用した。以下、顔料分散剤、樹脂の使用量は固形分換算値を表す。
C.I.ピグメントブルー15:3(以下、PB15:3と略記する)を10部、顔料分散剤であるソルスパーズ24000(ルーブリゾール社製)を5部、溶媒(B)としてスルホラン(S−10)を10部、溶媒(A)としてジエチレングリコールジエチルエーテルを60部とエチレングリコールジアセテートを15部混合し、直径0.5mmのジルコニアビーズを体積率で60%充填した横型ビーズミル(アシザワ社製 システムゼータミニ)を用いて分散し、その後ジルコニアビーズを除去して顔料分散体3を得た。
溶媒(B)としてジメチルスルホキシドを10部、溶媒(A)としてジエチレングリコールジエチルエーテルを65部とエチレングリコールジアセテートを15部、樹脂として、溶液重合法により合成された塩化ビニル−酢酸ビニル系共重合物(商品名VYHD、数平均分子量22000、ダウケミカルズ社製)を10部、それぞれ混合、溶解して樹脂溶液を調製した。
上記樹脂溶液の50部を攪拌しながら、顔料分散体3の50部を混合し、次いで、0.8μmのフィルターによりろ過して、非水系のインク3を得た。
<光硬化性インクのインク4の作製>
上記インク2の作製において、変性シリコーンオイル(SDX−1843)を0.1部添加する代わりにOXT221を44.0部とした以外は同様にして、光硬化性インクのインク4を作製した。
(画像番号1〜32)
図2に示すせん断モードタイプの記録ヘッド(ノズルピッチ:180dpi、ノズル数:256、ノズル径:23μm、AL:2.4μs、インク滴量:4pl)を2つ用意し、各ヘッドのノズル列が、相互に1/2ピッチずらされ、千鳥状に配置するように貼り合わせた。これにより、各ヘッドのそれぞれが180dpiのヘッドであるので、ノズルのピッチを互いに1/2ずらせることで、360dpiの記録ヘッドとして使用することが可能となり、ノズル数を増やし、高密度の記録ヘッドとすることができる。
上記方法に従って、作成した各画像を、下記の方法に従って評価を行った。いずれも△以上の性能を許容レベルとした。
形成した画像について、1画素に打ち込まれた3滴のインク滴による1ドットの形状をルーペで拡大観察し、下記の評価基準に則りドット形状の評価を行った。
△:1画素を形成する3つのSD(インク滴)が互いに若干離れて着弾し、ドット形状もやや乱れているが、許容の範囲である
×:1画素を形成する3つのSD(インク滴)が互いに離れて着弾し、画素が乱れ、ドット形状が悪く、実用上問題となるレベル。
20℃、30%RHの環境下で、クリーニングをせずに1時間連続して吐出を続けた後の状態を目視観察し、下記に示す基準に従って吐出安定性を評価した。
△:1〜3ノズルに目詰まりや吐出曲がりが見られるが、ノズル面からの吸引クリーニングにより回復し、実用上許容できる範囲にある
×:4ノズル以上に目詰まりや吐出曲がりが発生し、吸引クリーニングにより回復不可能な目詰まりや吐出曲がりが1ノズル発生。
記録した画像表面を乾いた木綿で50回擦り、擦った前後での画像濃度差を求めた。この結果を基に、下記基準に従って定着性を評価した。
△:擦った前後での画像濃度差が−10%以内の劣化
×:擦った前後での画像濃度差が−10%を超える劣化
以上により得られた各結果を、表1に示す。
(実施例2)
(画像番号33〜52)
実施例1の方法に従って、SD1〜SD3のサブドロップをそれぞれ吐出させる3つの駆動パルスP1〜P3を1画素周期内に連続的に印加する駆動信号に代えて、同様の方法により、SD1〜SD4のサブドロップをそれぞれ吐出させる4つの駆動パルスP1〜P4を1画素周期内に連続的に印加する駆動信号を用いて画像形成と評価を行った。
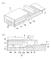
2 記録ヘッド
21 インクチューブ
22 ノズル形成部材
23 ノズル
24 カバープレート
25 インク供給口
26 基板
27 隔壁
28 圧力室
3 搬送機構
31 搬送ローラ
32 搬送ローラ対
33 搬送モータ
4 ガイドレール
5 キャリッジ
6 フレキシブルケーブル
7、8 インク受け器
100 駆動信号生成手段
P 記録媒体
PS 記録面
Claims (13)
- インク滴を吐出するノズルと、前記ノズルに連通する圧力室と、前記圧力室の容積を変化させる圧力発生手段を有する記録ヘッドと、インク滴をそれぞれ吐出させるための少なくとも3つの駆動パルスを一印刷周期内に連続的に印加する駆動信号を生成する駆動信号生成手段とを備え、前記駆動信号を印加することによって、前記圧力発生手段を作動させて前記ノズルからインク滴を吐出させるようにしたインクジェット記録装置において、
一印刷周期内の各駆動パルスは、前記圧力室の容積を膨張させる膨張パルスと、該膨張パルスに続いて前記圧力室の容積を収縮させる収縮パルスと、該収縮パルスに後続する待機時間とを有し、
これらの駆動パルスのうち、最初に印加される第1パルスの待機時間がAL(ALは圧力室の音響的共振周期の1/2)の2倍よりも長く4倍よりも短く、最後に印加される最終パルスの待機時間が前記ALの偶数倍であり、前記第1パルスと前記最終パルスの間に印加される各中間パルスの待機時間が前記ALよりも長く前記ALの2倍よりも短く、
各駆動パルスにおける膨張パルスの電圧は互いに実質的に等しく、かつ、収縮パルスの電圧は互いに実質的に等しいことを特徴とするインクジェット記録装置。 - 前記第1パルスの待機時間が前記ALの3倍であることを特徴とする請求項1に記載のインクジェット記録装置。
- 前記最終パルスの待機時間が前記ALの2倍または4倍であることを特徴とする請求項1または2に記載のインクジェット記録装置。
- 前記中間パルスの待機時間が前記ALの1.5倍であることを特徴とする請求項1乃至3の何れか1項に記載のインクジェット記録装置。
- 前記インクの表面張力が31mN/m以下であることを特徴とする請求項1乃至4の何れか1項に記載のインクジェット記録装置。
- 前記インクは非水系インクであり、樹脂を含有することを特徴とする請求項1乃至5の何れか1項に記載のインクジェット記録装置。
- 前記インクは光硬化性インクであることを特徴とする請求項1乃至5の何れか1項に記載のインクジェット記録装置。
- 前記駆動パルスは矩形波からなるパルスであることを特徴とする請求項1乃至7の何れか1項に記載のインクジェット記録装置。
- 前記圧力発生手段は、電気・機械変換手段であることを特徴とする請求項1乃至8の何れか1項に記載のインクジェット記録装置。
- 前記電気・機械変換手段は、隣接する圧力室間の隔壁の少なくとも一部を形成し、且つ駆動パルスを印加することによりせん断モードで変形する圧電材料により構成されることを特徴とする請求項9に記載のインクジェット記録装置。
- 前記膨張パルスのパルス幅が前記ALの奇数倍、前記収縮パルスのパルス幅が前記ALの偶数倍であることを特徴とする請求項1乃至10の何れか1項に記載のインクジェット記録装置。
- 前記駆動パルスの周期が前記ALの4倍よりも長いことを特徴とする請求項1乃至11の何れか1項に記載のインクジェット記録装置。
- 前記駆動パルスは、所定の基準状態から前記圧力室の容積を膨張させた後、前記基準状態に戻す膨張パルスと、該膨張パルスに続いて前記圧力室の容積を収縮させた後、前記基準状態に戻す収縮パルスと、該収縮パルスに後続し前記基準状態を保持する待機時間とを有することを特徴とする請求項1乃至12の何れか1項に記載のインクジェット記録装置。
Priority Applications (1)
| Application Number | Priority Date | Filing Date | Title |
|---|---|---|---|
| JP2008266147A JP5146246B2 (ja) | 2008-10-15 | 2008-10-15 | インクジェット記録装置 |
Applications Claiming Priority (1)
| Application Number | Priority Date | Filing Date | Title |
|---|---|---|---|
| JP2008266147A JP5146246B2 (ja) | 2008-10-15 | 2008-10-15 | インクジェット記録装置 |
Publications (2)
| Publication Number | Publication Date |
|---|---|
| JP2010094856A true JP2010094856A (ja) | 2010-04-30 |
| JP5146246B2 JP5146246B2 (ja) | 2013-02-20 |
Family
ID=42256902
Family Applications (1)
| Application Number | Title | Priority Date | Filing Date |
|---|---|---|---|
| JP2008266147A Expired - Fee Related JP5146246B2 (ja) | 2008-10-15 | 2008-10-15 | インクジェット記録装置 |
Country Status (1)
| Country | Link |
|---|---|
| JP (1) | JP5146246B2 (ja) |
Cited By (2)
| Publication number | Priority date | Publication date | Assignee | Title |
|---|---|---|---|---|
| CN108437636A (zh) * | 2017-02-16 | 2018-08-24 | 东芝泰格有限公司 | 喷墨头及其驱动方法 |
| JP2023131311A (ja) * | 2022-03-09 | 2023-09-22 | セイコーエプソン株式会社 | 液体吐出装置、及び、液体吐出装置の制御方法 |
-
2008
- 2008-10-15 JP JP2008266147A patent/JP5146246B2/ja not_active Expired - Fee Related
Cited By (2)
| Publication number | Priority date | Publication date | Assignee | Title |
|---|---|---|---|---|
| CN108437636A (zh) * | 2017-02-16 | 2018-08-24 | 东芝泰格有限公司 | 喷墨头及其驱动方法 |
| JP2023131311A (ja) * | 2022-03-09 | 2023-09-22 | セイコーエプソン株式会社 | 液体吐出装置、及び、液体吐出装置の制御方法 |
Also Published As
| Publication number | Publication date |
|---|---|
| JP5146246B2 (ja) | 2013-02-20 |
Similar Documents
| Publication | Publication Date | Title |
|---|---|---|
| JP5187000B2 (ja) | インクジェット記録装置及びインクジェット記録方法 | |
| WO2009157262A1 (ja) | インクジェット記録装置及びインクジェット記録方法 | |
| WO2013128945A1 (ja) | インクジェット記録方法 | |
| JP2005096254A (ja) | 画像形成方法及びインクジェット記録装置 | |
| EP1775127B1 (en) | Ink-jet recording method | |
| JP5298640B2 (ja) | インクジェット記録装置及びインクジェット記録方法 | |
| JP2016150574A (ja) | 液体吐出装置、及び、液体吐出装置の制御方法 | |
| US7059710B2 (en) | Image forming method, printed matter and image recording apparatus | |
| JP2003312121A (ja) | 画像形成方法、印刷物及び記録装置 | |
| JP5381314B2 (ja) | インクジェット記録用インク組成物およびインクジェット記録方法 | |
| JP5146246B2 (ja) | インクジェット記録装置 | |
| JP2005206715A (ja) | 紫外線硬化型インク及びそれを用いたインクジェット記録方法 | |
| JP2014019751A (ja) | 活性エネルギー線硬化型インクジェットインク及びそれを用いたインクジェット記録方法 | |
| JP5579533B2 (ja) | 新規なオキセタン化合物、活性エネルギー線硬化型組成物、活性エネルギー線硬化型インク組成物、及びインクジェット記録方法 | |
| JP2015047746A (ja) | 画像形成方法 | |
| JP5821225B2 (ja) | 活性エネルギー線硬化型インクジェットインク組成物、及びインクジェット記録方法 | |
| JP5733074B2 (ja) | 活性エネルギー線硬化型インクジェットインク及びインクジェット記録方法 | |
| JP4193666B2 (ja) | 活性光線硬化型組成物、それを用いた画像形成方法及びインクジェット記録装置 | |
| JP2010163496A (ja) | 新規重合性化合物、それを用いた活性エネルギー線硬化性組成物、活性エネルギー線硬化型インク組成物及びインクジェット記録方法 | |
| JP4556435B2 (ja) | 活性光線硬化型インクジェットインク組成物、活性光線硬化型インクジェットインクセット及びそれを用いた画像形成方法及びインクジェット記録装置 | |
| JP2005194380A (ja) | 活性光線硬化型インクジェットインク組成物、活性光線硬化型インクジェットインクセットと、それを用いた画像形成方法及びインクジェット記録装置 | |
| JPWO2006051701A1 (ja) | 活性光線硬化型インクジェットインクとそれを用いた画像形成方法及びインクジェット記録装置 | |
| JP4396344B2 (ja) | インクジェットインクとそれを用いた画像形成方法及びラインヘッド記録方式のインクジェット記録装置 | |
| JPWO2007080725A1 (ja) | インクとそれを用いた画像形成方法 | |
| JP2007002098A (ja) | インク組成物、並びに、これを用いた画像形成方法および記録物 |
Legal Events
| Date | Code | Title | Description |
|---|---|---|---|
| A621 | Written request for application examination |
Free format text: JAPANESE INTERMEDIATE CODE: A621 Effective date: 20110809 |
|
| RD02 | Notification of acceptance of power of attorney |
Free format text: JAPANESE INTERMEDIATE CODE: A7422 Effective date: 20120223 |
|
| A977 | Report on retrieval |
Free format text: JAPANESE INTERMEDIATE CODE: A971007 Effective date: 20121019 |
|
| TRDD | Decision of grant or rejection written | ||
| A01 | Written decision to grant a patent or to grant a registration (utility model) |
Free format text: JAPANESE INTERMEDIATE CODE: A01 Effective date: 20121030 |
|
| A61 | First payment of annual fees (during grant procedure) |
Free format text: JAPANESE INTERMEDIATE CODE: A61 Effective date: 20121112 |
|
| R150 | Certificate of patent or registration of utility model |
Ref document number: 5146246 Country of ref document: JP Free format text: JAPANESE INTERMEDIATE CODE: R150 Free format text: JAPANESE INTERMEDIATE CODE: R150 |
|
| FPAY | Renewal fee payment (event date is renewal date of database) |
Free format text: PAYMENT UNTIL: 20151207 Year of fee payment: 3 |
|
| S111 | Request for change of ownership or part of ownership |
Free format text: JAPANESE INTERMEDIATE CODE: R313111 |
|
| R350 | Written notification of registration of transfer |
Free format text: JAPANESE INTERMEDIATE CODE: R350 |
|
| LAPS | Cancellation because of no payment of annual fees |
