JP2010093547A - パルス無線通信装置 - Google Patents

パルス無線通信装置 Download PDF

Info

Publication number
JP2010093547A
JP2010093547A JP2008261670A JP2008261670A JP2010093547A JP 2010093547 A JP2010093547 A JP 2010093547A JP 2008261670 A JP2008261670 A JP 2008261670A JP 2008261670 A JP2008261670 A JP 2008261670A JP 2010093547 A JP2010093547 A JP 2010093547A
Authority
JP
Japan
Prior art keywords
signal
frequency
electrode
radiation
pulse
Prior art date
Legal status (The legal status is an assumption and is not a legal conclusion. Google has not performed a legal analysis and makes no representation as to the accuracy of the status listed.)
Granted
Application number
JP2008261670A
Other languages
English (en)
Other versions
JP5364921B2 (ja
Inventor
Hitoshi Utagawa
仁史 歌川
Toshiaki Matsui
敏明 松井
Current Assignee (The listed assignees may be inaccurate. Google has not performed a legal analysis and makes no representation or warranty as to the accuracy of the list.)
National Institute of Information and Communications Technology
Original Assignee
National Institute of Information and Communications Technology
Priority date (The priority date is an assumption and is not a legal conclusion. Google has not performed a legal analysis and makes no representation as to the accuracy of the date listed.)
Filing date
Publication date
Application filed by National Institute of Information and Communications Technology filed Critical National Institute of Information and Communications Technology
Priority to JP2008261670A priority Critical patent/JP5364921B2/ja
Priority to US13/123,338 priority patent/US8705652B2/en
Priority to CN200980144390.7A priority patent/CN102210059B/zh
Priority to PCT/JP2009/067683 priority patent/WO2010041753A1/ja
Publication of JP2010093547A publication Critical patent/JP2010093547A/ja
Application granted granted Critical
Publication of JP5364921B2 publication Critical patent/JP5364921B2/ja
Expired - Fee Related legal-status Critical Current
Anticipated expiration legal-status Critical

Links

Images

Classifications

    • HELECTRICITY
    • H01ELECTRIC ELEMENTS
    • H01QANTENNAS, i.e. RADIO AERIALS
    • H01Q9/00Electrically-short antennas having dimensions not more than twice the operating wavelength and consisting of conductive active radiating elements
    • H01Q9/04Resonant antennas
    • H01Q9/16Resonant antennas with feed intermediate between the extremities of the antenna, e.g. centre-fed dipole
    • H01Q9/28Conical, cylindrical, cage, strip, gauze, or like elements having an extended radiating surface; Elements comprising two conical surfaces having collinear axes and adjacent apices and fed by two-conductor transmission lines
    • H01Q9/285Planar dipole
    • HELECTRICITY
    • H01ELECTRIC ELEMENTS
    • H01QANTENNAS, i.e. RADIO AERIALS
    • H01Q13/00Waveguide horns or mouths; Slot antennas; Leaky-waveguide antennas; Equivalent structures causing radiation along the transmission path of a guided wave
    • H01Q13/10Resonant slot antennas
    • HELECTRICITY
    • H01ELECTRIC ELEMENTS
    • H01QANTENNAS, i.e. RADIO AERIALS
    • H01Q13/00Waveguide horns or mouths; Slot antennas; Leaky-waveguide antennas; Equivalent structures causing radiation along the transmission path of a guided wave
    • H01Q13/10Resonant slot antennas
    • H01Q13/16Folded slot antennas
    • HELECTRICITY
    • H01ELECTRIC ELEMENTS
    • H01QANTENNAS, i.e. RADIO AERIALS
    • H01Q23/00Antennas with active circuits or circuit elements integrated within them or attached to them
    • HELECTRICITY
    • H01ELECTRIC ELEMENTS
    • H01QANTENNAS, i.e. RADIO AERIALS
    • H01Q9/00Electrically-short antennas having dimensions not more than twice the operating wavelength and consisting of conductive active radiating elements
    • H01Q9/04Resonant antennas
    • H01Q9/16Resonant antennas with feed intermediate between the extremities of the antenna, e.g. centre-fed dipole
    • H01Q9/26Resonant antennas with feed intermediate between the extremities of the antenna, e.g. centre-fed dipole with folded element or elements, the folded parts being spaced apart a small fraction of operating wavelength
    • H01Q9/265Open ring dipoles; Circular dipoles
    • HELECTRICITY
    • H04ELECTRIC COMMUNICATION TECHNIQUE
    • H04BTRANSMISSION
    • H04B1/00Details of transmission systems, not covered by a single one of groups H04B3/00 - H04B13/00; Details of transmission systems not characterised by the medium used for transmission
    • H04B1/69Spread spectrum techniques
    • H04B1/7163Spread spectrum techniques using impulse radio
    • H04B1/717Pulse-related aspects
    • H04B1/7174Pulse generation
    • HELECTRICITY
    • H03ELECTRONIC CIRCUITRY
    • H03BGENERATION OF OSCILLATIONS, DIRECTLY OR BY FREQUENCY-CHANGING, BY CIRCUITS EMPLOYING ACTIVE ELEMENTS WHICH OPERATE IN A NON-SWITCHING MANNER; GENERATION OF NOISE BY SUCH CIRCUITS
    • H03B5/00Generation of oscillations using amplifier with regenerative feedback from output to input
    • H03B5/18Generation of oscillations using amplifier with regenerative feedback from output to input with frequency-determining element comprising distributed inductance and capacitance
    • H03B5/1841Generation of oscillations using amplifier with regenerative feedback from output to input with frequency-determining element comprising distributed inductance and capacitance the frequency-determining element being a strip line resonator
    • H03B5/1847Generation of oscillations using amplifier with regenerative feedback from output to input with frequency-determining element comprising distributed inductance and capacitance the frequency-determining element being a strip line resonator the active element in the amplifier being a semiconductor device

Landscapes

  • Engineering & Computer Science (AREA)
  • Computer Networks & Wireless Communication (AREA)
  • Signal Processing (AREA)
  • Transmitters (AREA)
  • Transceivers (AREA)
  • Variable-Direction Aerials And Aerial Arrays (AREA)
  • Waveguide Aerials (AREA)
  • Details Of Aerials (AREA)
  • Inductance-Capacitance Distribution Constants And Capacitance-Resistance Oscillators (AREA)

Abstract

【課題】構造の単純化、高性能化、小型集積化、設計の容易化、低消費電力化、低コスト化を実現可能なマイクロ波・ミリ波帯のUWBのパルス無線通信装置を提供する。
【解決手段】短時間動作により負性抵抗を生ずるマイクロ波トランジスタ1と共振キャビティ構造を備える放射型発振器基板S1によって放射型発振器を構成し、マイクロ波トランジスタ1の短時間動作により生ずる負性抵抗と共振キャビティの構造に基づいて定まる発振周波数・周波数帯域幅の高周波パルス信号を送信RF信号として発生させると同時に空間へ放射し、外部の無線通信装置より到来する受信RF信号が放射型発振器に入射するときに、放射型発振器を発振動作させておき、放射型発振器自身によるミキシングによりIF信号を取得することに基づいて、受信データ信号を得る。
【選択図】図1

Description

本発明は、超広帯域(UWB:Ultra WideBand)のインパルス型の無線データ送受信装置に関し、特に、複雑な回路構成を嫌うマイクロ波・ミリ波帯の装置において構成単純化、低コスト化、高性能化を実現する技術に関する。
近年注目されている通信技術として、UWB技術がある。この技術は、極めて広い周波数帯域を使うものの、電力スペクトル密度が非常に小さいため、すでに使用されている周波数を共用することができる利点がある。また、数百ピコ秒以下の短いパルスを使うことで、高速なデータ伝送を行うことができる利点がある。
従来のマイクロ波・ミリ波帯UWB技術におけるパルス無線通信装置は、パルス信号発生器や広帯域フィルタや広帯域アンテナをそれぞれ伝送線路にて接続した構成となっている(例えば、非特許文献1,非特許文献2を参照)。
Ian Gresham, "Ultra−Wideband Radar Sensors for Short−Range Vehicular Applications", MTT VOL.52, No.9, pp.2111−2113, Sep. 2004 Yoichi Kawano,Yasuhiro Nakasha,Kaoru Yokoo,Satoshi Masuda,Tsuyoshi Takahashi,Tatsuya Hirose,Yasuyuki Oishi,and Kiyoshi Hamaguchi, "An RF Chipset for Impulse Radio UWB Using 0.13μm InP−HEMT Technology", MTT−S Int. Microwave Symp. 2006 Digest pp.316−319
これら非特許文献1あるいは非特許文献2に記載された従来のUWB技術におけるパルス無線通信装置のアンテナは、送信用アンテナと受信用アンテナを別に設けたたり、送受共用アンテナとしてスイッチにより送受切り替えを行うようにしたものである。また、これら従来のUWB技術におけるパルス無線通信装置の高周波パルス信号の発生については、ベースバンドパルス信号(ベースバンド信号に応じて発生させるモノパルス信号やステップ信号)の周波数成分のある部分のみを超広帯域フィルタ回路によって通過させる方法、または、CW信号発振回路の出力を高速RFスイッチにて通過/阻止させるような変調を行う方法で構成されている。
一方、伝送線路や共振回路をアンテナで代用した高周波パルス信号発生装置も提案されている(例えば、特許文献1,特許文献2を参照)。
特開2004−186726号公報 特開2007−124628号公報
これら特許文献1あるいは特許文献2に記載された高周波パルス信号発生装置は、伝送線路や共振回路であるアンテナに電荷を充電し、高速のスイッチ等を用いてその電荷を急速に放電させる方式である。この急速な放電により発生する高周波成分のうち、共振回路であるアンテナの共振周波数帯の周波数成分が放射される。
しかしながら、上記非特許文献1あるいは非特許文献2に記載された発明では、パルス信号発生器や広帯域フィルタや広帯域アンテナをそれぞれ伝送線路にて接続した構成であるため、伝送線路の伝送損失が問題になることに加えて、複雑な回路構成を嫌うマイクロ波ミリ波帯の装置にとって望ましい構成ではない。
また、上記非特許文献1あるいは非特許文献2に記載されている発明の装置構成では、装置内部のフィルタや増幅器やRFスイッチなど種々の回路それぞれに超広帯域特性が求められる。例えば、パルス発生回路とフィルタ回路を伝送線路で接続する場合、それぞれの回路の入出力反射係数や接続部の反射係数が広帯域にわたって十分小さくないと、それぞれの回路間で多重反射が生じてしまう。さらに、それぞれの回路の郡遅延特性が広帯域にわたって平坦でないと、パルス波形に歪が生じてしまう。よって、このような超広帯域回路設計は、狭帯域回路設計に比べて困難であり、個々の回路全てに超広帯域特性が求められるような装置は高コストになってしまう。
しかも、上記非特許文献1あるいは非特許文献2に記載されている発明では、高周波パルス信号発生器と超広帯域アンテナとを伝送線路にて接続する構成であることから、伝送線路のインピーダンス(一般に50Ω)から空間インピーダンスへインピーダンス変換するため超広帯域アンテナが必要となり,そのアンテナの反射係数が超広帯域にわたって十分小さくないと、伝送線路の接続部において多重反射が生じてしまう。このような超広帯域特性をもつアンテナとして,テーパー構造非共振系アンテナや多共振系アンテナが用いられるが、テーパー構造非共振系アンテナのテーパー部は波長に比べて長い寸法が必要なために大型とならざるを得ず、装置全体の集積化には不利であり、多共振系アンテナを用いることは、群遅延特性の観点から望ましくなく、その構造も複雑になりやすい。
加えて、上記非特許文献1に記載されている発明のように、CW信号発振回路の出力を高速RFスイッチにて通過/阻止させるような変調を行う方法は、不要なCW信号の漏洩が本質的に存在するため、UWB通信の応用においては不利である。また、CW信号発振回路が動作しているため、消費電力の観点からも不利である。
また、上記非特許文献2に記載されている発明のように、ベースバンドパルス信号(ベースバンド信号に応じて発生させるモノパルス信号やステップ信号)の周波数成分のある部分のみを共振器やフィルタ回路によって選び、通過させる方法は、通過しない周波数成分のエネルギーが無駄な損失になりやく、パルス信号発生器に超高速性が求められ、高コストになりやすい。
また、特許文献1あるいは特許文献2に記載された発明は、放射させる高周波信号成分を発生させるために極めて高速に動作するスイッチ等の回路が必要であり、スイッチのドライバにも高速性が求められ、回路が複雑化しやすい。また、受信機能が無いため、通信を行う場合は、受信アンテナや送受切り替えスイッチ、受信回路などを別途に構成する必要がある。
そこで、本発明は、構造の単純化、高性能化、小型集積化、設計の容易化、低消費電力化、低コスト化を実現可能なマイクロ波・ミリ波帯のUWBのパルス無線通信装置の提供を目的とする。
前記課題を解決するために、請求項1に係るパルス無線通信装置は、共振キャビティに負性抵抗を発生するように3電極高周波増幅素子を集積化させるとともに、電磁波を空間へ放射するアンテナ機能を共用させるように放射型発振器を構成し、送信データ信号に基づいて、前記3電極高周波増幅素子を短時間動作させることにより短時間の負性抵抗を得て、この負性抵抗と前記共振キャビティの構造に基づいて定まる発振周波数・周波数帯域幅の高周波パルス信号を発生すると同時に空間へ放射し、この空間へ放射した高周波パルス信号が送信RF信号であり、外部の無線通信装置より到来した受信RF信号が前記放射型発振器に入射するときに、前記放射型発振器を発振動作させておき、前記放射型発振器自身によるミキシングによりIF信号を取得することに基づいて、受信データ信号を得るようにしたことを特徴とする。
また、請求項2に係る発明は、前記請求項1に記載のパルス無線通信装置において、前記放射型発振器の3電極高周波増幅素子における3電極は、被制御電流流入電極と被制御電流流出電極と制御電極であり、前記被制御電流流入電極または被制御電流流出電極にモノパルス信号を供給し、このモノパルス信号自体の電力を電源電力として短時間の負性抵抗を得るようにし、前記被制御電流流入電極とモノパルス信号の給電路との間にIF帯負荷手段を挿入し、そのIF帯負荷手段と被制御電流流入電極との間より前記IF信号を取り出すか、あるいは、前記被制御電流流出電極とモノパルス信号の給電路との間にIF帯負荷手段を挿入し、そのIF帯負荷手段と被制御電流流出電極との間より前記IF信号を取り出すように構成したことを特徴とする。
また、請求項3に係る発明は、前記請求項1に記載のパルス無線通信装置において、前記放射型発振器の3電極高周波増幅素子における3電極は、被制御電流流入電極と被制御電流流出電極と制御電極であり、前記制御電極にモノパルス信号を供給することで、短時間の被制御電流が流れるようにして短時間の負性抵抗を得るようにし、前記被制御電流流入電極と直流電源の給電路との間にIF帯負荷手段を挿入し、そのIF帯負荷手段と被制御電流流入電極との間より前記IF信号を取り出すか、あるいは、前記被制御電流流出電極と直流電源の給電路との間にIF帯負荷手段を挿入し、そのIF帯負荷手段と被制御電流流出電極との間より前記IF信号を取り出すように構成したことを特徴とする。
また、請求項4に係る発明は、前記請求項2又は請求項3に記載のパルス無線通信装置において、前記放射型発振器にモノパルス信号発生回路を集積化したことを特徴とする。
また、請求項5に係る発明は、前記請求項1〜請求項4の何れか1項に記載のパルス無線通信装置において、発振動作中およびミキシング動作中の前記放射型発振器の3電極高周波増幅素子が有する直流からIF帯における増幅利得により、IF信号を増幅するようにしたことを特徴とする。
また、請求項6に係る発明は、前記請求項1〜請求項5の何れか1項に記載のパルス無線通信装置において、前記送信RF信号の高周波パルス信号にパルス列パターンを設定し、前記放射型発振器自身を相関器として用いたことを特徴とする。
また、請求項7に係る発明は、前記請求項1〜請求項6の何れか1項に記載のパルス無線通信装置において、前記受信RF信号が前記放射型発振器に入射するときに、その受信RF信号の高周波パルス信号の周波数に対し、それとは異なる任意の周波数で前記放射型発振器を発振動作させるようにしたことを特徴とする。
また、請求項8に係る発明は、前記請求項1〜請求項7の何れか1項に記載のパルス無線通信装置において、前記放射型発振器の放射面から適宜距離を隔てて配置され、所要周波数の電波を選択的に濾波する周波数選択性濾波手段を備えたことを特徴とする。
また、請求項9に係る発明は、前記請求項1〜請求項8の何れか1項に記載のパルス無線通信装置において、前記放射型発振器の放射方向側に、放射する高周波パルス信号の周波数より低い周波数の不要信号成分の漏洩を防止する接地導体構造を設けたことを特徴とする。
請求項1に係る発明によれば、共振キャビティに負性抵抗を発生するように3電極高周波増幅素子を集積化させるとともに、電磁波を空間へ放射するアンテナ機能を共用させるように放射型発振器を構成し、送信データ信号に基づいて、前記3電極高周波増幅素子を短時間動作させることにより短時間の負性抵抗を得て、この負性抵抗と前記共振キャビティの構造に基づいて定まる発振周波数・周波数帯域幅の高周波パルス信号を発生すると同時に空間へ放射し、この空間へ放射した高周波パルス信号が送信RF信号であり、外部の無線通信装置より到来した受信RF信号が前記放射型発振器に入射するときに、前記放射型発振器を発振動作させておき、前記放射型発振器自身によるミキシングによりIF信号を取得することに基づいて、受信データ信号を得るようにしたので、構造が単純であり、設計が簡易であり、小型集積化、低コスト化が容易である。
この単純構造という特徴は、特性のばらつきを抑制し、製造上の高い歩留まりを確保する上で有利であり、高信頼性を確保する上でも有利である。特に、精密で微細な薄膜加工技術を必要とするミリ波帯装置の製造においては、装置が単純構造であることが品質管理上非常に有利となる。
また、請求項1に係るパルス無線通信装置は、発振器、送信アンテナ、受信アンテナおよびミキサが渾然一体となった構成であることから動作が非常に高速であり、UWB装置として高性能である。また、アンテナへの給電用伝送線路は存在しないことから伝送損失が存在せず、DC/RF変換効率が高く低消費電力である。さらに、発振するのは極短時間であり、トランジスタは間欠動作で短時間の電流を流すので、低消費電力である。
さらに、請求項1に係るパルス無線通信装置は、放射UWBスペクトラムの中心にCW信号の漏洩(単一スペクトラム)が現れることが原理的に無いので、法律で決められたUWB通信スペクトラムマスク内の帯域を有効利用できるという利点がある。
また、ベースバンドパルス信号(ベースバンド信号に応じて発生させるモノパルス信号やステップ信号)の周波数成分のある部分のみを共振器やフィルタ回路によって選び、通過させる方法は、通過しない周波数成分のエネルギーが無駄な損失になりやく、パルス信号発生器に超高速性が求められ、高コストになりやすいのに対して、本発明に係るパルス無線通信装置は、放射する高周波信号成分があらかじめ含まれているベースバンドパルス信号は必要ないので、設計性がよく、低コスト化に有利である。
以上の利点により、請求項1に係るパルス無線通信装置は、同機能の装置を従来技術で構成した場合に比べ、単純構造、高性能、小型集積、低消費電力、低コストを効果的に実現できる。
また、請求項2に係る発明によれば、前記放射型発振器の3電極高周波増幅素子における3電極は、被制御電流流入電極と被制御電流流出電極と制御電極であり、前記被制御電流流入電極または被制御電流流出電極にモノパルス信号を供給し、このモノパルス信号自体の電力を電源電力として短時間の負性抵抗を得るようにし、前記被制御電流流入電極とモノパルス信号の給電路との間にIF帯負荷手段を挿入し、そのIF帯負荷手段と被制御電流流入電極との間より前記IF信号を取り出すか、あるいは、前記被制御電流流出電極とモノパルス信号の給電路との間にIF帯負荷手段を挿入し、そのIF帯負荷手段と被制御電流流出電極との間より前記IF信号を取り出すように構成したので、負性抵抗を発生させるための直流電源が必要無く、簡易な構成で比較的廉価にパルス無線通信装置を実現できる。
また、請求項3に係る発明によれば、前記放射型発振器の3電極高周波増幅素子における3電極は、被制御電流流入電極と被制御電流流出電極と制御電極であり、前記制御電極にモノパルス信号を供給することで、短時間の被制御電流が流れるようにして短時間の負性抵抗を得るようにし、
前記被制御電流流入電極と直流電源の給電路との間にIF帯負荷手段を挿入し、そのIF帯負荷手段と被制御電流流入電極との間より前記IF信号を取り出すか、あるいは、前記被制御電流流出電極と直流電源の給電路との間にIF帯負荷手段を挿入し、そのIF帯負荷手段と被制御電流流出電極との間より前記IF信号を取り出すように構成したので、モノパルス信号発生回路として負荷駆動能力の小さい回路でも用いることができ、簡易な構成で比較的廉価にパルス無線通信装置を実現できる。
また、請求項4に係る発明によれば、前記放射型発振器にモノパルス信号発生回路を集積化したので、放射型発振器とモノパルス信号発生回路との間の多重反射の問題を回避し易く、簡易な構成で比較的廉価にパルス無線通信装置を実現できる。
また、請求項5に係る発明によれば、発振動作中およびミキシング動作中の前記放射型発振器の3電極高周波増幅素子が有する直流からIF帯における増幅利得により、IF信号を増幅するようにしたので、信号対雑音比の大きなIF信号を得ることができ、高感度なパルス無線通信装置を実現できる。
また、請求項6に係る発明によれば、前記送信RF信号の高周波パルス信号にパルス列パターンを設定し、前記放射型発振器自身を相関器として用いたので、信号対雑音比の大きなIF信号を得ることができ、高感度なパルス無線通信装置を実現できる。
また、請求項7に係る発明によれば、前記受信RF信号が前記放射型発振器に入射するときに、その受信RF信号の高周波パルス信号の周波数に対し、それとは異なる任意の周波数で前記放射型発振器を発振動作させるようにしたので、任意の周波数帯のIF信号を取得することができ、設計性がよくなる。
また、請求項8に係る発明によれば、前記放射型発振器の放射面から適宜距離を隔てて配置され、所要周波数の電波を選択的に濾波する周波数選択性濾波手段を備えたので、不要信号の輻射を防止することができ、また、所望の高調波周波数成分を選択して放射することができるので、より高品質な放射信号を得ることができる。
また、請求項9に係る発明によれば、前記放射型発振器の放射方向側に、放射する高周波パルス信号の周波数より低い周波数の不要信号成分の漏洩を防止する接地導体構造を設けたので、ベースバンド信号やベースバンドパルス信号成分の漏洩や、不要信号の輻射を防止することができ、より高品質な放射信号を得ることができる。
次に、添付図面に基づいて、本発明に係るパルス無線通信装置の実施形態につき説明する。
図1は、第1実施形態に係るパルス無線通信装置の概略構成を示すものである。このパルス無線通信装置は、放射型発振器基板S1と、これにベースバンド信号を供給する信号源(図示省略)、直流バイアス給電を行う電源装置(図示省略)、取得したIF信号の解析および処理を行う処理装置(図示省略)から構成される。
ここで、放射型発振器基板S1は、「共振キャビティに負性抵抗を発生するように3電極高周波増幅素子を集積化させるとともに、電磁波を空間へ放射するアンテナ機能を共用させる放射型発振器」として機能している。そして、送信データ信号に基づいた時間間隔やタイミングで、この放射型発振器より空間へ放射した高周波パルス信号が送信RF信号となる。一方、外部の無線通信装置より到来した受信RF信号がこの放射型発振器に入射するときに、前記放射型発振器を発振動作させておき、前記放射型発振器自身によるミキシングによりIF信号を取得することに基づいて、受信データ信号を得ることができる。なお、IF信号の処理装置が行う解析および処理は、公知既存の手法を適宜用いればよい。
また、3電極高周波増幅素子は、小さな電圧または電流によって大きな電流を制御することで増幅機能を実現する素子であり、単体のトランジスタ素子や、単体のトランジスタを複数用いて構成した素子を含むとともに、単体で取り扱えるパーツに限らず、半導体プロセスで半導体ウェハに作りこんだものも含む。この3電極高周波増幅素子における制御電極は、制御電圧を加えたり、制御電流を流入(または流出)させたりする電極で、ゲートやベースに相当する。また、被制御電流流入電極は制御される電流が流入する電極で、被制御電流流出電極は制御される電流が流出する電極であり、素子構造がN型かP型か,あるいはNPN型かPNP型かに応じて、一方がドレインやコレクタに、他方がソースやエミッタに相当する。
放射型発振器基板S1は、表面側誘電体基板10と裏面側誘電体基板11の間に接地導体層である内層GND12を介在させた3層基板を用いて必要な回路を構成したものである。具体的には、表面と内層GND12とで放射型発振器のRF回路部を構成し、内層GND12と裏面とでRFチョーク回路およびベースバンド回路を構成する。また、裏面側誘電体基板11側にモノパルス発生回路7が集積化されている。なお、図1(a)は放射型発振器基板S1の平面(表面側誘電体基板10の表面)を示し、図1(b)は放射型発振器基板S1の概略縦断面構造を示し、図1(c)は放射型発振器基板S1の底面(裏面側誘電体基板11の裏面)を示す。
表面側誘電体基板10の表面側には、一対の導体パッチ4,4を軸対象に設けて放射面を形成すると共に、これら一対の導体パッチ4,4の間に配置した3電極高周波増幅素子たる高周波トランジスタ1の制御電極たるゲート電極2および被制御電流流入電極たるドレイン電極3を導体パッチ4,4に各々接続し、ゲート電極2にはゲート直流Bias電圧供給用のRFチョーク回路5aが接続されている。このRFチョーク回路5aには、直流ゲート電圧供給端子15を介して図示を省略した直流電源から給電される。また、ドレイン電極3には、導体パッチ4およびRFチョーク回路5bが接続されている。RFチョーク回路5bとモノパルス発生回路7(例えば、高速ロジックICやスイッチにより構成)との間にはIF帯負荷手段100が挿入されて直列接続となっており、モノパルス発生回路7にはベースバンド信号入力端子6が接続されている。RFチョーク回路5bとIF帯負荷手段100との間には、IF信号出力端子101が接続されている。モノパルス発生回路7のGNDは、内層GND12にスルーホール17で接続されている。高周波トランジスタ1の被制御電流流出電極たるソース電極8には、発振条件を満たすインピーダンス線路9が接続され、内層GND12にスルーホール接地されている。そして、高周波トランジスタ1と導体パッチ4とRFチョーク回路5a,5bの一部とインピーダンス線路9は表面側誘電体基板10の表面(高周波パルス放射側の面)に構成されており、RFチョーク回路5a,5bの残りの部分とモノパルス発生回路7は裏面側誘電体基板11の裏面に構成されている。RFチョーク回路5a,5bにはスルーホール部13が含まれる。
ここで、導体パッチ4は、共振器、アンテナとして機能すると共に、帰還回路を構成している。この導体パッチ4の面積・形状設定等と前記高周波トランジスタへの給電によりRF信号を発振放射する放射型発振器を実現する。
図2は、一対の軸対称な導体パッチ4を示すもので、各導体パッチ4は、高周波トランジスタ1のゲート電極2またはドレイン電極3に接続される等傾斜角の尖鋭部を具備し、これら先鋭部が互いに近接配置され、この先鋭部を経て幅Wが等しくなる平行部の長さをD、一対の導体パッチ4の一方端から他方端までの全体の長さ(全長)をLとする。
斯く構成した導体パッチ4において、高周波トランジスタ1のゲート電極2またはドレイン電極3が接続される尖鋭部の広がり角θを調整することで、高周波トランジスタ1と共振器との結合強度を調整でき、また、全長L、幅W、平行部の長さDを適宜に選択することで、発振条件の設定に必要な諸条件の選択の自由度が得られる。また、図示を省略したが、導体パッチ4と内層GND12との間隔h(実質的には、表面側誘電体基板10の厚さ)は、発振波長λの1/15〜1/5倍の間で設定することにより、安定な発振状態を確保できる。なお、導体パッチ4の構成は特に限定されるものではなく、表面側誘電体基板10および内層GND12とで、発振RF信号に適した共振キャビティを構成できれば、如何様な構造でも構わない。共振キャビティの改変例については、後に説明する。
上記のように構成した放射型発振器基板S1を動作させるには、直流ゲート電圧供給端子15に適当な直流バイアス電圧を印加しておき、ベースバンド信号入力端子6にモノパルス発生回路7を動作させるためのベースバンド信号を入力する。モノパルス発生回路7からのモノパルス出力信号がIF帯負荷手段100およびRFチョーク回路5bを通して高周波トランジスタ1のドレイン電極3に入力され、モノパルス出力信号自体が電源電力となり、高周波トランジスタ1による負性抵抗が短時間生じる。その短時間の負性抵抗と、導体パッチ4と表面側誘電体基板10の構造とにより決まる周波数、帯域幅にて、短時間のRF帯発振放射、すなわち高周波パルス信号の発生放射が行われる。
この短時間のRF帯発振放射を、送信データ信号に基づいた時間間隔やタイミングのベースバンド信号により行い、それに基づいて発生放射された高周波パルス信号を送信RF信号とし、通信の相手方である外部の無線通信装置に対して送付する。一方、外部の無線通信装置より到来した受信RF信号は、放射型発振器基板S1に入射される。
この受信RF信号が放射型発振器基板S1に入射するときに、再びモノパルス出力信号をモノパルス発生回路7からドレイン電極3に入力するか、RF帯発振放射動作状態になるバイアス電圧をドレイン電極3に印加すれば、放射型発振器自身によるミキシングによりIF信号が発生する。このIF信号をIF信号出力端子101から取り出し、コンピュータ等の処理装置により解析及び処理することで受信データ信号を得ることができる。
なお、ドレイン電極3にモノパルス信号が入力されている間、発振条件が満たされていれば、直流ゲート電圧供給端子15に印加する直流バイアス電圧は外部電源から供給する必要はなく、自己バイアスによって印加してもよい。例えば、そのゲートのバイアス電圧が0[V]で発振条件を満たすのであれば、直流ゲート電圧供給端子15を内層GNDなどと電気的に接続しての0[V]をゲートに印加すれば、直流バイアス給電用の電源は不要である。
また、図3に示す第1改変例(放射型発振器基板S1a)のように、被制御電流流出電極たるソース電極8にモノパルス発生回路7を接続し、被制御電流流入電極たるドレイン電極3にIF帯負荷手段100を接続し、そのIF帯負荷手段100とドレイン電極3との間IF信号出力端子101を接続し、IF信号を取り出すようにしてもよい。この場合、モノパルス発生回路7から負のモノパルス信号を出力すれば、図1に示した放射型発振器基板S1に比べて接地電位がソース電極からドレイン電極に変わっただけであり、単に基準電位が異なっただけであるから、パルス無線通信装置として同様の動作をする。つまり、どの電極の電位を基準とするかは任意に設定できる。また、3電極高周波増幅素子たるトランジスタがN型かP型か,あるいはNPN型かPNP型かにより、モノパルス信号を供給する電極は適宜選択すればよい。
また、図4に示す第2改変例(放射型発振器基板S1b)のように、被制御電流流入電極たるドレイン3にモノパルス発生回路7を接続し、被制御電流流出電極たるソース電極8にIF帯負荷手段100を接続し、そのIF帯負荷手段100とソース電極8との間にIF信号出力端子101を接続し、IF信号を取り出すようにしてもよい。この場合、トランジスタ1の被制御電流の流路にIF帯負荷手段100が直列に挿入されていることは、図1に示した放射型発振器基板S1と変わりないので、IF信号を取得することができ、パルス無線通信装置として同様の動作をする。また、3電極高周波増幅素子たるトランジスタがN型かP型か,あるいはNPN型かPNP型かにより、モノパルス信号を供給する電極は適宜選択すればよい。
また、図5に示す第3改変例(放射型発振器基板S1c)のように、被制御電流流出電極たるソース電極8とモノパルス発生回路7との間にIF帯負荷手段100を挿入して直列接続し、ソース電極8とIF帯負荷手段100との間にIF信号出力端子101を接続し、IF信号を取り出すようにしてもよい。この場合、モノパルス発生回路7から負のモノパルス信号を出力すれば、図4に示した第2改変例の放射型発振器基板S1bに比べて接地電位がソース電極からドレイン電極に変わっただけであり、単に基準電位が異なっただけであるから、パルス無線通信装置として同様の動作をする。つまり、どの電極の電位を基準とするかは任意に設定できる。また、3電極高周波増幅素子たるトランジスタがN型かP型か,あるいはNPN型かPNP型かにより、モノパルス信号を供給する電極は適宜選択すればよい。
このように、本実施形態に係るパルス無線通信装置(放射型発振器基板S1,S1a,S1b,S1cの何れかを用いたパルス無線通信装置)は、構造が単純であり、設計が簡易であり、小型集積化、低コスト化が容易である。
この単純構造という特徴は、特性のばらつきを抑制し、製造上の高い歩留まりを確保する上で有利であり、高信頼性を確保する上でも有利である。特に、精密で微細な薄膜加工技術を必要とするミリ波帯装置の製造においては、装置が単純構造であることが品質管理上非常に有利となる。
また、発振器、送信アンテナ、受信アンテナおよびミキサが渾然一体となった構成であることから動作が非常に高速であり、UWB装置として高性能である。また、アンテナへの給電用伝送線路は存在しないことから伝送損失が存在せず、DC/RF変換効率が高く低消費電力である。さらに、発振するのは極短時間であり、トランジスタは間欠動作で短時間の電流を流すので、低消費電力である。
さらに、放射UWBスペクトラムの中心にCW信号の漏洩(単一スペクトラム)が現れることが原理的に無いので、法律で決められたUWB通信スペクトラムマスク内の帯域を有効利用できるという利点がある。
また、ベースバンドパルス信号(ベースバンド信号に応じて発生させるモノパルス信号やステップ信号)の周波数成分のある部分のみを共振器やフィルタ回路によって選び、通過させる方法は、通過しない周波数成分のエネルギーが無駄な損失になりやく、パルス信号発生器に超高速性が求められ、高コストになりやすいのに対して、本発明に係るパルス無線通信装置は、放射する高周波信号数成分があらかじめ含まれているベースバンドパルス信号は必要ないので、設計性がよく、低コスト化に有利である。
また、モノパルス信号自体の電力を電源電力として短時間の負性抵抗を得る構成であるため、負性抵抗を発生させるための直流電源が必要無く、簡易な構成で比較的廉価にパルス無線通信装置を実現できる。
このように、本実施形態に係るパルス無線通信装置は、構造の単純な放射型発振器を用いて構成でき、高性能化、小型集積化、設計性容易化、低消費電力化、低コスト化が可能である。
次に、図6に基づいて、第2実施形態に係るパルス無線通信装置を説明する。
本実施形態のパルス無線通信装置は、放射型発振器基板S2と、これにベースバンド信号を供給する信号源(図示省略)、直流バイアス給電を行う電源装置(図示省略)、取得したIF信号の解析および処理を行う処理装置(図示省略)から構成される。また、本実施形態のパルス無線通信装置の放射型発振器基板S2は、表面側誘電体基板10と裏面側誘電体基板11の間に接地導体層である内層GND12を介在させた3層基板を用いて必要な回路を構成したもので、表面と内層GND12とで放射型発振器のRF回路部を構成し、内層GND12と裏面とでRFチョーク回路およびベースバンド回路を構成する。また、裏面側誘電体基板11側にモノパルス発生回路7が集積化されている。
高周波トランジスタ1のゲート電極2には、導体パッチ4およびモノパルス信号供給用のRFチョーク回路5aが接続されている。高周波トランジスタ1のドレイン電極3には、導体パッチ4およびドレイン電圧供給用のRFチョーク回路5bが接続されている。このRFチョーク回路5bと直流ドレイン供給端子18との間にはIF帯負荷手段100が挿入されて直列接続になっており、RFチョーク回路5bとIF帯負荷手段100との間にIF信号出力端子101が接続されている。直流ドレイン供給端子18には、図示を省略した直流電源から給電される。RFチョーク回路5aとベースバンド信号入力端子6との間には、モノパルス発生回路7が直列に接続されている。高周波トランジスタ1のソース電極8には、発振条件を満たすインピーダンス線路9が接続され、接地されている。高周波トランジスタ1と導体パッチ4とRFチョーク回路5a,5bの一部とインピーダンス線路9は表面側誘電体基板10の表面(高周波パルス放射側の面)に構成されており、RFチョーク回路5a,5bの残りの部分とモノパルス発生回路7は裏面側誘電体基板11の裏面に構成されている。RFチョーク回路5a,5bにはスルーホール部13が含まれる。
上記のように構成した放射型発振器基板S2を動作させるには、直流ドレイン電圧供給端子18に適当な直流電圧を印加し、ベースバンド信号入力端子6にモノパルス発生回路7を動作させるためのベースバンド信号を入力する。モノパルス発生回路7からのモノパルス出力信号がRFチョーク回路5aを通して高周波トランジスタ1のゲート電極2に入力され、そのモノパルス信号によりゲートが短時間開き、短時間のドレイン電流が流れ、高周波トランジスタ1による負性抵抗が短時間生じる。その短時間の負性抵抗と、導体パッチ4と表側誘電体基板10の構造とにより決まる周波数、帯域幅にて、短時間のRF帯発振放射、すなわち高周波パルス信号の発生放射が行われる。
この短時間のRF帯発振放射を、送信データ信号に基づいた時間間隔やタイミングのベースバンド信号により行い、それに基づいて発生放射された高周波パルス信号を送信RF信号とし、通信の相手方である外部の無線通信装置に対して送付する。一方、外部の無線通信装置より到来した受信RF信号は、放射型発振器基板S1に入射される。
この受信RF信号が放射型発振器基板S2に入射するときに、再びモノパルス出力信号をモノパルス発生回路7からゲート電極2に入力するか、RF帯発振放射動作状態になるバイアス電圧をゲート電極2に印加すれば、放射型発振器自身によるミキシングによりIF信号が発生する。このIF信号をIF信号出力端子101から取り出して処理装置へ入力し、解析及び処理することで受信データ信号を得ることができる。
なお、本実施形態では、モノパルス信号電圧により高周波トランジスタ1のゲートを開かせるため、無信号時(あるモノパルスと次のモノパルスとの間の時間)にはゲートが閉じた状態(ピンチオフ)になるように、適当なバイアス電圧を設定する必要がある。このバイアス電圧を設定することにより、短時間の負性抵抗によるRF帯発振放射をクエンチングできる。
また、図7に示す改変例(放射型発振器基板S2a)のように、被制御電流流出電極たるソース電極8にIF帯負荷手段100を接続し、そのIF帯負荷手段100とソース電極8との間IF信号出力端子101を接続し、IF信号を取り出すようにしてもよい。この場合、トランジスタ1の被制御電流の流路にIF帯負荷手段が直列に挿入されていることは図6に示した放射型発振器基板S2と変わりないので、IF信号を取得することができ、パルス無線通信装置として同様の動作をする。また、3電極高周波増幅素子たるトランジスタがN型かP型か,あるいはNPN型かPNP型かにより、モノパルス信号を供給する電極は適宜選択すればよい。
また、図6に示した放射型発振器基板S2を用いるパルス無線通信装置においては、ソース電極8の電位を接地電位としており、図7に示した放射型発振器基板S2aを用いるパルス無線通信装置においては、ドレイン電極3の電位を接地電位としているが、どの電極の電位を基準とするかは任意に設定できる。
このように、本実施形態に係るパルス無線通信装置は、高周波トランジスタ1に対してゲートの開閉制御が可能であればよいので、上述した第1実施形態に比べて、低出力電力、低ドライブ能力のモノパルス発生回路を用いることができ、簡易な構成で比較的廉価にパルス無線通信装置を実現できる。
なお、上述した各実施形態に係るパルス無線通信装置において、上記モノパルス信号の波形には特に制限は無く、矩形波形でもガウシアン波形でも三角波形でもよい。また、その波形の立ち上がり時間に高速性は必要でない。例えば、三角波形を考えた場合、その三角波形信号に、放射させる高周波信号成分が含まれている必要はない。その三角波形の谷から山の頂点に向かう立ち上がりを考えた場合、その頂点より少し手前で発振条件を満たし、その頂点の少し後で発振条件から外れさえすれば、たとえ立ち上がり時間が大きくてもよい。放射させる高周波信号成分は前記負性抵抗と前記共振キャビティの構造によるからである。
また、上述した各実施形態に係るパルス無線通信装置において、放射型発振器を構成するための3電極高周波増幅素子として用いる高周波トランジスタ1は、MOS−FETを含むIG−FET(Insulated Gate FET)、HEMT(High Electron Mobility Transistor)、MESFET(Metal−Semiconductor FET)などの電界効果トランジスタ(FET:Field Effect Transistor)、またはHBT(Hetero−junction Bipolar Transistor)などのバイポーラトランジスタ(BJT:Bipolar Junction Transistor)などで、小さな電圧または電流によって大きな電流を制御する増幅機能を有していれば、その種類は特に限定されるものではない。
さらに、3電極高周波増幅素子の内部構造も特に限定されるものではなく、ダーリントン接続型トランジスタやカスケード接続型トランジスタのような、単体トランジスタを複数組み合わせた構造の素子でもよい。例えば、ダーリントン接続型トランジスタを用いた場合には、単体のトランジスタでは実現できない高い電流増幅率を得られるという利点がある。
また、上述した各実施形態に係るパルス無線通信装置は、HMIC(混成マイクロ波集積回路:hybrid microwave integrated circuit)で実現してもよいし、MMIC(モノリシックマイクロ波集積回路:Monolithic Microwave integrated circuit)で実現してもよい。また、LTCC(Low Temperature Co−fired Ceramics)などを用いた3次元形態の集積回路で実現してもよい。すなわち、第1〜第2実施形態で示した放射型発振器基板S1〜S2の如く、独立したパーツである高周波トランジスタ1を基板上へ搭載する必要はなく、共振キャビティ(導体パッチなど)と共に同一半導体プロセスで半導体ウェハに3電極高周波増幅素子をモノリシックに作り込むようにしても構わない。特に、ミリ波帯電波は波長が短いことから共振キャビティのサイズも小さくなるので、3電極高周波増幅素子をモノリシックな形態(MMIC)で作り込めば、更なる小型・軽量化を図ることができるし、高精度な半導体プロセス技術により高品位で高い生産性を実現できるという利点もある。
また、上述した各実施形態に係るパルス無線通信装置において、RFチョーク回路の機能は、RF信号が直流電源側やモノパルス発生回路7側に漏れるのを防ぐ事であるが、たとえRF信号が漏れたとしても、その漏れによる損失を上回る負性抵抗を高周波トランジスタ1により得ることができれば、放射型発振器は動作可能である。よって、RFチョーク回路を設けない放射型発振器により本発明を構成しても、パルス無線通信装置を実現でできる。また、モノパルス発生回路7自体がRF帯にて高インピーダンスの回路であれば、モノパルス発生回路7と放射型発振器とを直接集積化することができ、RFチョーク回路は不要である。また、RFチョーク回路を構成するために、3層基板構造の放射型発振器基板を用いる必要もない。
また、上述した各実施形態に係るパルス無線通信装置において、モノパルス発生回路7としては、高速ロジックICやスイッチの他、Step Recovery Diode(SRD)やNonlinear Transmission Line(NLTL)による回路などで構成できる。SRDやNLTLにより構成したモノパルス発生回路は、直流電源を不要とすることができるので、高周波トランジスタ1を自己バイアス化することなどによりゲートバイアス電圧の供給も省略すれば、直流電源の存在なしに動作するパルス無線通信装置を実現することができる。その場合のパルス無線通信装置は、直流電源も局部発振器も存在しないにもかかわらず,ベースバンド信号からRF帯の高周波パルス信号に信号を変換する周波数アップコンバータのごとき動作となり、単純で使い勝手のよい構成となる。
また、上述した各実施形態に係るパルス無線通信装置において、発振動作中およびミキシング動作中の高周波トランジスタ1が有する直流からIF帯における増幅利得により、IF信号を増幅するようにしてもよい。発振動作中およびミキシング動作中の高周波トランジスタ1の相互コンダクタンスをgm[S]とし、IF帯負荷手段100のインピーダンスをZ[Ω]とし、gm×Zが1以上になるようにすれば振幅利得が得られ、信号対雑音比の大きなIF信号を得ることができ、高感度なパルス無線通信装置を実現できる。
また、上述した各実施形態に係るパルス無線通信装置において、前記送信RF信号の高周波パルス信号にパルス列パターン(テンプレートパルス)を設定し、前期放射型発振器自身を相関器として用いてもよい。この場合、受信RF信号の高周波パルス信号が前記放射型発振器に入射する時刻と、その放射型発振器の送信RF信号となる高周波パルス信号が発生する時刻が合う時にのみミキシングが行われるため、相関検波によって信号対雑音比の大きなIF信号を得ることができ、高感度なパルス無線通信装置を実現できる。
また、上述した各実施形態に係るパルス無線通信装置において、前記受信RF信号が前記放射型発振器に入射するときに、その受信RF信号の高周波パルス信号の周波数に対し、それとは異なる任意の周波数で前記放射型発振器を発振動作させてもよい。この場合、任意の周波数帯のIF信号を取得することができ、設計性がよくなる。なお、放射型発振器の発振周波数を変化させるには、共振キャビティに可変容量素子などを装荷し、任意のタイミングでその容量を変化させたり、高周波トランジスタのバイアス電圧を任意のタイミングで変化させ、高周波トランジスタ自身の有する容量を変化させたりすればよい。
また、上述した各実施形態に係るパルス無線通信装置においては、放射型発振器基板Sに一対の略扇形導体パッチ4を備えるものとしたが、共振キャビティを構成する導体パッチの形状は特に限定されるものではないし、一対の軸対象な導体パッチを必須とするものでもない。以下、本発明に適用可能な導体パッチの改変例について説明する。
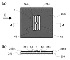
図8は矩形状の導体パッチ4aを軸対象に一対設けた第1改変例で、図9は矩形状の導体パッチ4bを軸対象に一対設けた第2改変例で、図10は、円形の導体パッチ4cを軸対象に一対設けた第3改変例である。その他、三角形などの多角形や、楕円形、扇形などの導体パッチでもよい。図8〜図10には、主な偏波面を表すために、電界の向きを矢印Eで示した。GND導体面255は、導体パッチ4a〜4cにとって、内層GND12に相当する。誘電体基板259は、導体パッチ4a〜4cにとって、表面側誘電体基板10に相当する。導体パッチ4a〜4cおよびGND導体面255、誘電体基板259は、共振キャビティを構成し、発振動作のための帰還回路の一部を構成しているが、その帰還が適切に得られさえすれば、誘電体基板259やGND導体面255は必ずしも設ける必要はない。例えば、導体パッチを板金加工で作製し、その導体パッチ板を保持する機構があれば、誘電体基板259の部分は中空でもよい。また、図11に示す第4改変例のように、上記帰還を促すためのチップキャパシタなどの帰還用部品248を導体パッチ4b上に搭載してもよい。なお、GND導体面255が無い場合の放射は、導体パッチ板の両面方向になされる。
図12に示す第5改変例は、略扇形状の導体パッチ4,4の周囲に、GND導体面256と、そのGND導体面256とGND導体面255を接続するスルーホール35を設けて、誘電体基板259内部を信号が伝達して基板の端から漏れ出て損失となるのを防止した例である。GND導体面256の寸法・形状を適当に設定すれば、誘電体基板259内部を信号が伝達する代わりに、その損失分の信号エネルギーを本来の放射エネルギーとして利用できる。
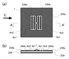
図13に示すのは、矩形状の導体パッチ4d,4dと、これら導体パッチ4d,4dと適宜な空隙244を保って配置した接地導体面256dとにより、発振用の共振キャビティを構成した第6改変例である。
図14に示すのは、高周波トランジスタ1に接続される矩形状の導体パッチ4e1,4e1の付近に、高周波トランジスタ1とは接続されていない矩形状の導体パッチ4e2,4e2を設け、導体パッチ4e1と導体パッチ4e2との間および接地導体面256eとを空隙244eで隔てて、発振用の共振キャビティを構成した第7改変例である。
図15に示すのは、半楕円状の導体パッチ4f,4fと、これら導体パッチ4f,4fと適宜な空隙244fを保って配置した接地導体面256fとにより、発振用の共振キャビティを構成した第8改変例である。この空隙244fの幅は、場所に応じて変化させ、発振条件を満たすようにする。
導体パッチおよび空隙の形状は、上述した図12〜図15に示した構成例に限定されるものではなく、発振条件を満たしていれば、如何様な構成であっても、本発明に適用可能である。また、導体パッチおよび空隙、GND導体面、誘電体基板は、発振動作のための帰還回路の一部を構成しているが、その帰還が適切に得られさえすれば、誘電体基板259やGND導体面255は必ずしも設ける必要はない。なお、GND導体面255が無い場合の放射は、導体パッチ面の両側方向になされる。
図16に示すのは、スロット245と接地導体面256とにより発振用の共振キャビティを構成した第9改変例である。このスロット245は、図8にて例示した矩形状の導体パッチ4aに対して、補対の関係にあり、発振条件を満たす。無論、発振条件を満たしていれば、スロット245の形状は特に限定されるものではない。本構成例では、高周波トランジスタ1のゲートとドレインに異なる直流バイアス電圧を印加するために、ゲートとドレインを直流的に分離し、高周波的に導通させる容量結合部246を設けてある。この容量結合部246は、間隙による容量やMIM(Metal−Insulator−Metal)容量、キャパシタ部品などを用いて実現でき、誘電体基板259やGND導体面255は必ずしも設ける必要はない。なお、GND導体面255が無い場合の放射は、導体パッチ面の両側方向になされる。
上述した導体パッチの改変例は、何れも一対の導体パッチを高周波トランジスタ1に対して対象に設けた例を示したが、非対称形状の導体パッチを用いてもよい。
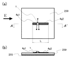
図17に示すのは、矩形状の第1導体パッチ4g1と矩形状の第2導体パッチ4g2を非対称に構成した第10改変例である。このように第1導体パッチ4g1と第2導体パッチ4g2を非対称形状としても、共振周波数は導体パッチ部全体の寸法(図17(a)中、Lで示す)で基本的に決まることから、発振条件さえ満たしていれば、アンテナと発振回路が渾然一体となったタイプの放射型発振器として動作させることが可能である。
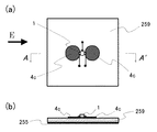
図18に示すのは、略半円形の導体パッチ4h,4hと、これら導体パッチ4h,4hと適宜な空隙244hを保って配置した接地導体面256hとにより、リングスロット型アンテナを放射面側に形成し、発振用の共振キャビティを構成した第11改変例である。
図19に示すのは、矩形状の導体パッチ4i,4iの周辺に、高周波トランジスタ1と接続されていない導体パッチ247を適宜に配置して、放射指向性を制御可能とした第12改変例である。導体パッチ4i,4iと導体パッチ247との位置関係や、寸法関係を適宜設定することにより、例えば八木アンテナのような動作をさせることができる。
次に、図20に基づいて、第3実施形態に係るパルス無線通信装置を説明する。本実施形態のパルス無線通信装置は、放射型発振器基板S3(上述した放射型発振器基板S1,S1a,S1b,S1c,S2,S2aと同じ高周波パルス発振・放射構造で、その動作も同じ)に、周波数選択性濾波手段としての周波数選択性平面(FSS:Frequency Selective Surface)を備えたものである。また、放射する高周波パルス信号の周波数より低い周波数の不要信号成分(例えば、ベースバンド信号成分,モノパルス信号成分)の漏洩防止のための接地導体構造を備えたものである。
放射型発振器基板S3の放射方向側には、ローパスフィルタパターン30を内面(放射型発振器基板S3の放射面に対向する面)側にパターニングしたFSS基板31が配置され、接地導体構造たる金属導体構造物32aにより放射面から適宜距離を隔てて支持されている。放射型発振器基板S3は、図12に示す第5改変例のように導体パッチ4の周囲を囲むように接地導体ベタパターン33を設け、この接地導体ベタパターン33はスルーホール34で内層GNDと接続されている。なお、スルーホール34は、波長より十分短い間隔で導体パッチの周囲に多数配置されている。
上記金属導体構造物32aは、接地導体ベタパターン33を介して内層GNDと電気的に接触しており、直流ないしは比較的低い周波数にとって、金属導体構造物32aは本装置のフレームグランド(本装置全体の基本接地導体)として機能する。また、金属導体構造物32aは、放射型発振器基板S3の放射面側からFSS基板31に向って拡径するホーン形状の放射空部を形成し、高周波パルス信号の放射指向性が鋭くなるようにした。すなわち、金属導体構造物32aは、放射指向性の先鋭化機能とフレームグランドとしての機能を兼務するのである。
このように、FSS基板31と金属導体構造物32aを備えた本実施形態の高周波パルス無線通信装置においては、発生した高周波パルス信号の不要な高調波周波数成分をローパスフィルタパターン30にて形成したFSS基板31にて減衰させることができる。さらに、導体パッチ4から漏洩しようとするベースバンド信号およびモノパルス信号成分(直流から比較的低い周波数成分)の電磁界が、導体パッチ4とフレームグランドとの間に閉じ込められて放射には至らない。なお、ベースバンド信号およびモノパルス信号の周波数成分が、高周波パルス信号の周波数成分に対して十分低い場合は、金属導体構造物32aを取り除いて、接地導体ベタパターン33と内層GNDのみでフレームグランドを構成しても、漏洩防止の機能を有する。
また、本実施形態の高周波パルス無線通信装置は、FSS基板31と金属導体構造物32aと放射型発振器基板S3とにより、高周波トランジスタ1と導体パッチ4、4の部分を囲い込んだ形態であり、RF回路部を外気と隔てることができる。よって、FSS基板31と金属導体構造物32aと放射型発振器基板S3とを本装置の気密ハウジングの一部とし、外部環境による性能劣化を防止できる。
また、金属導体構造物32aのように、放射空部を放射方向に向って拡径するホーン形状とせずに、図21に示す金属導体構造物32bのように直線管状(第4実施形態)としたり、図22に示す金属導体構造物32cのように放射方向に向かって縮径する形状(第5実施形態)として、その口径の寸法をベースバンド信号およびモノパルス信号の周波数成分がカットオフとなるように設定すれば、ベースバンド信号およびモノパルス信号の不要な漏洩を防止することができる。カットオフとなるように設定するとは、導波管でいうところのカットオフ周波数(低域遮断周波数)未満になるよう口径寸法にするということで、カットオフ周波数とは電磁波が管内を管軸方向に進行できなくなる境目の周波数のことである。このようなローカットフィルタは、簡易な構造でありながら、周波数選択性濾波手段の機能と、接地導体構造による不要信号漏洩防止手段の機能とを備えている。
また、FSS基板31に設ける回路パターンを適宜設定し、発生した高周波パルス信号の基本波周波数成分を減衰させて、任意の高調波周波数成分を選択的に透過させて放射させることもできる。このように高調波周波数成分を不要信号とせずに積極的に利用することで、fmax(最大発振周波数)の小さい低コスト・低性能のトランジスタを用いても、比較的高い周波数のパルス信号放射が可能な装置を実現できる。なお、高調波周波数成分を用いる高周波パルス無線通信装置においては、基本波周波数成分を用いる場合に比べて放射電力が微弱になるものの、近距離通信や近距離センサの信号源として利用できる。
なお、本実施形態においては周波数選択性濾波手段としてのFSSを、FSS基板31にFSSパターン面をパターニングして実現したが、FSSパターン面を保持することができれば、特に基板を必要とするものではない。
また、FSS以外の周波数選択性濾波手段を採用した第6実施形態のパルス無線通信装置は、図23のように導波管濾波器40を配置したものである。
導波管濾波器40は、放射型発振器の放射波を導波管の伝送波に変換する変換部41と、アイリス板などの導波管回路で構成した濾波器42と、該濾波器42により所望のRF帯域を選別して通過または減衰させ、通過した信号を放射させるホーンアンテナ43を備える。なお、変換部41は、例えばテーパー状構造により所望の大きさの導波管口まで徐々に管の太さを変化させたものであり、仮に放射型発振器基板S3の導体パッチ4が所望の大きさの導波管口より小さいサイズであればテーパー状構造の必要はなく、放射型発振器基板S3からの放射波を導波管の伝送波に効率よく変換できる構造であればよい。
以上、本発明に係るパルス無線通信装置を幾つかの実施形態に基づき説明したが、本発明は、これらの実施形態のみに限定されるものではなく、特許請求の範囲に記載の構成を変更しない限りにおいて実現可能な全てのパルス無線通信装置を権利範囲として包摂するものである。
上述した特徴的効果を奏する本発明のパルス無線通信装置は各種UWB無線システムに使用することで、上記利点を生かすことができる。特に、部品コストが高く、伝送損失の増加やデバイス性能により低電力効率になるミリ波帯のシステムにおいて大きな優位性が見込まれる。
上記UWB無線システムの例としては、家庭やオフィス環境でのPCや周辺機器、AV機器、携帯端末機器などにおいて、それぞれの機器間のデータ通信を行うシステムが考えられる。また、コンピュータなどの機器筐体の内部にある複数の電子回路基板などにおいて、基板間のデータ通信を行うシステムが考えられる。このようなシステムに、本発明に係るパルス無線通信装置を搭載すれば、従来のUWB無線通信装置を搭載したシステムに比べ、低コストにてケーブルレス化を行うことができる。これらのシステム構成の単純なものとしては、本発明に係るパルス無線通信装置を2つ用意して対向させ、それぞれのパルス無線通信装置が送受信動作する構成が考えられるが、本発明に係るパルス無線通信装置の通信の相手方となる無線通信装置の形態や台数は特に限定されるものではないし、本発明に係るパルス無線通信装置に送信動作のみ、あるいは受信動作のみを行わせるようにしてもよい。
また、上記UWB無線システムの例として、無線データ通信と無線センサを組み合わせた無線センサネットワークなどのシステムが考えられる。このようなシステムのセンサ端末機器に、本発明に係るパルス無線通信装置を適用すれば、パルス無線通信装置自体をセンサとしても機能させることで、センシング結果のデータを他の機器へ無線伝送することや、センサ間データ通信などを、同一のパルス無線通信装置にて実現することができる。一般には、無線データ送受信部とセンサ部とは別に構成されるが、本発明に係るパルス無線通信装置を適用することで単純構成および低コストのシステムとなる。特に、多数のセンサ端末機器を使用するシステムにおいて、単純構成および低コストという利点を生かすことができる。
なお、本発明のパルス無線通信装置自体をセンサとして機能させるには、本発明のパルス無線通信装置から空間へ放射した高周波パルス信号を送信RF信号とし、送信RF信号の被測定物による反射波を受信RF信号とし、受信RF信号が前記放射型発振器に入射するときに、前記放射型発振器を発振動作させておき、前記放射型発振器自身によるホモダインミキシングによりIF信号を取得し、解析及び処理することに基づいて、被測定物の検知を行うようにすればよい。
本発明の第1実施形態に係るパルス無線通信装置における放射型発振器基板の模式図である。 放射型発振器における導体パッチおよびマイクロ波トランジスタの構成説明図である。 第1実施形態に係るパルス無線通信装置における放射型発振器基板の第1改変例を示す模式図である。 第1実施形態に係るパルス無線通信装置における放射型発振器基板の第2改変例を示す模式図である。 第1実施形態に係るパルス無線通信装置における放射型発振器基板の第3改変例を示す模式図である。 本発明の第2実施形態に係るパルス無線通信装置における放射型発振器基板の模式図である。 第2実施形態に係るパルス無線通信装置における放射型発振器基板の第1改変例を示す模式図である。 本発明に適用可能な共振キャビティの第1構成例の模式図である。 本発明に適用可能な共振キャビティの第2構成例の模式図である。 本発明に適用可能な共振キャビティの第3構成例の模式図である。 本発明に適用可能な共振キャビティの第4構成例の模式図である。 本発明に適用可能な共振キャビティの第5構成例の模式図である。 本発明に適用可能な共振キャビティの第6構成例の模式図である。 本発明に適用可能な共振キャビティの第7構成例の模式図である。 本発明に適用可能な共振キャビティの第8構成例の模式図である。 本発明に適用可能な共振キャビティの第9構成例の模式図である。 本発明に適用可能な共振キャビティの第10構成例の模式図である。 本発明に適用可能な共振キャビティの第11構成例の模式図である。 本発明に適用可能な共振キャビティの第12構成例の模式図である。 本発明の第3実施形態に係るパルス無線通信装置の概略構成図である。 本発明の第4実施形態に係るパルス無線通信装置の概略構成図である。 本発明の第5実施形態に係るパルス無線通信装置の概略構成図である。 本発明の第6実施形態に係るパルス無線通信装置の概略構成図である。
符号の説明
S1,S1a,S1b,S1c,S2,S2a,S3 平面放射型発振器基板
1 高周波トランジスタ
2 ゲート電極
3 ドレイン電極
4 導体パッチ
5a,5b RFチョーク回路
7 モノパルス発生回路
8 ソース電極
9 インピーダンス線路
10 表面側誘電体基板
11 裏面側誘電体基板
12 内層GND
100 IF帯負荷手段
101 IF信号出力端子

Claims (9)

  1. 共振キャビティに負性抵抗を発生するように3電極高周波増幅素子を集積化させるとともに、電磁波を空間へ放射するアンテナ機能を共用させるように放射型発振器を構成し、
    送信データ信号に基づいて、前記3電極高周波増幅素子を短時間動作させることにより短時間の負性抵抗を得て、この負性抵抗と前記共振キャビティの構造に基づいて定まる発振周波数・周波数帯域幅の高周波パルス信号を発生すると同時に空間へ放射し、
    この空間へ放射した高周波パルス信号が送信RF信号であり、
    外部の無線通信装置より到来した受信RF信号が前記放射型発振器に入射するときに、前記放射型発振器を発振動作させておき、前記放射型発振器自身によるミキシングによりIF信号を取得することに基づいて、受信データ信号を得るようにしたことを特徴とするパルス無線通信装置。
  2. 前記放射型発振器の3電極高周波増幅素子における3電極は、被制御電流流入電極と被制御電流流出電極と制御電極であり、
    前記被制御電流流入電極または被制御電流流出電極にモノパルス信号を供給し、このモノパルス信号自体の電力を電源電力として短時間の負性抵抗を得るようにし、
    前記被制御電流流入電極とモノパルス信号の給電路との間にIF帯負荷手段を挿入し、そのIF帯負荷手段と被制御電流流入電極との間より前記IF信号を取り出すか、あるいは、前記被制御電流流出電極とモノパルス信号の給電路との間にIF帯負荷手段を挿入し、そのIF帯負荷手段と被制御電流流出電極との間より前記IF信号を取り出すように構成したことを特徴とする請求項1に記載のパルス無線通信装置。
  3. 前記放射型発振器の3電極高周波増幅素子における3電極は、被制御電流流入電極と被制御電流流出電極と制御電極であり、
    前記制御電極にモノパルス信号を供給することで、短時間の被制御電流が流れるようにして短時間の負性抵抗を得るようにし、
    前記被制御電流流入電極と直流電源の給電路との間にIF帯負荷手段を挿入し、そのIF帯負荷手段と被制御電流流入電極との間より前記IF信号を取り出すか、あるいは、前記被制御電流流出電極と直流電源の給電路との間にIF帯負荷手段を挿入し、そのIF帯負荷手段と被制御電流流出電極との間より前記IF信号を取り出すように構成したことを特徴とする請求項1に記載のパルス無線通信装置。
  4. 前記放射型発振器にモノパルス信号発生回路を集積化したことを特徴とする請求項2又は請求項3に記載のパルス無線通信装置。
  5. 発振動作中およびミキシング動作中の前記放射型発振器の3電極高周波増幅素子が有する直流からIF帯における増幅利得により、IF信号を増幅するようにしたことを特徴とする請求項1〜請求項4の何れか1項に記載のパルス無線通信装置。
  6. 前記送信RF信号の高周波パルス信号にパルス列パターンを設定し、前記放射型発振器自身を相関器として用いたことを特徴とする請求項1〜請求項5の何れか1項に記載のパルス無線通信装置。
  7. 前記受信RF信号が前記放射型発振器に入射するときに、その受信RF信号の高周波パルス信号の周波数に対し、それとは異なる任意の周波数で前記放射型発振器を発振動作させるようにしたことを特徴とする請求項1〜請求項6の何れか1項に記載のパルス無線通信装置。
  8. 前記放射型発振器の放射面から適宜距離を隔てて配置され、所要周波数の電波を選択的に濾波する周波数選択性濾波手段を備えたことを特徴とする請求項1〜請求項7の何れか1項に記載のパルス無線通信装置。
  9. 前記放射型発振器の放射方向側に、放射する高周波パルス信号の周波数より低い周波数の不要信号成分の漏洩を防止する接地導体構造を設けたことを特徴とする請求項1〜請求項8の何れか1項に記載のパルス無線通信装置。
JP2008261670A 2008-10-08 2008-10-08 パルス無線通信装置 Expired - Fee Related JP5364921B2 (ja)

Priority Applications (4)

Application Number Priority Date Filing Date Title
JP2008261670A JP5364921B2 (ja) 2008-10-08 2008-10-08 パルス無線通信装置
US13/123,338 US8705652B2 (en) 2008-10-08 2009-10-06 Pulse wireless communication device
CN200980144390.7A CN102210059B (zh) 2008-10-08 2009-10-06 脉冲无线通信装置
PCT/JP2009/067683 WO2010041753A1 (ja) 2008-10-08 2009-10-06 パルス無線通信装置

Applications Claiming Priority (1)

Application Number Priority Date Filing Date Title
JP2008261670A JP5364921B2 (ja) 2008-10-08 2008-10-08 パルス無線通信装置

Publications (2)

Publication Number Publication Date
JP2010093547A true JP2010093547A (ja) 2010-04-22
JP5364921B2 JP5364921B2 (ja) 2013-12-11

Family

ID=42100699

Family Applications (1)

Application Number Title Priority Date Filing Date
JP2008261670A Expired - Fee Related JP5364921B2 (ja) 2008-10-08 2008-10-08 パルス無線通信装置

Country Status (4)

Country Link
US (1) US8705652B2 (ja)
JP (1) JP5364921B2 (ja)
CN (1) CN102210059B (ja)
WO (1) WO2010041753A1 (ja)

Cited By (3)

* Cited by examiner, † Cited by third party
Publication number Priority date Publication date Assignee Title
WO2016199538A1 (ja) * 2015-06-08 2016-12-15 日立オートモティブシステムズ株式会社 扁平ビーム生成アンテナを有するセンサ
JP2019054546A (ja) * 2018-12-03 2019-04-04 日立オートモティブシステムズ株式会社 扁平ビーム生成アンテナを有するセンサ
KR102057154B1 (ko) * 2012-07-04 2019-12-18 베가 그리이샤버 카게 도파로 커플링, 고주파 모듈, 충전 레벨 레이더, 및 사용 방법

Families Citing this family (8)

* Cited by examiner, † Cited by third party
Publication number Priority date Publication date Assignee Title
JP5761585B2 (ja) * 2008-10-07 2015-08-12 国立研究開発法人情報通信研究機構 パルスレーダ装置
GB2516884B (en) * 2013-08-02 2017-01-04 Canon Kk FET Terahertz detector with large bandwidth and large dynamic range
US9958540B2 (en) * 2015-02-24 2018-05-01 S-1 Corporation Ultra-wideband transceiver, signal transmission and reception method thereof, and ultra-wideband radar sensor including the same
IL246991B (en) 2016-07-27 2018-02-28 Elbit Systems Land & C4I Ltd Reducing energy consumption in a wideband integrated power amplifier
US11346875B2 (en) 2018-02-27 2022-05-31 Applied Materials, Inc. Micro resonator array sensor for detecting wafer processing parameters
CN115513666B (zh) * 2022-08-29 2023-11-10 江苏亿连通信技术有限公司 一种毫米波频段的宽带开缝圆形贴片天线单元
CN115514321A (zh) * 2022-11-20 2022-12-23 上海三菲半导体有限公司 一种用于超宽带光信号探测及放大的电路装置及方法
CN115603061B (zh) * 2022-11-29 2023-02-17 中国人民解放军国防科技大学 一种三维超宽带能量选择表面

Citations (3)

* Cited by examiner, † Cited by third party
Publication number Priority date Publication date Assignee Title
JP2000261234A (ja) * 1999-03-05 2000-09-22 Communication Research Laboratory Mpt 平面放射型発振装置
JP2007124628A (ja) * 2005-09-29 2007-05-17 Univ Of Tokyo スイッチトアンテナ及びパルスジェネレータ及び関連装置
WO2007114522A1 (ja) * 2006-03-31 2007-10-11 National Institute Of Information And Communications Technology 無線ネットワークシステム

Family Cites Families (11)

* Cited by examiner, † Cited by third party
Publication number Priority date Publication date Assignee Title
US3702977A (en) * 1971-10-28 1972-11-14 Kjell Olow Ingemar Olsson Device for generating microwave oscillations
DE3855146T2 (de) * 1987-06-26 1996-08-08 Texas Instruments Inc Monolithischer Mikrowellen-Sender/Empfänger
JP3355337B2 (ja) * 2000-03-06 2002-12-09 独立行政法人通信総合研究所 平面構造放射型発振装置
GB2389255B (en) * 2002-05-31 2005-08-31 Hitachi Ltd Apparatus for radio telecommunication system and method of building up output power
JP4226880B2 (ja) 2002-11-29 2009-02-18 三星電子株式会社 超広帯域無線送信装置
WO2005069905A2 (en) * 2004-01-16 2005-08-04 Ghz Tr Corporation Methods and apparatus for automotive radar sensors
US7158814B2 (en) * 2004-06-10 2007-01-02 Interdigital Technology Corporation Method and system for utilizing smart antennas establishing a backhaul network
US7265711B2 (en) * 2004-06-29 2007-09-04 Kyocera Corporation High-frequency oscillator, high-frequency transmission-reception apparatus using the same, radar apparatus, and radar-apparatus-equipped vehicle and small boat equipped with the same
JP2007300159A (ja) * 2006-04-27 2007-11-15 Sharp Corp 回路ユニット、電源バイアス回路、lnb、およびトランスミッタ
WO2008120826A1 (ja) 2007-04-02 2008-10-09 National Institute Of Information And Communications Technology マイクロ波・ミリ波センサ装置
JP5099493B2 (ja) 2007-09-28 2012-12-19 独立行政法人情報通信研究機構 無線通信ネットワークシステム

Patent Citations (3)

* Cited by examiner, † Cited by third party
Publication number Priority date Publication date Assignee Title
JP2000261234A (ja) * 1999-03-05 2000-09-22 Communication Research Laboratory Mpt 平面放射型発振装置
JP2007124628A (ja) * 2005-09-29 2007-05-17 Univ Of Tokyo スイッチトアンテナ及びパルスジェネレータ及び関連装置
WO2007114522A1 (ja) * 2006-03-31 2007-10-11 National Institute Of Information And Communications Technology 無線ネットワークシステム

Cited By (6)

* Cited by examiner, † Cited by third party
Publication number Priority date Publication date Assignee Title
KR102057154B1 (ko) * 2012-07-04 2019-12-18 베가 그리이샤버 카게 도파로 커플링, 고주파 모듈, 충전 레벨 레이더, 및 사용 방법
KR102061134B1 (ko) * 2012-07-04 2019-12-31 베가 그리이샤버 카게 기밀 도파관 커플링, 고주파수 모듈, 충진-레벨 레이더 및 이용
WO2016199538A1 (ja) * 2015-06-08 2016-12-15 日立オートモティブシステムズ株式会社 扁平ビーム生成アンテナを有するセンサ
JP2017005429A (ja) * 2015-06-08 2017-01-05 日立オートモティブシステムズ株式会社 扁平ビーム生成アンテナを有するセンサ
US10921442B2 (en) 2015-06-08 2021-02-16 Hitachi Automotive Systems, Ltd. Sensor with flat-beam generation antenna
JP2019054546A (ja) * 2018-12-03 2019-04-04 日立オートモティブシステムズ株式会社 扁平ビーム生成アンテナを有するセンサ

Also Published As

Publication number Publication date
US20110255634A1 (en) 2011-10-20
US8705652B2 (en) 2014-04-22
CN102210059A (zh) 2011-10-05
WO2010041753A1 (ja) 2010-04-15
JP5364921B2 (ja) 2013-12-11
CN102210059B (zh) 2014-07-02

Similar Documents

Publication Publication Date Title
JP5364921B2 (ja) パルス無線通信装置
JP5761585B2 (ja) パルスレーダ装置
JP5565823B2 (ja) パルス信号発生装置
Hu et al. A SiGe BiCMOS transmitter/receiver chipset with on-chip SIW antennas for terahertz applications
US7589686B2 (en) Small ultra wideband antenna having unidirectional radiation pattern
US9236656B2 (en) Radio frequency antenna circuit
US7545339B2 (en) Planar antenna apparatus for ultra wide band applications
Chi et al. A quasi-optical amplifier
US8380140B2 (en) Microwave/millimeter wave communication apparatus
RU2594343C1 (ru) Активная приемопередающая антенна широкова
JP2001053544A (ja) アンテナ一体型増幅器モジュール
JP4911613B2 (ja) マイクロ波・ミリ波通信装置
JP2006340202A (ja) アンテナ装置およびこれを備えた無線通信装置
JP2010283500A (ja) 極短パルス発生装置
US20250105518A1 (en) Backplane for metasurface antenna with an amplifier driven by drive circuitry
CN104347960B (zh) 主动式天线裝置
EP1036423A2 (en) Method and arrangement relating to antennas
Shinde et al. Design of Compact UWB Printed Slot Antenna for GPS, GSM &Bluetooth Applications
CN120261966A (zh) 一种基于片上天线-脉冲源同片集成的高频收发芯片
Mahadzir et al. Low noise active integrated antenna (lnaia)
Chen et al. 24-GHz microstrip grid array antenna excited by capacitive slot

Legal Events

Date Code Title Description
A621 Written request for application examination

Free format text: JAPANESE INTERMEDIATE CODE: A621

Effective date: 20111003

A131 Notification of reasons for refusal

Free format text: JAPANESE INTERMEDIATE CODE: A131

Effective date: 20130604

A521 Request for written amendment filed

Free format text: JAPANESE INTERMEDIATE CODE: A523

Effective date: 20130703

TRDD Decision of grant or rejection written
A01 Written decision to grant a patent or to grant a registration (utility model)

Free format text: JAPANESE INTERMEDIATE CODE: A01

Effective date: 20130806

A61 First payment of annual fees (during grant procedure)

Free format text: JAPANESE INTERMEDIATE CODE: A61

Effective date: 20130821

R150 Certificate of patent or registration of utility model

Free format text: JAPANESE INTERMEDIATE CODE: R150

Ref document number: 5364921

Country of ref document: JP

Free format text: JAPANESE INTERMEDIATE CODE: R150

S533 Written request for registration of change of name

Free format text: JAPANESE INTERMEDIATE CODE: R313533

R350 Written notification of registration of transfer

Free format text: JAPANESE INTERMEDIATE CODE: R350

R250 Receipt of annual fees

Free format text: JAPANESE INTERMEDIATE CODE: R250

R250 Receipt of annual fees

Free format text: JAPANESE INTERMEDIATE CODE: R250

R250 Receipt of annual fees

Free format text: JAPANESE INTERMEDIATE CODE: R250

R250 Receipt of annual fees

Free format text: JAPANESE INTERMEDIATE CODE: R250

R250 Receipt of annual fees

Free format text: JAPANESE INTERMEDIATE CODE: R250

R250 Receipt of annual fees

Free format text: JAPANESE INTERMEDIATE CODE: R250

LAPS Cancellation because of no payment of annual fees