JP2010089952A - チラシ用端数束作成装置 - Google Patents

チラシ用端数束作成装置 Download PDF

Info

Publication number
JP2010089952A
JP2010089952A JP2008264220A JP2008264220A JP2010089952A JP 2010089952 A JP2010089952 A JP 2010089952A JP 2008264220 A JP2008264220 A JP 2008264220A JP 2008264220 A JP2008264220 A JP 2008264220A JP 2010089952 A JP2010089952 A JP 2010089952A
Authority
JP
Japan
Prior art keywords
bundle
sorting
leaflet
unit
fraction
Prior art date
Legal status (The legal status is an assumption and is not a legal conclusion. Google has not performed a legal analysis and makes no representation as to the accuracy of the status listed.)
Granted
Application number
JP2008264220A
Other languages
English (en)
Other versions
JP5173729B2 (ja
Inventor
Hiroyuki Takeda
弘行 武田
Masahiro Toshitani
真宏 利谷
Kiyoshi Nakayama
清 中山
Current Assignee (The listed assignees may be inaccurate. Google has not performed a legal analysis and makes no representation or warranty as to the accuracy of the list.)
Nichiro Kogyo Co Ltd
Original Assignee
Nichiro Kogyo Co Ltd
Priority date (The priority date is an assumption and is not a legal conclusion. Google has not performed a legal analysis and makes no representation as to the accuracy of the date listed.)
Filing date
Publication date
Application filed by Nichiro Kogyo Co Ltd filed Critical Nichiro Kogyo Co Ltd
Priority to JP2008264220A priority Critical patent/JP5173729B2/ja
Publication of JP2010089952A publication Critical patent/JP2010089952A/ja
Application granted granted Critical
Publication of JP5173729B2 publication Critical patent/JP5173729B2/ja
Active legal-status Critical Current
Anticipated expiration legal-status Critical

Links

Images

Landscapes

  • Sheets, Magazines, And Separation Thereof (AREA)

Abstract

【課題】チラシ用端数束作成に関し、稼動中のジャム発生を防止し、端数束を能率よくきれいに作成できるチラシ用端数束作成装置の提供。
【解決手段】仕分け前の既知枚数チラシ束(供給束P)から必要枚数の仕分け束Rを分離する。仕分け部3と集合部5、これらをつなぐ連絡搬送部4を備える。連絡搬送部4は送り出し装置11と中間コンベア装置12を備えたものとする。送り出し装置11の送り出し爪39は、供給束Pから分離した仕分け束Rを、仕分け部3から中間コンベア装置12に送り出し、集合部5まで移動させる。連絡搬送部4において、中間コンベア装置12の送り速度を送り出し爪39による仕分け束Rの搬送速度よりも大きくする。仕分け部3、連絡搬送部4及び集合部5におけるチラシ束の受け面や搬送面は、チラシ束の下面をそれぞれの搬送方向に平行な両側部分で持ち上げてチラシ束の中央部を低く湾曲させる構造とすることがある。
【選択図】図1

Description

この発明は、既知で一定枚数のチラシ束を基準として、これから必要枚数を分離(仕分け)して目的のチラシ束としたり、逆に必要枚数に不足する枚数を仕分けして既知で一定枚数のチラシ束に追加して目的のチラシ束とする(集合)など、既知で一定枚数のチラシ束に対して端数となるチラシ束を作成するチラシ用端数束作成装置に関する。
チラシは印刷所で一挙大量に印刷された後、配送センターから全国各地の配布拠点に向けて必要枚数が束として発送される。印刷所から配送センターに届くチラシは例えば、2000枚をまとめたいわゆる丸梱(既知で一定枚数のチラシ束の一つ)で送られてくるので、配送センターでは丸梱からそれぞれに必要な枚数を束にした端数束を作成して分配する。端数束のチラシ枚数はさまざまであり、丸梱より少ない場合と丸梱よりも多い場合がある。
特許文献1は、仕分け部、連絡搬送部(横送り)及び集合部を備えた冊本束の仕分け方法と装置を開示し、第1コンベアにより、丸梱(この場合、冊本の束)を仕分け部に供給束として送り込み、第1リフターで持ち上げ、設定した基準位置よりも上方部分を区分け爪及び区分け板で分離して仕分け束としている。仕分け束は、プッシャーなどを有する連絡搬送部で集合部に送り込まれ、第2リフターで下方に移動され、そのまま、あるいは別途に送り込まれてくる丸梱と合わせて第2コンベアによって次工程へ送り出す構成である。
特許文献2は、折り込み広告(チラシ)の束から必要枚数を分取(仕分け)する紙分取装置を提案している。この分取装置はチラシ用端数束作成装置である。
特許第3327993号公報 特許第3680079号公報
前記のように、冊本用やチラシ用の端数束作成装置であって、仕分け部、連絡搬送部及び集合部を備え、既知枚数の供給束から仕分け束を区分け爪や区分け板によって分離し、これを横送りしてそのまま、あるいは丸梱と集合して端数束とする技術的思想は、特許文献1,2のように公知である。
しかし、チラシの仕分け束はやわらかく、特許文献1,2の技術では、仕分け部から連絡搬送部を経て集合部に移動させる間にめくれたり、仕分け束の枚数が少ない場合には、後ろから押されて中間部が盛り上がったりし、ジャムを起こしやすい。
特に折り返しのチラシを扱う場合に、区分け板が折り返し片の間に差し込まれると下側の半片が垂れ下がり、仕分け部から連絡搬送部へ移される際にジャムしやすい。また、チラシ一枚は薄いので、チラシ束の断裁面に区分け爪を差し込むときにも上下のチラシが接着していたりして、チラシが確実に分離されたきれいな区分け空間を作れないことがある。上下のチラシが確実に分離されていない空間に区分け板を差し込むとジャムが発生する。
問題は、ジャムばかりでなく、一枚のチラシは薄いので、供給束の枚数を把握するべく、チラシ束の高さを測定するときはより正確さが必要とされるのであるが、薄いチラシは表面が波打っていたりするので、測定枚数に誤差の生じることがある。
さらに、仕分け束を丸梱と集合するとき、仕分け束の側面が丸梱の側面から突出していたりすると、梱包の際に緊縛テープによって突出している部分が損傷してしまう。このことは、仕分け束を横送りして集合部に到達させたとき、その位置を扱うチラシの大きさに合わせて正確に行う必要のあることを意味する。
この発明は、チラシ用端数束作成に関し、稼動中のジャム発生を防止し、端数束を能率よくきれいに作成できるチラシ用端数束作成装置の提供を課題とする。
仕分け前の既知枚数チラシ束(供給束)から必要枚数の仕分け束を分離する装置とする。
装置は、仕分け部と集合部及びこれらをつなぐ連絡搬送部を備え、これらは仕分け束の搬送方向に配置される。また、これらのチラシ受け面や搬送面はほぼ同一の水平面に配置される。
連絡搬送部は送り出し爪と中間コンベア装置を備えたものとする。
送り出し爪は、供給束から分離した仕分け束を、仕分け部から中間コンベア装置に送り出し、集合部まで移動させる。
そして、連絡搬送部において、中間コンベア装置の送り速度を送り出し爪による仕分け束の搬送速度よりも大きくする。
仕分け部、連絡搬送部及び集合部におけるチラシ束の受け面や搬送面は、チラシ束の下面をそれぞれの搬送方向に平行な両側部分で持ち上げてチラシ束の中央部を低く湾曲させる構造とすることがある。
供給束から仕分け束を区分けする際にエアジェットを利用することがある。
仕分け部においてチラシの大きさを測定し、そのデータを集合部における仕分け束の位置規制に利用することがある。
供給束の高さを測定するのにレーザーを利用し、測定点をチラシを押圧する部材上に設定する測定方法とすることがある。
連絡搬送部において、中間コンベア装置の送り速度を送り出し爪による仕分け束の搬送速度よりも大きくしてあるので、仕分け束が送り出し爪によって押されることにより中間コンベア装置へ移動されるとき、仕分け束は中間コンベア装置上へ引き込まれるようにして移動する。このため、仕分け束の下面側に折チラシの半片が垂れ下がるような状況でも、チラシがジャムすることなく、仕分け束がスムーズに搬送される。
連絡搬送部において仕分け束の搬送方向両側が持ち上げられることにより、仕分け束が湾曲された状態であると搬送方向で仕分け束の剛性が増し、特に仕分け束が薄い場合に、後ろから押されることで中間部が盛り上がるように変形してジャムに至ってしまう事態や積み重なったチラシが搬送方向に直行する方向で崩れてしまうなどの事態を避けることができる。これにより仕分け束がスムーズに搬送される。
仕分け部においてチラシの大きさを測定し、そのデータによって集合部における仕分け束の位置を規制すると、集合時に丸梱と仕分け束の位置が一致し、端数束の側面に段差が生じない。このため、梱包時に緊縛用のテープで端数束を損傷してしまうことがない。
供給束の高さ測定をチラシ押圧部材に設定した測定点を測定することにより行うと、薄いチラシの表面が波打つことにより生じる誤差を解消することができる。
図は、実施例としてのチラシ用端数束作成装置1の概要を説明するためのものであり、概略で示している。図1に示す各部品は、図2に破線で示す機枠2に直接または補助部材を用いて連繋させることにより固定されている。固定するための支持構造や特に説明を要しない部品は、図の煩雑を避けるために省略されている。
チラシ用端数束作成装置1は、図1のように、大きくわけて仕分け部3、連絡搬送部4、集合部5及び制御部6とで構成される。
仕分け部3は、第1コンベア装置7、第1リフター8、仕分け装置9及び高さ測定装置10を備える。
連絡搬送部4は、送り出し装置11と中間コンベア装置12を備える。
集合部5は、第2コンベア装置13と第2リフター14及びフォーク装置15を備える。
制御部6は、制御装置16と目的箇所に配置されたセンサーとアクチュエータとからなり、制御装置16はシーケンスプログラムと計算プログラム及び監視プログラム及び必要なデータを納めたROMやRAMを備え、制御部6はこれらで計算手段や制御手段を構成する。
〔仕分け部〕
a.第1コンベア装置
第1コンベア装置7は、図3に矢印で示すように供給束Pとしての丸梱を縦方向に搬送して、第1リフター8との受け渡し位置に置くものである。そのベルトは凹凸に案内されて巡回し、このベルトで構成される搬送面は、縦方向の前後に横方向の凹み箇所を有する。
なお、説明の都合上、この明細書において、図2に見る機枠2の高さ方向を上下、図3に見る機枠2の長手方向を横方向、これに直交する方向を縦方向とし、仕分け束Rの搬送方向は、横方向で右が前方であるとする(以下、搬送方向前方のように記載する)。
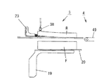
b.第1リフター
第1リフター8(図4,5)は、上下方向に固定したボールねじ17にボールナット18を螺合してあり、ボールナット18にステー19を介して載置板20が固定されている。載置板20は二股に分かれた水平な板であって(図3)、第1リフター8が載置板20を下方の受け渡し位置としているとき、前記第1コンベア装置7の凹み箇所に位置して第1コンベア装置7の搬送面よりも下方となる。
符号21はリニアガイドであり、ボールねじ17の両側で機枠2へ平行に固定されており、載置板20を支持したステー19の基部を案内する。符号22は第1モーターであり、制御装置16の管理下でボールねじ17を駆動回転する。
c.仕分け装置
仕分け装置9は、区分け爪23と区分け板24(図3,4)及びこれらの駆動機構を備える。区分け爪23と区分け板24は、図3のように、機枠2に関して縦方向のほぼ中央に、かつ、水平に、また、区分け板24の上面に区分け爪23が接する程度に近接して配置される。
区分け爪23は、水平な板で前端が尖り、また、刃状に薄く形成されている。区分け爪23は、一端が機枠2に取り付けられたエアーアクチュエータ25によって横方向で前後に、又、水平に往復駆動される。前後移動のストロークは、第1コンベア7の搬送領域の直上であって、平面視でこの領域に重ならない退避位置から、前記の搬送領域に50mm程度突出する範囲である。エアーアクチュエータ25の作動は制御装置16の管理下にある。図6において、符号26はステーで区分け爪23を固定しており、機枠2に固定された横方向のリニアガイド27に案内される。
そして、この区分け爪23は先端部に下方に向けたエアノズル28を備える(図7)。エアノズル28には、圧縮エアが供給されるエアジェット手段が接続されており、エアジェット手段のエア供給タイミングは制御装置16の管理下にある。
区分け板24は、図3,8に示すように、比較的大きな面積を備えた水平な板であり、横方向後部の縦方向に長い支持部分29とその前部中央から横方向前方へ突出した受け板部分30とからなっている。区分け板24は、機枠2に固定された水平なロッドレスシリンダー31(図1)によって、支持部分29の縦方向前後が機枠2に固定されたリニアガイド31aに案内され、横方向前後に往復移動する。前後移動のストロークは、第1コンベア7の搬送領域の直上であって、平面視でこの領域に重ならない退避位置から連絡搬送部4の直前までの範囲である。
そして、区分け板24の前記受け板部分30の両側には、リブ32が横方向で平行に固定され、チラシ束の下面を搬送方向に平行な両側部分で持ち上げてチラシ束を湾曲させる構造としてある。リブ32の高さは10mm程度で受け板部分30に載置された仕分け束Rを横方向の中央を軸にして湾曲させる。
d.高さ測定装置
高さ測定装置10は、チラシ押さえ機構33とレーザー測定器34を備える(図9,10)。
チラシ押さえ機構33は、垂直に固定されたエアーアクチュエータ35と、エアーアクチュエータ35が有するロッド37の先端に固定された押圧部材38および垂直に固定されたリニアガイド36を備える。押圧部材38はステーを介してリニアガイド36に案内されている。このエアーアクチュエータ35はロッド37の上下移動に軽い圧力を付与するためのもので、供給束Pに圧力を付与するとともに、供給束Pの上下移動に追従して移動することができる圧調整構造を備えたものとなっている。供給束Pに対する圧力は、チラシの層から供給束Pの高さ測定に影響を与える空隙や表面の波打ちを消滅させる程度である。
チラシ押さえ機構33は仕分け装置9の上方に位置し、供給束Pが無い状態で、ロッド37が下方移動の終端に達したとき押圧部材38の下面が前記区分け爪23の先端位置と一致する配置とされている。この位置は、レーザー測定器34の0点位置であり、仕分けのための基準位置である。
基準位置を含む水平面であって、区分け爪23の先端から前方でほぼ載置板20に載置された供給束Pの範囲が区分け領域といえる。
レーザー測定器34は市販ものであり、チラシ押さえ機構33のエアーアクチュエータ35を機枠2へ固定する箇所に取り付けられている。この測定器34は、上下に変位する押圧部材38上の定点をレーザービームで検出し、そのときのビームの傾斜角度の大きさから押圧部材38の高さをデータ化する。なお、レーザー測定器34の検出データは制御装置16に伝達され、計算手段により、別途入力された仕分け枚数とから仕分け束Rの厚さが算出される。なお、供給束Pの厚さ(高さ)は、押圧部材38の厚さなど前記の定点位置から基準位置までの寸法(高さ)を勘案した補正値とすることが必要である。
〔連絡搬送部〕
a.送り出し装置
送り出し装置11(図11)は、送り出し爪39とリニアガイド40、ロッドレスシリンダー41及びエアーアクチュエータ42を備える。リニアガイド40は機枠2の両側に横方向で平行に固定され、これの一方に隣接してロッドレスシリンダー41が機枠2に固定されている。
送り出し爪39は横方向後部を直角に下方へ屈曲した鈎形であり、2本が縦方向で間隔を取り、横方向へ平行に配置されている(図12)。これらは、前方の基部が縦方向の軸43に取り付けられ、この軸43を中心にして上下方向で回動可能である。軸43は基板44に軸支され、基板44はリニアガイド40に案内され、ロッドレスシリンダー41のスライダー45と連繋されている。これにより、送り出し爪39は横方向で前後に移動可能である。エアーアクチュエータ42は連絡板46を介して、両側の送り出し爪39の背部中間と基板44をつなぎ、送り出し爪39の上下回動を行う。
送り出し爪39は、横方向移動の後端(実線表示)で下端位置まで回動され、前端位置(破線表示)で上端位置まで回動される。そして、送り出し爪39は、回動の下端位置において、直角に下方へ屈曲した部分の前面47(図11)が垂直となり、そのままの状態で横方向移動の前端まで移動され、前端位置からは上端まで回動された状態で後端位置まで戻る作動となる。この作動は、制御装置16によって行われる。
送り出し爪39の前記後端位置と前端位置間の距離は、仕分け部3における仕分け束Rを、その仕分け部3から集合部5の仕分け束Rの位置まで送る距離である。
b.中間コンベア装置
中間コンベア装置12は、基体48、これに巻回されたベルト49、第2モーター50及びベルト49の横方向両側に配置されたローラー列51を備える(図13、14)。
ベルト49は第2モーター50によって駆動され、上部の搬送面52を水平とし、仕分け部3側から集合部5側へ横方向に移動する。
そして、ベルト両側のローラー列51は、それぞれ基体48へ回動自在に取り付けられ、回動周面が搬送面52よりも突出する複数のローラーで構成されている。この実施例では、ローラー列51における個々のローラーは、仕分け部3側から集合部5側へ順次直径が大きく、これらの突出量が徐々に大きくなるようにされ、チラシ束の下面を搬送方向に平行な両側部分で持ち上げてチラシ束を湾曲させる構造としてある。ローラーの最終的な突出量は10mmである。
第2モーター50がベルト49を送る速度は、前記送り出し爪39がロッドレスシリンダー41によって移動される速度よりも2%ほど大きくなるように設定してある。
〔集合部〕
a.第2コンベア装置
第2コンベア装置13(図1、図15)は、図3に矢印で示すように、仕分け束Rを第2リフター14との受け渡し位置から、梱包などの次工程に搬送するためのものである。第2コンベア装置13の搬送方向上流側には、別途に丸梱を供給する追加コンベア装置53が配置されている。これらコンベアの駆動は制御装置16の管理下にある。
b.第2リフター
第2リフター14(図15)は、第1リフター8と類似の構造であり、上下方向に固定したボールねじ54にボールナット55を螺合してあり、ボールナット55に基体56が固定されている。基体56の上面にはフォーク装置15が取り付けられている。
符号57はリニアガイドであり、ボールねじ54の両側で機枠2へ平行に固定されており、フォーク装置15を取り付けた基体56を案内する。符号58は第3モーターであり、制御装置16の管理下でボールねじ54を駆動回転する。
c.フォーク装置
フォーク装置15(図15)は、フォーク59及びフォーク進退機構60を有する。
フォーク59は複数のフォークバー61を縦方向に間隔を取って平行に備え(図3)、これらの基部(前端)がフォーク進退機構60のスライドプレート62に固定されている。具体的には、複数のフォークバー61はそれぞれスライドプレート62の後部に固定された縦方向に長いブロック63(図16)の孔を貫通して固定されており、ブロック63の孔は、図のように、側面から見て中央がもっとも低くなるように配置されている。このため、フォーク59における複数のフォークバー61は、中央のものが最も低くなる配置で取り付けられ、仕分け束Rの下面を搬送方向に平行な両側部分で持ち上げて湾曲させる構造としてある。
フォーク進退機構60は、基体56の上面に横方向で水平に固定されたロッドレスシリンダー64とその両側のリニアガイド65を備え、スライドプレート62がリニアガイド65に案内されると共にロッドレスシリンダー64のスライダー66と結合されて、フォーク59を横方向で水平に前後往復移動させる構造である。
フォーク装置15は、図15に示すように、突出したフォーク59が下方の第2コンベア装置13における搬送領域の直上に位置するように配置され、往復移動のストロークは前記搬送領域の一端を超える位置から他端を越える位置までの範囲である。
以上において、図3のように、区分け板24、載置板20、中間コンベア装置12の搬送面及びフォーク59は、これらの横方向中心線を平面視において、全体としてのチラシ用端数束作成装置1の横方向に延びる作業中心線Cにほぼ一致させて配置し、また、図1のように、区分け板24の上面、中間コンベア装置12の搬送面及びフォーク59が上端位置にあるときの上面は全体としてチラシ用端数束作成装置1の上下方向で設定した水平面Hに一致させて配置されている。区分け爪23の先端、載置板20が上端位置にあるときのその上面は、基準位置であり、作業水平面Hよりわずかに上方としてある。
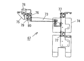
このチラシ用端数作成装置1は、図1に示すように、仕分け部3の仕分け箇所に縦位置整理検出装置67と横位置整理検出装置68を備え、また、集合部5のフォーク59による仕分け束Rの受けとり位置に縦位置整理規制装置69と横位置整理規制装置70を備えている。
符号71は、横振れ整理装置であり、アクチュエータ72の作動で丸梱受け渡し位置における横方向の位置ずれを矯正する。このときの縦方向位置は、第1コンベア装置7のベルトの移動量で定まる。
a.縦位置整理検出装置
縦位置整理検出装置67(図17、18)は、駆動部72と縦方向で間隔を取った2個のステー73と2個の整理検出板74を備える。ステー73の横方向前端と整理検出板74とは結合されており、かつ、ステー73の基部は橋架材75に固定したリニアガイド76に案内されると共に、整理検出板74がリニアガイド76に案内されている。橋架材75は、両端を機枠2へ固定して縦方向に配置されたものであり、整理検出板74のリニアガイド77は、機枠2に縦方向で上下2段に固定されている(図18)。
駆動部72は、橋架材75、これに固定された電動アクチュエータ78、橋架材75の両端部に取り付けたプーリー79とその間に架けまわしたワイヤ80を備える。
電動アクチュエータ78は、内部でボールねじ機構とステッピングモーターを組み合わせた機器であり、ステッピングモーターによりボールナットが回転されることによりボールねじの進退を制御できるものである。また、エンコーダーを備え、整理検出板74の位置情報が制御装置16に伝達される。
電動アクチュエータ78のねじ先端は一方のステー73の基部に固定されると共にワイヤ80の下行部分に固定され、また、ワイヤ80の上行部分に他方のステー73の基部が固定されている。
したがって、電動アクチュエータ78が駆動されると整理検出板74は、図17に示すように、縦方向で対向し、同時に近接して間隔を狭め、同時に離れて間隔を拡大する(背反移動する)。
なお、仕分け部3におけるこの装置67の整理検出板74は、前記作業水平面Hの上方となる部分と下方となる部分とに別れ、整理検出板74が近接したとき、仕分け束Rを載置している区分け板24の縁と干渉しないようにされている。
b.横位置整理検出装置
横位置整理検出装置68(図19,20)は、横方向駆動機構81、整理検出板82及び回転機構83を備える。
横方向駆動機構81は、電動アクチュエータ84と機枠2に対して縦方向に配置された橋架材85を備える。電動アクチュエータ84は機枠2へ横方向に固定され、橋架材85は両端がリニアガイド86を介して機枠2に取り付けられている。電動アクチュエータ84のねじ先端(後方)は橋架材85に取付けられ、電動アクチュエータ84が駆動されると橋架材85が横方向で前後に移動される。
整理検出板82は、垂直な面を持つ平らな板体であるが、図20のように、水平面Hよりも上方の部分82aと下方の部分82bとに分断されている。下方の部分82bは橋架材85に固定されたコ字形のステー87の端に固定されている。
回転機構83はエアーアクチュエータ88、ステー89及び整理検出板82aを備える。エアーアクチュエータ88は、支持部材90(図20)で横方向駆動機構81の橋架材85に固定され、ロッド91を横方向で進退させる。
回転機構の83のステー89は、クランク形であり、基部がエアーアクチュエータ88が備えたロッド91の先端に水平回動可能に軸支92aされると共に先端側が橋架材85の突出部93へ水平回動可能に軸支92bされている。そして、図19の実線状態からロッド91が伸び出すと破線位置へ回動し、整理検出板82aの面が縦方向から横方向の位置となる構成である。
したがって、横方向駆動機構81は、全体が横方向で往復移動すると共に、これとは独立して上方の整理検出板82aを、その面が縦方向と横方向となる位置に往復回動させることができる。そのタイミングとストロークは制御装置16の管理下にある。また、電動アクチュエータ84の作動量からエンコードされた整理検出板82の位置情報が制御装置16に伝達される。
c.縦位置整理規制装置
縦位置整理規制装置69(図21,22)は、図17,18の縦位置整理検出装置67と同様の構成であり、駆動部94と2個のステー95と2個の整理規制板96を備える。ステー95は整理規制板96と結合されるとともに、リニアガイド97と98とに案内され、整理規制板96を取付けている。リニアガイド97に取付けた橋架材99は、両端を機枠2へ固定して縦方向に配置され、整理規制板96のリニアガイド98は、機枠2に縦方向で上下2段に固定されている。ただし、整理規制板96は、上下に分かれることなく、水平面Hよりも上方部分だけである(図22)。
駆動部94は、電動アクチュエータ100、プーリー101及びワイヤ102を備える。
電動アクチュエータ100が駆動されると整理規制板96は、図21に破線で示すように、縦方向で対向し、背反移動する。その作動タイミングとストロークは制御装置16の管理下にある。
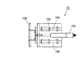
d.横位置整理規制装置
横位置整理規制装置70は、フォーク装置15(図15)の上部へ一体に構成されたものであり、図23,24のように、電動アクチュエータ103とねじ先端部に固定された整理規制板104を備える。整理規制板104は、フォーク装置15の上部に取付けられた基板105上のリニアガイド106に案内される。電動アクチュエータ103が駆動されると整理規制板104は横方向で往復移動される。そのタイミングとストロークは制御装置16の管理下にある。
〔基本的な作動例〕
チラシ2000枚を束ねた供給束Pとしての丸梱(梱包を解いて捌ける状態にしてある)から800枚の端数束を作成する。
高さ測定装置10の押圧部材38を区分け爪23の先端位置(基準位置)に移動させ、この位置を高さ方向のゼロ点位置とする調整を行う。
a.第1コンベア装置7により、供給束Pが第1リフター8との受け渡し位置に搬送される。供給束Pの到着が確認されると第1リフター8によって供給束Pが押し上げられ、その上面が前記の基準位置を越えて上昇し、第1リフター8の載置板20の上面が基準位置に到達して停止する。供給束Pの上面が基準位置を越える位置で供給束Pの上面に高さ測定装置10の押圧部材38が当接する。押圧部材38は、エアーアクチュエータ35の機能により一定の圧力を供給束Pに与えながら、供給束Pに押されて上昇する。
b.載置板20が基準位置に到達した段階で、供給束Pの高さがレーザー測定器34により測定される。そのデータに基づいて必要とする端数束Qの高さを算出し、押し上げた供給束Pの上部が端数として必要な量(800枚)となるように第1リフター8の載置板20を下降させ停止させる。
このとき、供給束Pの上面は、押圧部材38の押圧によりチラシの浮き上がりや波うちが矯正されており、これらによる測定誤差が払拭される。また、レーザー光線が押圧部材38上の定点を測定して高さを算出しているため供給束Pの高さ測定をより正確に行うことができる。
c.縦位置整理検出装置67と横位置整理検出装置68の電動アクチュエータ78及び84が駆動され、基準位置の上下に渡って位置している供給束Pを縦方向の整理検出板74と横方向の整理検出板82とで供給束Pの縦方向、横方向を挟む。これにより、供給束Pの側面を整え、また、全体の位置を定める。同時に、電動アクチュエータ78,84のエンコーダーから移動量のデータが制御装置16に伝達され、制御装置16に設定された基準とするチラシの大きさとの比較から取り扱うチラシの縦横寸法(大きさ)が制御装置16に認識される。
d.区分け爪23を前進させて、先端部を供給束Pの断裁面に差し込み区分け間隙を形成する(図25)。この時、区分け爪23の先端部に設けた下向きのノズルからエアが噴出されて区分け間隙を大きく確実なものにする。
この状態で、区分け板24がロッドレスシリンダー31の作動により区分け間隙に差しこまれ、端数束Qが仕分け束Rとして区分け板24の受け板部分30に支持される。区分け爪23はエアノズル28からの噴出を止め仕分け領域から後退する。
e.載置板20が少し下降され、仕分け束Rが残留分Fから完全に分離される(図26)。
受け板部分30には横方向の両側にリブ32が設けられているので、仕分け束Rは、両側が持ち上げられて中央が低く湾曲された状態となる。
f.連絡搬送部4の送り出し装置11が駆動され、横方向移動の後端位置で上昇していた左右の送り出し爪39がエアーアクチュエータ42により下降される。これによって送り出し爪39における垂直部の前面47が受け板部分30上の仕分け束Rの後面に係合する。同時に、横位置整理検出装置68の整理検出板82a(上部のもの)がエアーアクチュエータ88によって、その面を横方向とされ、仕分け束Rの通過に支障がない位置とされる。
ロッドレスシリンダー41が作動して送り出し爪39をその姿勢を下降位置としたまま前方へ移動する。これにより、仕分け束Rは受け板部分30から中間コンベア装置12のベルト49上に移動される。このとき、ベルト49の搬送速度は送り出し爪39による仕分け束Rの搬送速度よりも少し大きくしてあるので、仕分け束Rは受け板部分30からベルト49へ引き込まれるようにして移動し、中間コンベア装置12の搬送面52への移動がスムーズに行われる。また、移動される仕分け束Rは両側が高く湾曲した態様となっているので、搬送方向に剛性が高く、仕分け束Rが盛り上がったりして、搬送に支障をきたすことがない。
チラシが折チラシである場合、半片と半片との間に区分け板24が進入した状態となり、下方の半片がぶら下がった状態で中間コンベア装置12に到達することがある。しかし、ベルト49の搬送速度のほうが大きいので、ぶら下がった半片もスムーズに引き込まれていき、ジャムすることなく中間コンベア装置12の搬送面52へ移行する。
また、ベルト49の両側には、搬送面52よりも高くなるローラー列51が配置されているので、仕分け束Rが中間コンベア装置12を搬送されるときも仕分け束Rは両側が持ち上げられて中央が低く湾曲された状態となる。この搬送箇所で仕分け束Rの両側が高く湾曲した態様とされていると、多少の振動があっても仕分け束Rの束としての形態が崩れにくい。
g.送り出し装置11の送り出し爪39と中間コンベア装置12のベルト49とで受け板部分30から中間コンベア装置12を経て集合部5に到達した仕分け束Rは、受け取り位置に待機していたフォーク装置15のフォーク59上に押し込まれる。フォーク59への移動は仕分け束Rの前部に抵抗を生じるが、中間コンベア装置12のローラー列51とフォーク59の平行に並んだフォークバー61が両側のものほど高く配置されていることにより、仕分け束Rは中央部が低く湾曲された状態で送られ、搬送方向での剛性が高いので、送り出し爪39によって後方から押されても、中間部が盛り上がるなどの支障を生じない。
h.仕分け束Rがフォーク59上に到達すると、その移動の停止直前に横位置整理規制装置70が作動して電動アクチュエータ103により整理規制板104が所定位置に配置される。所定位置は、仕分け部3において横位置整理検出装置68の整理検出板74によって検出されたチラシの横方向寸法に対応した位置である。すなわち、仕分け部3において、供給されるチラシの位置と姿勢を整えると同時にその大きさを検出し、そのデータに基づいて、集合部5に送り込まれた仕分け束Rの位置と姿勢を整える。
送り出し爪39によって前進してきた仕分け束Rは、送り出し爪39が前端位置に達することで、前記の整理規制板104に当接して停止する。
送り出し爪39はエアーアクチュエータ42によって上方へ回動され、仕分け束Rとの係合を解く。そして、上方に回動された位置を維持したままロッドレスシリンダー41によって後端位置に戻され、その位置で次回の作動のため待機する。
縦位置整理規制装置69が作動して仕分け束Rを縦方向の前後から挟みこみ集合部5における仕分け束Rの位置を決める。この位置はチラシの大きさによって定まり、前記同様、仕分け部3における整理検出板74の移動量から検出したチラシの縦方向寸法に基づいて集合部5における整理規制板96が配置される。
このようにして、フォーク59上で位置と形態を整えられた仕分け束Rは、第2リフター14が作動してフォーク59が第2コンベア装置13に向けて下降する。フォーク59は、第2コンベア装置13の直上50mmの位置まで下降して停止し、フォーク進退機構60のロッドレスシリンダー64が作動してフォーク59を一挙に前方へ引き抜く。すると、仕分け束Rは第2コンベア装置13のベルトに乗り、梱包など、次の工程に搬送される。
次回の端数束Qの作成は、前回の残留分Fを仕分け部3における供給束Pとして同様の作動を繰り返す。ただし、残留分Fを第1コンベア装置7の位置まで戻すことはせず、区分け板24から残留分Fを引き離し、仕分け束Rと残留分Fとを明確に分離できた位置で待機する。これにより次回の仕分け作動へすばやく移行することができる。
〔その他の作動例〕
前記において、残留分Fが次回の端数束Qの量をまかなえる場合は前回と同じ作動となる。しかし、不足する場合は、残留分Fの全量を仕分け束Rとして集合部5に回し、第2コンベア装置13で待機させ、次回の作動で仕分けされた不足分を集合部5で前回の仕分け束R上に載せて一つの端数束Qとして次工程に送りだす。このとき、集合部5における仕分け束Rはフォーク59上でチラシの大きさに合わせた位置に配置されているので、第2コンベア13の上で待機している前回の仕分け束Rに対して次回の仕分け束Rは正確に重なる。このため、梱包などの工程で側面が不揃いなために緊縛テープなどでチラシが損傷してしまう事態を避けることができる。
端数束Qが供給束Pとしての丸梱の枚数を超えるときは、丸梱を集合部5の第2コンベア装置13上に待機させておき、仕分け部3の供給束Pから分離した超過分の仕分け束Rを待機させた丸梱に重ねて端数束Qとする。
以上、実施例としての装置と作動を説明した。
チラシ用端数束作成装置の概要を示す正面図。 機枠と各部材との配置関係を概略で示した正面図。 チラシ用端数束作成装置の概要を示す平面図。 仕分け部の正面図。 仕分け部の側面図。 区分け爪の駆動機構を説明するための平面図。 区分け爪の詳細を示した平面図。 区分け板の駆動機構を説明するための平面図。 高さ測定装置の正面図。 高さ測定装置の平面図。
送り出し装置の正面図。 送り出し装置の平面図。 中間コンベア装置の正面図。 中間コンベア装置の平面図。 集合部の正面図。 フォーク部と横位置整理規制装置の正面図。 縦位置整理検出装置の平面図。 縦位置整理検出装置の正面図。 横位置整理検出装置の平面図。 横位置整理検出装置の正面図。
縦位置整理規制装置の平面図。 縦位置整理規制装置の正面図。 横位置整理規制装置の正面図。 横位置整理規制装置の平面図。 区分け状態を説明するための正面図。 仕分け状態を説明するための正面図。
符号の説明
1 チラシ用端数束作成装置
2 機枠
3 仕分け部
4 連絡搬送部
5 集合部
6 制御部
7 第1コンベア装置
8 第1リフター
9 仕分け装置
10 高さ測定装置
11 送り出し装置
12 中間コンベア装置
13 第2コンベア装置
14 第2リフター
15 フォーク装置
16 制御装置
17 ボールねじ
18 ボールナット
19 ステー
20 載置板
21 リニアガイド
22 第1モーター
23 区分け爪
24 区分け板
25 エアーアクチュエータ
26 ステー
27 リニアガイド
28 エアノズル
29 支持部分
30 受け板部分
31 ロッドレスシリンダー
31a リニアガイド
32 リブ
33 チラシ押さえ機構
34 レーザー測定器
35 エアーアクチュエータ
36 リニアガイド
37 ロッド
38 押圧部材
39 送り出し爪
40 リニアガイド
41 ロッドレスシリンダー
42 エアーアクチュエータ
43 軸
44 基板
45 スライダー
46 連絡板
47 送り出し爪の前面
48 基体
49 ベルト
50 第2モーター
51 ローラー列
52 搬送面
53 追加コンベア装置
54 ボールねじ
55 ボールナット
56 基体
57 リニアガイド
58 第3モーター
59 フォーク
60 フォーク進退機構
61 フォークバー
62 スライドプレート
63 ブロック
64 ロッドレスシリンダー
65 リニアガイド
66 スライダー
67 縦位置整理検出装置
68 横位置整理検出装置
69 縦位置整理規制装置
70 横位置整理規制装置
71 横振れ整理装置
72 アクチュエータ
73 ステー
74 整理検出板
75 橋架材
76 リニアガイド(橋架材側)
77 リニアガイド(整理検出板側)
78 電動アクチュエータ
79 プーリー
80 ワイヤ
81 横方向駆動機構
82a,82b 整理検出板
83 回転機構
84 電動アクチュエータ
85 橋架材
86 リニアガイド
87 コ字形のステー
88 エアーアクチュエータ
89 ステー
90 支持部材
91 ロッド
92a,92b 軸支
93 橋架材の突出部
94 駆動部
95 ステー
96 整理規制板
97 リニアガイド
98 リニアガイド
99 橋架材
100 電動アクチュエータ
101 プーリー
102 ワイヤ
103 電動アクチュエータ
104 整理規制板
105 基板
106 リニアガイド

Claims (8)

  1. 仕分け前の既知枚数チラシ束から必要枚数の仕分け束を分離する装置であって、
    仕分け部と集合部及びこれらをつなぐ連絡搬送部を仕分け束の搬送方向へ配置すると共にこれらのチラシ載置面はほぼ同一の水平面に配置されており、連絡搬送部は送り出し爪と中間コンベア装置とからなり、送り出し爪は仕分け束を仕分け部から中間コンベア装置に送り出し、集合部まで移動させるものであり、連絡搬送部において、中間コンベア装置の送り速度を送り出し爪による仕分け束の搬送速度よりも大きくしてあることを特徴としたチラシ用端数束作成装置。
  2. 仕分け部、連絡搬送部及び集合部におけるチラシ束の載置面は、チラシ束の下面をそれぞれの搬送方向に平行な両側部分で持ち上げてチラシ束を湾曲させる構造としてあることを特徴とした請求項1に記載のチラシ用端数束作成装置。
  3. 仕分け部は、仕分け束を載置する水平な区分け板を備え、その載置面の両側に載置面から突出したリブを仕分け束の搬送方向と平行に設け、チラシ束の下面を搬送方向に平行な両側部分で持ち上げてチラシ束を湾曲させる構造としてあることを特徴とした請求項1又は2に記載のチラシ用端数束作成装置。
  4. 連絡搬送部の中間コンベア装置は、搬送方向の両側に搬送面よりも高く突出するローラー列を設け、チラシ束の下面を搬送方向に平行な両側部分で持ち上げてチラシ束を湾曲させる構造としてあることを特徴とした請求項1〜3のいずれか一つに記載のチラシ用端数束作成装置。
  5. 集合部は仕分け束の搬送方向に平行な複数本のフォークバーを有するフォークを仕分け束の載置面として有し、複数のフォークバーを中央のものが最も低くなる配置で取り付けることにより、チラシ束の下面を搬送方向に平行な両側部分で持ち上げてチラシ束を湾曲させる構造としてあることを特徴とした請求項1〜4のいずれか一つに記載のチラシ用端数束作成装置。
  6. 仕分け部は、区分け爪を備え、区分け爪は定位置に配置されており、区分け爪は仕分け前の既知枚数チラシ束に断裁面側から差し込んで残留分と仕分け束との間に区分け間隙を形成するものであって、先端部に下方に向いたエアノズルを備えると共に、区分け爪を仕分け前の既知枚数チラシ束に差し込むときこのノズルからエアを噴出させるエアジェット手段を備えていることを特徴とした請求項1〜5のいずれか一つに記載のチラシ用端数束作成装置。
  7. 仕分け部に仕分け前の既知枚数チラシ束の縦寸法、横寸法を検出する大きさ検出手段を備え、集合部に仕分け束の縦方向位置、横方向位置を規制する位置合せ手段を備え、さらに、大きさ検出手段における基準値からの変量を位置合せ手段に伝達し、仕分け束の縦方向位置、横方向位置を定める制御手段を備えていることを特徴とした請求項1〜6のいずれか一つに記載のチラシ用端数束作成装置。
  8. 仕分け前の既知枚数チラシ束の高さを測定する高さ測定装置と、その測定値から仕分け束の高さを算出し、仕分け部における区分け爪の位置を仕分け束の高さに設定する制御手段とを備え、測定装置はレーザ測定器とチラシ押圧部材を備え、レーザー光でチラシ押圧部材上に設定した測定点の高さを測定することを特徴とした請求項1〜7のいずれか一つに記載のチラシ用端数束作成装置。
JP2008264220A 2008-10-10 2008-10-10 チラシ用端数束作成装置 Active JP5173729B2 (ja)

Priority Applications (1)

Application Number Priority Date Filing Date Title
JP2008264220A JP5173729B2 (ja) 2008-10-10 2008-10-10 チラシ用端数束作成装置

Applications Claiming Priority (1)

Application Number Priority Date Filing Date Title
JP2008264220A JP5173729B2 (ja) 2008-10-10 2008-10-10 チラシ用端数束作成装置

Publications (2)

Publication Number Publication Date
JP2010089952A true JP2010089952A (ja) 2010-04-22
JP5173729B2 JP5173729B2 (ja) 2013-04-03

Family

ID=42253075

Family Applications (1)

Application Number Title Priority Date Filing Date
JP2008264220A Active JP5173729B2 (ja) 2008-10-10 2008-10-10 チラシ用端数束作成装置

Country Status (1)

Country Link
JP (1) JP5173729B2 (ja)

Citations (3)

* Cited by examiner, † Cited by third party
Publication number Priority date Publication date Assignee Title
JPH08217283A (ja) * 1995-02-08 1996-08-27 Konohana:Kk 冊子類の分離搬送装置
JP2006044915A (ja) * 2004-08-06 2006-02-16 Shisutemakku:Kk 紙分取装置
JP2006305901A (ja) * 2005-04-28 2006-11-09 Brother Ind Ltd インクジェット記録装置

Patent Citations (3)

* Cited by examiner, † Cited by third party
Publication number Priority date Publication date Assignee Title
JPH08217283A (ja) * 1995-02-08 1996-08-27 Konohana:Kk 冊子類の分離搬送装置
JP2006044915A (ja) * 2004-08-06 2006-02-16 Shisutemakku:Kk 紙分取装置
JP2006305901A (ja) * 2005-04-28 2006-11-09 Brother Ind Ltd インクジェット記録装置

Also Published As

Publication number Publication date
JP5173729B2 (ja) 2013-04-03

Similar Documents

Publication Publication Date Title
CN103347788B (zh) 用于从包装底面对单个包装贴标签的装置和方法
US11279056B2 (en) Device for carrying out cutting operations on open format edges of a printed product
US8028821B2 (en) Apparatus for gathering signatures along a conveying section of a circulating conveyor
EP1352830A1 (en) method of and apparatus for automatically packaging products
US9238558B2 (en) Reciprocating placer system
JPH0679848B2 (ja) 一定の張力を与える装置
US10639809B2 (en) Method for operating a device for carrying out cutting operations on open format edges of a printed product
US8123208B2 (en) Process for binding sheets
CN110421982B (zh) 打印封装一体机
JP6580854B2 (ja) 部品供給装置
US8336431B2 (en) Method for trimming multiple edges of a print product
WO2020203973A1 (ja) 寸法可変の箱ブランク製造装置、寸法可変の箱ブランク製造方法、箱ブランクの組み立て方法、および寸法可変の自動包装ライン
US8544371B2 (en) Paperboard slitter machine
JP2020168839A (ja) 寸法可変の蓋製造方法および寸法可変の蓋製造装置
JP5173729B2 (ja) チラシ用端数束作成装置
CA3121978C (en) Multi-conveyor belt based insertion mechanism for pocketed coil springs
CN110271885A (zh) 烫金模切流水线设备
CN210286081U (zh) 烫金模切流水线设备
CN113911776B (zh) 一种分隔定位的印刷工艺
US7988138B2 (en) Gatherer stitcher with variable chain pitch
CN115123614A (zh) 铁心加工系统
JPH08259084A (ja) 連マーカーの付けられた単一シートの積層体から大きな未結束の連を自動的に選り分けるための方法および装置
JP2017109266A (ja) 溝加工装置
CN223357048U (zh) 一种数码印刷书帖堆积设备
EP2439028B1 (en) Paperboard slitter machine

Legal Events

Date Code Title Description
A621 Written request for application examination

Free format text: JAPANESE INTERMEDIATE CODE: A621

Effective date: 20110803

TRDD Decision of grant or rejection written
A977 Report on retrieval

Free format text: JAPANESE INTERMEDIATE CODE: A971007

Effective date: 20121130

A01 Written decision to grant a patent or to grant a registration (utility model)

Free format text: JAPANESE INTERMEDIATE CODE: A01

Effective date: 20121204

A61 First payment of annual fees (during grant procedure)

Free format text: JAPANESE INTERMEDIATE CODE: A61

Effective date: 20121227

R150 Certificate of patent or registration of utility model

Ref document number: 5173729

Country of ref document: JP

Free format text: JAPANESE INTERMEDIATE CODE: R150

R250 Receipt of annual fees

Free format text: JAPANESE INTERMEDIATE CODE: R250

R250 Receipt of annual fees

Free format text: JAPANESE INTERMEDIATE CODE: R250

R250 Receipt of annual fees

Free format text: JAPANESE INTERMEDIATE CODE: R250

R250 Receipt of annual fees

Free format text: JAPANESE INTERMEDIATE CODE: R250

R250 Receipt of annual fees

Free format text: JAPANESE INTERMEDIATE CODE: R250

R250 Receipt of annual fees

Free format text: JAPANESE INTERMEDIATE CODE: R250

R250 Receipt of annual fees

Free format text: JAPANESE INTERMEDIATE CODE: R250

R250 Receipt of annual fees

Free format text: JAPANESE INTERMEDIATE CODE: R250

R250 Receipt of annual fees

Free format text: JAPANESE INTERMEDIATE CODE: R250

R250 Receipt of annual fees

Free format text: JAPANESE INTERMEDIATE CODE: R250