JP2010088431A - 硬化締括環 - Google Patents

硬化締括環 Download PDF

Info

Publication number
JP2010088431A
JP2010088431A JP2009236296A JP2009236296A JP2010088431A JP 2010088431 A JP2010088431 A JP 2010088431A JP 2009236296 A JP2009236296 A JP 2009236296A JP 2009236296 A JP2009236296 A JP 2009236296A JP 2010088431 A JP2010088431 A JP 2010088431A
Authority
JP
Japan
Prior art keywords
sleeve
frame
roller
tightening
ring
Prior art date
Legal status (The legal status is an assumption and is not a legal conclusion. Google has not performed a legal analysis and makes no representation as to the accuracy of the status listed.)
Granted
Application number
JP2009236296A
Other languages
English (en)
Other versions
JP5268856B2 (ja
Inventor
John F Gois
エフ.ゴイス ジョン
Current Assignee (The listed assignees may be inaccurate. Google has not performed a legal analysis and makes no representation or warranty as to the accuracy of the list.)
Individual
Original Assignee
Individual
Priority date (The priority date is an assumption and is not a legal conclusion. Google has not performed a legal analysis and makes no representation as to the accuracy of the date listed.)
Filing date
Publication date
Family has litigation
First worldwide family litigation filed litigation Critical https://patents.darts-ip.com/?family=41683299&utm_source=google_patent&utm_medium=platform_link&utm_campaign=public_patent_search&patent=JP2010088431(A) "Global patent litigation dataset” by Darts-ip is licensed under a Creative Commons Attribution 4.0 International License.
Application filed by Individual filed Critical Individual
Publication of JP2010088431A publication Critical patent/JP2010088431A/ja
Application granted granted Critical
Publication of JP5268856B2 publication Critical patent/JP5268856B2/ja
Active legal-status Critical Current
Anticipated expiration legal-status Critical

Links

Images

Classifications

    • AHUMAN NECESSITIES
    • A01AGRICULTURE; FORESTRY; ANIMAL HUSBANDRY; HUNTING; TRAPPING; FISHING
    • A01KANIMAL HUSBANDRY; AVICULTURE; APICULTURE; PISCICULTURE; FISHING; REARING OR BREEDING ANIMALS, NOT OTHERWISE PROVIDED FOR; NEW BREEDS OF ANIMALS
    • A01K75/00Accessories for fishing nets; Details of fishing nets, e.g. structure
    • AHUMAN NECESSITIES
    • A01AGRICULTURE; FORESTRY; ANIMAL HUSBANDRY; HUNTING; TRAPPING; FISHING
    • A01KANIMAL HUSBANDRY; AVICULTURE; APICULTURE; PISCICULTURE; FISHING; REARING OR BREEDING ANIMALS, NOT OTHERWISE PROVIDED FOR; NEW BREEDS OF ANIMALS
    • A01K73/00Drawn nets
    • A01K73/12Nets held vertically in the water, e.g. seines
    • FMECHANICAL ENGINEERING; LIGHTING; HEATING; WEAPONS; BLASTING
    • F16ENGINEERING ELEMENTS AND UNITS; GENERAL MEASURES FOR PRODUCING AND MAINTAINING EFFECTIVE FUNCTIONING OF MACHINES OR INSTALLATIONS; THERMAL INSULATION IN GENERAL
    • F16BDEVICES FOR FASTENING OR SECURING CONSTRUCTIONAL ELEMENTS OR MACHINE PARTS TOGETHER, e.g. NAILS, BOLTS, CIRCLIPS, CLAMPS, CLIPS OR WEDGES; JOINTS OR JOINTING
    • F16B45/00Hooks; Eyes
    • F16B45/02Hooks with pivoting or elastically bending closing member
    • F16B45/027Hooks with pivoting or elastically bending closing member and having position-locking means for the closing member
    • F16B45/029Hooks with pivoting or elastically bending closing member and having position-locking means for the closing member the position-locking means being slidably mounted

Landscapes

  • Life Sciences & Earth Sciences (AREA)
  • Environmental Sciences (AREA)
  • General Engineering & Computer Science (AREA)
  • Biodiversity & Conservation Biology (AREA)
  • Engineering & Computer Science (AREA)
  • Animal Husbandry (AREA)
  • Marine Sciences & Fisheries (AREA)
  • Mechanical Engineering (AREA)
  • Laying Of Electric Cables Or Lines Outside (AREA)
  • Handling Of Sheets (AREA)
  • Soil Working Implements (AREA)
  • Mechanical Means For Catching Fish (AREA)
  • Ropes Or Cables (AREA)

Abstract

【課題】比較的長い耐用期間を有する、巾着網漁の操業において使用する締括環の提供。
【解決手段】締括綱に巾着網を連結する締括環が開示される。構造上、締括環は、開口を形成するフレームを含み、2つのローラが開口をまたいで取り付けられる。構築されると、両ローラと両ローラの間のフレームの第1及び第2の側部とが締括綱を受ける通路の周囲に周縁部を形成する。重要なことは、フレームの第1側部の遠位ローラに隣接した一部分が、摩耗を低減するための表面硬化部を含むことである。また、締括環は、フレームの第2側部の一部分として枢動的に取り付けられたケーブル解除アームと、ケーブル解除アームの自由端部をフレームに係合するスリーブと、スリーブを適所に保持するロック部とを含む。
【選択図】図2A

Description

本発明は、漁業に使用される巾着網の装備に関するものである。より具体的には、本発明は、漁網を締括ケーブル又は締括綱に連結する締括環に係るものである。とりわけ、本発明は、締括綱が複数の締括環を介して引かれて巾着網を閉じ、巾着網に捕獲された魚を回収する巾着網漁の操業に有用であるが、これに限定されるものではない。
商業漁業において、巾着網漁として知られる漁法は、有効且つ広く使用されている技術である。この方法は概念的には単純である。巾着網又は網は、一端に浮力装置(例えば浮子)を、他端に重量装置(例えば錘)を取り付けられる。巾着網がおよそ円状に展開されると、巾着網の重りを付けた側端部が沈み、巾着網が水中に本質的に鉛直状に吊るされる。巾着網の回収のために、締括綱が、締括環として知られる複数の連結部によって巾着網の重りを付けた側端部に取り付けられる。締括綱が漁船上の漁師によって締められると、巾着網の重りを付けた側端部が共に引かれて巾着網の中に魚を囲い込む。こうしてすぼめられた重りを付けた側端部が持ち上げられ、漁船に向かって引かれる。同時に、援船が巾着網の浮かせられた側端部を回収し、引き入れる。このようにして、巾着網が回収される際に魚が巾着網の中に捕獲される。
巾着網の回収の際、締括綱は、締括環との相互作用によって、巾着網をすぼめること、及び、巾着網を漁船に向かって引くことの両方に使用される。容易に想像できるように、この作業の際に締括綱と締括環との間に発生する力は非常に大きくなり得る。実際、この力は、締括綱及び締括環の表面の両方に、摩擦によるかなりの侵食及び摩耗を引き起こし得る。最終的に、締括環の完全な破損及び締括綱の摩損が起きて、締括綱が網にからまる原因となる。いずれにしても、操業は危うくなり、締括環は交換が必要となるであろう。
現在好まれている漁場の多くは西太平洋に位置しているため、商業漁業領域の最近の開発が、締括環の摩耗の問題をさらに悪化させている。西太平洋における巾着網漁の操業は、しばしば食用魚がより深場に群れる原因となる西太平洋の変温層(サーモ・クライン)よりも深場での巾着網の展開を要する。その結果、巾着網の展開に際して、巾着網を回収するのに必要とされる力(例えば締括綱と締括環との間の力)が大幅に増加する。その結果として、世界の他の海洋において使用されているような標準の締括環は、通常、西太平洋での使用には適さない。
上記の内容を考慮して、本発明は、海洋のより深場において効率的な巾着網漁の操業ができるようにするため、及び、深さにかかわらず、巾着網漁の操業において使用される締括環の耐用寿命を延ばすために、締括環の摩耗を大幅に低減する必要性を認識する。したがって、本発明の目的は、比較的長い耐用期間を有する、巾着網漁の操業に使用する締括環を提供することである。本発明の別の目的は、巾着網の回収作業の際に締括綱が締括環を介して引かれる際の締括環の摩擦による摩耗を低減する、巾着網漁の操業用の締括環を提供することである。本発明の別の目的は、締括環の中へ締括綱を挿入すること、又は締括環から締括綱を引き抜くことを容易にする、巾着網漁の操業に使用する締括環を提供することである。本発明の別の目的は、取付け及び使用が容易であり、製造が比較的容易であり、比較的コスト効率がよい、巾着網漁の操業用の締括環を提供することである。
本発明では、深海での漁の操業の際に、締括綱を用いて巾着網をすぼめるように、締括環が巾着網の係留綱と係合するように設けられる。重要なことは、この締括環が表面硬化インサートの使用によって摩耗に耐えるように構成されることである。また、この締括環は、使用の際の締括綱の挿入及び除去を容易にする。さらに、この締括環はロック・ピンの自動的な使用をもたらす。
構造上、締括環は、平面を規定し、開口を形成する伸張形状のフレーム(枠)を有する。フレームは、2つの側部によって連結された2つの端部からなると考えられる。本発明の目的のために、2つのローラが、開口をまたぐことによって両側部を連結する。結果として、ローラ及び両側部が、締括綱を受ける通路の周囲に周縁部を形成する。締括綱によって引き起こされる両側部の摩耗を低減するために、両側部は表面硬化部を含む。代替として、又はさらに、締括綱との摩擦を低減するために側部ローラが両側部に埋め込まれてもよい。
また、締括環は、一方の側部の一部分としてフレームに枢動的に取り付けられたケーブル解除アームを含む。操作上、ケーブル解除アームは、片持ち式にされ、締括綱が通路から出入りするように動くことを周縁部が阻止するように枢動可能になっている。本発明では、ケーブル解除アームは、枢動アーム及びスリーブを含む。構造上、枢動アームは、枢動ピンによってフレームに取り付けられた端部を有する。さらに、枢動アームはスリーブに係合するキーガイドを形成する。具体的には、スリーブは枢動アームを受けるチャネルを形成する。ボルトが、チャネルをまたぎ、枢動アームとスリーブとの間に滑り係合をもたらすようにキーガイドに受けられる。さらに、スリーブは、枢動時にケーブル解除アームの全範囲での動きを容易にするために、枢動ピンに載ることのできるフレア形状の端部を含む。
また、スリーブは、チャネルに連結する横向きの開口部を有する。スリーブが延伸されると、フレームの一部分がチャネルの中に受けられる。重要なことは、スリーブがフレームの一部分の上で滑動できるように、ロック・ピンが押下可能であることである。スリーブがその完全に延伸された構成に達すると、ロック・ピンが横向きの開口部の中へ延在し、スリーブを適所にロックする。締括環の使用を簡単するために、スリーブは、スリーブの延伸の際にロック・ピンを係合して自動的に押下する切欠きが設けられる。
本発明の新規な特徴、並びに本発明自体は、その構造及び操作の両方に関して、添付の説明と併せて、同じ符号が同じ部品を示す添付図面から最もよく理解されるであろう。
巾着網漁の操業に従事している漁船の上面図。 係留綱及び締括綱と係合され、ケーブル解除アームが閉鎖構成にあることを示す、締括環の好ましい実施例の上面斜視図。 ケーブル解除アームが開位置にある図2Aの締括環の上面斜視図。 図2Bの締括環の側面斜視図。 図2A〜図2Cに示される締括環のスリーブの斜視図。 図3Aのスリーブの断面図。 ローラと締括環のフレームとの間の連結部を示す断面図。
図1は、符号10で示される複数の締括環を使用して操業している巾着網漁の上面俯瞰図である。図示のとおり、締括環10は、巾着網漁船16によって行われる漁の操業の際に、巾着網12と締括綱14とを連結する。本発明の目的のために、締括綱14は、ケーブル又はロープのいずれかであってよいことを理解されたい。より具体的には、締括環10は、係留綱18を用いて巾着網12に取り付けられ、係留綱18は、鎖20によって巾着網12に取り付けられている。締括綱14の様々な実施例と同様に、係留綱18は、ケーブル、ロープ又は鎖であってよい。さらに、巾着網12の一方の側を水面又は水面の近くに保持する浮力をもたらすために、浮子22が巾着網12に連結される。同時に、鎖20及び締括環10は、巾着網12を鉛直方向に向けるための錘の働きをする。結果として、巾着網12は魚の群れを取り囲むように配置される。魚が取り囲まれると、魚は、巾着網12をすぼめて回収することによって捕獲できる。これには、締括綱14と複数の締括環10との相互作用が必要となる。
図2Aには、個々の締括環10のより詳細な斜視図が示される。図2に示すように、締括環10は、通常、締括綱14を係留綱18に連結するのに有効である任意の形状からなり得るフレーム24を備える。図2に示すように、好ましい締括環10は、実質的に伸張形状である。また、締括環10は硬化鋼から作製されることが好ましく、摩擦による摩耗に耐えるのに十分な硬さでなければならない。さらに、締括環10の部材は、腐食の影響を最小限にするために、互いに、及び巾着網漁の操業の他の構成要素の材料と化学的に適合したものでなければならない。
図2Aをさらに参照すると、フレーム24は、近位端部26及び遠位端部28を含むことが分かる。さらに、2つの側部30及び32が、開口34を画定するように端部26と端部28とを連結する。図2Aに示すとおり、締括環10は、側部30と側部32とを連結して開口34をまたぐ近位ローラ36を含む。また、締括環10は、側部30と側部32とをさらに連結する遠位ローラ38を含む。この構造において、側部30、32及びローラ36、38が、締括綱14を受ける通路42の周囲の周縁部40を形成することが分かる。さらに、近位端部26及び近位ローラ36が、係留綱18を受ける開口部44を形成する。通常、すぼめる操作の際には、締括綱14が、遠位ローラ38及び遠位ローラ38に隣接する側部30、32に沿って載せられる。したがって、締括環10は、遠位ローラ38に隣接する両方の側部30、32に沿って表面硬化部46が設けられる。本発明の目的のために、表面硬化部46は、McKay社製のTube Alloy240−Oなどの強度及び耐摩耗性の改善された少なくとも1層の金属層からなる。
図2Aに示すように、近位ローラ36は円筒形である。さらに、遠位ローラ38は、実質的に円筒形であるが、遠位ローラ38と締括綱14とのより効率的な転がり接触を容易にするガイドを形成するように、その中央に向かってわずかなテーパを含む。さらに、各ローラ36、38は、使用の際、実質的に自由に回転し、その結果、摩擦による摩耗を低減するように、フレーム24に連結される。
図2Bでは、締括環10の図示の実施例は、側部30上で回転するように取り付けられた側部ローラ39を含む。構造上、側部ローラ39は、ローラ36、38の回転軸に対して実質的に直角をなす回転軸線を有する。
図2B及び図2Cと図2Aとを相互参照すると、締括環10は、フレーム24の側部32に沿って片持ち式のケーブル解除アーム50を含むことが示される。構造上、片持ち式のケーブル解除アーム50は、端部54及び端部56を備えて形成される枢動アーム52を含む。図2Cに示すように、フレーム24は、フレーム24に対して片持ち式にされた延伸部58を含む。さらに、枢動アーム52は、ピン59によって延伸部58に枢動可能に取り付けられる。この係合状態によって、枢動アーム52は、図2Aに示される閉鎖構成50’から図2B及び図2Cに示される開放構成50”へと枢動する際に、フレーム24の側部30から離れることができる。図示のとおり、枢動アーム52は、フレーム24の側部30を離れることができ、枢動アーム52が近位ローラ36に実質的に平行になるまで近位ローラ36の方へ内向きに枢動することができる。枢動アーム52が開放構成50”まで枢動されると、周縁部40が途切れて、締括綱14が通路42から出入りするように動くことができることが理解されるであろう。
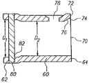
さらに、ケーブル解除アーム50は、フレア形状の近位端部62及び遠位端部64を有するスリーブ60を備える。図3A及び図3Bを参照すると、スリーブ60の構造がより容易に理解できるであろう。図示のとおり、スリーブ60は、近位端部62から遠位端部64まで軸線68に沿って延在するチャネル66を形成する。図2A〜図2Cに見られるように、チャネル66は枢動部材52を滑動可能に受ける。図3Aに示すように、スリーブ60は、その遠位端部64において、軸線68に対して実質的に直角をなす表面72を備えた端面70を有する。図示のとおり、切欠き74がスリーブ60の端面70に形成される。図3Bを参照すると、切欠き74は、端面の表面72と約45度の角度を形成する傾斜した表面76を含むことが分かるであろう。
図3A及び図3Bに見られるように、スリーブ60はまた、チャネル66に対して横向きの開口部78を形成する。重要なことは、この横向きの開口部78が、下記に詳述されるように切欠き74と軸線方向に位置合わせされていることである。さらに、スリーブ60は、図2A〜図2Cに示すようにスリーブ60を枢動アーム52と係合するボルト82を受ける開口80を含む。具体的には、枢動アーム52は、ボルト82を滑動的に受けるキーガイド83を形成する。図3Bでは、スリーブ60のフレア形状の近位端部62が内径Dを有し、他方、スリーブ60の残りの部分は内径D有しており、D>Dであることが分かるであろう。
図2Aを再び参照すると、スリーブ60は、遠位端部64がフレーム24と係合する延伸位置60’にあることが示されている。具体的には、フレーム24は、ケーブル解除アーム50が閉鎖構成50’にあり、スリーブ60が延伸位置60’にあるときにチャネル66内に受けられる当接部材84(図2Bに示す)を含む。結果として、スリーブ60は、当接部材84の周囲に延伸されると、ケーブル解除アーム50の枢動可能な動きを妨げる。さらに、締括環10は、スリーブ60を延伸位置60’にロックする能力を有する。
図2Bに示すとおり、締括環10は、当接部材84にロック・ピン86を有する。具体的には、ロック・ピン86は、当接部材84に形成される溝穴88に配置され、溝穴88から外向きに付勢される。ケーブル解除アーム50が閉じられた後、スリーブ60は、当接部材84と係合するように延伸され得る。スリーブ60を延伸する際、切欠き74の傾斜面76が、ロック・ピン86に接触し、ロック・ピン86を自動的に押下する。スリーブ60が完全に延伸されると、ロック・ピン86は、スリーブ60の横方向の開口部78に達し、この開口部78を介して延在する。結果として、ロック・ピン86がスリーブ60を延伸位置60’に保持する。
スリーブ60がロック・ピン86から外されて、後退位置60”まで動かされると、スリーブ60のフレア形状の近位端部62が、枢動アーム52の端部54に載る。結果として、スリーブ60は、枢動アーム52の枢動する能力と干渉しない。これによって、枢動アーム52は、近位ローラ36に対して実質的に平行になるまで枢動でき、通路42から締括綱14を外すことが容易になる。
ここで図4を参照すると、ローラ36(又は38)のフレーム24への連結が示されている。図示のとおり、フレーム24は、外側面90及び内側面92を有すると考えられる。ローラ36との連結のために、ねじ山付きの穴94が、側部30の外側面90から、側部30の内側面92を介して延在する。さらに、ねじ山付きの穴94は、他方の側部32の内側面92を通過し、側部32内で終端する。構造上、ローラ36は、穴94の中に受けられ、使用の間、適所に固定された状態に留まるねじ山付きの軸96を含む。また、ローラ36は、固定された軸96を中心に回転するブッシュ98を含む。図示のとおり、締括環10は、封止して軸96の汚染を防止するようにねじ山を係合するプラグ100をさらに含む。また、フレーム24は、ねじ山付きの穴94から側部32の外側面90まで延在する排水用の開口102を形成する。
本明細書に示され、詳細に開示された特定の締括環は、本発明の目的を完全に達成可能であり、本明細書に上述された利点を提供するが、これは、本発明の現在好ましい実施例を単に示すものであり、添付の特許請求の範囲に規定される以外、本明細書に示された構造又は構成の詳細に対する限定はまったく意図されないことを理解されたい。

Claims (3)

  1. 深海での漁の操業の際に締括綱を用いて巾着網をすぼめるための、前記巾着網の係留綱と係合可能である締括環において、該締括環が、フレーム、遠位ローラ、近位ローラ、ケーブル解除アーム、スリーブ、およびスリーブ・ロック手段を有し、
    前記フレームは、平面を規定し、開口を形成する伸張形状を有し、第1側部及び第2側部によって連結された近位端部及び遠位端部を有し、
    前記遠位ローラは、前記開口をまたいで前記第1側部と前記第2側部とを連結し、
    前記近位ローラは、前記開口をまたいで前記第1側部と前記第2側部とを連結し、前記両ローラ及び前記両側部が、前記締括綱を受ける通路の周囲に周縁部を形成し、前記フレームの摩耗を低減するために前記第1側部に前記遠位ローラに隣接して表面硬化部が配置され、
    前記ケーブル解除アームは、前記第2側部の一部分として枢動的に取り付けられて、片持ち式にされ、前記締括綱が前記通路から出入りする動きを前記周縁部が阻止するように枢動可能且つ操作可能であり、前記フレームに取り付けられた枢動ピン並びに第1端部及び第2端部を備えた枢動部材を含み、前記枢動部材が前記平面に対して横方向に動くように前記第1端部が前記枢動ピンに枢動可能に取り付けられ、
    前記スリーブは、遠位端部及びフレア形状の近位端部を有し、前記フレームと選択的に係合するために前記枢動部材を滑動可能に受けるチャネルが前記遠位端部と前記近位端部との間に形成され、前記チャネルに対して横方向の開口部及び前記横方向の開口部から前記遠位端部まで傾斜した表面を備える切欠きが形成され、前記枢動部材の動きを妨げるように前記スリーブの前記遠位端部が前記フレームと係合する延伸位置を有し、前記スリーブの前記フレア形状の近位端部が前記枢動部材の前記第1端部に載る後退位置を有し、
    前記スリーブ・ロック手段が、前記スリーブを延伸位置に保持するように前記フレームに滑動可能に取り付けられ、前記フレームによって規定される溝穴、及び前記溝穴によって滑動的に受けられ、前記スリーブの前記横方向の開口部と係合するように前記溝穴から延在可能であり、前記溝穴から延在するように付勢されるピンを備え、前記スリーブが前記延伸位置まで動かされると、前記ピンを前記横方向の開口部と位置合わせするように、前記切欠きの前記傾斜した表面が前記ピンを自動的に押下げるようになっている、締括環。
  2. 前記締括環と前記締括綱との間の摩擦を低減するために、前記フレームの前記第1側部に前記遠位ローラに隣接して設けられた側部ローラをさらに備え、該側部ローラが、前記遠位ローラに対して横向きになっている、請求項1に記載された締括環。
  3. 前記スリーブが長手方向軸線を規定し、前記スリーブが前記長手方向軸線に対して実質的に直角をなす平面を形成する遠位端面で終端し、前記切欠きが前記遠位端面に形成される、請求項1に記載された締括環。
JP2009236296A 2008-10-13 2009-10-13 硬化締括環 Active JP5268856B2 (ja)

Applications Claiming Priority (2)

Application Number Priority Date Filing Date Title
US12/250,260 2008-10-13
US12/250,260 US20100088945A1 (en) 2008-10-13 2008-10-13 Hardened Purse Ring

Related Child Applications (1)

Application Number Title Priority Date Filing Date
JP2013034101A Division JP2013099361A (ja) 2008-10-13 2013-02-25 硬化締括環

Publications (2)

Publication Number Publication Date
JP2010088431A true JP2010088431A (ja) 2010-04-22
JP5268856B2 JP5268856B2 (ja) 2013-08-21

Family

ID=41683299

Family Applications (2)

Application Number Title Priority Date Filing Date
JP2009236296A Active JP5268856B2 (ja) 2008-10-13 2009-10-13 硬化締括環
JP2013034101A Abandoned JP2013099361A (ja) 2008-10-13 2013-02-25 硬化締括環

Family Applications After (1)

Application Number Title Priority Date Filing Date
JP2013034101A Abandoned JP2013099361A (ja) 2008-10-13 2013-02-25 硬化締括環

Country Status (9)

Country Link
US (1) US20100088945A1 (ja)
EP (1) EP2174542B1 (ja)
JP (2) JP5268856B2 (ja)
KR (2) KR101310725B1 (ja)
CN (1) CN101720734B (ja)
ES (1) ES2395601T3 (ja)
MX (1) MX2009010993A (ja)
PE (1) PE20100400A1 (ja)
TW (1) TW201014524A (ja)

Families Citing this family (8)

* Cited by examiner, † Cited by third party
Publication number Priority date Publication date Assignee Title
US8359719B2 (en) * 2009-01-16 2013-01-29 Ricardo Jang Snap ring having multiple rollers
US8141228B2 (en) * 2009-03-16 2012-03-27 Gois Sr John F Force resistant purse ring
KR101414139B1 (ko) * 2012-09-03 2014-08-06 장 제임스 멀티 롤러를 구비하는 스냅링
US9267535B2 (en) * 2014-07-15 2016-02-23 James Jang Snap ring having easily replaceable support
JP1588658S (ja) 2017-04-25 2017-10-23
KR101835016B1 (ko) * 2017-12-27 2018-03-06 한국통산주식회사 선망 어업에 사용되는 그물 조립체
CN112572701B (zh) * 2020-12-22 2022-05-20 武汉展博人工环境有限公司 一种带有移动吊装结构的吸引式捕鱼游乐设备
EP4618752A1 (en) * 2022-11-15 2025-09-24 Caledonia Nets LLC Seine net position measurement system and method of determining seine net position

Citations (5)

* Cited by examiner, † Cited by third party
Publication number Priority date Publication date Assignee Title
US5287645A (en) * 1989-08-15 1994-02-22 Gemini Capital Group, Inc. Purse ring
US5381707A (en) * 1992-03-04 1995-01-17 Seeburn Metal Products Limited Extension arm for an automobile jack
US5505013A (en) * 1995-02-16 1996-04-09 Gois; John F. Purse ring
US20060207073A1 (en) * 2005-03-17 2006-09-21 Zedel Karabiner with locking ring
US20080184541A1 (en) * 2007-02-02 2008-08-07 James Jang Purse ring having multiple rollers

Family Cites Families (15)

* Cited by examiner, † Cited by third party
Publication number Priority date Publication date Assignee Title
US240132A (en) * 1881-04-12 Chain
US1473983A (en) * 1923-02-08 1923-11-13 Walter A Woodward Safety butt hook
US1508705A (en) * 1924-04-04 1924-09-16 David E Mahan Swivel hook
US3064384A (en) * 1961-04-07 1962-11-20 Wallace E Lewis Pulley rings for purse seines
US3789532A (en) * 1972-12-15 1974-02-05 E Ferguson Purse seine cable ring
US4380882A (en) * 1982-02-03 1983-04-26 Flammini Dominick J Long life purse seine ring
FR2627242A2 (fr) * 1987-07-20 1989-08-18 Ecia Equip Composants Ind Auto Liaison rapide entre deux arbres ou analogues
US5018295A (en) * 1989-09-22 1991-05-28 Taylor Iv Harry W Roller purse ring
CN2145507Y (zh) * 1992-09-30 1993-11-10 吕榜洲 投网连结器
FR2731255B1 (fr) * 1995-03-02 1997-04-25 Zedel Mousqueton a bague de verrouillage
US5575102A (en) * 1995-03-16 1996-11-19 Vincent Wiseman Apparatus for exclusion of debris and by-catch from bottom trawls
FR2752896B1 (fr) * 1996-08-30 1998-11-27 Zedel Mousqueton a verrou
US5864929A (en) * 1998-05-14 1999-02-02 Sakong; Cheol Snap ring
US7540074B2 (en) * 2004-12-21 2009-06-02 Techxotic, L.C. Carabiner having reinforcing sleeve
US7624483B1 (en) * 2006-12-27 2009-12-01 James Jang Multi-roller snap ring

Patent Citations (5)

* Cited by examiner, † Cited by third party
Publication number Priority date Publication date Assignee Title
US5287645A (en) * 1989-08-15 1994-02-22 Gemini Capital Group, Inc. Purse ring
US5381707A (en) * 1992-03-04 1995-01-17 Seeburn Metal Products Limited Extension arm for an automobile jack
US5505013A (en) * 1995-02-16 1996-04-09 Gois; John F. Purse ring
US20060207073A1 (en) * 2005-03-17 2006-09-21 Zedel Karabiner with locking ring
US20080184541A1 (en) * 2007-02-02 2008-08-07 James Jang Purse ring having multiple rollers

Also Published As

Publication number Publication date
EP2174542A3 (en) 2010-06-23
PE20100400A1 (es) 2010-06-07
EP2174542A2 (en) 2010-04-14
TW201014524A (en) 2010-04-16
ES2395601T3 (es) 2013-02-13
JP2013099361A (ja) 2013-05-23
KR101310725B1 (ko) 2013-09-25
US20100088945A1 (en) 2010-04-15
EP2174542B1 (en) 2012-11-21
KR20130093580A (ko) 2013-08-22
CN101720734B (zh) 2013-10-23
KR20100041655A (ko) 2010-04-22
CN101720734A (zh) 2010-06-09
MX2009010993A (es) 2010-06-07
HK1142770A1 (en) 2010-12-17
JP5268856B2 (ja) 2013-08-21

Similar Documents

Publication Publication Date Title
JP5268856B2 (ja) 硬化締括環
US5505013A (en) Purse ring
US5287645A (en) Purse ring
TWI392451B (zh) 改良抗力網環
KR100923628B1 (ko) 멀티 롤러가 구비된 퍼스링
US4997225A (en) Pipe retriever
KR101916407B1 (ko) 휴대용 중력 코어러
FR2677701A1 (fr) Methode pour poursuivre des mesures apres la recuperation d'un outil de mesure immobilise dans un puits.
US20100050918A1 (en) Anchor Retrieval System (ARS)
JP2011031748A (ja) 船用アンカー
US20190016417A1 (en) Watercraft anchors
KR20100084453A (ko) 멀티 롤러 스냅링
KR100880958B1 (ko) 제작 조립이 용이한 퍼스링
US5347745A (en) Crab trap float rope stop
US11427290B2 (en) Anchor rescue system
CN216627168U (zh) 一种蟹笼自脱钩
HK1142770B (en) Hardened purse ring
KR940004747B1 (ko) 퍼스링(purse ring)
US20080178513A1 (en) Fish Retrieval Apparatus and Method
WO2021224756A1 (en) Device for retrieving the snagged fishing lure
KR200263089Y1 (ko) 통발의 고리줄 탈착장치
US8177595B2 (en) Scoop point buoy
KR200305481Y1 (ko) 이탈방지용 낚시대마개
JPH0728319U (ja) 昆布採取用竿及びロープの引揚装置
JP3994805B2 (ja) 水中調査機器の回収装置

Legal Events

Date Code Title Description
A621 Written request for application examination

Free format text: JAPANESE INTERMEDIATE CODE: A621

Effective date: 20100622

A977 Report on retrieval

Free format text: JAPANESE INTERMEDIATE CODE: A971007

Effective date: 20111125

A131 Notification of reasons for refusal

Free format text: JAPANESE INTERMEDIATE CODE: A131

Effective date: 20111202

A601 Written request for extension of time

Free format text: JAPANESE INTERMEDIATE CODE: A601

Effective date: 20120302

A602 Written permission of extension of time

Free format text: JAPANESE INTERMEDIATE CODE: A602

Effective date: 20120307

A521 Request for written amendment filed

Free format text: JAPANESE INTERMEDIATE CODE: A523

Effective date: 20120402

A02 Decision of refusal

Free format text: JAPANESE INTERMEDIATE CODE: A02

Effective date: 20121023

A521 Request for written amendment filed

Free format text: JAPANESE INTERMEDIATE CODE: A523

Effective date: 20130225

A911 Transfer to examiner for re-examination before appeal (zenchi)

Free format text: JAPANESE INTERMEDIATE CODE: A911

Effective date: 20130305

TRDD Decision of grant or rejection written
A01 Written decision to grant a patent or to grant a registration (utility model)

Free format text: JAPANESE INTERMEDIATE CODE: A01

Effective date: 20130426

A61 First payment of annual fees (during grant procedure)

Free format text: JAPANESE INTERMEDIATE CODE: A61

Effective date: 20130507

R150 Certificate of patent or registration of utility model

Free format text: JAPANESE INTERMEDIATE CODE: R150

Ref document number: 5268856

Country of ref document: JP

Free format text: JAPANESE INTERMEDIATE CODE: R150

S111 Request for change of ownership or part of ownership

Free format text: JAPANESE INTERMEDIATE CODE: R313113

R350 Written notification of registration of transfer

Free format text: JAPANESE INTERMEDIATE CODE: R350

R250 Receipt of annual fees

Free format text: JAPANESE INTERMEDIATE CODE: R250

R250 Receipt of annual fees

Free format text: JAPANESE INTERMEDIATE CODE: R250

R250 Receipt of annual fees

Free format text: JAPANESE INTERMEDIATE CODE: R250

R250 Receipt of annual fees

Free format text: JAPANESE INTERMEDIATE CODE: R250

R250 Receipt of annual fees

Free format text: JAPANESE INTERMEDIATE CODE: R250

R250 Receipt of annual fees

Free format text: JAPANESE INTERMEDIATE CODE: R250

R250 Receipt of annual fees

Free format text: JAPANESE INTERMEDIATE CODE: R250

R250 Receipt of annual fees

Free format text: JAPANESE INTERMEDIATE CODE: R250

R250 Receipt of annual fees

Free format text: JAPANESE INTERMEDIATE CODE: R250

R250 Receipt of annual fees

Free format text: JAPANESE INTERMEDIATE CODE: R250