JP2010088193A - ガントリ型xy位置決め装置の同期防振制御装置 - Google Patents

ガントリ型xy位置決め装置の同期防振制御装置 Download PDF

Info

Publication number
JP2010088193A
JP2010088193A JP2008253596A JP2008253596A JP2010088193A JP 2010088193 A JP2010088193 A JP 2010088193A JP 2008253596 A JP2008253596 A JP 2008253596A JP 2008253596 A JP2008253596 A JP 2008253596A JP 2010088193 A JP2010088193 A JP 2010088193A
Authority
JP
Japan
Prior art keywords
mode
load
sum
shaft
control
Prior art date
Legal status (The legal status is an assumption and is not a legal conclusion. Google has not performed a legal analysis and makes no representation as to the accuracy of the status listed.)
Granted
Application number
JP2008253596A
Other languages
English (en)
Other versions
JP5241413B2 (ja
Inventor
Akihiko Nakamura
明彦 中村
Current Assignee (The listed assignees may be inaccurate. Google has not performed a legal analysis and makes no representation or warranty as to the accuracy of the list.)
Juki Corp
Original Assignee
Juki Corp
Priority date (The priority date is an assumption and is not a legal conclusion. Google has not performed a legal analysis and makes no representation as to the accuracy of the date listed.)
Filing date
Publication date
Application filed by Juki Corp filed Critical Juki Corp
Priority to JP2008253596A priority Critical patent/JP5241413B2/ja
Priority to CN2009101801222A priority patent/CN101714843B/zh
Publication of JP2010088193A publication Critical patent/JP2010088193A/ja
Application granted granted Critical
Publication of JP5241413B2 publication Critical patent/JP5241413B2/ja
Expired - Fee Related legal-status Critical Current
Anticipated expiration legal-status Critical

Links

Images

Landscapes

  • Control Of Electric Motors In General (AREA)
  • Control Of Multiple Motors (AREA)

Abstract

【課題】各軸の両端にある一対のモータで一個の負荷を共通に駆動し、一つのエンコーダを共通に使用する構成においても、負荷側外乱オブザーバを含む仮想モード制御を適用可能とする。
【解決手段】駆動軸の両端のモータの制御に、2次アダマール行列に基づいて和動モードと差動モードに分解する仮想モード制御を行なうことにより、和動軸において位置サーボを、差動軸において偏差量抑圧の為の位置レギュレータをそれぞれ構成して2軸同期制御を行なう際に、リニアエンコーダ16の信号を和動モードのリニアエンコーダ信号と見なし、軸ねじれ角と負荷の加速度に基づいて和動モード専用の負荷側外乱オブザーバ42を構成し、前記和動モード専用の負荷側外乱オブザーバにて推定した負荷側の外乱を、負荷側外乱から位置指令値までの逆システム50を通して和動モード側にフィードバックする一方、差動モードには負荷側外乱オブザーバの制御系を構成しない。
【選択図】図5

Description

本発明は、ガントリ型XY位置決め装置の同期防振制御装置に係り、特に、電子部品搭載装置等に用いるのに好適な、ガントリ型XY位置決め装置の同期防振制御装置に関する。
例えば、電子部品搭載装置に用いられる従来のガントリ型XY位置決め装置は、図1に例示する如く、Y方向への移動に左右1対の平行に配置されたY軸駆動部(YL軸9L、YR軸9R)を持ち、その上に設置されたX軸駆動部(X軸12)でX方向への移動を行なう構成をとる。図において、7はY軸モータ、8はタイミングベルト、11はX軸モータ、15は、X軸12上に保持された、Z方向(上下方向)に移動自在な搭載ヘッドである。
X軸、Y軸の駆動には、回転型モータ+タイミングベルト(チェーン)又はボールねじ等が使用される。各軸は、指令発生部より各モータ制御部に受けた指令に基づき、モータ制御をして位置決めが行なわれる。
このような位置決め装置において、高速・高加速の位置決めを図るべく、出願人は、特許文献1で、各軸が、図2にX軸の要部構成を示す如く、それぞれ両端に駆動用のモータ11L、11Rを備え、各軸一対のモータが、各軸毎に備える一本のリニアエンコーダ(図示省略)を共通に使用することを提案している。図において、13はタイミングベルトである。
ところで、前記のようなガントリ型XY型位置決め装置では、左右1対のY軸は、両軸が同期して移動することが必要である。
図1の構成では、YL軸9L側の1個のモータ7でX軸12をY方向に駆動する。この場合、軸の一端(YL軸9L)のみが駆動され、他端(YR軸9R)は直動軸受でガイドしているだけであるので、いわば片持構造となっている。その為、負荷の重量バランスが悪く、また制御系の剛性が低いので、制御ゲインを上げることが難しく、高速、高加速での位置決めには適していない。
このような問題点を解決するべく、特許文献1のようにYL軸とYR軸の両方にモータを設けたガントリ型XY位置決め装置で位置決めを行なう場合、X軸12上の負荷(搭載ヘッド15)の位置が移動することによって、両側に設けられたYL軸モータとYR軸モータが受ける負荷のバランスが変化することが原因となり、左右のY軸で偏差が発生してしまい、位置決め精度や位置決め時間に悪影響を与えるという問題点を生じていた。
発明者らは、この問題点を防ぐ為の一手法として、特許文献2を既に提案した。これは、その図20に対応する図3に示す如く、左右のY軸に掛かる負荷が変動した場合にも、仮想モード制御や負荷側外乱オブザーバ40等を用いてロバスト制御を行なうという手法であり、軸の同期防振制御に効果が高い。図3において、20は、外乱を抑制するための外乱オブザーバ、50は逆システムである。
特許第3510912号公報 特開2007−236185号公報(図7、図20)
図2に例示したような、各軸の両端にある一対のモータ11L、11Rで1個の負荷(搭載ヘッド15)を共通に駆動し、1本のリニアエンコーダを共通に使用する構成に特許文献2の手法を適用しようとする場合、和動モード側と差動モード側にリニアエンコーダの信号を分配して与えることが考えられる。しかし、このリニアエンコーダの信号は、各軸の両端にある一対のモータで1個の負荷を共通に駆動するものなので、差動モードの情報を含んでいない。その為、図3に示されるような負荷側外乱オブザーバ40を用いた和動モードと差動モードの制御系を構成することはできず、十分な効果を得ることができないという問題点を有していた。
本発明は、前記従来の問題点を解消するべくなされたもので、各軸の両端にある一対のモータで一個の負荷を共通に駆動し、1つのリニアエンコーダを共通に使用する構成においても、負荷側外乱オブザーバを含む仮想モード制御を適用可能とすることを課題とする。
本発明は、駆動軸1個に1つのリニアエンコーダを設け、1個の駆動軸の両端のモータには同一のリニアエンコーダ信号を分配する構成のガントリ型XY位置決め装置において、駆動軸の両端のモータの制御に、2次アダマール行列に基づいて和動モードと差動モードに分解する仮想モード制御を行なうことにより、和動軸において位置サーボを、差動軸において偏差量抑圧の為の位置レギュレータをそれぞれ構成して2軸同期制御を行なう際に、リニアエンコーダの信号を和動モードのリニアエンコーダ信号と見なし、軸ねじれ角と負荷の加速度に基づいて和動モード専用の負荷側外乱オブザーバを構成し、前記和動モード専用の負荷側外乱オブザーバにて推定した負荷側の外乱を、負荷側外乱から位置指令値までの逆システムを通して和動モード側にフィードバックする一方、差動モードには負荷側外乱オブザーバの制御系を構成しないことにより、前記課題を解決したものである。
本発明によれば、図2に例示したような、軸の両端にある一対のモータで一個の負荷を共通に駆動し、1つのリニアエンコーダを共通に使用する構成においても、特許文献2で提案したような、負荷側外乱オブザーバを適用した仮想モード制御を行うことが可能となる。ここで、2つのモータで1つのリニアエンコーダを用いているので、コストの低減が可能である。又、差動モード側の負荷側外乱オブザーバを省略できるので、演算の量を減らすことが可能であり、計算機の負担を減らすことができる。
更に、和動モード負荷側外乱オブザーバを適用することにより、負荷の移動による負荷質量の変動、軸に印加される外乱、剛性などのパラメータ変動により生じる外乱をまとめて補償することが可能となる。即ち、負荷がどの位置にある場合においても、あたかも軸の中央部に固定されているかのように扱うことができ、また、負荷の移動により軸が受ける外乱に対してもロバスト性を持つ為、容易に同期制御を実現することが可能となる。外乱オブザーバに基づいた制御法であるため、振動抑制効果を持ちながらロバスト性の確保も達成できる。
又、軸の両側のモータを仮想モード制御に基づいて、和と差のモードに分解して制御を行なうことにより、仮想和動軸において位置サーボ、仮想差動軸において両側モータの偏差量抑圧の為の位置レギュレータをそれぞれ構成することが可能となる。
又、本提案の制御手法は、状態フィードバック制御やH∞制御に比べて制御系が簡単で、演算量も少ないため、高価なCPU等を使用する必要がない。更に、設計や調整も容易である。
以下図面を参照して、本発明の実施形態を詳細に説明する。
本発明の第1実施形態は、図4に示す如く、X軸12の両端に一対のモータ11L、11Rを備え、タイミングベルト(図示省略)により搭載ヘッド15を駆動する構成において、特許文献2で提案した、負荷側外乱オブザーバを含む仮想モード制御を適用するため、負荷側外乱オブザーバとして、図5に示す如く、共通で使用しているリニアエンコーダ16の信号を用いた和動モード専用の負荷側外乱オブザーバ42を構成する。即ち、リニアエンコーダ16の信号は、特許文献2の仮想モード制御で言うところの和動モードの信号と見なすことができる(特許文献2の構成では、左右のモータ重心位置にある負荷を並進方向に制御していることに相当する)。
そして、この和動モード専用の負荷側外乱オブザーバ42で検出した外乱推定値を、特許文献2と同様の逆システム50を介して、仮想モード内の和動モード側にのみフィードバックしてやる制御系を構成することによって、特許文献2と同様の同期防振制御効果を得ることが可能となる。この場合、差動モード側の負荷側外乱オブザーバは不要であるので設けない。
図4において、7L、7Rは左右のY軸モータ、8L、8Rは左右のY軸タイミングベルトであり、図5において、θcom cmdは和動モード位置指令、θ comは同じく和動モードモータエンコーダ値、θdif cmdは差動モード位置指令、θ difは同じく差動モードモータエンコーダ値、Kは位置ゲイン、θlは負荷位置、Kは軸ねじれ反力のフィードバックゲイン、Kは速度ゲイン、T*com reacは和動モードねじれ反力、T*reac difは差動モードねじれ反力、Jはモータ慣性、Kはトルク定数、Irefはモータ電流参照値、Tdismは外乱、Treacはねじれ反力、Kfは軸剛性、Jは負荷側の慣性、T*all dislは和動モード負荷側外乱推定値、θlcは和動モードリニアエンコーダ値である。
このようにして、この和動モード専用の負荷側外乱オブザーバ42を用いて仮想モード制御系を構成することで、負荷の移動による軸両端のモータが受ける負荷質量の変動、軸に印加される外乱、剛性などのパラメータ変動により生じる外乱をまとめて補償することが可能となる。即ち、負荷が軸上のどの位置にある場合においても、あたかも軸の中央部に固定されているかのように扱うことができ、また、外乱に対してもロバスト性を持つ為、容易に同期制御を実現することが可能となる。
以下、図5に示した和動モード負荷側外乱オブザーバ42を用いた同期防振制御装置のブロック図を参照して、更に詳細に説明する。
軸の両端のモータについて、特許文献2と同様に仮想モード制御系を構成する。ブロック図の上側が和動モードの制御系、下側が差動モードの制御系である。
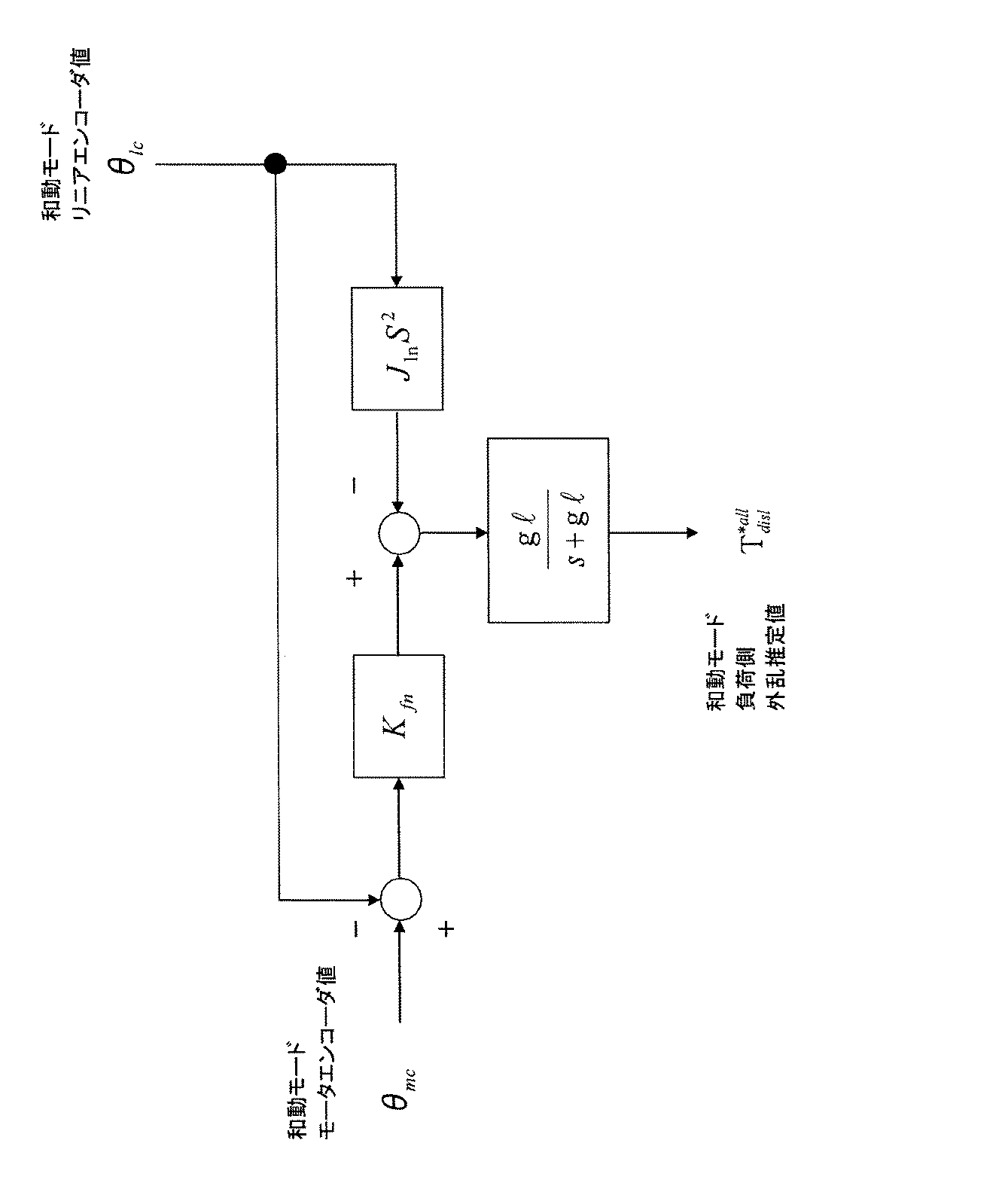
ここに負荷側外乱オブザーバを適用するが、先に説明したように1つの駆動軸にリニアエンコーダは1本であり、駆動軸の両端のモータにリニアエンコーダの信号を分岐して与え、共通に用いているので、図6に示すような和動モード専用の負荷側外乱オブザーバ42を構成し、和動モード制御系に用いる。
先に述べたように、図4の構成では、左右のモータ11L、11Rの重心位置にある負荷(搭載ヘッド15)を並進方向に制御していることに相当する為、図3における和動モードでの制御と見なすことが可能である。即ち、和動モード専用の負荷側外乱オブザーバ42を構成することが可能であり、仮想モード制御系の和動モード側に適用することができる。
言い換えると、図6内に記した和動モードリニアエンコーダ値は、両側のモータで共通に用いるリニアエンコーダの値そのものであり、それがそのまま和動モードでの値を意味する。従って、図4の構成では差動モードのリニアエンコーダ値は存在しない。
図6に示す通り、和動モード負荷側外乱推定値は、
Figure 2010088193
として、和動モード負荷側外乱オブザーバ42内で推定できる。
外乱推定値は和動モードの推定値である為、負荷側外乱から位置指令までの逆システム50を通して和動モード側にフィードバックする。オブザーバゲインglを大きく設定することにより、負荷側に加わる外乱の影響を除去することが可能となる。
軸の両側のモータを仮想モード制御に基づいて、和と差のモードに分解して制御を行なうことにより、和動軸において位置サーボ、差動軸において両側モータの偏差量抑圧の為の位置レギュレータをそれぞれ構成することが可能となる。この場合、差動モードの位置指令を0として、軸の両側のモータの偏差を抑えて、高いレベルの同期制御を行なうことができる。
以上説明した和動モード負荷側外乱オブザーバ42を採用した同期防振制御を用いることによって、図4の構成においても、負荷の移動に関わらず負荷側をノミナル化して共振周波数を固定することが可能となり、同期の確保及び高精度な防振位置決め制御を実現することが可能となる。
なお、図5に示した制御装置のブロック図では、速度演算部にP制御を用いているが、PI制御、PD制御、PID制御を用いても良い。
又、第1実施形態では、左右のY軸が、それぞれ1個モータとされていたが、X軸だけでなく、図7に示す第2実施形態のように、左右のY軸9L、9Rの前後両側にも、それぞれモータ(7LF、7LR)(7RF、7RR)を設けて、和動モード負荷側外乱オブザーバを適用した仮想モード制御系を構成し、特許文献2での負荷側外乱オブザーバを適用した仮想モード制御を構成することも可能である。図において、8L、8Rは、左右のY軸9L、9Rのタイミングベルト、10L、10Rは、同じくリニアエンコーダである。
なお、前記実施形態においては、本発明が、電子部品搭載装置のガントリ型XY位置決め装置に適用されていたが、本発明の適用対象はこれに限定されず、ガントリ型XY位置決め装置一般に同様に適用できることは明らかである。
又、エンコーダもリニアエンコーダに限定されず、ロータリエンコーダであっても良い。
電子部品搭載装置における従来のガントリ型XY位置決め装置の構成を示す斜視図 従来のガントリ型XY位置決め装置のX軸駆動部の他の例を示す斜視図 特許文献2で提案した同期防振制御装置の構成を示すブロック図 本発明の第1実施形態が適用される電子部品搭載装置のガントリ型XY位置決め装置の構成を示す斜視図 第1実施形態におけるX軸駆動部の同期防振制御装置の構成を示すブロック図 前記同期防振制御装置中の和動モード負荷側外乱オブザーバの構成を示すブロック図 本発明の第2実施形態が適用される電子部品搭載装置のガントリ型XY位置決め装置の構成を示す斜視図
符号の説明
7、7L、7R、7LF、7LR、7RF、7RR…Y軸モータ
8、8L、8R、13…タイミングベルト
9L、9R…Y軸
10L、10R、16…リニアエンコーダ
12…X軸
11、11L、11R…X軸モータ
15…搭載ヘッド

Claims (1)

  1. 駆動軸1個に1つのリニアエンコーダを設け、1個の駆動軸の両端のモータには同一のリニアエンコーダ信号を分配する構成のガントリ型XY位置決め装置において、
    駆動軸の両端のモータの制御に、2次アダマール行列に基づいて和動モードと差動モードに分解する仮想モード制御を行なうことにより、和動軸において位置サーボを、差動軸において偏差量抑圧の為の位置レギュレータをそれぞれ構成して2軸同期制御を行なう際に、
    リニアエンコーダの信号を和動モードのリニアエンコーダ信号と見なし、軸ねじれ角と負荷の加速度に基づいて和動モード専用の負荷側外乱オブザーバを構成し、前記和動モード専用の負荷側外乱オブザーバにて推定した負荷側の外乱を、負荷側外乱から位置指令値までの逆システムを通して和動モード側にフィードバックする一方、
    差動モードには負荷側外乱オブザーバの制御系を構成しないことを特徴とする、ガントリ型XY位置決め装置の同期防振制御装置。
JP2008253596A 2008-09-30 2008-09-30 ガントリ型xy位置決め装置の同期防振制御装置 Expired - Fee Related JP5241413B2 (ja)

Priority Applications (2)

Application Number Priority Date Filing Date Title
JP2008253596A JP5241413B2 (ja) 2008-09-30 2008-09-30 ガントリ型xy位置決め装置の同期防振制御装置
CN2009101801222A CN101714843B (zh) 2008-09-30 2009-09-29 龙门架型xy定位装置

Applications Claiming Priority (1)

Application Number Priority Date Filing Date Title
JP2008253596A JP5241413B2 (ja) 2008-09-30 2008-09-30 ガントリ型xy位置決め装置の同期防振制御装置

Publications (2)

Publication Number Publication Date
JP2010088193A true JP2010088193A (ja) 2010-04-15
JP5241413B2 JP5241413B2 (ja) 2013-07-17

Family

ID=42251601

Family Applications (1)

Application Number Title Priority Date Filing Date
JP2008253596A Expired - Fee Related JP5241413B2 (ja) 2008-09-30 2008-09-30 ガントリ型xy位置決め装置の同期防振制御装置

Country Status (2)

Country Link
JP (1) JP5241413B2 (ja)
CN (1) CN101714843B (ja)

Cited By (3)

* Cited by examiner, † Cited by third party
Publication number Priority date Publication date Assignee Title
CN103219930A (zh) * 2012-01-19 2013-07-24 昆山思拓机器有限公司 用于双电机驱动轴回原点的方法
CN108233777A (zh) * 2016-12-09 2018-06-29 Juki株式会社 电动机的控制装置、缝纫机及电子部件安装装置
CN111706203A (zh) * 2020-06-23 2020-09-25 南方雄狮创建集团股份有限公司 一种自动启闭的玻璃幕墙负压开窗

Families Citing this family (1)

* Cited by examiner, † Cited by third party
Publication number Priority date Publication date Assignee Title
CN109495026B (zh) * 2018-11-29 2021-04-30 苏州汇川技术有限公司 双驱龙门平台驱动系统、方法、设备及计算机可读存储器

Citations (4)

* Cited by examiner, † Cited by third party
Publication number Priority date Publication date Assignee Title
JP3510912B2 (ja) * 1993-12-28 2004-03-29 ジューキ株式会社 ヘッド部駆動機構
JP2005332191A (ja) * 2004-05-19 2005-12-02 Sumitomo Heavy Ind Ltd 移動体位置制御装置及びこの制御装置を用いたステージ装置
JP2007018439A (ja) * 2005-07-11 2007-01-25 Juki Corp ガントリ型xy位置決め装置
JP2007236185A (ja) * 2006-02-03 2007-09-13 Juki Corp 位置決め装置の同期防振制御装置

Family Cites Families (1)

* Cited by examiner, † Cited by third party
Publication number Priority date Publication date Assignee Title
JP3196311B2 (ja) * 1991-05-20 2001-08-06 株式会社明電舎 電動機の速度推定オブザーバ

Patent Citations (4)

* Cited by examiner, † Cited by third party
Publication number Priority date Publication date Assignee Title
JP3510912B2 (ja) * 1993-12-28 2004-03-29 ジューキ株式会社 ヘッド部駆動機構
JP2005332191A (ja) * 2004-05-19 2005-12-02 Sumitomo Heavy Ind Ltd 移動体位置制御装置及びこの制御装置を用いたステージ装置
JP2007018439A (ja) * 2005-07-11 2007-01-25 Juki Corp ガントリ型xy位置決め装置
JP2007236185A (ja) * 2006-02-03 2007-09-13 Juki Corp 位置決め装置の同期防振制御装置

Cited By (3)

* Cited by examiner, † Cited by third party
Publication number Priority date Publication date Assignee Title
CN103219930A (zh) * 2012-01-19 2013-07-24 昆山思拓机器有限公司 用于双电机驱动轴回原点的方法
CN108233777A (zh) * 2016-12-09 2018-06-29 Juki株式会社 电动机的控制装置、缝纫机及电子部件安装装置
CN111706203A (zh) * 2020-06-23 2020-09-25 南方雄狮创建集团股份有限公司 一种自动启闭的玻璃幕墙负压开窗

Also Published As

Publication number Publication date
CN101714843B (zh) 2013-11-06
CN101714843A (zh) 2010-05-26
JP5241413B2 (ja) 2013-07-17

Similar Documents

Publication Publication Date Title
JP4493709B2 (ja) エレベータの箱の振動を減衰させる装置および方法
US7372231B2 (en) Movable body position control device and stage device using the movable body position control device
JP5241413B2 (ja) ガントリ型xy位置決め装置の同期防振制御装置
CN106549608B (zh) 马达控制装置
JP2013533810A (ja) 5自由度運動誤差補正機能を有する能動補正型ステージおよびその運動誤差補正方法
US11586231B2 (en) Reaction compensation device and fast steering mirror system
JP3448733B2 (ja) 真空内リニアアクチュエータ機構
JP5084232B2 (ja) 位置決め装置の同期防振制御装置
JP2000330642A (ja) ステージの位置制御装置及び速度制御装置
JP3194246B2 (ja) X−yステージの制御装置
CN108233777B (zh) 电动机的控制装置、缝纫机及电子部件安装装置
JP2000069781A (ja) 直線方向駆動機構の制御装置
JP2006190074A (ja) 同期制御装置
KR100659479B1 (ko) 스테이지 장치용 반력 처리 시스템
JP2009077591A (ja) Xy位置決め装置の駆動制御装置
JP6725748B2 (ja) 位置決め制御装置の外乱非干渉化補償システム及び部品実装機
JP7614941B2 (ja) モータ制御システムおよびモータ制御システムの制御方法
JP2013132697A (ja) 直動ロボット
JP2009241168A (ja) 部品把持装置とその方法
JP5588139B2 (ja) 位置決め装置の同期防振制御装置
JP2821835B2 (ja) 微動位置決め装置
JP4367041B2 (ja) 機械制御装置
JP2013132698A (ja) 直動ロボット
JP4936003B2 (ja) オートチューニング機能を備えた多軸制御装置
JP2001030136A (ja) 移動装置

Legal Events

Date Code Title Description
A621 Written request for application examination

Free format text: JAPANESE INTERMEDIATE CODE: A621

Effective date: 20110926

TRDD Decision of grant or rejection written
A01 Written decision to grant a patent or to grant a registration (utility model)

Free format text: JAPANESE INTERMEDIATE CODE: A01

Effective date: 20130305

A61 First payment of annual fees (during grant procedure)

Free format text: JAPANESE INTERMEDIATE CODE: A61

Effective date: 20130402

FPAY Renewal fee payment (event date is renewal date of database)

Free format text: PAYMENT UNTIL: 20160412

Year of fee payment: 3

R150 Certificate of patent or registration of utility model

Free format text: JAPANESE INTERMEDIATE CODE: R150

Ref document number: 5241413

Country of ref document: JP

Free format text: JAPANESE INTERMEDIATE CODE: R150

LAPS Cancellation because of no payment of annual fees