JP2010087854A - アンテナ - Google Patents

アンテナ Download PDF

Info

Publication number
JP2010087854A
JP2010087854A JP2008254913A JP2008254913A JP2010087854A JP 2010087854 A JP2010087854 A JP 2010087854A JP 2008254913 A JP2008254913 A JP 2008254913A JP 2008254913 A JP2008254913 A JP 2008254913A JP 2010087854 A JP2010087854 A JP 2010087854A
Authority
JP
Japan
Prior art keywords
ground plate
radiating element
antenna
feeding
cable
Prior art date
Legal status (The legal status is an assumption and is not a legal conclusion. Google has not performed a legal analysis and makes no representation as to the accuracy of the status listed.)
Granted
Application number
JP2008254913A
Other languages
English (en)
Other versions
JP5139224B2 (ja
Inventor
Hirotaka Furuya
洋高 古屋
Yasushi Kan
寧 官
Current Assignee (The listed assignees may be inaccurate. Google has not performed a legal analysis and makes no representation or warranty as to the accuracy of the list.)
Fujikura Ltd
Original Assignee
Fujikura Ltd
Priority date (The priority date is an assumption and is not a legal conclusion. Google has not performed a legal analysis and makes no representation as to the accuracy of the date listed.)
Filing date
Publication date
Application filed by Fujikura Ltd filed Critical Fujikura Ltd
Priority to JP2008254913A priority Critical patent/JP5139224B2/ja
Publication of JP2010087854A publication Critical patent/JP2010087854A/ja
Application granted granted Critical
Publication of JP5139224B2 publication Critical patent/JP5139224B2/ja
Expired - Fee Related legal-status Critical Current
Anticipated expiration legal-status Critical

Links

Images

Landscapes

  • Waveguide Aerials (AREA)
  • Details Of Aerials (AREA)

Abstract

【課題】本発明は、アンテナの特性への影響が少なく、かつ給電ケーブルの脱離しにくいアンテナの提供を目的とする。
【解決手段】本発明に係るアンテナは、グランド板11と、グランド板11の外縁に接続され、高周波電力が給電される給電点13と、給電点13に接続され、給電点13から給電を受ける放射素子12と、を備え、放射素子12とグランド板11が一定距離で対向する対向部10における放射素子12とグランド板11の間の形状が、対向する方向への段差を有することを特徴とする。
【選択図】図1

Description

本発明は、携帯電話や無線LANなどに用いられるマルチバンド対応のアンテナに関し、特にデジタル家電に搭載される小型化が可能な平面アンテナに関する。
アンテナへの給電のために、給電点に給電ケーブルが接続される。このとき、従来のアンテナでは、給電ケーブルがグランド板に重なっていた(例えば、特許文献1参照。)。
図6に、従来のアンテナの給電ケーブル配置例を示す。給電ケーブル5は、放射素子からグランド板に向けてまっすぐ伸び、グランド板4を横切っている。この配置では、アンテナの特性が変化する場合がある。そのため、従来は、給電ケーブル5をグランド板4表面から浮かせていた。
特開2007−202085号公報
給電ケーブルをグランド板表面から浮かせて設置すると、給電ケーブルが引っ張られたときに、給電ケーブルが脱離し易い。また、アンテナが立体的になるため、無線機器の小型化を妨げることになる。
一方で、グランド板や放射素子の形状を変更すると、アンテナの特性が変化する場合がある。
そこで、本発明は、アンテナの特性への影響が少なく、かつ給電ケーブルの脱離しにくいアンテナの提供を目的とする。
上記課題を解決するために、本発明に係るアンテナは、放射素子とグランド板が一定距離で対向する対向部に段差を設け、当該段差部分に給電ケーブルを固定することを特徴とする。
具体的には、本発明に係るアンテナは、グランド板と、前記グランド板の外縁に接続され、高周波電力が給電される給電点と、前記給電点に接続され、前記給電点から給電を受ける放射素子と、を備え、前記放射素子と前記グランド板が一定距離で対向する対向部における前記放射素子と前記グランド板の間の形状が、前記対向する方向への段差を有することを特徴とする。
段差部分に給電ケーブルを固定することで、給電ケーブルがグランド板上を横断するのを防ぐことができる。これにより、給電ケーブルをグランド板から浮かせることなく、アンテナの特性への影響を少なくすることができる。また、段差を利用して、段差のコーナーを放射素子及びグランド板に給電ケーブルを固定する領域とすることができるので、給電ケーブルを放射素子及びグランド板に堅固に固定することができる。
本発明に係るアンテナでは、前記段差の幅が、前記一定距離よりも大きいことが好ましい。
給電ケーブルの配線経路を、グランド板の中心から大きく外すことができる。これにより、アンテナの特性への影響をより少なくすることができる。
本発明に係るアンテナでは、前記段差の幅と前記一定距離との差が、前記給電点に接続される給電ケーブルの半径よりも大きいことが好ましい。
給電ケーブルの配線経路を、グランド板の端にすることができる。これにより、アンテナの特性への影響をより少なくすることができる。
本発明に係るアンテナでは、前記段差の形状が、階段状であることが好ましい。
給電ケーブルを固定する領域を確保することができるので、給電ケーブルを脱離しにくくすることができる。
本発明に係るアンテナでは、前記グランド板と前記放射素子は同一平面上に一体形成され、前記放射素子はコの字型に折り返されていることが好ましい。
平面アンテナとすることで、無線機器に搭載しやすくなる。また、放射素子がコの字型に折り返されていることで、アンテナの反射帯域を広げることができる。
本発明によれば、アンテナの特性への影響が少なく、かつ給電ケーブルの脱離しにくいアンテナの提供をすることができる。
添付の図面を参照して本発明の実施の形態を説明する。以下に説明する実施の形態は本発明の構成の例であり、本発明は、以下の実施の形態に制限されるものではない。
図1は、本実施形態に係るアンテナの構成概略図である。グランド板11と、放射素子12と、給電点13と、を備える。無線機器の薄型化のため、グランド板11、給電点13及び放射素子12は、同一平面上に一体形成されていることが好ましい。例えば、ベース基材にはポリイミド基材を用い、その上に銅箔にてグランド板11及び放射素子12を形成する。
給電点13は、グランド板11の外縁に接続され、高周波電力が給電される。放射素子12は、給電点13に接続され、給電点13から給電を受ける。例えば、給電ケーブルがグランド板11の外縁及び放射素子12に接続され、給電ケーブルからの電力をグランド板11の外縁及び放射素子12に供給する。放射素子12及びグランド板11との接続は、例えば半田などの導電性材料で固着する。
放射素子12は、コの字型に折り返されていることが好ましい。コの字型に折り返されていることで、アンテナの周波数特性を広帯域にすることができる。放射素子12は、コの字型の直線部分にさらにメアンダが設けられていることが好ましい。
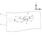
放射素子12とグランド板11は、一定距離で対向する対向部10を備える。給電点13は、対向部10であって、放射素子12とグランド板11の間に配置される。図1では、対向部10における放射素子12とグランド板11の間の形状が直線で形成される場合について示したが、当該形状は曲線を含んでいてもよい。
図2に、対向部の第1の形態例を示す。対向部の第1の形態では、対向部10における放射素子12とグランド板11の間の形状が、対向するz方向への段差を有する。図2では、放射素子12とグランド板11が対向する方向をz方向とした。図2では、給電点13がグランド板11の中心51に配置されているので、段差のない通常の形態であれば、給電ケーブルがグランド板11の中心51上を横断することになる。しかし、本実施形態では段差のコーナーにケーブルを固定することで、給電ケーブルがグランド板11上を横断することを防ぐことができる。また、放射素子12及びグランド板11の形状を変化させるが、実験を行った結果、アンテナの特性に与える影響がほとんどないことを確認した。
放射素子12とグランド板11は、一定距離d1で対向する。このとき、アンテナの周波数特性が安定するよう、段差においても、放射素子12とグランド板11は、一定距離d1で対向することが好ましい。一定距離d1を維持することで、放射素子12とグランド板11の間の放射結合を防ぐことができる。段差のコーナーでは放射結合が生じ易いので、対向するz方向と垂直なy方向における放射素子12とグランド板11の間は、一定距離d1以上であることが好ましい。
給電ケーブルを放射素子12及びグランド板11に固着する際、固着する領域が狭いと給電ケーブルが脱離しやすくなる。そこで、対向部10における段差の形状が、階段状であることが好ましい。放射素子12とグランド板11における給電ケーブルを固定する領域が広くなるので、給電ケーブルを堅固に固定することができる。
階段の段数は限定しない。例えば、階段の段数を増やして階段のコーナーをなだらかにし、放射素子12とグランド板11のコーナー同士で生じる放射結合を防いでもよい。一方で、段差のコーナーの面積が小さくなると、給電ケーブルを固定する領域が小さくなる。そのため、段差の形状は、角が丸みを帯びた階段状であることが好ましい。
放射素子12とグランド板11のコーナーの角度は限定しない。図3に、対向部の第2の形態例を示す。放射素子12とグランド板11のコーナーの角度θが鈍角になっている。放射素子12とグランド板11のコーナーは、角が丸みを帯びていてもよい。角度θを調整することで、放射素子12及びグランド板11のコーナーの間に生じる放射結合を防ぐことができる。
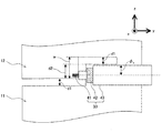
図4に、対向部の第3の形態例を示す。給電ケーブルは33、グランド板11上に配置されないことが好ましい。そこで、段差の幅wは、一定距離d1よりも大きくなっていることが好ましい。このとき、グランド板11と放射素子12のコーナーのなかで、y方向の同一直線上で重なる領域が生じる。このy方向の同一直線上で重なる領域に給電ケーブル33の導線41と網線42を固定することで、給電ケーブル33をグランド板11の端に沿って配線することができる。これにより、アンテナの特性への影響が少なくなるとともに、アンテナの薄型化を可能とすることができる。
特に、段差の幅wと一定距離d1との差d2が、給電点13に接続される給電ケーブル33の半径φよりも大きいことが好ましい。グランド板11及び放射素子12のコーナーに網線42を固定するための領域を確保することができるので、給電ケーブル33をグランド板11の端に沿って配線した状態で、給電ケーブル33を堅固に固定することができる。なお、半径φは、最外被覆43までの半径であることが好ましいが、網線42までの半径であってもよい。
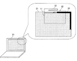
図5に、本実施形態に係るアンテナのノートパソコンへの搭載例を示す。本実施形態に係るアンテナ32は平面アンテナとすることができるので、ノートパソコンなどの携帯端末機器のディスプレイ31の背面に搭載することができる。例えば、グランド板11及び給電ケーブル33がディスプレイ31の背面に配置され、放射素子12がディスプレイ31脇から表面に露出するように配置される。このとき、アンテナ32は、給電ケーブル33をグランド板11の端に沿って配線することができる。そのため、給電ケーブル33の配線経路を、ディスプレイ31の外縁に沿った直線的な経路とすることができる。これにより、ディスプレイをさらに薄型化することが可能となる。
本発明は、無線LAN対応5GHz用アンテナに利用することができる。特に、テレビ、ノートパソコンなどのデジタル家電に搭載されるアンテナに利用することができる。
本実施形態に係るアンテナの構成概略図である。 対向部の第1の形態例を示す。 対向部の第2の形態例を示す。 対向部の第3の形態例を示す。 本実施形態に係るアンテナのノートパソコンへの搭載例を示す。 従来のアンテナの給電ケーブル配置例を示す。
符号の説明
10 対向部
11 グランド板
12 放射素子
13 給電点
31 ディスプレイ
32 アンテナ
33 給電ケーブル
41 導線
42 網線
43 最外被覆
51 グランド板の中心

Claims (5)

  1. グランド板と、
    前記グランド板の外縁に接続され、高周波電力が給電される給電点と、
    前記給電点に接続され、前記給電点から給電を受ける放射素子と、を備え、
    前記放射素子と前記グランド板が一定距離で対向する対向部における前記放射素子と前記グランド板の間の形状が、前記対向する方向への段差を有することを特徴とするアンテナ。
  2. 前記段差の幅が、前記一定距離よりも大きいことを特徴とする請求項1に記載のアンテナ。
  3. 前記段差の幅と前記一定距離との差が、前記給電点に接続される給電ケーブルの半径よりも大きいことを特徴とする請求項2に記載のアンテナ。
  4. 前記段差の形状が、階段状であることを特徴とする請求項1から3のいずれかに記載のアンテナ。
  5. 前記グランド板と前記放射素子は同一平面上に一体形成され、
    前記放射素子はコの字型に折り返されていることを特徴とする請求項1から4のいずれかに記載のアンテナ。
JP2008254913A 2008-09-30 2008-09-30 アンテナ Expired - Fee Related JP5139224B2 (ja)

Priority Applications (1)

Application Number Priority Date Filing Date Title
JP2008254913A JP5139224B2 (ja) 2008-09-30 2008-09-30 アンテナ

Applications Claiming Priority (1)

Application Number Priority Date Filing Date Title
JP2008254913A JP5139224B2 (ja) 2008-09-30 2008-09-30 アンテナ

Publications (2)

Publication Number Publication Date
JP2010087854A true JP2010087854A (ja) 2010-04-15
JP5139224B2 JP5139224B2 (ja) 2013-02-06

Family

ID=42251352

Family Applications (1)

Application Number Title Priority Date Filing Date
JP2008254913A Expired - Fee Related JP5139224B2 (ja) 2008-09-30 2008-09-30 アンテナ

Country Status (1)

Country Link
JP (1) JP5139224B2 (ja)

Citations (3)

* Cited by examiner, † Cited by third party
Publication number Priority date Publication date Assignee Title
JP2005094078A (ja) * 2003-09-12 2005-04-07 Tyco Electronics Amp Kk 平板状アンテナ
JP2005318333A (ja) * 2004-04-28 2005-11-10 Nissei Electric Co Ltd アンテナ
JP2007259063A (ja) * 2006-03-23 2007-10-04 Hitachi Cable Ltd アンテナ

Patent Citations (3)

* Cited by examiner, † Cited by third party
Publication number Priority date Publication date Assignee Title
JP2005094078A (ja) * 2003-09-12 2005-04-07 Tyco Electronics Amp Kk 平板状アンテナ
JP2005318333A (ja) * 2004-04-28 2005-11-10 Nissei Electric Co Ltd アンテナ
JP2007259063A (ja) * 2006-03-23 2007-10-04 Hitachi Cable Ltd アンテナ

Also Published As

Publication number Publication date
JP5139224B2 (ja) 2013-02-06

Similar Documents

Publication Publication Date Title
US7551142B1 (en) Hybrid antennas with directly fed antenna slots for handheld electronic devices
JP5162012B1 (ja) アンテナ装置とこのアンテナ装置を備えた電子機器
US6677909B2 (en) Dual band slot antenna with single feed line
US8525741B2 (en) Multi-loop antenna system and electronic apparatus having the same
US10727569B2 (en) Mobile device and manufacturing method thereof
JP5712964B2 (ja) アンテナ装置
US20130321212A1 (en) Volumetrically configurable monopole antennas and related methods
JP6323455B2 (ja) アンテナ装置
TW201312851A (zh) 天線隔離元件
US10581168B2 (en) Antenna and electric device
JP3656610B2 (ja) 板状アンテナおよびそれを備えた電気機器
JPWO2004097980A1 (ja) 広帯域平板状アンテナ
US7187331B2 (en) Embedded multiband antennas
TWI577084B (zh) 行動通訊裝置
JP2013016879A (ja) アンテナ
JP2005286915A (ja) 多周波用アンテナ
US20110074647A1 (en) Antenna module
JP5139224B2 (ja) アンテナ
WO2010113992A1 (ja) アンテナ装置
JP5122621B2 (ja) 多周波アンテナ
JP5442347B2 (ja) ダイポールアンテナ
TWI617095B (zh) 電子裝置
US20090303151A1 (en) Low profile gps antenna assembly
JP4950681B2 (ja) アンテナおよびアンテナの部品
JP4744371B2 (ja) アンテナ装置

Legal Events

Date Code Title Description
A621 Written request for application examination

Free format text: JAPANESE INTERMEDIATE CODE: A621

Effective date: 20110610

A977 Report on retrieval

Free format text: JAPANESE INTERMEDIATE CODE: A971007

Effective date: 20120614

A131 Notification of reasons for refusal

Free format text: JAPANESE INTERMEDIATE CODE: A131

Effective date: 20120626

A521 Written amendment

Free format text: JAPANESE INTERMEDIATE CODE: A523

Effective date: 20120824

TRDD Decision of grant or rejection written
A01 Written decision to grant a patent or to grant a registration (utility model)

Free format text: JAPANESE INTERMEDIATE CODE: A01

Effective date: 20121016

A01 Written decision to grant a patent or to grant a registration (utility model)

Free format text: JAPANESE INTERMEDIATE CODE: A01

A61 First payment of annual fees (during grant procedure)

Free format text: JAPANESE INTERMEDIATE CODE: A61

Effective date: 20121115

R150 Certificate of patent (=grant) or registration of utility model

Free format text: JAPANESE INTERMEDIATE CODE: R150

FPAY Renewal fee payment (prs date is renewal date of database)

Free format text: PAYMENT UNTIL: 20151122

Year of fee payment: 3

LAPS Cancellation because of no payment of annual fees