JP2010085747A - カラーフィルター、カラーフィルターの製造方法、フォトマスク - Google Patents

カラーフィルター、カラーフィルターの製造方法、フォトマスク Download PDF

Info

Publication number
JP2010085747A
JP2010085747A JP2008255317A JP2008255317A JP2010085747A JP 2010085747 A JP2010085747 A JP 2010085747A JP 2008255317 A JP2008255317 A JP 2008255317A JP 2008255317 A JP2008255317 A JP 2008255317A JP 2010085747 A JP2010085747 A JP 2010085747A
Authority
JP
Japan
Prior art keywords
filter
colored layer
spacer
opening
color
Prior art date
Legal status (The legal status is an assumption and is not a legal conclusion. Google has not performed a legal analysis and makes no representation as to the accuracy of the status listed.)
Granted
Application number
JP2008255317A
Other languages
English (en)
Other versions
JP5263711B2 (ja
Inventor
Kohei Matsui
浩平 松井
Ryosuke Yasui
亮輔 安井
Current Assignee (The listed assignees may be inaccurate. Google has not performed a legal analysis and makes no representation or warranty as to the accuracy of the list.)
Toppan Inc
Original Assignee
Toppan Printing Co Ltd
Priority date (The priority date is an assumption and is not a legal conclusion. Google has not performed a legal analysis and makes no representation as to the accuracy of the date listed.)
Filing date
Publication date
Application filed by Toppan Printing Co Ltd filed Critical Toppan Printing Co Ltd
Priority to JP2008255317A priority Critical patent/JP5263711B2/ja
Publication of JP2010085747A publication Critical patent/JP2010085747A/ja
Application granted granted Critical
Publication of JP5263711B2 publication Critical patent/JP5263711B2/ja
Expired - Fee Related legal-status Critical Current
Anticipated expiration legal-status Critical

Links

Images

Landscapes

  • Liquid Crystal (AREA)
  • Optical Filters (AREA)

Abstract

【課題】フォトマスクを形成用の専用の工程を設けることなく、高さの異なるフォトスペーサーを形成でき、かつ、必要なフォトマスクの枚数を低減できる構造を備えたカラーフィルター及びその製造方法を提供する。
【解決手段】カラーフィルター1は、基板4と対向部材9との間隔を規制するフォトスペーサー11〜13を備えている。フォトスペーサー11〜13は、各色の画素位置に設けられるフィルターと同一材料よりなる着色層を積層することによって構成されている。また、ブラックマトリックス5の表面に形成される着色層の大きさ(基板4と平行な方向の大きさ)を変えることによって、フォトスペーサー11とフォトスペーサー12及び13との高さの差が付与される。
【選択図】図3

Description

本発明は、液晶表示装置用のカラーフィルター及びその製造方法、並びに、カラーフィルターの製造に用いられるフォトマスクに関するものである。
カラーの液晶表示装置に用いられる液晶パネルは、カラーフィルターと、カラーフィルターに対向して配置される基板と、これらの間に封入される液晶分子とを中心に構成されている。
カラーフィルターは、ガラス等の基板上に、格子状のブラックマトリックスと、赤・緑・青の3色に対応するカラーパターンとを設けることによって構成されている。また、カラーフィルターの基板上には、対向する基板との間隔を規制する目的で、所定の高さを有するフォトスペーサーが複数配置される(例えば、特許文献1〜3参照)。
また、カラーフィルターを構成するカラーパターンは、基板上に感光性材料を塗布し、フォトマスクを用いた露光とその後の現像処理によりパターニングするフォトリソグラフィ法によって形成される。また、フォトスペーサーも同様に、フォトスペーサー形成用の感光性材料及びフォトマスクを用いて、フォトリソグラフィ法によって形成される。
特開2005−91853号公報 特開2008−20732号公報 特開平7−318950号公報 特開平10−123534号公報
近年、液晶表示装置の大型化及び高精細化が進展するにつれて、カラーフィルターの製造用フォトマスクにもまた大型化や高い精度が要求されている。フォトマスクは、超微細加工技術を用いて製造されるため、大型かつ高精細な液晶表示装置用のカラーフィルターの製造に用いられるフォトマスクは、非常に高価なものとなっている。
一般に、カラーフィルターの基板上に赤・緑・青の3色のカラーパターンを形成する場合、感光性材料の塗布、フォトマスクを用いた露光、現像及びベーキングの各処理を含む工程を各色毎に行う。したがって、一般的なカラーフィルターの製造方法では、各色の画素配置に応じた開口パターンを有する3種類のフォトマスクが最低限必要となる。これに加えて、万一のフォトマスクの破損やフォトマスクの洗浄作業に備えて、赤・緑・青の各色毎に予備のフォトマスクを用意すると、実際には6枚のフォトマスクが必要となり、フォトマスクに要するコストが極めて高くなる。特に、カラーパターン形成用のフォトマスクの他に、フォトスペーサー形成用のフォトマスクを用いた別段の工程を設ける場合には、更なるコスト増を招く。
また、一対の基板間に配置されるフォトスペーサーは、液晶分子が封入される隙間を規定するためのものではあるが、基板に加わる加重を分散させて、基板の塑性変形や破壊を防ぐために、基板上には高さの異なる複数種類のフォトスペーサーが分散して配置されることが好ましい。
本発明は、上記の課題を解決するためになされたものであり、フォトマスクを形成用の専用の工程を設けることなく、高さの異なるフォトスペーサーを形成することができ、かつ、必要なフォトマスクの枚数を低減できるカラーフィルターの製造方法及びフォトマスクを提供することを目的とする。
また、本発明は、このような製造方法を可能とする構造を有するカラーフィルターを提供することも目的とする。
本発明に係るカラーフィルターの製造方法は、基板上に、第1〜第3の色の画素にそれぞれ対応する第1〜第3のフィルターと、第1及び第2のスペーサーとを少なくとも有する液晶表示装置用カラーフィルターを製造するためのものである。
当該製造方法は、第1のフィルターの配列に対応する複数の第1の開口と、第1のスペーサーの位置に対応する複数の第2の開口と、第2のスペーサーの位置に対応する複数の第3の開口とが配列された開口パターンを有するフォトマスクを用いて、第1〜第3のフィルターをそれぞれ形成する工程を備える。
第1〜第3の開口は、第1の開口が第1のフィルターの形成位置に対応する第1の状態にあっては、第2の開口が第1のスペーサーの形成位置に対応すると共に、第3の開口が第2のスペーサーの形成位置に対応し、第1の開口が第2のフィルターの形成位置に対応する第2の状態にあっては、第2の開口が第2のスペーサーの形成位置に対応し、第1の開口が第3のフィルターの形成位置に対応する第3の状態にあっては、第3の開口が第1のスペーサーの形成位置に対応するように配列されている。
第1のフィルターを形成する工程では、フォトマスクを第1の状態となるように配置して、基板上に第1の色のフィルター形成用材料をパターニングし、第1のフィルターと同時に、第1のスペーサーの一部となる第1の着色層と、第2のスペーサーの一部となる第2の着色層とを形成する。
第2のフィルターを形成する工程では、開口パターンと同一のパターンを有するフォトマスクを第2の状態となるように配置して、基板上に第2の色のフィルター形成用材料をパターニングし、第2のフィルターと同時に、第2のスペーサーの一部となる第3の着色層を形成する。
第3のフィルターを形成する工程では、開口パターンと同一のパターンを有するフォトマスクを第3の状態となるように配置して、基板上に第3の色のフィルター形成用材料をパターニングし、第3のフィルターと同時に、第1のスペーサーの一部となる第4の着色層とを形成する。
また、第2の開口の面積と、第3の開口の面積とが異なっている。
本発明に係るカラーフィルターは、基板と、基板上において、第1〜第3の色の画素にそれぞれ対応するように配列される第1〜第3のフィルターと、基板とこれに対向して配置される対向部材との間隔を規制する第1及び第2のスペーサーとを備えるものである。
第1のスペーサーは、第1のフィルターと同一材料よりなる第1の着色層と、第3のフィルターと同一材料よりなり、第1の着色層に積層される第4の着色層とを含む。第2のスペーサーは、第1のフィルターと同一材料よりなる第2の着色層と、第2のフィルターと同一材料よりなり、第2の着色層に積層される第3の着色層とを含む。また、第1のスペーサー及び第2のスペーサーは、高さまたは対向部材との接触面積が異なっている。
本発明に係るフォトマスクは、上記の製造方法で用いられるものであって、第1のフィルターの配列に対応する複数の第1の開口と、第1のスペーサーの位置に対応する複数の第2の開口と、第2のスペーサーの位置に対応する複数の第3の開口とを有する。
第1〜第3の開口は、第1の開口が第1のフィルターの形成位置に対応する第1の状態にあっては、第2の開口が第1のスペーサーの形成位置に対応すると共に、第3の開口が第2のスペーサーの形成位置に対応し、第1の開口が第2のフィルターの形成位置に対応する第2の状態にあっては、第2の開口が第2のスペーサーの形成位置に対応し、第1の開口が第3のフィルターの形成位置に対応する第3の状態にあっては、第3の開口が第1のスペーサーの形成位置に対応するように配列される。
本発明によれば、1つの開口パターンを3色のフィルターの形成に共通化しつつ、フィルターと同一材料を用いて、高さの異なる複数のフォトスペーサーを作り分けることが可能となり、カラーフィルターの製造コストを低減できる。
以下、図面を参照しながら、本発明の各実施形態について説明する。以下では、説明を容易にするために、カラーフィルターが赤(R)・緑(G)・青(B)の3原色のパターンで構成される例について説明する。
(第1の実施形態)
図1は、本発明の第1の実施形態に係るカラーフィルターの一部を示す平面図であり、図2は、図1のII−IIラインに沿った断面図であり、図3は、図1のIII−IIIラインに沿った断面図である。
カラーフィルター1は、ガラス等の基板4と、ブラックマトリックス5(右上がりのハッチングを付した部分)と、第1〜第3の色(赤・緑・青)の画素にそれぞれ対応するフィルター6〜8と、フォトスペーサー11〜13とを備えている。本実施形態に係るカラーフィルター1は、行方向に連続する3つのフィルター6〜8と、これらの画素に隣接して配置されるフォトスペーサー11〜13とを含む部分を構成単位とし、当該構成単位の繰り返しによって構成されている。
ブラックマトリックス5は、黒色の顔料等を含む材料を用いて基板4上に格子状に形成され、画素の形成領域を区画する。ブラックマトリックス5は、図示しないバックライトからの光漏れや、混色を防止するために設けられるものであり、フォトリソグラフィ法によって形成される。
フィルター6〜8は、各色の顔料等を含む材料よりなり、ブラックマトリックス5によって区画された基板4上の各画素領域(すなわち、ブラックマトリックス5の開口部分)と、当該画素領域を囲むブラックマトリックス5の一部とを覆うように形成されている。フィルター6〜8は、同一形状を有し、基板4上に行方向(図1における左右方向)及び列方向(図1における上下方向)にそれぞれ所定の間隔を空けて二次元状に配列されている。図1の例では、フィルター6、7及び8は、R、G及びBの各色にそれぞれ対応しており、図1における右方向に向かって、RGBの順に繰り返し配列されている。
フォトスペーサー11〜13は、カラーフィルター1の基板4と、これに対向するように配置される対向部材9との間隔を規制するために、ブラックマトリックス5の表面に配置されている。本実施形態においては、フォトスペーサー11〜13は、隣接する画素行の間において、一定間隔(1画素分のピッチ)を空けて、画素列に沿う直線状に整列している。尚、対向部材9は、基板4と共に液晶セルを構成する基板等(例えば、TFT側基板)が該当し、基板4と対向部材9との間の空間には、液晶パネルの組み立て工程において、液晶分子が封入される。
図4は、図1のIV−IVラインに沿った拡大断面図であり、フォトスペーサー11の構造をより詳細に示したものである。
フォトスペーサー11は、フィルター6と同一材料よりなり、ブラックマトリックス5の表面に形成された着色層121と、フィルター8と同一材料により、着色層121の上に積層された着色層124とから構成されている。着色層124の底面の面積は、着色層124の上面の面積より小さく、着色層124はその底面が着色層121の上面とのみ接している。
図5は、図1のV−Vラインに沿った拡大断面図であり、フォトスペーサー12の構造をより詳細に示したものである。
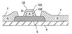
フォトスペーサー12は、フィルター6と同一材料よりなり、ブラックマトリックス5の表面に形成された着色層122と、フィルター7と同一材料よりなり、着色層122の表面を覆うように形成された着色層123とから構成されている。
図1〜図3に戻って、フォトスペーサー13は、フィルター7と同一材料よりなり、ブラックマトリックス5の表面に形成された着色層125と、フィルター8と同一材料よりなり、着色層125を覆うように形成された着色層126とから構成されている。フォトスペーサー13は、積層された着色層125及び126の色を除いて、フォトスペーサー12と同様の構造(図5)を有している。
フォトスペーサー12及び13の上端のレベルは、フォトスペーサー11の上端のレベルより低くなるように設定されている。このようにフォトスペーサー11〜13の高さに差を設定することによって、パネルに圧力が加えられた場合でも、設定した高さの差に応じて、基板4や対向部材9の撓みを許容することができるので、基板4や対向部材9の変形や破壊を防止することが可能となる。より特定的には、本実施形態に係るカラーフィルター1において、フォトスペーサー11〜13の高さの差は、ブラックマトリックス5の表面に形成される下層の着色層121、122及び125の上面の面積を変えることによって設定されている。尚、フォトスペーサー11〜13の高さの詳細については後述する。
尚、以下の説明では、基板4と対向部材9との間隔の最大値を規定するために設けられるフォトスペーサー11を「メインPS」といい、メインPSより高さが低く、パネルの塑性変形を許容するフォトスペーサー12及び13を「サブPS」という。
また、図3には、メインPS11の上端と対向部材9とが接した状態が図示されているが、ブラックマトリックス5、フィルター6〜7、メインPS11及びサブPS12〜16の表面を覆うように形成した透明薄膜や保護膜等が更に形成される場合もある。
以下、本実施形態に係るカラーフィルター1の製造方法について説明する。
図6は、図1に示されるカラーフィルターの製造に用いられるフォトマスクの一部を示す平面図であり、フォトマスクに形成された開口と、図1に示したカラーフィルター1の各部とを対応させて示したものである。
図6において、右下がりのハッチングを付した領域は、感光性材料の露光時に光が透過しない部分を表す。実線で示した白抜きの領域(111〜113)は、露光時に用いられる所定波長の光の少なくとも一部を透過可能な開口を表し、白抜きの領域に付された記号R、G、B、PS11〜PS13は、各開口に対応して形成されるフィルターまたはフォトスペーサーを表す。また、破線は、カラーフィルターの各部のうち、フォトマスクに形成された開口と対応しない部分の形成位置を表している。
尚、図6では、図示の都合上、フォトマスクの一部のみを示しているが、実際には、カラーフィルターの構成単位、すなわち、行方向に連続する3画素及びこれらの画素に沿って整列する3つのフォトスペーサーに対応する領域の繰り返しパターンによってフォトマスクが構成されている。
図6(a)は、第1の色のフィルター6形成時におけるフォトマスク14とカラーフィルター1との対応関係を示している。
フォトマスク14aは、第1色目(例えば、赤)の配列に対応する複数の開口111と、メインPS11に対応する複数の開口112と、サブPS12に対応する複数の開口112とを有している。ここで、「第n色目のフィルターの配列に対応する開口」とは、形成されるフィルターと同一または相似の平面形状を有し、第n色目のフィルター配列の相対的な位置関係と同じ位置関係となるように配列された開口を意味する。また、「メインPS(サブPS)に対応する開口」とは、メインPS(サブPS)を構成するいずれかの着色層と同一または相似の平面形状を有し、第n色目のフィルター形成時に、開口の像がメインPS(サブPS)の形成領域の少なくとも一部と重なるように配置される開口を意味する。
開口111、112及び113は、フィルター6、メインPS11及びサブPS12の相対的な位置関係と同一の位置関係を満たすように配置されている。したがって、図6(a)に示すように、開口111をフィルター6の形成領域に対応させた場合、開口112の像がメインPS11の形成領域と重なり、開口113の像がサブPS112の形成領域と重なる。本実施形態では、フォトマスク14がカラーフィルター1に対して図6(a)のように配置されている状態を、「第1の状態」という。
また、本実施形態では、開口112及び113は相似形であるが、開口112の面積が開口113の面積より大きくなるように設定されている。
図6(b)は、第2の色のフィルター7形成時におけるフォトマスク14とカラーフィルター1との対応関係を示している。
第2の色(例えば、緑)のフィルター7を形成する場合、フィルター14は、第1の状態から(3k−2)画素分に相当する距離だけ行方向(図6の左右方向)にずらして配置される(ただし、kは整数である)。開口111、112及び113は、上述した位置関係に加えて、フィルター7、サブPS12、サブPS13の相対的な位置関係と同一の位置関係も同時に満たすように配列されている。したがって、図6(b)に示すように、開口111をフィルター7の形成領域に対応させた場合、開口112の像がサブPS12の形成領域と重なり、開口113の像がサブPS13と重なる。本実施形態では、フォトマスク14がカラーフィルター1に対して図6(b)のように配置されている状態を、「第2の状態」という。
図6(c)は、第3の色のフィルター8形成時におけるフォトマスク14とカラーフィルター1との対応関係を示している。
第3の色(例えば、青)のフィルター8を形成する場合、フィルター14は、第1の状態から(3k−1)画素分に相当する距離(第2の状態から(3k−2)画素分に相当する距離)だけ行方向にずらして配置される(ただし、kは整数である)。開口111、112及び113は、上述した各位置関係に加えて、フィルター8、サブPS13及びメインPS11の相対的な位置関係と同一の位置関係も同時に満たすように配列されている。したがって、図6(c)に示すように、開口111をフィルター8の形成位置に対応させた場合、開口112の像がサブPS13の形成領域と重なり、開口113の像がメインPS11の形成領域と重なる。本実施形態では、フォトマスク14がカラーフィルター1に対して図6(c)のように配置されている状態を、「第3の状態」という。
尚、本実施形態においては、メインPS11、サブPS12及びサブPS13が、第1、第2及び第3のスペーサーにそれぞれ相当する。また、開口111、112及び113が、第1、第2及び第3の開口にそれぞれ相当する。更に、着色層121、122、123、124、125、126が、第1、第2、第3、第4、第5及び第6の着色層にそれぞれ相当する。
図7、本発明の第1の実施形態に係るカラーフィルターの製造工程を模式的に示す工程図である。図5の左側の列は図2に示した画素部分の断面に対応し、右側の列は図3に示したフォトスペーサー部分の断面に対応する。図5においては、説明を容易にするために、形成されたカラーフィルターの各部とフォトマスクとを、1対1の寸法比で示している。また、本実施形態では、図6のフォトマスク14と同一の開口パターンを有する3枚のフォトマスク14a〜14cを用いて3色のフィルター及び着色層を形成する方法について説明する。
まず、図7(a)に示すように、第1の色のフィルター形成用材料をパターニングし、フィルター6を形成する。より詳細には、表面にブラックマトリックス5が形成された基板4上に、第1色目(例えば、赤)のカラーレジストを塗布し、カラーレジストを乾燥させる。続いて、フォトマスク14aを第1の状態(図6(a))となるように配置し、所定の波長の光を照射して各開口の像に対応するカラーレジストの一部を露光する。現像処理及びベーキングを行うことにより基板4上に残存したカラーレジストを硬化させると、フィルター6と同時に、着色層121及び122がそれぞれ開口112及び113に対応する位置に形成される。上述したように、開口112は開口113より大きく設定されているので、着色層121の上面の面積は、着色層122の上面の面積より大きくなる。
次に、図7(b)に示すように、第2の色のフィルター形成用材料をパターニングし、フィルター7を形成する。より詳細には、フィルター6が形成された基板4上に、第2色目(例えば、緑)のカラーレジストを塗布し、カラーレジストを乾燥させる。続いて、フォトマスク14bを第2の状態(図6(b))となるように配置し、各開口の像に対応するカラーレジストの一部を露光する。現像処理及びベーキングを行うことにより基板4上に残存したカラーレジストを硬化させると、フィルター7と同時に、着色層123及び125がそれぞれ開口112及び113に対応する位置に形成される。
上述したように、開口112及び開口113の平面形状は相似であり、開口112の面積が開口113の面積より大きくなるように設定されている。したがって、第2の状態において、開口112の中心とサブPS12の中心とがほぼ一致するように位置合わせすると、サブPS12の形成位置においては、着色層122が開口112の像に包含された状態となる。この状態で露光及び現像処理を行うと、着色層122の表面を覆うようにカラーレジストが残存するので、着色層122とこれを覆う着色層123とが積層されたサブPS12が形成される。
次に、図7(c)に示すように、第3の色のフィルター形成用材料をパターニングし、フィルター8を形成する。より詳細には、フィルター7が形成された基板4上に、第3色目(例えば、青)のカラーレジストを塗布し、カラーレジストを乾燥させる。続いて、フォトマスク14bを第3の状態(図6(c))となるように配置し、各開口の像に対応するカラーレジストの一部を露光する。現像処理及びベーキングを行うことにより基板4上に残存したカラーレジストを硬化させると、フィルター8と同時に、着色層124及び126がそれぞれ開口113及び112に対応する位置に形成される。
より具体的には、メインPS11の形成位置においては、開口113の像は、開口112より大きな開口112の像として形成された着色層121の上面に包含された状態となる。この状態で露光及び現像処理を行うと、着色層121の上面にカラーレジストが残存するので、着色層121とこの上面に着色層124が積層されたメインPS11が形成される。
一方、サブPS13の形成位置においては、開口112より小さな開口113の像として形成された着色層125が、開口112に包含された状態となる。この状態で露光及び現像処理を行うと、着色層125の表面を覆うようにカラーレジストが残存するので、着色層125とこれを覆う着色層126とが積層されたサブPS13が形成される。
上記の各工程を経ることで、カラーフィルター1が製造される。尚、カラーフィルター1の画面サイズより、フォトマスクで形成されるフィルター領域のサイズが小さい場合や、1枚の基板に複数のカラーフィルター1を形成する場合には、各工程においてフォトマスクを移動させながら繰り返し露光処理を行う。
本実施形態においては、同一の開口パターンを有するフォトマスク14a〜14cを用いて、第1色目〜第3色目のフィルター6〜8を形成する。フォトマスク14a〜14cには大きさの異なる開口112及び113が設けられており、開口112及び113の各々は、各色のフィルター形成工程において、メインPS11、サブPS12及び13のいずれかの形成領域に対応するように配置される。また、各色のフィルター形成工程では、フォトマスク14a〜14cを(3k−2)画素分に相当する距離だけずらして配置される(ただし、k整数である)。このため、ブラックマトリックス5の表面には、上面の面積が異なる2種類の着色層、すなわち、開口112に対応する大きさの着色層121と、開口113に対応する着色層122及び125とが形成される。
図7(b)及び(c)の工程では、既に形成されている着色層上にもカラーレジストが塗布されるが、塗液の表面張力により、上面の面積が相対的に大きな着色層121上には、上面の面積が小さな着色層122及び125と比べて、より多くのカラーレジストが残存する。したがって、露光前の段階で、着色層121の上面に形成されるカラーレジスト膜は、着色層122及び125の上面に形成されるカラーレジスト膜より厚くなる。この結果、着色層122上に積層される着色層124の上面レベルは、上面の面積が小さな着色層122及び125上に積層される着色層123及び126の上面レベルより高くなり、メインPS11と、サブPS12及び13の高さの差が生じる。
一例として、また、十分に大きな平面上に膜厚が1.8μmの着色層を形成する条件で、本実施形態に係るカラーフィルター1を形成すると、メインPS11(図4の構造)の高さは2.6μmとなり、サブPS12及びサブPS13(図5の構造)の高さは2.4μmとなった。このように、開口112及び113の大きさと、開口112及び113の像に対応して形成される着色層の積層順序とを変えることによって、メインPS11及びサブPS12の高さに差を設けることが可能となる。
各フィルター形成工程は、任意の順序で行うことができるが、本実施形態のように、メインPS11の形成位置に大きい着色層から小さい着色層の順に積層されるような順序で行えば、メインPS11の高さは、確実に他のフォトスペーサーの高さ以上となる。本実施形態の例では、フォトマスク14aを第1の状態に配置する図6(a)の工程を、フォトマスク14cを第3の状態に配置する図6(c)の工程より先に行えば良い。
以上説明したように、本実施形態に係るカラーフィルターの製造方法では、3色のフィルター6〜8の形成に同一の開口パターンを有するフォトマスク14a〜14cを使用するので、カラーフィルターの製造時に用意する予備のフォトマスクを共通化でき、必要なフォトマスクの総数を低減することが可能となる。
例えば、図7で示したように、フィルター6〜8の形成工程で3枚のフォトマスク14a〜14cを使用する場合、1枚の予備用フォトマスクを用意すれば済むので、必要なフォトマスクは合計4枚である。これに対して、従来のように、フィルター6〜8の形成にパターンの異なる3種類のフォトマスクを用いる場合には、当該フォトマスクの各々に対して1枚ずつ予備フォトマスクを用意する必要があるので、合計6枚のフォトマスクが必要である。したがって、本実施形態に係る製造方法によれば、従来の製造方法と比べて、少なくとも2枚のフォトマスクを削減でき、カラーフィルターの製造コストの低減を実現できる。
また、本実施形態に係る製造方法では、フィルター6〜8と同じ工程で形成される着色層121〜124によって、フォトスペーサー11〜13を構成できるため、フォトスペーサーを形成するための専用の工程も不要である。これに加え、フォトマスク14に形成する開口112及び113の位置及び大きさを上記のように設定することで、高さの異なるメインPS11とサブPS12及び13とを作り分けることができる。
したがって、本実施形態に係る製造方法によれば、フォトマスク14の開口パターンを3色で共通化しつつ、フィルター6〜8と同一材料を用いて、様々な層数及び高さを有するフォトスペーサー11〜13を形成することが可能となる。
(第2の実施形態)
図8は、本発明の第2の実施形態に係るカラーフィルターの一部を示す平面図であり、図9は、図8のIX−IXラインに沿った断面図であり、図10は、図8のX−Xラインに沿った断面図である。
本実施形態に係るカラーフィルター2は、基板4と、基板4上に形成されたブラックマトリックス5と、行列状に配列されるフィルター6〜8と、基板4と対向部材9との間隔を規制するフォトスペーサー21〜23とを備えている。本実施形態に係るカラーフィルター2は、行方向に連続する3つのフィルター6〜8と、これらの画素に隣接して配置されるフォトスペーサー21〜23とを含む部分を構成単位とし、当該構成単位の繰り返しによって構成されている。尚、基板4、ブラックマトリックス5及びフィルター6〜8は、第1の実施形態で説明したものと同様であるので、ここでの繰り返しの説明を省略する。
フォトスペーサー(PS)21〜23は、第1の実施形態と同様に、基板4と対向部材9との間隔を規制するために、画素列に沿うようにブラックマトリックス5の表面に配列されている。ただし、第1の実施形態においては、2層の着色層によってフォトスペーサー11〜13が形成されているのに対し、本実施形態では、3層の着色層によってフォトスペーサー21〜23が形成されている。
図11は、図8のXI−XIラインに沿った拡大断面図であり、メインPS21の構造をより詳細に示したものである。
メインPS21は、フィルター6と同一材料よりなり、ブラックマトリックス5の表面に形成された着色層221と、フィルター7と同一材料よりなり、着色層221の上面に積層された着色層225と、フィルター8と同一材料よりなり、着色層225の上面に積層された着色層224とから構成されている。最上層の着色層224の底面の面積は、2層目の着色層225の上面の面積より小さく、着色層224はその底面が着色層225の上面とのみ接した状態で形成されている。また、2層目の着色層225の底面の面積は、最下層の着色層221の上面の面積より小さく、着色層225はその底面が着色層221の上面とのみ接した状態で形成されている。
図8〜10に戻って、サブPS22は、フィルター6と同一材料よりなり、ブラックマトリックス5の表面に形成された着色層222と、フィルター7と同一材料よりなり、着色層222の表面を覆うように形成された着色層223と、フィルター8と同一材料よりなり、着色層223の上面に積層された着色層226とから構成されている。最上層の着色層226の底面の面積は、2層目の着色層223の上面の面積より小さく、着色層226はその底面が着色層223の上面とのみ接した状態で形成されている。
サブPS23は、フィルター6と同一材料よりなり、ブラックマトリックス5の表面に形成された着色層227と、フィルター7と同一材料よりなり、着色層227の状面に積層された着色層228と、フィルター8と同一材料よりなり、着色層227及び228を覆うように形成された着色層229とから構成されている。2層目の着色層228の底面の面積は、最下層の着色層227の上面の面積より小さく、着色層228はその底面が着色層227の上面とのみ接した状態で形成されている。
図10に示されるように、フォトスペーサー22及び23の上端のレベルは、フォトスペーサー21の上端のレベルより低くなるように設定されている。このようにフォトスペーサー21〜23の高さに差を設定することによって、パネルに圧力が加えられた場合でも、設定した高さの差に応じて、基板4や対向部材9の撓みを許容することができるので、基板4や対向部材9の変形や破壊を防止することが可能となる。本実施形態に係るカラーフィルターにおいては、同一色の各着色層の上面の面積を変えることによって高さの差が設けられているが、この点については後述する。
以下、本実施形態に係るカラーフィルター2の製造方法について説明する。
図12は、図8に示されるカラーフィルターの製造に用いられるフォトマスクの一部を示す平面図である。
図12において、右下がりのハッチングを付した領域は、感光性材料の露光時に光が透過しない部分を表す。実線で示した白抜きの領域(211〜214)は、露光時に用いられる光の少なくとも一部を透過可能な開口を表し、白抜きの領域に付された記号R、G、B、PS21〜PS23は、各開口に対応する位置に形成されるフィルターまたはフォトスペーサーを表す。また、破線は、カラーフィルターの各部のうち、フォトマスクに形成された開口と対応しない部分の形成位置を表している。
尚、図12では、図示の都合上、各フォトマスクの一部のみを示しているが、実際には、カラーフィルターの構成単位、すなわち、行方向に連続する3画素及びこれらの画素に沿って整列する3つのフォトスペーサーに対応する領域の繰り返しパターンによって各フォトマスクが構成されている。
図12(a)は、第1の色のフィルター6形成時におけるフォトマスク24とカラーフィルター2との対応関係を示している。
フォトマスク24は、第1色目(例えば、赤)の配列に対応する複数の開口211と、メインPS21に対応する複数の開口212と、サブPS22に対応する複数の開口212と、サブPS23に対応する複数の開口214とを有している。ここで、「第n色目のフィルターの配列に対応する開口」とは、形成されるフィルターと同一または相似の平面形状を有し、第n色目のフィルター配列の相対的な位置関係と同じ位置関係となるように配列された開口を意味する。また、「メインPS(サブPS)に対応する開口」とは、メインPS(サブPS)を構成するいずれかの着色層と同一または相似の平面形状を有し、第n色目のフィルター形成時に、開口の像がメインPS(サブPS)の形成領域の少なくとも一部と重なるように配置される開口を意味する。
開口211、212、213及び214は、フィルター6、メインPS21、サブPS22及びサブPS23の相対的な位置関係と同一の位置関係を満たすように配列されている。したがって、図12(a)に示すように、開口211をフィルター6の形成領域に対応させた場合、開口212の像がメインPS21の形成領域と重なり、開口213の像がサブPS22の形成領域と重なり、開口214の像がサブPS23の形成領域と重なる。本実施形態では、フォトマスク24がカラーフィルター2に対して図12(a)のように配置されている状態を、「第1の状態」という。
また、本実施形態では、開口212〜214は相似形であるが、開口212、214及び213の面積がこの順に小さくなるように形成されている。
図12(b)は、第2の色のフィルター7形成時におけるフォトマスク24とカラーフィルター2との対応関係を示している。
第2の色(例えば、緑)のフィルター7を形成する場合、フィルター24は、第1の状態から(3k−2)画素分に相当する距離だけ行方向(図6の左右方向)にずらして配置される(ただし、kは整数である)。開口211、212、213及び214は、上述した位置関係に加えて、フィルター7、サブPS22、サブPS23及びメインPS21の相対的な位置関係と同一の位置関係も同時に満たすように配列されている。したがって、図12(b)に示すように、開口211をフィルター7の形成領域に対応させた場合、開口212の像がサブPS22の形成領域と重なり、開口213の像がサブPS23の形成領域と重なり、開口214の像がメインPS21の形成領域と重なる。本実施形態では、フォトマスク24がカラーフィルター2に対して図12(b)のように配置されている状態を、「第2の状態」という。
図12(c)は、第3の色のフィルター8形成時におけるフォトマスク24とカラーフィルター2との対応関係を示している。
第3の色(例えば、青)のフィルター8を形成する場合、フィルター24は、第1の状態から(3k−1)画素分に相当する距離(第2の状態から(3k−1)画素分に相当する距離)だけ行方向にずらして配置される(ただし、kは整数である)。開口211、212、213及び214は、上述した各位置関係に加えて、フィルター8、サブPS23、メインPS21及びサブPS22の相対的な位置関係と同一の位置関係も同時に満たすように配列されている。したがって、図12(c)に示すように、開口211をフィルター8の形成位置に対応させた場合、開口212の像がサブPS23の形成領域と重なり、開口213の像がメインPS21の形成領域と重なり、開口214の像がサブPS22の形成領域と重なる。本実施形態では、フォトマスク24がカラーフィルター2に対して図12(c)のように配置されている状態を、「第3の状態」という。
尚、本実施形態においては、メインPS21、サブPS22及びサブPS23が、第1、第2、第3のスペーサーにそれぞれ相当する。また、開口211、212、213及び214が、第1、第2、第3及び第4の開口にそれぞれ相当する。更に、着色層221、222、223、224、225、226、227、228及び229が、第1、第2、第3、第4、第5、第6、第7、第8及び第9の着色層にそれぞれ相当する。
図13は、本発明の第2の実施形態に係るカラーフィルターの製造工程を模式的に示す工程図である。図13の左側の列は図9に示した画素部分の断面に対応し、右側の列は図10に示したフォトスペーサー部分の断面に対応する。図13においては、説明を容易にするために、形成されたカラーフィルターの各部とフォトマスクとを、1対1の寸法比で示している。また、本実施形態では、図12のフォトマスク24と同一の開口パターンを有する3枚のフォトマスク24a〜24cを用いて3色のフィルター及び着色層を形成する方法について説明する。
まず、図13(a)に示すように、第1の色のフィルター形成用材料をパターニングし、フィルター6を形成する。より詳細には、表面にブラックマトリックス5が形成された基板4上に、第1色目(例えば、赤)のカラーレジストを塗布し、カラーレジストを乾燥させる。続いて、フォトマスク24aを第1の状態(図12(a))となるように配置し、所定の波長の光を照射して各開口の像に対応するカラーレジストの一部を露光する。現像処理及びベーキングを行うことにより基板4上に残存したカラーレジストを硬化させると、フィルター6と同時に、着色層221、222及び227が、それぞれ開口212、213及び214に対応する位置に形成される。
次に、図13(b)に示すように、第2の色のフィルター形成用材料をパターニングし、フィルター7を形成する。より詳細には、フィルター6が形成された基板4上に、第2色目(例えば、緑)のカラーレジストを塗布し、カラーレジストを乾燥させる。カラーレジストは、既に形成された各着色層にも塗布されるが、塗液の表面張力により、相対的に面積が大きい着色層221の上面には、着色層222及び227と比べてより多くのカラーレジストが残存する。続いて、フォトマスク24bを第2の状態(図12(b))となるように配置し、各開口の像に対応するカラーレジストの一部を露光する。現像処理及びベーキングを行うことにより基板4上に残存したカラーレジストを硬化させると、フィルター7と同時に、着色層225、223及び228が、それぞれ開口214、212及び213に対応する位置に形成される。
上述したように、開口212〜214の平面形状は相似であり、開口213、214、212の順に面積が大きくなるように設定されている。したがって、図13(b)に示すように、着色層225及び228が着色層221及び227のそれぞれの上面に積層され、着色層223が着色層222を覆うように形成される。また、最下層の着色層221、222及び227の上面の面積の差異に応じて、カラーレジストの膜厚が相違するので、着色層225の上面レベルと着色層223及び228の上面レベルとに差が生じる。
次に、図13(c)に示すように、第3の色のフィルター形成用材料をパターニングし、フィルター8を形成する。より詳細には、フィルター7が形成された基板4上に、第3色目(例えば、青)のカラーレジストを塗布し、カラーレジストを乾燥させる。この工程においても、2層目の着色層223、225及び281の上面の面積に応じて、形成されるカラーレジストの膜厚が相違する。続いて、フォトマスク24cを第3の状態(図12(c))となるように配置し、各開口の像に対応するカラーレジストの一部を露光する。現像処理及びベーキングを行うことにより基板4上に残存したカラーレジストを硬化させると、フィルター8と同時に、着色層224、226及び229が、それぞれ開口213、214及び212に対応する位置に形成される。
開口212、213及び214の面積はこの順に大きく、着色層223、225及び228の上面の面積はこの順に大きい。したがって、開口及び着色層の大きさの組み合わせに応じて、着色層224及び226が着色層225及び223のそれぞれの上面に積層され、着色層229が着色層227及び228を覆うように形成される。また、最下層の着色層223、225及び228の上面の面積の差異に応じて、カラーレジストの膜厚が相違するので、着色層224、226及び229の各上面レベルに差が生じる。
上記の各工程を経ることで、カラーフィルター2が製造される。尚、カラーフィルター2の画面サイズより、フォトマスクで形成されるフィルター領域のサイズが小さい場合や、1枚の基板に複数のカラーフィルター2を形成する場合には、各工程においてフォトマスクを移動させながら繰り返し露光処理を行う。
各フィルター形成工程は、任意の順序で行うことができるが、本実施形態のように、メインPS21の形成位置に大きい着色層から小さい着色層の順に積層されるような順序で行うことが好ましい。この場合、メインPS21の高さを確実に他のフォトスペーサーの高さ以上とすることができる。本実施形態の例では、フォトマスク14aを第1の状態に配置する図13(a)の工程、フォトマスク14bを第2の状態に配置する図13(b)の工程、フォトマスク14cを第3の状態に配置する図6(c)の工程の順に行えば良い。
本実施形態においても、同一の開口パターンを有するフォトマスク24a〜24cを用いて、第1色目〜第3色目のフィルター6〜8を形成する。フォトマスク24a〜24cには大きさの異なる開口212〜214が設けられており、各色のフィルター形成工程において、開口212〜214の各々は、メインPS11、サブPS22及び23の形成領域に対して異なる順序で配置される。この結果、メインPS11、サブPS22及び23の各位置において、各色の着色層の上面の面積差に応じて、カラーレジストの膜厚に差が生じ、メインPS21と、サブPS22及び23の高さが相違する。
以上説明したように、本実施形態に係るカラーフィルターの製造方法によっても、3色のフィルター6〜8の形成に同一の開口パターンを有するフォトマスク24a〜24cを使用するので、カラーフィルターの製造時に用意する予備のフォトマスクを共通化でき、必要なフォトマスクの総数を低減することが可能となる。
尚、メインPS23の高さ自体も、着色層の面積を変えることによって調整できる。例えば、平面上に膜厚が2.0μmの着色層を形成するための条件で図11の3層構造を有するフォトスペーサー21を構成する場合、最下層の着色層221の面積を1520μm2とし、2層目の着色層225の面積を700μm2とし、最上層の着色層224の面積を200μm2とすると、フォトスペーサー21の高さは、3.3μmとなる。これに対し、カラーレジストの膜厚を変えずに、2層目の着色層225の面積を900μm2とし、最上層の着色層224の面積を310μm2とすると、フォトスペーサー21の高さは、3.5μmとなる。
(その他の変形例)
上記の各実施形態では、一例として、RGBの3色のフィルターを備えるカラーフィルターについて説明したが、本発明に係るカラーフィルター及びその製造方法は、RGB以外の色のフィルターを備えるカラーフィルターや、4色以上のフィルターを備えるカラーフィルターにも適用できる。4色以上のフィルターを形成する場合は、第4色目のフィルターを形成する工程が更に設けられる。
また、上記の各実施形態では、3色のフィルターをRGBの順に形成する例を説明したが、フィルターを形成する順序(色の順序)は任意で良い。
更に、上記の各実施形態では、3色のフィルターを同一の開口パターンを有する3枚のフォトマスクを用いて形成する例を説明したが、3色のフィルターを単一のフォトマスクを用いて形成したり、2色のフィルターを単一のフォトマスクを用いて形成したりすることも可能である。この場合、形成すべきフィルターの色に応じて、2色または3色に共通で使用されるフォトマスクの位置をずらしながら、各フィルター形成工程を行えば良い。例えば、赤・緑・青の3色を同一のフォトマスクで形成する場合、予備を含めて合計2枚のフォトマスクを用意すれば良く、3色のうちの2色を同一のフォトマスクで形成する場合、予備を含めて合計3枚のフォトマスクを用意すれば良い。したがって、各色毎にフォトマスクを必要とする従来の製造方法と比べて、2枚のフォトマスクを削減することができ、フォトマスクに要するコストを更に低減することが可能となる。
更に、上記の各実施形態において、開口パターンの大きさがカラーフィルターの各部の寸法より大きくなるようにフォトマスクを構成し、カラーレジストの露光時に、開口パターンを縮小して転写しても良い。
更に、上記の各実施形態において、フィルター及び着色層の形成材料や形成条件は特に限定されず、既知のあらゆる材料や形成条件を適用できる。例えば、特許文献1及び2に記載の方法を本発明の各実施形態に適用できる。
更に、上記の各実施形態では、着色層の積層数を変えることによって、メインPSとサブPSの各機能を実現しているが、フォトスペーサーの上端と対向部材との接触面積を変えることによって、メインPSとサブPSを作り分けても良い。一般に、フォトスペーサーの上端と対向部材との接触面積が小さいほど、基板や対向部材の撓みを許容できる。したがって、対向部材との接触面積が相対的に大きいフォトスペーサーをメインPSとし、対向部材との接触面積が相対的に小さいフォトスペーサーをサブPSとすれば良い。対向部材との接触面積は、フォトマスクに形成する開口の大きさに応じて、着色層の上部の面積を変えることによって調整可能である。
更に、上記の各実施形態では、フォトスペーサーの平面形状が6角形であるが、フォトスペーサーの平面形状は特に限定されず、任意の形状で良い。
更に、上記の各実施形態では、複数のフォトスペーサーが画素列の間に直線状に整列しているが、フォトスペーサーはブラックマトリックス表面の任意の位置に配置できる。また、フォトスペーサーは、必ずしも一定間隔で配置されている必要はなく、任意の間隔で配置できる。フォトスペーサーの配置密度も、基板と対向部材との間隔等、カラーフィルターの設計事項に応じて適宜調整可能である。
更に、上記の各実施形態において、メインPSとサブPSの高さを変えるために、積層される着色層の大きさ及び積層順序を変えることと併せて、ブラックマトリックスの厚みを部分的に変更する手法や、カラーレジストの樹脂成分構成・分子量・溶剤・残膜感度を調整する手法、フォトマスクに設けられる開口の形状・寸法・光の透過率を変更する手法を1以上組み合わせても良い。
本発明は、液晶表示装置等に用いられるカラーフィルター及びその製造方法に利用できる。
本発明の第1の実施形態に係るカラーフィルターの一部を示す平面図 図1のII−IIラインに沿った断面図 図1のIII−IIIラインに沿った断面図 図1のIV−IVラインに沿った拡大断面図 図1のV−Vラインに沿った拡大断面図 図1に示されるカラーフィルターの製造に用いられるフォトマスクの一部を示す平面図 本発明の第1の実施形態に係るカラーフィルターの製造工程を模式的に示す工程図 本発明の第2の実施形態に係るカラーフィルターの一部を示す平面図 図8のIX−IXラインに沿った断面図 図8のX−Xラインに沿った断面図 図8のXI−XIラインに沿った断面図 図6に示されるカラーフィルターの製造に用いられるフォトマスクの一部を示す平面図 本発明の第2の実施形態に係るカラーフィルターの製造工程を模式的に示す工程図
符号の説明
1、2 カラーフィルター
4 基板
5 ブラックマトリックス
6、7、8 フィルター
11〜13 フォトスペーサー
111〜113 開口
121〜126 着色層
14 フォトマスク
21〜23 フォトスペーサー
211〜214 開口
221〜229 着色層
24 フォトマスク

Claims (10)

  1. 基板上に、第1〜第3の色の画素にそれぞれ対応する第1〜第3のフィルターと、第1及び第2のスペーサーとを少なくとも有する液晶表示装置用カラーフィルターの製造方法であって、
    前記第1のフィルターの配列に対応する複数の第1の開口と、前記第1のスペーサーの位置に対応する複数の第2の開口と、前記第2のスペーサーの位置に対応する複数の第3の開口とが配列された開口パターンを有するフォトマスクを用いて、前記第1〜第3のフィルターをそれぞれ形成する工程を備え、
    前記第1〜第3の開口は、
    前記第1の開口が前記第1のフィルターの形成位置に対応する第1の状態にあっては、前記第2の開口が前記第1のスペーサーの形成位置に対応すると共に、前記第3の開口が前記第2のスペーサーの形成位置に対応し、
    前記第1の開口が前記第2のフィルターの形成位置に対応する第2の状態にあっては、前記第2の開口が前記第2のスペーサーの形成位置に対応し、
    前記第1の開口が前記第3のフィルターの形成位置に対応する第3の状態にあっては、前記第3の開口が前記第1のスペーサーの形成位置に対応するように配列されており、
    前記第1のフィルターを形成する工程では、前記フォトマスクを前記第1の状態となるように配置して、前記基板上に第1の色のフィルター形成用材料をパターニングし、前記第1のフィルターと同時に、前記第1のスペーサーの一部となる第1の着色層と、前記第2のスペーサーの一部となる第2の着色層とを形成し、
    前記第2のフィルターを形成する工程では、前記開口パターンと同一のパターンを有するフォトマスクを前記第2の状態となるように配置して、前記基板上に第2の色のフィルター形成用材料をパターニングし、前記第2のフィルターと同時に、前記第2のスペーサーの一部となる第3の着色層を形成し、
    前記第3のフィルターを形成する工程では、前記開口パターンと同一のパターンを有するフォトマスクを前記第3の状態となるように配置して、前記基板上に第3の色のフィルター形成用材料をパターニングし、前記第3のフィルターと同時に、前記第1のスペーサーの一部となる第4の着色層とを形成し、
    前記第2の開口の面積と、前記第3の開口の面積とが異なる、カラーフィルターの製造方法。
  2. 前記第2の開口の面積は、前記第3の開口の面積より大きく、
    前記第1のフィルターを形成する工程を、前記第3のフィルターを形成する工程より先に行うことを特徴とする、請求項1記載のカラーフィルターの製造方法。
  3. 前記開口パターンは、複数の第4の開口を更に含み、
    前記第4の開口は、前記第2の状態にあっては、前記第1のスペーサーの形成位置に対応し、前記第3の状態にあっては、前記前記第2のスペーサーの形成位置に対応するように配列されており、
    前記第2のフィルターを形成する工程において、前記第2のフィルター及び前記第3の着色層と同時に、前記第1のスペーサーの一部を構成する第5の着色層を更に形成し、
    前記第3のフィルターを形成する工程では、前記第3のフィルター及び前記第4の着色層と同時に、前記第2のスペーサーの一部を構成する第6の着色層を更に形成し、
    前記第2の開口の面積は前記第3の開口の面積より大きく、かつ、前記第3の開口の面積は前記第4の開口の面積より大きく、
    前記第1のフィルターを形成する工程と、前記第2のフィルターを形成する工程と、前記第3のフィルターを形成する工程とをこの順に行うことを特徴とする、請求項1記載のカラーフィルターの製造方法。
  4. 液晶表示装置に用いられるカラーフィルターであって、
    基板と、
    前記基板上において、第1〜第3の色の画素にそれぞれ対応するように配列される第1〜第3のフィルターと、
    前記基板とこれに対向して配置される対向部材との間隔を規制する第1及び第2のスペーサーとを備え、
    前記第1のスペーサーは、前記第1のフィルターと同一材料よりなる第1の着色層と、前記第3のフィルターと同一材料よりなり、前記第1の着色層に積層される第4の着色層とを含み、
    前記第2のスペーサーは、前記第1のフィルターと同一材料よりなる第2の着色層と、前記第2のフィルターと同一材料よりなり、前記第2の着色層に積層される第3の着色層とを含み、
    前記第1のスペーサー及び第2のスペーサーは、高さまたは前記対向部材との接触面積が異なる、カラーフィルター。
  5. 前記第1のスペーサーにおいて、前記第4の着色層は、その底部が前記第1の着色層の上面とのみ接触するように前記第1の着色層の上面に積層され、
    前記第2のスペーサーにおいて、前記第3の着色層は、前記第2の着色層の表面を覆うように前記第2の着色層上に積層されることを特徴とする、請求項4記載のカラーフィルター。
  6. 前記基板と前記対向部材との間隔を規制し、前記第1のスペーサーとは、高さまたは前記対向部材との接触面積が異なる第3のスペーサーを更に備え、
    前記第3のスペーサーは、前記第2のフィルターと同一材料よりなる第5の着色層と、前記第3のフィルターと同一材料よりなり、前記第5の着色層に積層される第6の着色層とを含むことを特徴とする、請求項5記載のカラーフィルター。
  7. 前記第1のスペーサーは、前記第2のフィルターと同一材料よりなり、前記第1の着色層と前記第4の着色層との間に積層される第5の着色層を更に含み、
    前記第2のスペーサーは、前記第3のフィルターと同一材料よりなり、前記第3の着色層上に積層される第6の着色層を更に含み、
    前記第1のスペーサーにおいて、前記第5の着色層は、その底部が前記第1の着色層の上面とのみ接触するように前記第1の着色層の上面に積層されると共に、前記第4の着色層は、その底部が前記第5の着色層の上面とのみ接触するように前記第5の着色層の上面に積層され、
    前記第2のスペーサーにおいて、前記第3の着色層は、前記第2の着色層の表面を覆うように前記第2の着色層上に積層されることを特徴とする、請求項4記載のカラーフィルター。
  8. 前記基板と前記対向部材との間隔を規制し、前記第1のスペーサーとは、高さまたは前記対向部材との接触面積が異なる第3のスペーサーを更に備え、
    前記第3のスペーサーは、前記第1のフィルターと同一材料よりなる第7の着色層と、前記第2のフィルターと同一材料よりなる第8の着色層と、前記第3のフィルターと同一材料よりなる第9の着色層とが積層されて構成されることを特徴とする、請求項5記載のカラーフィルター。
  9. 基板上に、第1〜第3の色画素にそれぞれ対応する第1〜第3のフィルターと、前記基板に対向する対向部材との間隔を規制し、高さまたは前記対向部材との接触面積が異なる第1及び第2のスペーサーとを少なくとも有し、液晶表示装置に用いられるカラーフィルターを製造するために用いられるフォトマスクであって、
    前記第1のフィルターの配列に対応する複数の第1の開口と、
    前記第1のスペーサーの位置に対応する複数の第2の開口と、
    前記第2のスペーサーの位置に対応する複数の第3の開口とを有し、
    前記第1〜第3の開口が、
    前記第1の開口が前記第1のフィルターの形成位置に対応する第1の状態にあっては、前記第2の開口が前記第1のスペーサーの形成位置に対応すると共に、前記第3の開口が前記第2のスペーサーの形成位置に対応し、
    前記第1の開口が前記第2のフィルターの形成位置に対応する第2の状態にあっては、前記第2の開口が前記第2のスペーサーの形成位置に対応し、
    前記第1の開口が前記第3のフィルターの形成位置に対応する第3の状態にあっては、前記第3の開口が前記第1のスペーサーの形成位置に対応するように配列される、フォトマスク。
  10. 前記第2の状態にあっては、前記第1のスペーサーの形成位置に対応し、前記第3の状態にあっては、前記前記第2のスペーサーの形成位置に対応するように配列された複数の第4の開口を更に有することを特徴とする、請求項9記載のフォトマスク。
JP2008255317A 2008-09-30 2008-09-30 カラーフィルター、カラーフィルターの製造方法、フォトマスク Expired - Fee Related JP5263711B2 (ja)

Priority Applications (1)

Application Number Priority Date Filing Date Title
JP2008255317A JP5263711B2 (ja) 2008-09-30 2008-09-30 カラーフィルター、カラーフィルターの製造方法、フォトマスク

Applications Claiming Priority (1)

Application Number Priority Date Filing Date Title
JP2008255317A JP5263711B2 (ja) 2008-09-30 2008-09-30 カラーフィルター、カラーフィルターの製造方法、フォトマスク

Publications (2)

Publication Number Publication Date
JP2010085747A true JP2010085747A (ja) 2010-04-15
JP5263711B2 JP5263711B2 (ja) 2013-08-14

Family

ID=42249757

Family Applications (1)

Application Number Title Priority Date Filing Date
JP2008255317A Expired - Fee Related JP5263711B2 (ja) 2008-09-30 2008-09-30 カラーフィルター、カラーフィルターの製造方法、フォトマスク

Country Status (1)

Country Link
JP (1) JP5263711B2 (ja)

Cited By (1)

* Cited by examiner, † Cited by third party
Publication number Priority date Publication date Assignee Title
US11086228B2 (en) * 2017-12-11 2021-08-10 Boe Technology Group Co., Ltd. Mask, device and method for exposure

Citations (3)

* Cited by examiner, † Cited by third party
Publication number Priority date Publication date Assignee Title
JPH09120062A (ja) * 1995-08-18 1997-05-06 Toshiba Electron Eng Corp カラーフィルタ基板及びその製造方法、それを用いた液晶表示素子及びその製造方法
JP2001305328A (ja) * 2000-04-18 2001-10-31 Toray Ind Inc カラーフィルターの製造方法およびカラーフィルター
JP2005106856A (ja) * 2003-09-26 2005-04-21 Dainippon Printing Co Ltd 液晶表示装置

Patent Citations (3)

* Cited by examiner, † Cited by third party
Publication number Priority date Publication date Assignee Title
JPH09120062A (ja) * 1995-08-18 1997-05-06 Toshiba Electron Eng Corp カラーフィルタ基板及びその製造方法、それを用いた液晶表示素子及びその製造方法
JP2001305328A (ja) * 2000-04-18 2001-10-31 Toray Ind Inc カラーフィルターの製造方法およびカラーフィルター
JP2005106856A (ja) * 2003-09-26 2005-04-21 Dainippon Printing Co Ltd 液晶表示装置

Cited By (1)

* Cited by examiner, † Cited by third party
Publication number Priority date Publication date Assignee Title
US11086228B2 (en) * 2017-12-11 2021-08-10 Boe Technology Group Co., Ltd. Mask, device and method for exposure

Also Published As

Publication number Publication date
JP5263711B2 (ja) 2013-08-14

Similar Documents

Publication Publication Date Title
CN103268037B (zh) 一种彩膜基板、制备方法以及显示装置
US8350993B2 (en) LCD apparatus
US9874777B2 (en) Color filter substrate, touch display device and method for manufacturing the color filter substrate
KR101578692B1 (ko) 액정표시장치의 칼라필터 어레이 및 그 제조방법
US11719983B2 (en) Display panel, manufacturing method thereof and display device
CN104407471A (zh) 彩色滤光膜及其制作方法及显示面板
CN107450221A (zh) 彩膜基板、显示面板、显示装置及其制作方法
CN118922025A (zh) 显示面板
JP5376393B2 (ja) カラーフィルターの製造方法、フォトマスクセット
JP5165760B2 (ja) カラーフィルタ基板及び液晶表示装置
JP4648165B2 (ja) 液晶表示素子用カラーフィルタ基板及びその製造方法
US20180107054A1 (en) Manufacturing method for color filter substrate and manufacturing method for liquid crystal panel
US8830610B2 (en) Exposure method for color filter substrate
US8908302B2 (en) Exposure method for color filter substrate
JP5263711B2 (ja) カラーフィルター、カラーフィルターの製造方法、フォトマスク
JP5306923B2 (ja) 液晶表示装置用パネル
JP2008281594A (ja) 液晶表示装置及びその製造方法
JP5691280B2 (ja) カラーフィルタの製造方法及びこれに用いられるフォトマスクセット
JP5098894B2 (ja) カラーフィルタ及びカラーフィルタの製造方法
JP5292859B2 (ja) カラーフィルタ形成基板と液晶パネル
JP2020183995A (ja) カラーフィルタ及びその製造方法
JP6499204B2 (ja) 液晶表示装置の製造方法及び露光マスクのセット
US8144291B2 (en) Display device and production method thereof
JP2007034250A (ja) カラーフィルタの製造方法
JP4899698B2 (ja) カラーフィルタ及びそれを用いた液晶表示装置

Legal Events

Date Code Title Description
A621 Written request for application examination

Free format text: JAPANESE INTERMEDIATE CODE: A621

Effective date: 20110825

RD02 Notification of acceptance of power of attorney

Free format text: JAPANESE INTERMEDIATE CODE: A7422

Effective date: 20110902

A977 Report on retrieval

Free format text: JAPANESE INTERMEDIATE CODE: A971007

Effective date: 20120820

A131 Notification of reasons for refusal

Free format text: JAPANESE INTERMEDIATE CODE: A131

Effective date: 20120827

A521 Written amendment

Free format text: JAPANESE INTERMEDIATE CODE: A523

Effective date: 20121022

TRDD Decision of grant or rejection written
A01 Written decision to grant a patent or to grant a registration (utility model)

Free format text: JAPANESE INTERMEDIATE CODE: A01

Effective date: 20130408

R150 Certificate of patent or registration of utility model

Free format text: JAPANESE INTERMEDIATE CODE: R150

A61 First payment of annual fees (during grant procedure)

Free format text: JAPANESE INTERMEDIATE CODE: A61

Effective date: 20130421

LAPS Cancellation because of no payment of annual fees