JP2010084323A - 水栓装置 - Google Patents

水栓装置 Download PDF

Info

Publication number
JP2010084323A
JP2010084323A JP2008251101A JP2008251101A JP2010084323A JP 2010084323 A JP2010084323 A JP 2010084323A JP 2008251101 A JP2008251101 A JP 2008251101A JP 2008251101 A JP2008251101 A JP 2008251101A JP 2010084323 A JP2010084323 A JP 2010084323A
Authority
JP
Japan
Prior art keywords
adjustment
ratio
temperature
flow rate
change rate
Prior art date
Legal status (The legal status is an assumption and is not a legal conclusion. Google has not performed a legal analysis and makes no representation as to the accuracy of the status listed.)
Granted
Application number
JP2008251101A
Other languages
English (en)
Other versions
JP5446029B2 (ja
Inventor
Tomoaki Yamaura
智章 山浦
Takeshi Miura
剛 三浦
Current Assignee (The listed assignees may be inaccurate. Google has not performed a legal analysis and makes no representation or warranty as to the accuracy of the list.)
Toto Ltd
Original Assignee
Toto Ltd
Priority date (The priority date is an assumption and is not a legal conclusion. Google has not performed a legal analysis and makes no representation as to the accuracy of the date listed.)
Filing date
Publication date
Application filed by Toto Ltd filed Critical Toto Ltd
Priority to JP2008251101A priority Critical patent/JP5446029B2/ja
Publication of JP2010084323A publication Critical patent/JP2010084323A/ja
Application granted granted Critical
Publication of JP5446029B2 publication Critical patent/JP5446029B2/ja
Expired - Fee Related legal-status Critical Current
Anticipated expiration legal-status Critical

Links

Images

Landscapes

  • Domestic Plumbing Installations (AREA)
  • Electrically Driven Valve-Operating Means (AREA)

Abstract

【課題】水栓装置の操作を使用者が望む操作に近づけ、使用者の操作フィーリングを向上させることが可能な水栓装置を提供する。
【解決手段】本発明は、流量又は温度を調整するための可動操作部(8,10)と、可動操作部(8,10)の操作に基づいて電気的に駆動される流量調整バルブ(18)又は湯水混合バルブ(16)とを備えた水栓装置(1)に関する。水栓装置(1)は、可動操作部(8,10)の移動速度又は回転速度をリアルタイムで検知する操作検知部(40)と、検知された移動速度又は回転速度に応じて流量又は温度の調整変化量割合を決定する変化量割合決定部(42)と、調整変化量割合に従って流量又は温度の調整設定値を決定する設定値決定部(44)と、調整設定値に対応して流量調整バルブ(18)又は湯水混合バルブ(16)を駆動する駆動部(16a,18a)を有する。
【選択図】図2

Description

本発明は、水栓装置に関し、更に詳細には、流量又は温度を調整するための可動操作部と、可動操作部の操作に基づいて電気的に駆動される流量調整機構又は温度調整機構と、を備えた水栓装置に関する。
水栓装置から吐水される流量又は温度を調整するために、操作部の操作に基づいて、流量調整バルブ又は湯水混合バルブを電気的に駆動させる水栓装置、いわゆる電子水栓が知られている(特許文献1及び2参照)。
押しボタン式の操作部を有する水栓装置(例えば、特許文献1)では、流量又は温度の上昇ボタン及び下降ボタンを複数回押したり、押した状態を維持したりすることによって、流量又は温度の調整設定値を決定する。
回転移動式の操作部を有する水栓装置(例えば、特許文献2)では、操作部の移動位置又は回転位置に応じて、流量又は温度の調整設定値を決定する。
特開昭63−142407号公報 特開2001−208229号公報
従来技術の水栓装置では、使用者が、流量又は温度の調整設定値を大きく変更しようとする粗調整の場合、水栓装置の調整設定値を目標の調整設定値にするのに時間がかかったり、操作しにくくなったりすることがある。例えば、小さい吐水量から大きい吐水量に変更したり、水用の調整設定値(例えば、15℃)からお湯用の調整設定値(例えば、60℃)に変更したりする場合、押しボタン式の操作部を有する水栓装置では、押しボタンを何回も押したり、押しボタンを長い間押し続けたりすることがある。また、回転移動式の操作部を有する水栓装置では、操作部の回転角度が大きくなり、手がよじれたり、複数回に分けて回転させたりすることがある。一方、粗調整に合わせた操作を行うために、例えば、押しボタンを1回押したときの調整設定値の変化量を大きくしたり、操作部を僅かに回転させただけで調整設定値を大きく変化させたりするようにすると、微調整がしにくくなる。
水栓装置の使用者は、粗調整と微調整を無意識に使い分けている。従って、従来の水栓装置では、使用者が望む調整に対する水栓装置の操作が必ずしも最適化されておらず、使用者の操作フィーリングに合致しないことがあった。
そこで、本発明は、水栓装置の操作を使用者が望む操作に近づけ、使用者の操作フィーリングを向上させることが可能な水栓装置を提供することを目的としている。
上記目的を達成するために、本発明による水栓装置は、流量又は温度を調整するための可動操作部と、可動操作部の操作に基づいて電気的に駆動される流量調整機構又は温度調整機構と、を備えた水栓装置であって、可動操作部の移動速度又は回転速度をリアルタイムで検知する操作検知部と、検知された移動速度又は回転速度に応じて流量又は温度の調整変化量割合を決定する変化量割合決定部と、調整変化量割合に従って流量又は温度の調整設定値を決定する設定値決定部と、調整設定値に対応して流量調整機構又は温度調整機構を駆動する駆動部と、を有し、流量又は温度の調整変化量割合は、可動操作部の移動距離又は回転角度当たりの流量又は温度の変化量であることを特徴としている。
このように構成された本発明の水栓装置では、可動操作部の移動速度又は回転速度を検知し、検知された移動速度又は回転速度に応じて、可動操作部の移動距離又は回転角度当たりの流量又は温度の変化量を切替えることによって、使用者の望む調整を推定し、水栓装置の操作を使用者が望む操作に近づけ、使用者の操作フィーリングを向上させることが可能になる。
本発明による水栓装置の実施形態において、好ましくは、変化量割合決定部は、移動速度又は回転速度が増大するにつれて調整変化量割合が減少しないように、調整変化量割合を決定する。即ち、変化量割合決定部は、移動速度又は回転速度を増大させたときに調整変化量割合を増大させるように、又は部分的に調整変化量割合を変えないように、調整変化量割合を決定する。
このように構成された水栓装置では、可動操作部の移動速度又は回転速度が大きいとき、使用者が流量又は温度の粗調整を望んでいると推定し、流量又は温度の調整変化量割合を大きくする。それにより、調整設定値を使用者が望む目標の調整設定値に早く到達させることができる。また、可動操作部の移動速度又は回転速度が小さいとき、使用者が流量又は温度の微調整を行うことを望んでいると推定し、流量又は温度の調整変化量割合を小さくする。それにより、調整設定値を使用者が望む目標の調整設定値に徐々に近づけることができる。かくして、水栓装置の操作を使用者が望む操作に近づけ、使用者の操作フィーリングを向上させることが可能になる。
本発明による水栓装置の実施形態において、好ましくは、変化量割合決定部は、移動速度又は回転速度が予め設定された上限速度よりも大きいとき、調整変化量割合を予め設定された一定の上限調整変化量割合に決定する。
このように構成された水栓装置では、可動操作部の移動速度又は回転速度が大きいとき、使用者が流量又は温度の粗調整を望んでいると推定するが、使用者が予期しない又は望まない急激な調整設定値の増大を除外することができる。
また、上記水栓装置の実施形態において、好ましくは、変化量割合決定部は、移動速度又は回転速度が予め設定された下限速度よりも小さいとき、調整変化量割合を予め設定された一定の下限調整変化量割合に決定する。
このように構成された水栓装置では、可動操作部の移動速度又は回転速度が小さいとき、使用者が流量又は温度の微調整を望んでいると推定するが、移動速度又は回転速度が小さくなりすぎて、使用者が、調整変化量割合が零ではないにもかかわらず零であると誤解することを回避することができる。
また、上記水栓装置の実施形態において、好ましくは、変化量割合決定部は、移動速度又は回転速度が増大するにつれて調整変化量割合を移動速度又は回転速度の1つの値において不連続的に増大させるように、調整変化量割合を決定する。
このように構成された水栓装置では、粗調整と微調整の切替えが使用者に分かりやすくなるので、使用者が望む調整に対する水栓装置の操作を使用者が感覚的に認識しやすくなる。かくして、使用者の操作フィーリングを向上させることができる。
また、本発明による水栓装置の実施形態において、好ましくは、変化量割合決定部は、移動速度又は回転速度が増大するにつれて調整変化量割合を移動速度又は回転速度の複数の値において不連続的に増大させ且つ複数の値の間の移動速度又は回転速度において調整変化量割合を一定に保つように、調整変化量割合を決定する。
このように構成された水栓装置では、粗調整、微調整、中間調整等の切替えが使用者に分かりやすくなるので、使用者が望む調整に対する水栓装置の操作を使用者が感覚的に認識しやすくなる。かくして、使用者の操作フィーリングを向上させることができる。
また、本発明による水栓装置の実施形態において、好ましくは、調整設定値が予め決められた流量又は温度の範囲内にあるとき、変化量割合決定部は、調整変化量割合を移動速度又は回転速度に関わらず予め決められた一定の調整変化量割合に決定する。
このように構成された水栓装置では、使用者が可動操作部の移動速度又は回転速度を変化させても調整変化量割合を一定にすることを望む流量又は温度の範囲を設定することができる。かくして、使用者の操作フィーリングを向上させることができる。
また、本発明による水栓装置の実施形態において、好ましくは、操作検知部は、可動操作部の移動方向が、流量又は温度を増大させる増大方向か、流量又は温度を減少させる減少方向かを検知し、調整設定値が予め決められた基準調整設定値よりも大きい場合において、変化量割合決定部は、可動操作部が増大方向に移動するときに調整変化量割合を予め決められた一定の調整変化量割合に決定し、可動操作部が減少方向に移動するときに調整変化量割合を移動速度又は回転速度に応じて変化するように決定する。
このように構成された水栓装置では、調整設定値が大流量又は高温の調整設定値に既になっている場合において、可動操作部の増大方向の移動速度又は回転速度が大きくても、使用者が大きい調整変化量割合を望んでいないと推定し、一定の調整変化量割合に決定する。一方、可動操作部の減少方向の移動速度又は回転速度が大きい場合、使用者は、流量又は温度の調整設定値を大きくして、流量又は温度を速く減少させることを望んでいると推定し、調整変化量割合を移動速度又は回転速度に応じて調整する。かくして、使用者の操作フィーリングを向上させることができる。
また、本発明による水栓装置の実施形態において、好ましくは、操作検知部は、可動操作部の移動方向が、流量又は温度を増大させる増大方向か、流量又は温度を減少させる減少方向かを検知し、調整設定値が予め決められた流量又は温度の範囲内にある場合において、可動操作部が増大方向に移動するときに変化量割合決定部が決定する調整変化量割合と、可動操作部が減少方向に移動するときに変化量割合決定部が決定する調整変化量割合とが異なる。
このように構成された水栓装置では、同じ調整設定値であっても、可動操作部の移動方向又は回転方向が増大方向か減少方向かによって使用者の望む調整が異なる場合、それに合わせた水栓装置の操作を実現することができ、かくして、使用者の操作フィーリングを向上させることができる。
また、本発明による水栓装置の実施形態において、好ましくは、調整変化量割合が予め定められた表示基準調整変化量割合よりも大きいことを表示する表示部を有する。
このように構成された水栓装置では、実際の調整変化量割合が予め定められた表示基準調整変化量割合よりも大きいことを使用者が認識することにより、水栓装置の実際の動作と操作フィーリングとを近づけることができ、かくして、使用者の操作フィーリングを向上させることができる。
また、本発明による水栓装置の実施形態において、好ましくは、調整変化量割合が上限調整変化量割合であることを表示する表示部を有する。
このように構成された水栓装置では、変化量割合決定部によって決定された調整変化量割合が上限調整変化量割合よりも大きいことを使用者が認識することにより、水栓装置の実際の動作と操作フィーリングとを近づけることができ、かくして、使用者の操作フィーリングを向上させることができる。
以上説明したように、本発明による水栓装置によれば、水栓装置の動作を使用者の意図に近づけることを可能にする。
次に、添付図面を参照して、本発明の例示の実施形態を説明する。
図1は、水栓装置の概略図である。図2は、水栓装置の水栓機能部の概略図である。図3は、水栓装置の可動操作部の断面図である。
図1に示すように、本発明による水栓装置1は、洗面ボウル2が配置された洗面カウンタ4と、洗面ボウル2に吐水するように設けられた吐水口6aを有する水栓本体6と、洗面ボウル2のそばの洗面カウンタ4に設けられた2つの可動操作部8、10と、洗面カウンタ4の下側に配置された水栓機能部12(図2参照)とを有している。一方の可動操作部8は、水栓本体6の吐水口6aからの吐水、止水の切替え及び吐水流量の調整を行うためのものであり、他方の可動操作部10は、吐水温度の調整を行うためのものである。
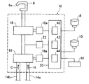
図2に示すように、水栓機能部12は、給湯管14a及び給水管14bに接続された温度調整バルブ即ち湯水混合バルブ16と、湯水混合バルブ16と吐水口6aとの間に接続された流量調整バルブ18と、水栓機能部12を制御する制御部20を有している。
制御部20は、可動操作部8、10等からの信号を入力するための入力インターフェイス、制御プログラム及び制御データ等を記憶するメモリ、制御プログラムを実行するマイクロプロセッサ、湯水混合バルブ16及び流量調整バルブ18等に信号を出力する出力インターフェイス(以上、図示せず)を有している。
湯水混合バルブ16の弁体(図示せず)は、モータ16aに連結され、吐水温度調整用の可動操作部10の操作に基づいて制御部20によって電気的に駆動される。モータ16aを制御して、弁体の位置を変え、給湯管14aから流入する湯量と給水管14bから流入する水量の混合割合を変えることにより、吐水温度を変化させることが可能である。制御部20に接続された温度センサ22を、湯水混合バルブ16と流量調整バルブ18との間に設け、制御部20が、温度センサ22からの信号に基づいて吐水温度のフィードバック制御を行うことが好ましい。
流量調整バルブ18の弁体(図示せず)は、モータ18aに連結され、吐水流量調整用の可動操作部8の操作に基づいて制御部20よって電気的に駆動される。モータ18aを制御して、弁体の位置を変えることにより、吐水流量を変化させることが可能である。
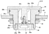
可動操作部8、10は同じ構造を有している。図3に示すように、各可動操作部8、10は、洗面カウンタ4を上下方向に貫通し且つ洗面カウンタ4に固定された中空筒状の操作部本体26と、操作部本体26を上側から覆うように且つ操作部本体26に対して回転移動可能に取付けられた円筒状の操作ハンドル28とを有している。具体的には、操作部本体26は、その上部に形成されたフランジ部26aと、その下部に形成された雄ネジ部26bと、貫通孔26cと、貫通孔26cの下部に形成された拡径段部26dとを有し、拡径段部26dは、雌ネジ部26eを有している。操作部本体26は、雄ネジ部26bに螺合するナット30によって、洗面カウンタ4にパッキン及びワッシャ31を介して固定されている。また、ロータリーエンコーダ32がナット32aによってプレート32bに固定されると共に、ロータリーエンコーダ32が貫通孔26c内に位置するように、プレート32bが、雌ネジ部26eに螺合するナット34によって拡径段部26dに固定されている。操作ハンドル28は、円形の上壁28aと、上壁28aの周囲から下方に延びる側壁28bと、上壁28aの中心から下方に延びる軸部28cとを有し、軸部28cとロータリーエンコーダ32の回転軸32dとが連結されている。操作ハンドル28と操作部本体26との間に環状のパッキン36が設けられることが好ましい。操作ハンドル28及びロータリーエンコーダ32は、時計回り及び反時計回りに無限に回転可能である。ロータリーエンコーダ32は、回転方向を検知できる種類であることが好ましい。
図2に示すように、制御部20は、可動操作部8、10の操作ハンドル28の回転速度をリアルタイムで検知する操作検知部40と、検知された回転速度に応じて流量又は温度の調整変化量割合を決定する変化量割合決定部42と、調整変化量割合に従って流量又は温度の調整設定値を決定する設定値決定部44とを有している。また、表示部46が制御部に接続されている。
操作検知部40は、ロータリーエンコーダ32からのパルス信号に基づいて、可動操作部8、10の操作ハンドル28の回転速度を検知するように構成されている。また、操作検知部40は、ロータリーエンコーダ32からのパルス信号に基づいて、可動操作部8、10操作ハンドル28の移動方向が、流量又は温度を増大させる増大方向(時計回り)か、流量又は温度を減少させる減少方向(反時計回り)かを検知するように構成されている。
変化量割合決定部42は、操作検知部40で検知された回転速度と、変化量割合決定部42において決定すべき流量又は温度の調整変化量割合との間の関係をマップ等により記憶している。記憶している上記関係は、1種類であってもよいし2種類以上であってもよい。また、2種類以上の関係を記憶している場合、変化量割合決定部42は、回転速度、回転方向、流量又は温度の調整設定値等の条件に応じて、適用すべき関係を選択することが可能である。調整変化量割合は、単位回転角度に対する流量又は温度の変化量である。
設定値決定部44は、例えば、現在の調整設定値に、変化量割合決定部42で決定された調整変化量割合に回転角度を掛けたものを加算することによって、新しい調整設定値を決定する。
次に、制御部20の動作を説明する。吐水温度調整用の可動調整部10によって湯水混合バルブ16を制御する場合と、吐水流量調整用の可動調整部8によって流量調整バルブ18を制御する場合は同様であるので、前者だけを説明する。
可動操作部10の操作ハンドル28を回転させることにより、ロータリーエンコーダ32がパルスを発生させる。操作検知部40は、パルスの個数及び位相と時間から、操作ハンドル28の回転速度と回転方向を検知する。次いで、変化量割合決定部42は、回転速度、回転方向、流量又は温度の調整設定値等の条件に応じて、回転速度と調整変化量割合との間の適用すべき関係を選択し、回転速度と上記関係に従って、吐水温度の調整変化量割合を決定する。次いで、調整値決定部44は、吐水温度の現在の調整設定値に、変化量割合決定部42で決定された調整変化量割合に回転角度を掛けたものを加算することによって、吐水温度の新しい調整設定値を決定する。制御部20は、この新しい調整設定値に対応して湯水混合バルブ16のモータ16aを駆動する。操作検知部40は、ロータリーエンコーダ32のパルスをリアルタイムで検知し、制御部20は、上記動作を繰り返す。
表示部46は、好ましくは、調整変化量割合が予め定められた表示基準調整変化量割合(後述)よりも大きいことを表示し、調整変化量割合が上限調整変化量割合(後述)であることを表示する。
可動操作部8、10の操作ハンドル28の回転速度を検知することによって、使用者の望む調整を推定し、水栓装置1の操作を使用者が望む操作に近づけることができるので、使用者の操作フィーリングを向上させることが可能になる。
以下、回転速度と調整変化量割合との間の関係の実施例、及び、それを用いた操作例を説明する。調整変化量割合は、吐水温度の調整変化量割合であってもよいし、吐水流量の調整変化量割合であってもよい。以下の説明では、吐水温度の調整変化量割合についてだけ説明する。また、以下に説明する関係は、吐水温度を増大させる場合と減少させる場合の両方に共通に選択されてもよいし、吐水温度を増大させる場合と減少させる場合とで異なるように選択されてもよい。
図4の(a)〜(e)及び図5〜図7は、回転速度と吐水温度の調整変化量割合との間の関係の第1〜第8の実施例を示す図である。これらの図において、回転速度VL、VA、VB、VHは同じ値を示し、VL<VA<VB<VHの関係にある。また、v1〜v5は、VL、VA、VB、VHの間の値又はそれらよりも大きい又は小さい値を有し、0<v1<VL<v2<VA<v3<VB<v4<VH<v5の関係にある。また、これらの図において、吐水温度の調整変化量割合b1〜b5は、同じ値を示し、b1<b2<b3<b4<b5の関係にある。これらの実施例では、調整変化量割合b1〜b5は、操作ハンドル28の単位回転角度(°)に対する温度の調整変化量割合であり、例えば、b1=0.1℃/°、b2=0.2℃/°、b3=0.3℃/°、b4=0.4℃/°、b5=0.5℃/°である。また、黒丸はその点を含むことを意味し、白丸はその点を含まないことを示す。
図4(a)〜図4(e)に示す実施例は、回転速度が増大するにつれて調整変化量割合が減少しない関係を示す。この場合、可動操作部8、10の回転速度が大きいとき、使用者が流量又は温度の粗調整を望んでいると推定し、流量又は温度の調整変化量割合を大きくする。それにより、調整設定値を使用者が望む目標の調整設定値に早く到達させることができる。また、可動操作部8、10の回転速度が小さいとき、使用者が流量又は温度の微調整を行うことを望んでいると推定し、流量又は温度の調整変化量割合を小さくする。それにより、調整設定値を使用者が望む目標の調整設定値に徐々に近づけることができる。かくして、水栓装置の操作を使用者が望む操作に近づけ、使用者の操作フィーリングを向上させることが可能になる。
図4(a)に示す実施例では、回転速度が増大するにつれて、調整変化量割合が単調に、特に正比例の関係で増大する。
図4(b)〜図4(e)に示す実施例では、回転速度が予め設定された上限速度VHよりも大きいとき、調整変化量割合を予め設定された一定の上限調整変化量割合b5に設定し、回転速度が予め設定された下限速度VLよりも小さいとき、調整変化量割合を予め設定された一定の下限調整変化量割合b1に設定する関係を示す。この場合、可動操作部8、10の回転速度が大きいとき、使用者が流量又は温度の粗調整を望んでいると推定するが、使用者が予期しない又は望まない急激な調整設定値の増大を除外することができる。また、可動操作部8、10の回転速度が小さいとき、使用者が流量又は温度の微調整を望んでいると推定するが、移動速度又は回転速度が小さくなりすぎて、使用者が、調整変化量割合が零ではないにもかかわらず零であると誤解することを回避することができる。
図4(c)に示す実施例では、回転速度が増大するにつれて調整変化量割合を1つの回転速度VHにおいて不連続的に増大させるように、調整変化量割合を決定する関係を示す。図4(d)〜図4(e)に示す実施例では、回転速度が増大するにつれて調整変化量割合を複数の回転速度VL、VA、VB、VHにおいて不連続的に増大させ且つ複数の回転速度VL、VA、VB、VHの間において調整変化量割合を一定に保つように、調整変化量割合を決定する関係を示す。この場合、粗調整、微調整、中間調整等の切替えが使用者に分かりやすくなるので、使用者が望む調整に対する水栓装置の操作を使用者が感覚的に認識しやすくなる。かくして、使用者の操作フィーリングを向上させることができる。
なお、比較的大きな調整変化量割合であるb3を表示基準調整変化量割合として定めておき、この、表示基準調整変化量割合であるb3よりも大きな調整変化量割合となる回転速度で操作された場合には、調整変化量割合と回転速度とが何れも大きいこととが相俟って短い時間で調整設定値が大きく切り替るため、その場合には、LED(表示部46)を点滅する等により使用者に表示する。
図5〜図7に示す実施例では、回転方向、流量又は温度の調整設定値の条件に応じて、回転速度と調整変化量割合との間の適用すべき関係が選択される場合を示す。
図5及び図6に示す実施例では、吐水温度の調整設定値が予め決められた温度の範囲内にある場合、具体的には、所定の調整設定値以上である場合において、可動操作部8の操作ハンドル28を増大方向に回転させるときに変化量割合決定部42が決定する調整変化量割合と、可動操作部8の操作ハンドル28を減少方向に回転させるときに変化量割合決定部42が決定する調整変化量割合とが異なる。詳細には、図5では、回転速度がVBよりも大きいとき、温度増大方向では、吐水温度の調整変化量割合がb3に維持されるのに対し、温度減少方向では、吐水温度の調整変化量割合がb4又はb5に増大する。また、図6では、温度増大方向では、回転速度に関わらず吐水温度の調整変化量割合がb3に維持されるのに対し、温度減少方向では、回転速度に応じて吐水温度の調整変化量割合がb1〜b5の範囲で変化する。同じ調整設定値であっても、可動操作部8の回転方向が増大方向か減少方向かによって使用者の望む調整が異なる場合、それに合わせた水栓装置の操作を実現することができ、かくして、使用者の操作フィーリングを向上させることができる。
また、図6に示す実施例では、吐水温度の調整設定値が予め決められた温度の範囲内にある場合、具体的には、所定の調整設定値以上であり且つ可動操作部8の操作ハンドル28を増大方向に回転させる場合において、吐水温度の調整変化量割合を回転速度に関わらず予め決められた一定の調整変化量割合b3に決定する。この場合、使用者が可動操作部の移動速度又は回転速度を変化させても調整変化量割合を一定にすることを望む流量又は温度の範囲を設定することができる。かくして、使用者の操作フィーリングを向上させることができる。
また、吐水温度の調整設定値が予め決められた一定の調整設定値よりも大きい場合において、可動操作部8の操作ハンドル28を増大方向に回転させるときに調整変化量割合を予め決められた一定の調整変化量割合b3に決定し、操作ハンドル28を減少方向に回転させるときに調整変化量割合を回転速度に応じて変化させる。例えば、可動操作部8の増大方向の回転速度が大きくても、使用者が大きい調整変化量割合を望んでいないと推定し、一定の調整変化量割合に決定する。一方、可動操作部の減少方向の回転速度が大きい場合、使用者は、流量又は温度の調整設定値を大きくして、流量又は温度を速く減少させることを望んでいると推定し、調整変化量割合を移動速度又は回転速度に応じて調整する。かくして、使用者の操作フィーリングを向上させることができる。
図7に示す実施例では、吐水流量の調整設定値が予め決められた流量の範囲内にある場合、具体的には、所定の調整設定値以上である場合において、可動操作部8の操作ハンドル28を増大方向に回転させるときに変化量割合決定部42が決定する調整変化量割合と、可動操作部8の操作ハンドル28を減少方向に回転させるときに変化量割合決定部42が決定する調整変化量割合とが異なる。詳細には、図7では、回転速度がVBよりも大きいとき、温度増大方向では、吐水温度の調整変化量割合がb3に維持されるのに対し、温度減少方向では、吐水温度の調整変化量割合がb4又はb5に増大する。同じ調整設定値であっても、可動操作部8の回転方向が増大方向か減少方向かによって使用者の望む調整が異なる場合、それに合わせた水栓装置1の操作を実現することができ、かくして、使用者の操作フィーリングを向上させることができる。
図8は、図5及び図6に示す回転速度と調整変化量割合との間の関係を適用した操作例を示すタイムチャートである。図8(a)は、図5に示す関係を適用した場合を示し、図8(b)は、図6に示す関係を適用した場合を示し、図8(c)は、図8(a)及び図8(b)に共通する吐水温度調整用の操作ハンドル28の回転角度を示す。図8(c)に示すように、ステップS1〜S4において、操作ハンドル28を、吐水温度を増大させるように回転させると共に、回転速度をv1からv4まで徐々に増大させ、ステップS5において、操作ハンドル28の回転を停止させる。次いで、ステップS6において、操作ハンドル28を、吐水速度を増大させるように回転速度v1で回転させた後、ステップS7において、吐水速度を減少させるように回転速度v4で回転させ、ステップS8において、操作ハンドル28の回転を停止させる。
図8(a)に示すタイムチャートを説明する。ステップS1〜S3aにおいて、吐水温度の調整設定値が所定値T1未満なので、B5Bの調整変化量割合が適用され、吐水温度の調整変化量割合は、b1、b2、b3と推移する。ステップS3b〜S6において、吐水温度の調整所定値T1以上であり且つ温度増大方向であるので、B5Aの調整変化量割合が適用され、吐水温度の調整変化量割合は、b3、b3、0、b1と推移する。ステップS7〜S8において、温度減少方向であるので、B5Bの調整変化量割合が適用され、吐水温度の変化量は、b4、0と推移する。
図8(b)に示すタイムチャートを説明する。ステップS1〜S4aにおいて、吐水温度の調整設定値が所定値T1未満なので、B6Bの調整変化量割合が適用され、吐水温度の調整変化量割合は、b1、b2、b3、b4と推移する。ステップS4b〜S6において、吐水温度の調整所定値T1以上であり且つ温度増大方向であるので、B6Aの調整変化量割合が適用され、吐水温度の調整変化量割合は、b3、0、b3と推移する。ステップS7〜S8において、温度減少方向であるので、B6Bの調整変化量割合が適用され、吐水温度の変化量は、b4、0と推移する。
図9は、図7に示す回転速度と調整変化量割合との間の関係を適用した操作例を示すタイムチャートである。図9(a)及び図9(b)は、図7に示す関係を適用した場合を示し、図9(a)では、吐水流量の調整設定値が所定値未満である場合を示し、図9(b)では、吐水流量の調整設定値が所定値以上である場合を示す。図9(c)は、図9(a)及び図9(b)に共通する吐水温度調整用の操作ハンドル28の回転角度を示す。図9(c)に示すように、ステップS1〜S4において、操作ハンドル28を、吐水温度を増大させるように回転させると共に、回転速度をv1からv4まで徐々に増大させ、ステップS5において、操作ハンドル28の回転を停止させる。次いで、ステップS6において、操作ハンドル28を、吐水速度を減少させるように回転速度v4で回転させた後、ステップS7において、操作ハンドル28の回転を停止させ、ステップS8において、吐水速度を増大させるように回転速度v3で回転させる。
図9(a)に示すタイムチャートを説明する。吐水流量の調整設定値が所定値未満であるので、全体的にB7Bの調整変化量割合が適用され、ステップS1〜S8において、吐水温度の調整変化量割合は、b1、b2、b3、b4、0、b4、0、b3と推移する。
図9(b)に示すタイムチャートを説明する。ステップS1〜S5において、吐水流量の調整設定値が所定値以上であり且つ温度増大方向であるので、B7Aの調整変化量割合が適用され、吐水温度の調整変化量割合は、b1、b2、b3、b3、0と推移する。ステップS6〜S7において、温度減少方向であるので、B7Bの調整変化量割合が適用され、吐水温度の調整変化量割合は、b4、0と推移する。ステップS8において、吐水流量の調整設定値が所定値以上であり且つ温度増大方向であるので、B7Aの調整変化量割合が適用され、吐水温度の変化量は、b3になる。
同じ操作であっても、吐水流量の調整設定値が所定値以上である図9(b)の場合は、それが所定値未満である図9(a)の場合よりも、吐水温度の調整設定値の最高値が低くなる(S4参照)。
以上、本発明の実施形態を説明したが、本発明は、以上の実施の形態に限定されることなく、特許請求の範囲に記載された発明の範囲内で種々の変更が可能であり、それらも本発明の範囲内に包含されるものであることはいうまでもない。
上記実施形態では、操作検知部40において速度を検知するために、ロータリーエンコーダ32を使用したけれども、速度を直接検出できるセンサを使用してもよいし、加速度計を使用してもよい。
また、上記実施形態では、回転する可動操作部8、10を説明したけれども、直線的に又は曲線的に(例えば、ループをなして)移動する可動操作部であってもよい。
本発明による水栓装置の概略図である。 水栓装置の水栓機能部の概略図である。 水栓装置の可動操作部の断面図である。 回転速度と吐水温度の調整変化量割合との間の関係を示す図である。 回転速度と吐水温度の調整変化量割合との間の関係を示す図である。 回転速度と吐水温度の調整変化量割合との間の関係を示す図である。 回転速度と吐水温度の調整変化量割合との間の関係を示す図である。 操作例を示すタイムチャートである。 操作例を示すタイムチャートである。
符号の説明
1 水栓装置
8、10 可動操作部
16 湯水混合バルブ(温度調整機構)
16a 駆動部
18 流量調整バルブ(流量調整機構)
18a 駆動部
40 操作検知部
42 変化量割合決定部
44 設定値決定部
46 表示部
VH 上限速度
VL 下限速度
b1 下限調整変化量割合
b5 上限調整変化量割合

Claims (11)

  1. 流量又は温度を調整するための可動操作部と、可動操作部の操作に基づいて電気的に駆動される流量調整機構又は温度調整機構と、を備えた水栓装置であって、
    前記可動操作部の移動速度又は回転速度をリアルタイムで検知する操作検知部と、
    検知された移動速度又は回転速度に応じて流量又は温度の調整変化量割合を決定する変化量割合決定部と、
    前記調整変化量割合に従って流量又は温度の調整設定値を決定する設定値決定部と、
    前記調整設定値に対応して前記流量調整機構又は温度調整機構を駆動する駆動部と、を有し、
    前記流量又は温度の調整変化量割合は、前記可動操作部の移動距離又は回転角度当たりの流量又は温度の変化量であることを特徴とする水栓装置。
  2. 前記変化量割合決定部は、前記移動速度又は回転速度が増大するにつれて前記調整変化量割合が減少しないように、前記調整変化量割合を決定することを特徴とする請求項1に記載の水栓装置。
  3. 前記変化量割合決定部は、前記移動速度又は回転速度が予め設定された上限速度よりも大きいとき、前記調整変化量割合を予め設定された一定の上限調整変化量割合に決定することを特徴とする請求項2に記載の水栓装置。
  4. 前記変化量割合決定部は、前記移動速度又は回転速度が予め設定された下限速度よりも小さいとき、前記調整変化量割合を予め設定された一定の下限調整変化量割合に決定することを特徴とする請求項2又は3に記載の水栓装置。
  5. 前記変化量割合決定部は、前記移動速度又は回転速度が増大するにつれて前記調整変化量割合を前記移動速度又は回転速度の1つの値において不連続的に増大させるように、前記調整変化量割合を決定することを特徴とする請求項2〜4の何れか1項に記載の水栓装置。
  6. 前記変化量割合決定部は、前記移動速度又は回転速度が増大するにつれて前記調整変化量割合を前記移動速度又は回転速度の複数の値において不連続的に増大させ且つ前記複数の値の間の移動速度又は回転速度において前記調整変化量割合を一定に保つように、前記調整変化量割合を決定することを特徴とする請求項2〜4の何れか1項に記載の水栓装置。
  7. 前記調整設定値が予め決められた流量又は温度の範囲内にあるとき、前記変化量割合決定部は、前記調整変化量割合を前記移動速度又は回転速度に関わらず予め決められた一定の調整変化量割合に決定することを特徴とする請求項1〜6の何れか1項に記載の水栓装置。
  8. 前記操作検知部は、前記可動操作部の移動方向が、流量又は温度を増大させる増大方向か、流量又は温度を減少させる減少方向かを検知し、
    前記調整設定値が予め決められた一定の調整設定値よりも大きい場合において、前記変化量割合決定部は、前記可動操作部が増大方向に移動するときに前記調整変化量割合を予め決められた一定の調整変化量割合に決定し、前記可動操作部が減少方向に移動するときに前記調整変化量割合を前記移動速度又は回転速度に応じて変化するように決定することを特徴とする請求項1〜6の何れか1項に記載の水栓装置。
  9. 前記操作検知部は、前記可動操作部の移動方向が、流量又は温度を増大させる増大方向か、流量又は温度を減少させる減少方向かを検知し、
    前記調整設定値が予め決められた流量又は温度の範囲内にある場合において、前記可動操作部が増大方向に移動するときに前記変化量割合決定部が決定する調整変化量割合と、前記可動操作部が減少方向に移動するときに前記変化量割合決定部が決定する調整変化量割合とが異なることを特徴とする請求項1〜6の何れか1項に記載の水栓装置。
  10. 更に、前記調整変化量割合が予め定められた一定の表示基準調整変化量割合よりも大きいことを表示する表示部を有することを特徴とする請求項1〜9の何れか1項に記載の水栓装置。
  11. 更に、前記調整変化量割合が前記上限調整変化量割合であることを表示する表示部を有することを特徴とする請求項3に記載の水栓装置。
JP2008251101A 2008-09-29 2008-09-29 水栓装置 Expired - Fee Related JP5446029B2 (ja)

Priority Applications (1)

Application Number Priority Date Filing Date Title
JP2008251101A JP5446029B2 (ja) 2008-09-29 2008-09-29 水栓装置

Applications Claiming Priority (1)

Application Number Priority Date Filing Date Title
JP2008251101A JP5446029B2 (ja) 2008-09-29 2008-09-29 水栓装置

Publications (2)

Publication Number Publication Date
JP2010084323A true JP2010084323A (ja) 2010-04-15
JP5446029B2 JP5446029B2 (ja) 2014-03-19

Family

ID=42248560

Family Applications (1)

Application Number Title Priority Date Filing Date
JP2008251101A Expired - Fee Related JP5446029B2 (ja) 2008-09-29 2008-09-29 水栓装置

Country Status (1)

Country Link
JP (1) JP5446029B2 (ja)

Cited By (2)

* Cited by examiner, † Cited by third party
Publication number Priority date Publication date Assignee Title
KR101866532B1 (ko) * 2018-01-12 2018-06-11 (주)제이바스 수전 장치
KR101866531B1 (ko) * 2018-01-12 2018-06-11 (주)제이바스 수전 장치

Citations (3)

* Cited by examiner, † Cited by third party
Publication number Priority date Publication date Assignee Title
JPS6347577A (ja) * 1986-08-15 1988-02-29 Tokyo Keiki Co Ltd ジヨイステツク操作入力による弁制御装置
JPH0239584U (ja) * 1988-09-06 1990-03-16
JP2001208229A (ja) * 2000-01-27 2001-08-03 Inax Corp 吐水器具

Patent Citations (3)

* Cited by examiner, † Cited by third party
Publication number Priority date Publication date Assignee Title
JPS6347577A (ja) * 1986-08-15 1988-02-29 Tokyo Keiki Co Ltd ジヨイステツク操作入力による弁制御装置
JPH0239584U (ja) * 1988-09-06 1990-03-16
JP2001208229A (ja) * 2000-01-27 2001-08-03 Inax Corp 吐水器具

Cited By (2)

* Cited by examiner, † Cited by third party
Publication number Priority date Publication date Assignee Title
KR101866532B1 (ko) * 2018-01-12 2018-06-11 (주)제이바스 수전 장치
KR101866531B1 (ko) * 2018-01-12 2018-06-11 (주)제이바스 수전 장치

Also Published As

Publication number Publication date
JP5446029B2 (ja) 2014-03-19

Similar Documents

Publication Publication Date Title
US12249323B2 (en) Electronic faucet with smart features
US11015327B2 (en) Electronic faucet with spatial orientation control system
US10767354B2 (en) Electronic faucet with smart features
US20210335358A1 (en) Electronic faucet with smart features
CN1259604C (zh) 电子混合水制备装置和制备混合水的方法
US10663075B2 (en) Shower control system
US20150258895A1 (en) Method for controlling a functional device of a motor vehicle
JP5446029B2 (ja) 水栓装置
JP2009127379A (ja) 電子制御水栓装置
JP5445337B2 (ja) 給湯機
JPH05331888A (ja) 湯水混合装置
JP2011226554A (ja) 電動弁装置およびそれを用いた給湯機
JP5099598B2 (ja) 水栓装置
JP5253279B2 (ja) 流量調節装置
KR20110104359A (ko) 이온수 생성기 유량조절장치
JP2010084325A (ja) 水栓装置
KR101866531B1 (ko) 수전 장치
JP2010084324A (ja) 水栓装置
CN105627570A (zh) 一种卫浴设备的多参数控制装置
JP2011252684A (ja) 給湯機
JP5170841B2 (ja) 水栓装置
KR101866532B1 (ko) 수전 장치
JP2008144462A (ja) 水栓
JP4775901B2 (ja) 水栓装置
JP2025181218A (ja) 水栓装置

Legal Events

Date Code Title Description
A621 Written request for application examination

Free format text: JAPANESE INTERMEDIATE CODE: A621

Effective date: 20110805

A977 Report on retrieval

Free format text: JAPANESE INTERMEDIATE CODE: A971007

Effective date: 20121203

A131 Notification of reasons for refusal

Free format text: JAPANESE INTERMEDIATE CODE: A131

Effective date: 20130603

A521 Written amendment

Free format text: JAPANESE INTERMEDIATE CODE: A523

Effective date: 20130730

TRDD Decision of grant or rejection written
A01 Written decision to grant a patent or to grant a registration (utility model)

Free format text: JAPANESE INTERMEDIATE CODE: A01

Effective date: 20131202

A61 First payment of annual fees (during grant procedure)

Free format text: JAPANESE INTERMEDIATE CODE: A61

Effective date: 20131215

R150 Certificate of patent or registration of utility model

Ref document number: 5446029

Country of ref document: JP

Free format text: JAPANESE INTERMEDIATE CODE: R150

Free format text: JAPANESE INTERMEDIATE CODE: R150

LAPS Cancellation because of no payment of annual fees