JP2010083258A - 車体前部構造 - Google Patents

車体前部構造 Download PDF

Info

Publication number
JP2010083258A
JP2010083258A JP2008252941A JP2008252941A JP2010083258A JP 2010083258 A JP2010083258 A JP 2010083258A JP 2008252941 A JP2008252941 A JP 2008252941A JP 2008252941 A JP2008252941 A JP 2008252941A JP 2010083258 A JP2010083258 A JP 2010083258A
Authority
JP
Japan
Prior art keywords
frame
front side
collision
side frame
extending
Prior art date
Legal status (The legal status is an assumption and is not a legal conclusion. Google has not performed a legal analysis and makes no representation as to the accuracy of the status listed.)
Granted
Application number
JP2008252941A
Other languages
English (en)
Other versions
JP5211993B2 (ja
Inventor
Katsutoshi Tanaka
克俊 田中
Yasuyuki Ando
康之 安道
Yukio Nakamura
幸雄 中村
Koichi Nakano
孝一 中野
Shiro Nakatani
志郎 中谷
Takao Maruko
敬生 丸子
Current Assignee (The listed assignees may be inaccurate. Google has not performed a legal analysis and makes no representation or warranty as to the accuracy of the list.)
Mazda Motor Corp
Original Assignee
Mazda Motor Corp
Priority date (The priority date is an assumption and is not a legal conclusion. Google has not performed a legal analysis and makes no representation as to the accuracy of the date listed.)
Filing date
Publication date
Application filed by Mazda Motor Corp filed Critical Mazda Motor Corp
Priority to JP2008252941A priority Critical patent/JP5211993B2/ja
Publication of JP2010083258A publication Critical patent/JP2010083258A/ja
Application granted granted Critical
Publication of JP5211993B2 publication Critical patent/JP5211993B2/ja
Expired - Fee Related legal-status Critical Current
Anticipated expiration legal-status Critical

Links

Images

Landscapes

  • Body Structure For Vehicles (AREA)

Abstract

【課題】ポールのように車幅方向に広がりを備えていない障害物に対して車幅方向中央部分が激突したときに、その衝突エネルギをフロントサイドフレームを使って吸収する。
【解決手段】ペリメータフレーム30は、側面視したときに、高位に位置する前端部300aと、低位に位置してサスペンション機構54の取付部を構成する後水平部300bと、傾斜部300cとを有し、傾斜部300cの前端部とフロントサイドフレーム24との間に衝突荷重伝達部材84が介装されている。衝突荷重伝達部材84は、ペリメータフレーム30から斜め後方且つ上方に向けて延びており、その上端がフロントサイドフレーム24の下面に連結されている。
【選択図】図1

Description

本発明は、車体前部構造に関し、より詳しくは、ポール状の障害物に対して車幅方向中央部分が前面衝突したときの安全性を向上することのできるものに関する。
車体前部は、一般的に、車体前端において車幅方向に延びるバンパーレインフォースメントの左右の端部を夫々左右一対のフロントサイドフレームの前端に連結する、より詳しくはクラッシュカンを介して連結する構造が採用されている。すなわち、車体前部構造として、左右のフロントサイドフレームは前面衝突の際の主なる衝撃吸収部材として機能する構造が採用されている。
前面衝突に関する衝撃安全性能試験は二つの態様で行われている。第一の態様がフルラップ前面衝突であり、第二の態様がオフセット前面衝突である。フルラップ前面衝突試験では、車両を所定速度でコンクリート製の障壁に衝突させることにより行われる。オフセット前面衝突試験では、車両の一方の側部(オーバーラップ率40%)をハニカム状の障壁に前面衝突させることにより行われる。
特許文献1は、左右のフロントサイドフレームの前端にクラッシュカンを介してバンパーレインフォースメントを取り付けると共に、フロントサイドフレームの下方にサブフレームとして平面視略矩形の枠形状のいわゆるペリメータフレームを配設した車体前部構造を開示し、そして、低速でポールに前面衝突において低速でポールに衝突したときに、クラッシュカンで衝突エネルギを吸収することを提案している。
特許文献2は、フルラップ前面衝突及びオフセット前面衝突において、衝突初期で、フロントサイドフレームの前端部の座屈により衝突エネルギを吸収すると共に衝突後期における乗員の減速度を緩和する発明を提案している。具体的には、特許文献2は、矩形閉断面構造の左右のフロントサイドフレームの後端部間に亘って車幅方向に延びるパイプを設け、このパイプの左右の各端をフロントサイドフレームの内側側面に連結する構造を提案している。この発明によれば、衝突によりパワープラントが後退すると、この後退するパワープラントにより、車幅方向に延びる連結パイプが後方に屈曲し、この連結パイプの屈曲によって左右のフロントサイドフレームの後端部を車幅方向内方側に屈曲させることで、衝突後期の乗員の減速度を緩和することができる。
特許文献3は、左右のフロントサイドフレームと、その下方に配設した平面視略矩形の枠形状のサブフレーム(ペリメータフレーム)とを連結する、その連結構造によってフルラップ前面衝突及びオフセット前面衝突における衝突初期及び衝突中期の衝突耐力の向上と衝突後期の減速度を緩和する提案を行っている。
特開2006−175988号公報 特開2002−120752号公報 特開2004−26888号公報
ところで、上述したように前面衝突の態様として典型的にはフルラップ衝突及びオフセット衝突を挙げることができるものの、実際の前面衝突事故では種々様々な態様があるのは勿論である。その一つに、道路脇に植設された電柱や道路標識の支柱などに激突した場合である。このポール状の障害物に対して車両の側部で前面衝突したときには、前述したオフセット前面衝突試験と同様に、一方のフロントサイドフレームによって衝撃を吸収することが可能である。しかし、車両の車幅方向中央部分がポール状の障害物に激突した場合、バンパーレインフォースメントは、一般的に設計上これを受け止める強度を備えていないため、その車幅方向中央部分で折れ曲がってしまい、この結果、左右のフロントサイドフレームが機能せずに大きな損壊が発生してしまう虞がある。
本発明の目的は、ポールのように車幅方向に広がりを備えていない障害物に対して車幅方向中央部分が激突したときに、その衝突エネルギをフロントサイドフレームを使って吸収することのできる車体前部構造を提供することにある。
上記の技術的課題は、本発明によれば、
エンジンを含むパワープラントが配設されるエンジンルームを車体前後方向に延び且つ閉断面構造の左右のフロントサイドフレームと、
該左右のフロントサイドフレームの下方に配設されたサブフレームとを有する車体前部構造において、
前記サブフレームが、前記左右のフロントサイドフレームに沿って車体前後方向に延びる左右の側方部分と、該左右の側方部分の前端部を連結する車幅方向に延びる前端連結部と、前記左右の側方部分の後端部を連結する車幅方向に延びる後端連結部とを含む平面視略矩形の枠形状を有し、
前記サブフレームの側方部分が、側面視したときに、相対的に高位に位置する前端部と、相対的に低位に位置して略水平方向に延び且つ前輪サスペンション機構の取付部を構成する後水平部と、前記前端部と後水平部との間に位置して斜め下方且つ後方に延びる傾斜部とを有し、
該傾斜部の前端部から斜め後方且つ上方に延び、上端が前記フロントサイドフレームの下面に連結される衝撃荷重伝達部材を有することを特徴とする車体前部構造を提供することにより達成される。
本発明によれば、前面衝突においてポールのように車幅方向に大きな幅を有していない障害物に対して車幅方向中央部分が激突して、その衝突荷重がサブフレームに加わったときに、サブフレームに入力した衝突荷重は衝突荷重伝達部材を介してフロントサイドフレームに分散され、フロントサイドフレームの衝突エネルギ吸収機能によって吸収することができる。そして、衝突荷重伝達部材の軸線がサブフレームから斜め後方且つ上方に向けて延びているため、サブフレームに入力した衝突荷重をフロントサイドフレームに円滑に入力してフロントサイドフレームの軸圧縮によってエネルギを吸収することができる。
また、衝突荷重伝達部材がサブフレームの傾斜部の上端部に連結されているため、サブフレームの傾斜部に分散して後水平部に伝わる衝突荷重によって、傾斜部と後水平部との屈曲部の折れを回避して、サブフレームの後水平部の軸圧縮によって衝突エネルギを吸収することができる。
本発明の好ましい実施の形態によれば、
前記サブフレームの左右の後端から後方に延びる左右の後端延長部と、車室の床面を構成するフロアパネルの下面に配設された左右のフロアフレームとを更に有し、該フロアフレームには、前記後端延長部を受け入れる段部が形成されて、該段部に前記後端延長部が固定されている。この実施の形態によれば、フロアフレームの段部によるサブフレームの後端延長部の係止によってサブフレームの後退を阻止することができ、これにより、、サブフレームの後水平部の軸圧縮による衝突エネルギの吸収効率を高めることができる。
本発明の好ましい実施の形態によれば、
前記左右のフロントサイドフレームの前端に、クラッシュカンを介して、車幅方向に延びるバンパーレインフォースメントが設けられ、前記サブフレームには、前記側方部分の前端に、車幅方向に延び且つ前方に向けて凸の円弧状メンバが設けられ、該円弧状メンバの前端の位置が、側面視したときに、前記クラッシュカンの長手方向中央部分に位置している。この実施の形態によれば、軽衝突では、円弧状メンバ及びサブフレームに被害を及ぼすことなくクラッシュカンによって衝突エネルギが吸収される。また、追加のメンバの円弧状の形状によって、激突したポールによる曲げに抗しつつ衝突荷重をサブフレームに伝達し、このサブフレームに入力した衝突荷重をフロントサイドフレームにも分散して、フロントサイドフレーム及びサブフレームによるエネルギを吸収することができる。
本発明の好ましい実施の形態によれば、
前記フロントサイドフレームが、前端から後端に向けて衝突エネルギ吸収構造の異なる領域に区分されて設計され、前端部が座屈域であり、該前端部の後方が屈曲域であり、
前記衝突荷重伝達部材の上端が、前記フロントサイドフレームにおける前記座屈域の後端又は前記座屈域と前記屈曲域の境界部分又は前記屈曲域の前端に連結されている。この実施の形態によれば、衝突荷重伝達部材の傾斜角度を小さく設定して衝突荷重伝達部材を通じて衝突荷重を円滑にフロントサイドフレームに入力することができる。また、フロントサイドフレーム前端部(座屈域)の座屈による衝突エネルギ吸収機能を使って衝突初期の衝突エネルギを吸収することができる。
本発明の他の目的及び作用効果は、以下の好ましい実施例の詳細な説明から明らかになろう。
以下に、添付の図面に基づいて本発明の好ましい実施例を説明する。図1は側面視した実施例の車体前部構造であり、図2は実施例の車体前部構造を下方から見た底面図である。先ず図1を参照して、参照符号10はダッシュパネルを示し、ダッシュパネル10によって車室12とエンジンルーム14とが区画されている。車室12は、その床面が、ダッシュパネル10の下端に前端を連結したフロアパネル16によって形成され、車室12には、インスツルメントパネル18、ブレーキペダル20やアクセルペダル等が設けられている。参照符号22はフロントウインドウである。
エンジンルーム14の下方域には、車体前後方向にエンジンルーム14の全域に亘って延在する左右のフロントサイドフレーム24が配設されており、フロントサイドフレーム24は矩形の閉断面構造を有している。既知のように、左右のフロントサイドフレーム24の前端には、車幅方向に延びるバンパーレインフォースメント26がクラッシュカン28を介して連結されている。エンジンルーム14の下方域には、更に、フロントサイドフレーム24よりも下方に位置するサブフレーム30としてのペリメータフレームが配設されている。参照符号32は前輪である。
ペリメータフレーム30は、左右のフロントサイドフレーム24に沿って車体前後方向に延びる左右の側方部分300と、左右の側方部分300の前端部を連結する車幅方向に延びる前端連結部分302と、左右の側方部分300の後端部を連結する車幅方向に延びる後端連結部分304とを有し、平面視したときに略矩形の枠形状を備えている(図2)。図1を参照して、左右の側方部分300は、側面視したときに3つの領域に区分して見ることができ、相対的に高位に位置する前端部300aと、相対的に低位に位置する後水平部300bと、前端部300aと後水平部300bとの間に位置して斜め下方に延びる傾斜部300cとを有する。前端部300aは、アプローチアングルを確保する部分であり、この前端部300aに上記前端連結部分302が合流している。後水平部300bは、後に説明する前輪サスペンション54に含まれるロアアーム56、58の取付部を構成するものである。
エンジンルーム14には内燃多気筒エンジン34が搭載されている。エンジン34は、水冷式の直列四気筒エンジンであり、図2から最も良く分かるようにエンジン出力軸を車幅方向に向けてエンジンルーム14内に搭載されている。すなわち、エンジンルーム14に搭載されたエンジン34は横置きのレシプロエンジンであり、エンジン34の後端にはトランスアクスル36が連結されている。換言すると、エンジン34とトランスアクスル36は車幅方向に並んで配設され、エンジン出力は、トランスアクスル36に内蔵されたデファレンシャルギア38(図1)を介して左右の前輪32に分配される。この自動車は前輪駆動形式の車両であるが、4輪駆動形式の車両に対しても本発明を適用することができる。
エンジン34は水冷式エンジンであり、このエンジン34の冷却水は、左右のフロントサイドフレーム24の前端部の間のシュラウドパネル(図示せず)に固設されたラジエータ40によって冷却される。
横置きのエンジン34は、前方吸気、後方排気の形式が採用されており(図1)、エンジン34のシリンダヘッドには、その前面に吸気管42が連結され、後面に排気管44が連結されている。
図2を参照して、ペリメータフレーム30は、その左右の側方部分300の前端部300aが第1ボルト46によってフロントサイドフレーム24に連結されており、また、左右の側方部分300の後水平部300bから後方に延長した左右の後端延長部306が第2ボルト48によって左右のフロアフレーム50に連結されている。これについては後に詳しく説明する。図2の参照符号52は、フロアパネル50の左右の側縁に沿って延びるサイドシルを示す。
ペリメータフレーム30には、前輪32のサスペンション機構54に含まれる第1、第2のロアアーム56、58の車幅方向内端ピボット点56a、58aが設けられており、このピボット点56a、58aは、ペリメータフレーム30の左右の側方部分300における後水平部300bに配設されている。図中、参照符号58はステアリングリンク機構を示す。
図3、図4は、ペリメータフレーム30の前端部をフロントサイドフレーム24に連結する構造を示す図である。図3、図4を参照して、フロントサイドフレーム24の前端部には、下方に延びる第1ブラケット62が設けられている。他方、ペリメータフレーム30(側方部分300)の前端部300aには、上方に向けて延びる第2ブラケット64が設けられており、この第2ブラケット64にはゴムブッシュ66が配設されている。ペリメータフレーム30の前端部とその上方のフロントサイドフレーム24の前端部とは、ロングボルト46とゴムブッシュ66とを介して互いに連結される。図3において、参照符号68はサスペンションタワーを示し、参照符号70はエプロンパネルを示す。エプロンパネル70はその下端縁がフロントサイドフレーム24に溶接され、他方、エプロンパネル70の上端縁にはエプロンレインフォースメント72が配設されている。
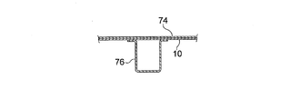
図5は、ペリメータフレーム30の後端部つまり左右の後端延長部306をフロアフレーム50に連結する構造を示す図である。図5を参照して、フロアパネル16は、その前端がキックアップパネル74によって前方に延長されている。キックアップパネル74は、前方から後方に向かうに従って斜め下方に延びており、その前端がダッシュパネル10の下端に接合されている。図5のVI−VIに沿った断面を図6に示し、図5のVII−VIIに沿った断面を図7に示す。また、図5のVIII−VIIIに沿った断面を図8に示す。
図5、図8を参照して、フロアフレーム50は、キックアップパネル74に沿って延びる延長フロアフレーム76によって前方に延長されている。この延長フロアフレーム76には、その下面に前方に向けて切り欠いた形状の段部76aが形成され、この段部76aにペリメータフレーム30の後端延長部306が受け入れられて第2ボルト48によって延長フロアフレーム76の下面に固定されている。なお、図8から分かるように、ペリメータフレーム30の後端延長部306にはゴムブッシュ78を介してスリーブ80が配設されており、上記第2ボルト48はスリーブ80に挿入されて延長フロアフレーム76に予め溶接されているナット82に螺着される。図8において参照符号84は補強パネルを示す。
図1、図3〜図5を再び参照して、ペリメータフレーム30の左右の側方部分300における傾斜部300cの前端部には、その上方に位置するフロントサイドフレーム24との間に衝突荷重伝達部材84が介装されている。衝突荷重伝達部材84は、軸線がペリメータフレーム30から斜め上方且つ後方に向けて延びており、この衝突荷重伝達部材84によって、ペリメータフレーム30に入力された衝突荷重がフロントサイドフレーム24に分散される。
衝突荷重伝達部材84は、その下端部がペリメータフレーム30(側方部分300)における傾斜部300cの上面から斜め後方且つ上方に向けて延びており、その上端がフロントサイドフレーム24の下面に連結されている。実施例では、衝突荷重伝達部材84は、ペリメータフレーム30側の第1部材86と、この第1部材86から入力される衝突荷重を受けるためのフロントサイドフレーム24側の第2部材88とで構成され、この第1、第2部材86、88は共に閉断面構造を有している。そして、ペリメータフレーム30に入力した衝突荷重を第2部材に入力するための第1部材86と、これを受けるための第2部材88とはボルトナットの組み合わせ90を使って互いに連結されている。
第1閉断面部材86は、後面が起立した側面視略直角三角形の形状を有していてもよく、或いは、斜め上方且つ後方に延びる形状を有していてもよいが、その下端がペリメータフレーム30及び第2ブラケット64にアーク溶接されている。この第1閉断面部材86は、その上端部に、後方に向いた第1フランジ86aが形成されている。他方、第2閉断面部材88は、その上端がフロントサイドフレーム24の下面にアーク溶接されて斜め下方且つ前方に向けて延びる形状を有し、その下端部には、前方に向いた第2フランジ88aが形成され、これら第1、第2のフランジ86a、88aは、この実施例では互いに鉛直面で対向している。図9を参照して、第1、第2の閉断面部材86、88の第1、第2フランジ86a、88aの間には弾性シート92が介装される。このように弾性シート92を介在させることにより、衝突荷重伝達部材84による衝突荷重伝達機能を損なうことなく第1、第2のフランジ86a、88a間の連結の自由度を向上させることができる。
図1を参照して、参照符号94はエンジンマウント部材を示す。横置きエンジン34、トランスアクスル36を含むパワープラントはその出力軸方向つまり車幅方向の一端部と他端部が左右のフロントサイドフレーム24に対してマウント部材94を介して搭載されている。ここに、フロントサイドフレーム24の衝突エネルギ吸収構造として、フロントサイドフレーム24の前端部が座屈域Aに設定され、この座屈域Aの後方の領域が屈曲域Bに設定されている。フロントサイドフレーム24に前面衝突の衝突荷重が加わると、座屈域Aが座屈し、次いで、その後方の屈曲域Bが三次元的に屈曲して衝突エネルギが吸収される。
引き続き図1を参照して、上述した衝突荷重伝達部材84の上端は、好ましくは座屈域Aの後端又は座屈域Aと屈曲域Bとの境界又は屈曲域Bの前端に連結される。また、衝突荷重伝達部材84の上端は、好ましくはエンジンマウント部材94よりも前方にオフセットした箇所に位置するようにフロントサイドフレーム24に対する連結部位が設定されている。
衝突荷重伝達部材84の上端の連結箇所に関し、この衝突荷重伝達部材84を通じてフロントサイドフレーム24に入力した衝突荷重をフロントサイドフレーム24の座屈域Aを使ってエネルギ吸収するのであれば、座屈域Aの前後方向中央部分に衝突荷重伝達部材84の上端を連結することになるが、この場合には衝突荷重伝達部材84が起立した状態で配設されることになり、衝突荷重伝達部材84を通じてフロントサイドフレーム24に入力した衝突荷重のベクトルが、フロントサイドフレーム24の軸線と大きな角度で交差することになってフロントサイドフレーム24の軸線方向への荷重伝達が悪化してしまう。
衝突荷重伝達部材84の上端の連結箇所に関し、この衝突荷重伝達部材84の立ち上がり角度(斜め後方への傾斜角度)を小さくするとフロントサイドフレーム24の軸線方向への荷重伝達が円滑になる。これを念頭に置くと、衝突荷重伝達部材84の上端の連結箇所は、フロントサイドフレーム24の座屈域Aの後端部又は座屈域Aと屈曲域Bの境界部分又は屈曲域Bの前端となる。フロントサイドフレーム24の座屈域Aと屈曲域Bの境界部分又は屈曲域Bの前端に衝突荷重伝達部材84を連結する場合、屈曲域Bにおけるフロントサイドフレーム24の軸線は、図1からも理解できるように、前輪サスペンション機構54のストロークに起因する前輪ドライブシャフトの上下移動軌跡との干渉を回避するため山なりのラインを描いていることから、衝突荷重伝達部材84の立ち上がり角度を小さくできるだけでなく、フロントサイドフレーム24の軸線方向への荷重伝達が円滑になるという利点がある。ただし、衝突荷重伝達部材84からフロントサイドフレーム24に入力される荷重の吸収に際して、フロントサイドフレーム24の座屈域Aの座屈によりエネルギ吸収は期待できない。
なお、フロントサイドフレーム24の座屈域A、屈曲域Bは、フルラップ前面衝突及びオフセット前面衝突によってフロントサイドフレーム24の前端から衝突荷重が入力したときに最も効率的なエネルギ吸収が行われるように設計されているが、実施例における屈曲域Bは、ポール衝突によってペリメータフレーム30及び衝突荷重伝達部材84を通じて、座屈域Aを経由することなくフロントサイドフレーム24の屈曲域Bに衝突荷重が直接的に入力したときに、フロントサイドフレーム24による屈曲によって効率的にエネルギを吸収するように設計することができる。したがって、フルラップ前面衝突、オフセット前面衝突、ポール衝突のいずれの態様であっても、衝突荷重をフロントサイドフレーム24によって効率的に吸収することができる。
図2を参照して、ペリメータフレーム30には、左右の側方部分300の前端の間に亘って延びる円弧状メンバ96が設けられている。この追加の円弧状メンバ96は平面視したときに前方に向けて凸の円弧状の閉断面構造の部材で構成されており、その左右の端のフランジ96aが、ペリメータフレーム30の側方部分300の前端にボルト98を使って固定される(図3)。この追加の円弧状メンバ96の前端は、クラッシュカン28の長手方向中間部分に位置している(図1)。
前面衝突において、例えば車幅方向中央部分にポールなどに激突したときに、その衝突荷重はバンパーレインフォースメント26を介して左右のクラッシュカン28に入力してクラッシュカン28が座屈し、次いで衝突荷重がフロントサイドフレーム24に入力する。また、ポールは、ペリメータフレーム30から前方に突出した追加の円弧状メンバ96に衝突し、この衝突荷重がペリメータフレーム30に入力する。ペリメータフレーム30に入力した衝突荷重は、その一部が衝突荷重伝達部材84によってフロントサイドフレーム24に分散される。衝突荷重伝達部材84は、その軸線が、ペリメータフレーム30から斜め上方且つ後方に延びてフロントサイドフレーム24と交差しているため、換言すると、衝突荷重伝達部材84による衝突荷重伝達経路がフロントサイドフレーム24の軸線に対して斜め後方に交差しているため、ペリメータフレーム30から衝突荷重伝達部材84を経由してフロントサイドフレーム24に入力した衝突荷重は、フロントサイドフレーム24に直接的に入力した衝突荷重と合流し、そして、その後方のフロントサイドフレーム24の部分の衝突エネルギ吸収機能を使って衝突エネルギを吸収することができる。
ここに、ペリメータフレーム30に入力した衝突荷重は、ペリメータフレーム30の左右の側方部分300を通って後方に伝達されることになるが、その過程で、側方部分300の傾斜部300cと、サスペンション機構54のロアアーム56、58の取付部を構成する後水平部300bとの間の屈曲部が折れ易いが、衝突荷重伝達部材84の下端が、傾斜部300cの前端部に連結されているため、傾斜部300cに入力した衝突荷重が衝突荷重伝達部材84と後水平部300bとに分散されるため、傾斜部300cと後水平部300bとの間の屈曲部の折れを抑制することができ、この後水平部300bの軸圧縮によって衝突エネルギを吸収することができる。
また、ペリメータフレーム30の後端延長部306が、延長フロアフレーム76の段部76aに受け入れられているため(図5)、ペリメータフレーム30の後退を防止することができ、これによっても後水平部300bの軸圧縮によるエネルギ吸収能力を向上することができる。
また、ペリメータフレーム30の前端に設けた追加の円弧状メンバ96の前端を、フロントサイドフレーム24の前端に位置するクラッシュカン28よりも後方に位置させたため、軽衝突時に円弧状メンバ96及びペリメータフレーム30に被害が及ぶのを回避することができるが、例えば高速でポールに衝突した場合に、追加の円弧状メンバ96によってもポールがエンジンルーム14内に侵入するのを抑制することができ、また、円弧状メンバ96に加わった衝突荷重は、上述したようにフロントサイドフレーム14に分散され、そして、フロントサイドフレーム14による衝突エネルギ吸収機能によって衝突エネルギを吸収することができる。
すなわち、ペリメータフレーム30の左右の側方部分300に入力した衝突荷重は、その一部が衝突荷重伝達部材84によってフロントサイドフレーム24に分散される。衝突荷重伝達部材84は、その軸線が、ペリメータフレーム30から斜め上方且つ後方に延びてフロントサイドフレーム24と交差しているため、換言すると、衝突荷重伝達部材84による衝突荷重伝達経路がフロントサイドフレーム24の軸線に対して斜め後方に交差しているため、ペリメータフレーム30から衝突荷重伝達部材84を経由してフロントサイドフレーム24に入力した衝突荷重は、フロントサイドフレーム24に直接的に入力した衝突荷重と合流し、そして、その後方のフロントサイドフレーム24の部分による衝突エネルギ吸収機能を使って衝突エネルギを吸収することができる。
また、衝突荷重伝達部材84の上端をフロントサイドフレーム24の屈曲域Bの上端部に接続した場合には、フロントサイドフレーム24の前端部の座屈域Aによる衝撃吸収機能をフルに使って衝突荷重を吸収することができる。
勿論のことであるが、フルラップ前面衝突、オフセット前面衝突においても、衝突荷重がペリメータフレーム30に入力したときには、その衝突荷重の一部をフロントサイドフレーム24によって吸収することができる。
実施例の車体前部構造を側面視した図である。 実施例の車体前部構造を下方から見た底面図である。 フロントサイドフレーム及びペリメータフレームの前端部を車外の斜め前方から見た図である。 フロントサイドフレーム及びペリメータフレームの前端部をエンジンルーム側の斜め後方から見た図である。 フロントサイドフレームとペリメータフレームの後端部を側面視した図である。 図5のVI−VI線に沿ったフロントサイドフレームの断面図である。 図5のVII−VII線に沿ったフロアフレーム延長部の断面図である。 図5のVIII−VIII線に沿った断面図であり、ペリメータフレームの後端部の連結構造を示す図である。 ペリメータフレームの前端部から斜め上方且つ後方に延びて、上端がフロントサイドフレームの下面に連結される衝突荷重伝達部材の構造を説明するための要部拡大斜視図である。
符号の説明
14 エンジンルーム
24 フロントサイドフレーム
26 バンパーレインフォースメント
28 クラッシュカン
30 ペリメータフレーム(サブフレーム)
300 ペリメータフレームの側方部分
300a 側方部分の前端部
300b 側方部分の後水平部
300c 側方部分の傾斜部
302 ペリメータフレームの前端連結部分
304 ペリメータフレームの後端連結部分
306 後端延長部(ペリメータフレームの後水平部から後方に延びる)
34 エンジン
36 トランスアクスル
50 フロアフレーム
54 前輪サスペンション機構
56 第1ロアアーム
58 第2ロアアーム
76 延長フロアフレーム(フロアパネル50)
76a 延長フロアフレームの段部
84 衝突荷重伝達部材
86 第1閉断面部材(ペリメータフレーム側)
88 第2閉断面部材(フロントサイドフレーム側)
92 弾性シート
94 エンジンマウント部材
96 追加の円弧状メンバ

Claims (5)

  1. エンジンを含むパワープラントが配設されるエンジンルームを車体前後方向に延び且つ閉断面構造の左右のフロントサイドフレームと、
    該左右のフロントサイドフレームの下方に配設されたサブフレームとを有する車体前部構造において、
    前記サブフレームが、前記左右のフロントサイドフレームに沿って車体前後方向に延びる左右の側方部分と、該左右の側方部分の前端部を連結する車幅方向に延びる前端連結部と、前記左右の側方部分の後端部を連結する車幅方向に延びる後端連結部とを含む平面視略矩形の枠形状を有し、
    前記サブフレームの側方部分が、側面視したときに、相対的に高位に位置する前端部と、相対的に低位に位置して略水平方向に延び且つ前輪サスペンション機構の取付部を構成する後水平部と、前記前端部と後水平部との間に位置して斜め下方且つ後方に延びる傾斜部とを有し、
    該傾斜部の前端部から斜め後方且つ上方に延び、上端が前記フロントサイドフレームの下面に連結される衝撃荷重伝達部材を有することを特徴とする車体前部構造。
  2. 前記サブフレームの左右の後端から後方に延びる左右の後端延長部と、
    車室の床面を構成するフロアパネルの下面に配設された左右のフロアフレームとを更に有し、
    該フロアフレームには、前記後端延長部を受け入れる段部が形成されて、該段部に前記後端延長部が固定されている、請求項1に記載の車体前部構造。
  3. 前記左右のフロントサイドフレームの前端に、クラッシュカンを介して、車幅方向に延びるバンパーレインフォースメントが設けられ、
    前記サブフレームには、前記側方部分の前端に、車幅方向に延び且つ前方に向けて凸の円弧状メンバが設けられ、
    該円弧状メンバの前端の位置が、側面視したときに、前記クラッシュカンの長手方向中央部分に位置している、請求項1又は2に記載の車体前部構造。
  4. 前記衝突荷重伝達部材が、前記サブフレーム側の第1部材と、前記フロントサイドフレーム側の第2部材とを含み、
    前記第1、第2の部材は共に閉断面構造を有し、
    前記第1部材は、その軸線が、前記サブフレームの前端部から斜め上方且つ後方に延びており、
    前記第2部材は、その軸線が、前記フロントサイドフレームの下面から斜め下方且つ前方に延びており、
    前記第1部材の上端と前記第2部材の下端が互いに対向している、請求項1〜3のいずれか一項に記載の車体前部構造。
  5. 前記フロントサイドフレームが、前端から後端に向けて衝突エネルギ吸収構造の異なる領域に区分されて設計され、前端部が座屈域であり、該前端部の後方が屈曲域であり、
    前記衝突荷重伝達部材の上端が、前記フロントサイドフレームにおける前記座屈域の後端又は前記座屈域と前記屈曲域の境界部分又は前記屈曲域の前端に連結されている、請求項1に記載の車体前部構造。
JP2008252941A 2008-09-30 2008-09-30 車体前部構造 Expired - Fee Related JP5211993B2 (ja)

Priority Applications (1)

Application Number Priority Date Filing Date Title
JP2008252941A JP5211993B2 (ja) 2008-09-30 2008-09-30 車体前部構造

Applications Claiming Priority (1)

Application Number Priority Date Filing Date Title
JP2008252941A JP5211993B2 (ja) 2008-09-30 2008-09-30 車体前部構造

Publications (2)

Publication Number Publication Date
JP2010083258A true JP2010083258A (ja) 2010-04-15
JP5211993B2 JP5211993B2 (ja) 2013-06-12

Family

ID=42247656

Family Applications (1)

Application Number Title Priority Date Filing Date
JP2008252941A Expired - Fee Related JP5211993B2 (ja) 2008-09-30 2008-09-30 車体前部構造

Country Status (1)

Country Link
JP (1) JP5211993B2 (ja)

Cited By (6)

* Cited by examiner, † Cited by third party
Publication number Priority date Publication date Assignee Title
JP2012153262A (ja) * 2011-01-26 2012-08-16 Toyota Motor Corp 車両の荷重伝達構造
JP2012228906A (ja) * 2011-04-25 2012-11-22 Mazda Motor Corp 車両の車体前部構造
JP2014133520A (ja) * 2013-01-11 2014-07-24 Honda Motor Co Ltd 車体前部構造
US9567009B2 (en) 2013-09-20 2017-02-14 Mazda Motor Corporation Vehicle-body front structure
WO2020065898A1 (ja) * 2018-09-27 2020-04-02 本田技研工業株式会社 フロントサブフレーム構造
EP3770042A1 (en) * 2019-07-24 2021-01-27 Mazda Motor Corporation Subframe structure, front vehicle-body structure and vehicle

Citations (4)

* Cited by examiner, † Cited by third party
Publication number Priority date Publication date Assignee Title
JP2001310754A (ja) * 2000-04-28 2001-11-06 Fuji Heavy Ind Ltd 自動車の車体前部構造
JP2002120752A (ja) * 2000-10-19 2002-04-23 Mazda Motor Corp 自動車の前部車体構造
JP2006175988A (ja) * 2004-12-22 2006-07-06 Mazda Motor Corp 車体前部構造
JP2006175987A (ja) * 2004-12-22 2006-07-06 Mazda Motor Corp 車体前部構造

Patent Citations (4)

* Cited by examiner, † Cited by third party
Publication number Priority date Publication date Assignee Title
JP2001310754A (ja) * 2000-04-28 2001-11-06 Fuji Heavy Ind Ltd 自動車の車体前部構造
JP2002120752A (ja) * 2000-10-19 2002-04-23 Mazda Motor Corp 自動車の前部車体構造
JP2006175988A (ja) * 2004-12-22 2006-07-06 Mazda Motor Corp 車体前部構造
JP2006175987A (ja) * 2004-12-22 2006-07-06 Mazda Motor Corp 車体前部構造

Cited By (10)

* Cited by examiner, † Cited by third party
Publication number Priority date Publication date Assignee Title
JP2012153262A (ja) * 2011-01-26 2012-08-16 Toyota Motor Corp 車両の荷重伝達構造
JP2012228906A (ja) * 2011-04-25 2012-11-22 Mazda Motor Corp 車両の車体前部構造
JP2014133520A (ja) * 2013-01-11 2014-07-24 Honda Motor Co Ltd 車体前部構造
US9567009B2 (en) 2013-09-20 2017-02-14 Mazda Motor Corporation Vehicle-body front structure
WO2020065898A1 (ja) * 2018-09-27 2020-04-02 本田技研工業株式会社 フロントサブフレーム構造
JPWO2020065898A1 (ja) * 2018-09-27 2021-08-30 本田技研工業株式会社 フロントサブフレーム構造
JP7144527B2 (ja) 2018-09-27 2022-09-29 本田技研工業株式会社 フロントサブフレーム構造
EP3770042A1 (en) * 2019-07-24 2021-01-27 Mazda Motor Corporation Subframe structure, front vehicle-body structure and vehicle
CN112298365A (zh) * 2019-07-24 2021-02-02 马自达汽车株式会社 副车架结构
CN112298365B (zh) * 2019-07-24 2022-11-11 马自达汽车株式会社 副车架结构

Also Published As

Publication number Publication date
JP5211993B2 (ja) 2013-06-12

Similar Documents

Publication Publication Date Title
US7104596B2 (en) Vehicle body structure
KR20150134977A (ko) 스몰 오버랩 충돌대응 차체보강구조
CN103359180A (zh) 车身前部结构
CN115667058A (zh) 整体梁在轿车车身上的固定装置以及轿车
JP2008222037A (ja) 車両の衝撃吸収構造
JP5211993B2 (ja) 車体前部構造
US10343721B2 (en) Front vehicle body reinforcing structure
JP5158361B2 (ja) 車体前部構造
JP2006175987A (ja) 車体前部構造
JP5187105B2 (ja) 車体前部構造
JP5263511B2 (ja) 車体前部構造
JP3045337B2 (ja) 自動車の前部構造
JP3771721B2 (ja) 車両の前部車体構造
JP4797704B2 (ja) 車体前部構造
JP5954204B2 (ja) 車両の前部車体構造
JP6103085B2 (ja) 車両の車体前部構造
JP4539320B2 (ja) 車両用牽引フックの取付構造
KR20190040793A (ko) 전방 차체 보강구조
JP4396264B2 (ja) 車体前部構造
WO2024241524A1 (ja) サスペンションメンバ
CN210082960U (zh) 一种用于车辆的动力电池包防撞装置及车辆
JP4432672B2 (ja) 自動車の前部車体構造
JP2007230489A (ja) 車体前部構造
JP6254858B2 (ja) 車両の車体前部構造
JP2002321648A (ja) 車両の車体構造

Legal Events

Date Code Title Description
A621 Written request for application examination

Free format text: JAPANESE INTERMEDIATE CODE: A621

Effective date: 20110802

A521 Written amendment

Free format text: JAPANESE INTERMEDIATE CODE: A523

Effective date: 20120329

A131 Notification of reasons for refusal

Free format text: JAPANESE INTERMEDIATE CODE: A131

Effective date: 20121121

A977 Report on retrieval

Free format text: JAPANESE INTERMEDIATE CODE: A971007

Effective date: 20121130

A521 Written amendment

Free format text: JAPANESE INTERMEDIATE CODE: A523

Effective date: 20130109

TRDD Decision of grant or rejection written
A01 Written decision to grant a patent or to grant a registration (utility model)

Free format text: JAPANESE INTERMEDIATE CODE: A01

Effective date: 20130129

A61 First payment of annual fees (during grant procedure)

Free format text: JAPANESE INTERMEDIATE CODE: A61

Effective date: 20130211

R150 Certificate of patent or registration of utility model

Ref document number: 5211993

Country of ref document: JP

Free format text: JAPANESE INTERMEDIATE CODE: R150

Free format text: JAPANESE INTERMEDIATE CODE: R150

FPAY Renewal fee payment (event date is renewal date of database)

Free format text: PAYMENT UNTIL: 20160308

Year of fee payment: 3

LAPS Cancellation because of no payment of annual fees