JP2010082256A - 体液処理用品およびこれを含む着用物品 - Google Patents

体液処理用品およびこれを含む着用物品 Download PDF

Info

Publication number
JP2010082256A
JP2010082256A JP2008255494A JP2008255494A JP2010082256A JP 2010082256 A JP2010082256 A JP 2010082256A JP 2008255494 A JP2008255494 A JP 2008255494A JP 2008255494 A JP2008255494 A JP 2008255494A JP 2010082256 A JP2010082256 A JP 2010082256A
Authority
JP
Japan
Prior art keywords
passage
opening
fluid treatment
body fluid
treatment article
Prior art date
Legal status (The legal status is an assumption and is not a legal conclusion. Google has not performed a legal analysis and makes no representation as to the accuracy of the status listed.)
Granted
Application number
JP2008255494A
Other languages
English (en)
Other versions
JP5394686B2 (ja
Inventor
Satoshi Sakaguchi
智 坂口
Current Assignee (The listed assignees may be inaccurate. Google has not performed a legal analysis and makes no representation or warranty as to the accuracy of the list.)
Unicharm Corp
Original Assignee
Unicharm Corp
Priority date (The priority date is an assumption and is not a legal conclusion. Google has not performed a legal analysis and makes no representation as to the accuracy of the date listed.)
Filing date
Publication date
Application filed by Unicharm Corp filed Critical Unicharm Corp
Priority to JP2008255494A priority Critical patent/JP5394686B2/ja
Priority to AU2009300770A priority patent/AU2009300770B2/en
Priority to EP09817741A priority patent/EP2335665A4/en
Priority to CN200980145825XA priority patent/CN102215801A/zh
Priority to PCT/JP2009/066812 priority patent/WO2010038708A1/ja
Priority to US13/121,601 priority patent/US20110184371A1/en
Publication of JP2010082256A publication Critical patent/JP2010082256A/ja
Application granted granted Critical
Publication of JP5394686B2 publication Critical patent/JP5394686B2/ja
Expired - Fee Related legal-status Critical Current
Anticipated expiration legal-status Critical

Links

Images

Landscapes

  • Absorbent Articles And Supports Therefor (AREA)

Abstract

【課題】 特に体圧が作用したり、体勢が変化したりした場合でも、体液が漏れ出ることがない体液処理用品を提供する。
【解決手段】 シャーシ2のアウタ9外側には、体液処理用品15が取り付けられている。ライナ8およびアウタ9のクロッチ域7には、これらライナ8およびアウタ9を貫通する孔16が形成される。体液処理用品15の内外面シート18,19の外周に亘って互いに接合し、内外面シート18,19で袋体を形成する。内面シート18には開口25を形成し、開口25の縦方向Yの前後に、体液等を収容可能な前後収容領域がそれぞれ形成される。体液処理用品15の開口25は、ライナ8およびアウタ9に形成された孔16と一致するように取り付けられ、開口25の開口縁が第1接着手段49を介して、アウタ9に接合されている。内外面シート18,19の間には、これらを接合する接合部28が形成されている。接合部28は、複数の線条によって形成され、これら接合部によって第1通路が形成される。
【選択図】図2

Description

この発明は、体液処理用品およびこれを含む着用物品に関し、さらに詳しくは体液処理用品を有する使い捨てのおむつ、排泄トレーニングパンツ、失禁ブリーフ等に関する。
従来、袋状の吸収体物品に開口を形成し、開口に向かって尿が排泄されるものとして例えば特開2005−323797号公報(特許文献1)が公知である。開口と袋状の吸収体物品の底部との間には尿を分散させるガイドシートを形成し、ガイドシート側縁を吸収体で覆うことによって尿を吸収するようにしている。ガイドシートと開口との間にはスキンコンタクトシートを形成し、排泄された尿が着用者に接触するのを予防している。
特開2005−323797号公報
吸収体物品内に吸収された尿は、例えば体圧が作用すると吸収体から尿が滲出する。吸収体から尿が滲出した状体で、着用者が寝返りを打ったり四つん這いになったりすると、尿が袋状の吸収体物品の内部を移動して、開口から漏れでてしまう可能性がある。
この発明では、特に体圧が作用したり、体勢が変化したりした場合でも、体液が漏れ出ることがない体液処理用品およびこれを含む着用物品を提供することを課題とする。
この発明は第1の発明と第2の発明を含む。
第1の発明は、身体前方から後方に延びる縦方向および前記縦方向に直交する横方向と、身体側に位置する不透液性の内面シートおよびその反対側に位置する不透液性の外面シートを含み、前記内外面シートによって袋体が形成され、前記内面シートには、前記袋体内部に体液の流入を可能とする開口が形成され、前記内外面シートが互いに離間することによって前記内外面シートの間に体液の収容領域が形成される体液処理用品の改良に関わる。
この第1の発明は、前記体液処理用品において、前記開口の開口縁と前記袋体の周縁との間には、前記内外面シートを実質的に接合する接合部が形成され、前記接合部によって、前記開口と前記収容領域とを通液可能にする第1通路が形成され、前記収容領域は、前記第1通路と前記袋体の周縁との間に形成されることを特徴とする。
接合部において、内外面シートを実質的に接合するとは、内外面シートを直接接合する場合のみならず、他のシート等の部材を介して、これら内外面シートを接合する場合を含むことを意味する。
好ましい実施態様のひとつとして、前記袋体の周縁は、前記縦方向に延びる両側縁と、前記横方向に延びる前後端縁とを含み、前記接合部と、少なくとも前記前後端縁との間には、前記内外面シートが実質的に互いに接合されることのない第1非接合領域が形成され、前記第1非接合領域によって前記収容領域が形成される。
好ましい他の実施態様のひとつとして、前記接合部は、複数形成され、前記第1通路は、少なくとも前記横方向に隣り合う二つの前記接合部の間において形成される。
好ましい他の実施態様のひとつとして、前記第1通路の前記横方向外側には、前記接合部と前記両側縁の少なくともいずれか一方との間で第2の通路が形成され、前記第2の通路は、その前後端のいずれか一方を前記収容領域に臨ませている。
好ましい他の実施態様のひとつとして、前記袋体は、前記縦方向の寸法を二等分する横中心線を含み、前記第1通路および第2通路は、前記横中心線に平行な線で切断したときに、それら切断面が、少なくとも前記内外面シートと前記接合部とによって環状に形成され、前記第1通路の環状を形成している周の長さよりも、少なくともいずれか一方の前記第2通路を形成している周の長さのほうが長い寸法関係を有する。
好ましい他の実施態様のひとつとして、前記第1通路は、前記横方向に複数形成され、前記第1および第2通路は、前記横中心線に平行な線で切断したときのそれら切断面が真円を形成した場合には、前記第1通路の切断面の合計面積よりも、前記第2通路の切断面の合計面積の方が大きくなる。
好ましい他の実施態様のひとつとして、前記接合部は、少なくとも線条の接合線によって形成される。
好ましい他の実施態様のひとつとして、前記第1通路は、前記接合線間の寸法が最も小さい部分によって形成される。
好ましい他の実施態様のひとつとして、前記内外面シートの間には、前記体液を吸収し保持することが可能な吸液構造体が形成される。
好ましい他の実施態様のひとつとして、前記吸液構造体は、前記収容領域に形成される。
好ましい他の実施態様のひとつとして、前記開口と前記接合部との間には、前記内外面シートが実質的に互いに接合されることのない第2非接合領域が形成される。
第2の発明は、縦方向および横方向と、身体側およびその反対側と、前記縦方向に連なる前ウエスト域、後ウエスト域および前記前後ウエスト域間に位置するクロッチ域とを有するシャーシを含む着用物品の改良に関わる。
この第2の発明は、前記着用物品において、少なくとも前記クロッチ域に位置する第1の発明に記載の体液処理用品を含み、前記体液処理用品の開口が、前記クロッチ域に位置することを特徴とする。
好ましい実施態様のひとつとして、前記体液処理用品は、前記シャーシの前記身体側とは反対側に形成され、前記シャーシは、少なくとも前記クロッチ域において前記体液処理用品の前記開口に対して体液の流入が可能に形成されている。
好ましい他の実施態様のひとつとして、前記シャーシは、前記クロッチ域に孔が形成され、前記孔を介して前記体液処理用品の前記開口に対して体液の流入が可能とされ、前記孔と前記開口とが重なる。
第1の発明の体液処理用品袋体において、内外面シートを互いに接合する接合部を含み、接合部の間には、内面シートに形成された開口と収容領域とを通液可能にする第1通路が形成されることとしたので、袋体の開口から流入した体液は、第1通路を介して収容領域に収容される。第1通路を形成することによって、開口から流入した体液を収容領域に拡散させることができる。体液が収容領域で拡散するので、この体液が開口へと逆流するのを抑制することができ、開口からの体液等の漏れを抑制することができる。
第2の発明の着用物品において、少なくともクロッチ域に体液処理用品を位置させ、袋体の開口が、クロッチ域に位置することとしたので、例えばおむつなどの着用物品を用いた場合には、尿を体液処理用品の袋体で保持することができる。したがって、着用物品からの尿等の漏れを抑制することができる。
着用物品として使い捨ておむつを用い、この発明の一例を説明する。
図1はおむつ1の着用状態を示したものであり、図2は、図1の両側縁の接合を解いたときの、おむつ1の平面図であり、それぞれ説明のためその一部を破断している。図2では、おむつ1が平らになるように各弾性体の伸縮力が作用していない状態を示している。図3は図2のIII−III線断面図、図4は図2のIV−IV線断面図である。おむつ1はシャーシ2と、ウエスト弾性体3と、レッグ弾性体4とを含む。シャーシ2は、縦方向Yに連なる前ウエスト域5、後ウエスト域6、これら前後ウエスト域5,6間に位置するクロッチ域7を含むとともに、横方向Xの寸法を二等分する縦中心線P−Pと、縦方向Yの寸法を二等分する横中心線Q−Qとを有している。
シャーシ2は、身体側内面を形成するライナ8と、その反対側外面を形成するアウタ9とを含み、これらライナ8とアウタ9との間にウエスト弾性体3およびレッグ弾性体4を介在させている。ウエスト弾性体3およびレッグ弾性体4は、少なくともライナ8およびアウタ9のいずれか一方に接合している。シャーシ2は、縦方向Yに延びて前ウエスト域5に位置する前ウエスト側縁10と、後ウエスト域6に位置する後ウエスト側縁11と、クロッチ域7に位置するレッグ側縁12とを含む。
シャーシ2は、縦方向Yに直交する横方向Xに延びるシャーシ前後端縁13,14を含む。レッグ側縁12は、クロッチ域7において縦中心線P−Pに向かって湾曲し、レッグ弾性体4は、レッグ側縁12に沿って、伸長状態で収縮可能に取り付けられる。ウエスト弾性体3は、シャーシ前後端縁13,14に沿って、横方向Xに伸長状態で収縮可能に取り付けられる。前ウエスト側縁10と、後ウエスト側縁11とは、互いに接合され、これら前後ウエスト域5,6を連結して、パンツ型のおむつ1が形成される。
アウタ9の外側には、体液処理用品15が取り付けられている。体液処理用品15は、少なくともクロッチ域7に位置し、このクロッチ域7から前後ウエスト域5,6に向かって縦方向Yに延びている。
ライナ8およびアウタ9のクロッチ域7には、これらライナ8およびアウタ9を貫通する孔16が形成されている。この孔16を介して体液処理用品15が露出される。孔16は、横中心線Q−Qよりも前ウエスト域5側であって、着用者の外性器に対応する位置に形成する。したがって、孔16を介して外性器が体液処理用品15に臨む。
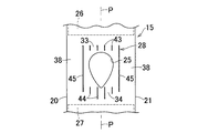
図5は体液処理用品15を示したものであり、説明のためその一部を破断している。図示したように、体液処理用品15は、ほぼ同大であって矩形の内面シート18と外面シート19とを含み、これら内外面シート18,19の縦方向Yに延びる両側縁20,21と横方向Xに延びる前後端縁22,23とを互いに接続している。すなわち、内外面シート18,19の外周に亘って互いに接合することによって、これら内外面シート18,19で袋体24を形成している。内外面シート18,19には、不透液性のフィルムを用いることによって、袋体24全体を不透液性としている。内面シート18には、開口25を形成している。袋体24の内部には、開口25の縦方向Yの前後に、体液等を収容可能な前後収容領域26,27がそれぞれ形成され、両側縁20,21および前後端縁22,23を袋体24の周縁としている。
上記のような体液処理用品15の内面シート18は身体側に位置するとともにシャーシ2のアウタ9に接合されている。体液処理用品15の開口25は、ライナ8およびアウタ9に形成された孔16と一致するように取り付けられ、開口25の開口縁が第1接着手段49を介して、アウタ9に接合されている(図1および図2参照)。第1接着手段49は、開口25を囲むように開口縁に沿って形成され、開口25と孔16とが離間しないようにしている。したがって、孔16に臨む外性器は、体液処理用品15の開口25に臨み、排泄された尿は開口25から袋体24の内部に収容される。孔16と開口25は、外性器が収まる程度の大きさに形成されている。
内外面シート18,19の間には、これらを接合する接合部28が形成されている。接合部28は、第1接着手段49には重ならないようにその外周側に形成されるとともに、線条を有し、開口25の開口縁と袋体24の周縁との間に複数形成されている。接合部28は、縦中心線P−Pに対して傾斜する第1接合線29および第2接合線30と、縦中心線P−Pに略平行に延びる第3接合線31とを含む。第1接合線29は図面右下がりに傾斜し、第2接合線30は図面右上がりに傾斜し、これら第1接合線29と第2接合線30とは、横方向Xに交互に配置されている。
第1接合線29,第2接合線30および第3接合線31は、それぞれ両側縁20,21および前後端縁22,23には接触することなく、間隔を形成している。すなわち、第1〜第3接合線29〜31と前後端縁22,23との間には、これら接合線が形成されない第1非接合領域が形成され、これら第1非接合領域によって前後収容領域26,27が形成される。前収容領域26側では、第1接合線29と第2接合線30、第1接合線29と第3接合線31、および第2接合線30と第3接合線31によって形成され開口25から前収容領域26に向かって離間寸法が小さくなる漏斗状の前方第1通路33が各一箇所ずつ形成される。後収容領域27側では、第1接合線29と第2接合線30とによって開口25から後収容領域27に向かって離間寸法が小さくなる漏斗状の後方第1通路34が三箇所形成される。
開口25と両側縁20,21の間には、第3接合線31が間欠的に縦方向Yに並び、これら第3接合線31の間であって、側縁20側には第1接合線29が形成され、側縁21側には第2接合線30が形成される。これら第1接合線29と第3接合線31との間、第2接合線30と第3接合線31との間には、側方第1通路35が形成される。
開口25から、第1〜3接合線29〜31までの間には、接合部28が形成されない第2非接合領域36を形成している。すなわち開口25の開口縁では、内外面シート18,19が重なり合っているだけであって、これらが接合されていない。第2非接合領域36は、第1接着手段49に重なるように形成されている。前後方第1通路33,34の横方向Xの外側では、前後収容領域26,27を連通する第2通路38が形成される。第2通路38の横方向Xの第2寸法は、前後方第1通路33,34の横方向Xの第1寸法よりも大きくしている。第2通路38は、横方向Xの最も外側に位置する前後方第1通路33,34と両側縁20,21とによって形成されている。この実施形態では、両側縁20,21から前方第1通路33までの寸法と、両側縁20,21から後方第1通路34までの寸法とが異なるから、それぞれ前後において第2通路38の第2寸法が異なることとなるが、いずれにしても、前後方第1通路33,34の第1寸法よりも大きくなるようにしている。
前後収容領域26,27には、前後吸液構造体40,41をそれぞれ形成している。前後吸液構造体40,41は、高吸収性樹脂やフラッフパルプ等によって形成される吸液性芯材をティッシュペーパ等の液拡散シートで覆うことによって形成され、それぞれ第2接着手段50を介して外面シート19に接合されている。前吸液構造体40よりも後吸液構造体41のほうが、その面積を大きくしている。おむつ1の着用状態においては、前収容領域26が着用者の腹側に位置し、後収容領域27が着用者の股下および背側に位置するから、排泄された尿は着用者の起立状態において後収容領域27に向かって移動する。したがって、後吸液構造体41を大きくして、その吸収能力を向上させている。
上記のような構成において、開口25に向かって尿が排泄されると、尿の水圧によって内外面シート18,19が互いに離間し、第2非接合領域36に尿が一時的に保持される。着用者の立位状態では、尿は第2非接合領域36から股下側に向かって流れようとするので、一時的に保持された尿は、主に後方第1通路34に向かって流れる。後方第1通路34は第1および第2接合線29,30によって漏斗状に形成されているので、第2非接合領域36の尿が、後方第1通路34に集められて、通過する。後方第1通路34を尿が通過する場合には、内外面シート18,19が互いに離間し、筒状の通路を形成する。後方第1通路34を通過した尿は、後収容領域27に導かれる。後収容領域27には後吸液構造体41が形成されているので、尿はこの後吸液構造体41に吸収および保持される。
図6(a)は図5のVI−VI線断面図であってその一部を省略したものであり、図6(b)は内外面シート18,19が離間したときの模式図である。図示したように、後方第1通路34の横方向Xの外側には、後方第1通路34の横方向Xの第1寸法よりも大きい第2寸法を有する第2通路38が形成されている。
さらに、後方第1通路34によって環状の周C1が形成され、第2通路38によって環状の周C2が形成されている。
後方第1通路34の周C1の長さは、第1および第2接合線29,30の厚さ寸法と、これら第1接合線29から第2接合線30までの内外面シート18,19の横方向Xの長さ寸法との和であり、第2通路38の周C2の長さは、第1または第2接合線29,30の厚さ寸法と、これら第1または第2接合線29,30から側縁20,21までの内外面シート18,19の横方向Xの長さ寸法との和である。後方第1通路34の第1寸法である内外面シート18,19の横方向Xの長さ寸法よりも、第2通路38の第2寸法である内外面シート18,19の長さ寸法を大きくすることによって、後方第1通路34を形成する周C1の長さよりも、第2通路38を形成する周C2の長さを長くすることができる。
図6(b)は、内外面シート18,19が離間して、後方第1通路34と第2通路38とが、真円を画いた場合を示している。仮に、後方第1通路34および第2通路38が真円を画くようになった場合には、3箇所の後方第1通路34の周C1の合計面積よりも、2箇所の第2通路38の周C2の合計面積の方が大きくなるようにしている。
上記のようなおむつ1において、前後方第1通路33,34は、前後収容領域26,27に対して通液可能に形成されている。すなわち、開口25から流入した尿は前後方第1通路33,34を介して前後収容領域26,27に通液されるが、尿は前後方第1通路33,34を通過した後、面積の広い前後収容領域26,27に拡散される。尿が拡散されることによって、前後方第1通路33,34に流入し難くなり、この尿が開口25へと逆流するのを抑制し、結果としておむつ1からの尿漏れを抑制することができる。
また、第2通路38の前後端を前後収容領域26,27に臨ませ、後方第1通路34と第2通路38との寸法関係を上記のようにすることによって、吸液構造体に吸収されなかった尿が後収容領域27から前収容領域26へと移動するような場合でも、尿は第2通路38に優先的に導かれる。すなわち、立位の状態から、横になったり、四つん這いになったりした場合には、後収容領域27から前収容領域26へと尿が移動する可能性があるが、尿は第2通路38を介して前後収容領域26,27を移動するだけであり、第1通路には流入し難い。したがって、尿が第1通路を介して開口から漏れるのを抑制することができる。
同様に、前収容領域26から後収容領域27へと尿が移動するような場合であっても、前方第1通路33によって、尿が開口25から漏れるのを抑制することができる。
さらに、前収容領域26には、前吸液構造体36を形成しているので、尿が前後に移動した場合には、後吸液構造体37で吸収しきれなかった尿が前吸液構造体36で吸収され、前収容領域26によって保持されるので、より一層尿が開口25から漏れるのを抑制することができる。
後方第1通路34は、開口25から後収容領域27へと尿が通過した後は、再び内外面シート18,19が重なり合い、筒状になった通路を閉鎖するようにして、その通路としての機能を失う。したがって、前後に移動する尿は、後方第1通路34を通過しにくくなり、この後方第1通路34を介して開口25へと尿が逆流するのを抑制することができる。
前後方第1通路33,34を、傾斜した第1および第2接合線29,30によって形成することとしたので、接合部28を漏斗のような形状にすることができ、開口25に排泄された尿を捕集して前後収容領域26,27に導くことができる。したがって、前後方第1通路33,34が狭い場合であっても、多くの尿を前後収容領域26,27に導くことができる。また、前後方第1通路33,34を狭くすることができれば、第2通路35との流路面積の差が大きくなるから、尿が前後収容領域26,27の間を移動するような場合であっても、その分第2通路38に優先的に尿が導かれるから、尿が前後方第1通路33,34を通ることを抑制することができる。したがって、尿が前後方第1通路33,34を介して開口25から漏れでるのをより一層抑制することができる。
前後方第1通路33,34を漏斗のような形状にすることによって、開口25から前後収容領域26,27に向かう場合には、尿を捕集することができる一方、前後収容領域26,27から開口25に向かう場合には、尿が分散されるようになる。したがって、前後方第1通路33,34に流入しようとする尿を少なくすることができ、より一層開口25からの漏れを抑制することができる。
この実施形態では、着用物品としてのおむつ1において、尿を体液処理用品15に収容することができるので、開口からの漏れがない限り収容袋外に漏れることがない。すなわち、着用物品とは別体の体液処理用品15で尿を吸収・保持するので、着用物品であるおむつ1からの尿漏れを飛躍的に抑制することができる。しかも、このような袋で尿を受けるので、大量の尿が排泄されても、この尿を袋内で保持することができ、こまめにおむつを交換する必要がなくなり、より長時間のおむつ1の着用が可能になる。
体液処理用品15の内外面シート18,19は、不透液性のフィルム等を用いることができ、シャーシ2のライナ8およびアウタ9は、透液性の繊維不織布等を用いることができる。また、各シートは、一枚の不織布またはフィルム等で形成してもよいし、2枚以上を重ね合わせて形成してもよい。
体液処理用品15には、開口25がひとつだけ形成されるようにしているが、例えば後収容領域27に開口25とは別に開口が形成されるようにしてもよい。この場合には、便用として別に形成された開口を利用することができる。接合部28は直線の接合線によって形成されることとしているが、曲線でもよい。また、必ずしも線条である場合に限らず、例えばドット状またはこれらの組み合わせであってもよい。いずれにしても、第2通路よりも寸法の小さい第1通路が形成されるものであればよい。また、接合部28の数が多くなれば、それらの間隔が狭くなり、第1通路の幅も狭くなるので、より一層第1通路への体液の流入を抑制することができる。接合部28は、接着剤、サーマルまたはウルトラソニックボンド等の慣用技術によって形成される。おむつ1としてプルオン・パンツ型のものを示しているが、着用時に前後ウエスト域を連結させるオープン型のものでもよい。
接合部28は、内外面シート18,19を直接接合することにより形成しているが、内外面シート18,19を他のシート等の部材を介して接合してもよい。他の部材を介して接合した場合には、内外面シート18,19の離間距離を大きくすることができるので、第1および第2通路の断面における周の長さを大きくすることができる。
内外面シート18,19の両側縁20,21および前後端縁22,23を接合して袋体24の周縁を形成しているが、この接合する部分は、接合部28の外側であれば、両側縁20,21および前後端縁22,23に限ったものではない。すなわち、接合部28と両側縁20,21および前後端縁22,23との間で、内外面シート18,19を接合し、周縁を形成することができる。
図7〜10はこの発明の他の実施形態の体液処理用品15を示したものである。これら実施形態においては、接合部28が第1の実施形態と異なり、他の部分は先の実施形態と同様であるので、その構成要素については詳細な説明を省略する。
図7は、前方第1通路33を形成する複数の接合線43、後方第1通路34を形成する複数の接合線44、および第2通路38を形成する複数の接合線45をすべて縦中心線P−Pにほぼ平行な線条で形成している。接合線43は横方向Xにほぼ等間隔に並び、その縦方向Yの寸法を等しくしている。接合線44は横方向Xにほぼ等間隔に並び、縦方向Yの寸法が接合線43よりも長く、かつ縦中心線P−Pに向かうほど長くなるようにしている。接合線45は、開口25の縦方向Yの寸法よりも大きい寸法を有し、接合線45と両側縁20,21によって第2通路38を形成している。第2通路38の横方向Xの第2寸法を、前後方第1通路33,34の第1寸法よりも大きくしている。
後方第1通路34を形成する接合線44は縦中心線P−Pに向かって縦方向Yの寸法が長くなるようにしているが、この接合線44の長さが長くなれば、その分、これらによって形成された通路における流れの抵抗が大きくなる。尿は、抵抗の小さい、すなわち、横方向Xの寸法が大きい第2通路38を優先的に流れ、抵抗の大きい後方第1通路34には流れ難くなる。この実施形態では、第2通路38の抵抗が最も小さく、次に前方第1通路33、後方第1通路34となっている。さらに、後方第1通路34では、その横方向Xの外側から縦中心線P−Pに向かって抵抗が大きくなっている。したがって、前後収容領域26,27から前後方に向かって尿が流れるときには、第2通路38に優先的に流れ、前後方第1通路33,34には流れ難くすることができる。
この実施形態では、側方第1通路が形成されず、開口25の横方向Xを接合線45が覆うようにしているので、横方向Xに向かって尿が移動した場合であっても、この尿が開口25から漏れるのを抑制することができる。接合線44において、その長さを縦中心線P−Pに向かって長くなるようにしているが、必ずしも長さを変化させる必要はなく、これら接合線44の長さがほぼ等しいものであってもよい。また、接合線43と44とが同じ長さを有するものであってもよい。ただし縦中心線P−Pに向かうに従って接合線44を長くすることによって、縦中心線P−Pに近づくにつれて尿が流れ難くなり、縦中心線P−P上に形成された開口25に尿が逆流し難くなる。
図8に示した実施形態では、前収容領域26側に位置する第1接合線29および第2接合線30によって前方第1通路33を形成し、後収容領域27側に位置する第1接合線29及び第2接合線30によって後方第1通路34を形成している。前後の第1および第2接合線29,30の間には、これらを縦方向Yにつなぐ、第3接合線31を形成している。この実施形態では、前後方第1通路33,34の横方向Xの外側に第2通路38が形成される。すなわち、前方第1通路33と両側縁20,21との間、後方第1通路34と両側縁20,21との間によってそれぞれ第2通路38を形成している。
第3接合線31を形成することによって、開口25の横方向Xにおいて側方第1通路が形成されることがないので、横方向Xに尿が流れるような場合であっても、開口25に尿が漏れるのを抑制することができる。ただし、この第3接合線31は必ずしも形成する必要はなく、適宜、選択可能である。
図9に示した実施形態では、体液処理用品15の前収容領域26側に位置する第1および第2接合線29,30によって前方第1通路33を形成し、後収容領域27側に位置する第1および第2接合線29,30と、これら第1および第2接合線29,30から後収容領域27に向かって縦方向Yに延びる第3接合線31によって後方第1通路34を形成している。
後方第1通路34を形成する第3接合線31と両側縁20,21との間で第2通路38を形成している。
縦方向Yに延びる第3接合線31で後方第1通路34を形成することによって、尿が流れる通路を長くすることができ、後方第1通路34の流れの抵抗を大きくすることができる。したがって、後方第1通路34へ尿が流れ難くすることができる。
図10に示した実施形態では、体液処理用品15の前収容領域26側に第1および第2接合線29,30によって前方第1通路33を形成し、後収容領域27側に第1および第2接合線29,30と、さらに後収容領域27に位置する第1および第2接合線46,47とによって後方第1通路34を形成している。第1および第2接合線29,30と、両側縁20,21との間で第2通路38を形成している。第1および第2接合線46,47は、第1接合線29,30に離間して、縦方向Yの後収容領域27側に形成される。このように第1および第2接合線を形成することによって、漏斗を二重にした構成となり、後収容領域27からの尿をより分散することができ、開口25に戻ろうとする尿を少なくすることができる。
第1および第2接合線46,47は、後収容領域27側に一対形成しているが、これら一対の第1および第2接合線が、縦方向Yに複数並んでいるようなものでもよいし、横方向Xに複数並んでいるようなものであってもよい。いずれの場合であっても、接合線が増えるほど、開口25に戻ろうとする尿を少なくすることができる。
おむつの斜視図。 おむつの展開平面図。 図2のIII−III線断面図。 図2のIV−IV線断面図。 体液処理用品の平面図。 (a)図5のVI−VI線断面図。(b)(a)と同様の模式図。 他の実施形態の平面図。 他の実施形態の平面図。 他の実施形態の平面図。 他の実施形態の平面図。
符号の説明
1 おむつ
2 シャーシ
5 前ウエスト域
6 後ウエスト域
7 クロッチ域
15 体液処理用品
16 孔
18 内面シート
19 外面シート
20 側縁
21 側縁
24 袋体
25 開口
26 前収容領域(第1非接合領域)
27 後収容領域(第1非接合領域)
28 接合部
33 前方第1通路
34 後方第1通路
36 第2非接合領域
38 第2通路
40 前吸液構造体
41 後吸液構造体

Claims (14)

  1. 身体前方から後方に延びる縦方向および前記縦方向に直交する横方向と、身体側に位置する不透液性の内面シートおよびその反対側に位置する不透液性の外面シートを含み、前記内外面シートによって袋体が形成され、前記内面シートには、前記袋体内部に体液の流入を可能とする開口が形成され、前記内外面シートが互いに離間することによって前記内外面シートの間に体液の収容領域が形成される体液処理用品において、
    前記開口の開口縁と前記袋体の周縁との間には、前記内外面シートを実質的に接合する接合部が形成され、前記接合部によって、前記開口と前記収容領域とを通液可能にする第1通路が形成され、
    前記収容領域は、前記第1通路と前記袋体の周縁との間に形成されることを特徴とする前記体液処理用品。
  2. 前記袋体の周縁は、前記縦方向に延びる両側縁と、前記横方向に延びる前後端縁とを含み、前記接合部と、少なくとも前記前後端縁との間には、前記内外面シートが実質的に互いに接合されることのない第1非接合領域が形成され、前記第1非接合領域によって前記収容領域が形成される請求項1記載の体液処理用品。
  3. 前記接合部は、複数形成され、前記第1通路は、少なくとも前記横方向に隣り合う二つの前記接合部の間において形成される請求項1または2記載の体液処理用品。
  4. 前記第1通路の前記横方向外側には、前記接合部と前記両側縁の少なくともいずれか一方との間で第2の通路が形成され、前記第2の通路は、その前後端のいずれか一方を前記収容領域に臨ませている請求項2または3に記載の体液処理用品。
  5. 前記袋体は、前記縦方向の寸法を二等分する横中心線を含み、
    前記第1通路および第2通路は、前記横中心線に平行な線で切断したときに、それら切断面が、少なくとも前記内外面シートと前記接合部とによって環状に形成され、前記第1通路の環状を形成している周の長さよりも、少なくともいずれか一方の前記第2通路を形成している周の長さのほうが長い寸法関係を有する請求項4記載の体液処理用品。
  6. 前記第1通路は、前記横方向に複数形成され、
    前記第1および第2通路は、前記横中心線に平行な線で切断したときのそれら切断面が真円を形成した場合には、前記第1通路の切断面の合計面積よりも、前記第2通路の切断面の合計面積の方が大きくなる請求項5記載の体液処理用品。
  7. 前記接合部は、少なくとも線条の接合線によって形成される請求項1〜6のいずれかに記載の体液処理用品。
  8. 前記第1通路は、前記接合線間の寸法が最も小さい部分によって形成される請求項7記載の体液処理用品。
  9. 前記内外面シートの間には、前記体液を吸収し保持することが可能な吸液構造体が形成される請求項1〜8のいずれかに記載の体液処理用品。
  10. 前記吸液構造体は、前記収容領域に形成される請求項1〜9のいずれかに記載の体液処理用品。
  11. 前記開口と前記接合部との間には、前記内外面シートが実質的に互いに接合されることのない第2非接合領域が形成される請求項1〜10のいずれかに記載の体液処理用品。
  12. 縦方向および横方向と、身体側およびその反対側と、前記縦方向に連なる前ウエスト域、後ウエスト域および前記前後ウエスト域間に位置するクロッチ域とを有するシャーシを含む着用物品において、
    少なくとも前記クロッチ域に位置する請求項1記載の体液処理用品を含み、
    前記体液処理用品の開口が、前記クロッチ域に位置することを特徴とする前記着用物品。
  13. 前記体液処理用品は、前記シャーシの前記身体側とは反対側に形成され、前記シャーシは、少なくとも前記クロッチ域において前記体液処理用品の前記開口に対して体液の流入が可能に形成されている請求項12記載の着用物品。
  14. 前記シャーシは、前記クロッチ域に孔が形成され、
    前記孔を介して前記体液処理用品の前記開口に対して体液の流入が可能とされ、前記孔と前記開口とが重なる請求項13記載の着用物品。
JP2008255494A 2008-09-30 2008-09-30 体液処理用品およびこれを含む着用物品 Expired - Fee Related JP5394686B2 (ja)

Priority Applications (6)

Application Number Priority Date Filing Date Title
JP2008255494A JP5394686B2 (ja) 2008-09-30 2008-09-30 体液処理用品およびこれを含む着用物品
AU2009300770A AU2009300770B2 (en) 2008-09-30 2009-09-28 Bodily fluid containment structure and wearing article having the same
EP09817741A EP2335665A4 (en) 2008-09-30 2009-09-28 LIQUID MANAGEMENT ARTICLE AND DRESSING ARTICLE INCLUDING THE SAME
CN200980145825XA CN102215801A (zh) 2008-09-30 2009-09-28 体液处理用品及包含该体液处理用品的穿用物品
PCT/JP2009/066812 WO2010038708A1 (ja) 2008-09-30 2009-09-28 体液処理用品およびこれを含む着用物品
US13/121,601 US20110184371A1 (en) 2008-09-30 2009-09-28 Bodily Fluid Containment Structure and Wearing Article Having the Same

Applications Claiming Priority (1)

Application Number Priority Date Filing Date Title
JP2008255494A JP5394686B2 (ja) 2008-09-30 2008-09-30 体液処理用品およびこれを含む着用物品

Publications (2)

Publication Number Publication Date
JP2010082256A true JP2010082256A (ja) 2010-04-15
JP5394686B2 JP5394686B2 (ja) 2014-01-22

Family

ID=42246795

Family Applications (1)

Application Number Title Priority Date Filing Date
JP2008255494A Expired - Fee Related JP5394686B2 (ja) 2008-09-30 2008-09-30 体液処理用品およびこれを含む着用物品

Country Status (1)

Country Link
JP (1) JP5394686B2 (ja)

Cited By (1)

* Cited by examiner, † Cited by third party
Publication number Priority date Publication date Assignee Title
JP2010082255A (ja) * 2008-09-30 2010-04-15 Uni Charm Corp 体液処理用品およびこれを含む着用物品

Citations (5)

* Cited by examiner, † Cited by third party
Publication number Priority date Publication date Assignee Title
JP2003305080A (ja) * 2002-04-17 2003-10-28 Uni Charm Corp 使い捨てパンツ
WO2005072672A1 (ja) * 2004-02-02 2005-08-11 Japan Absorbent Technology Institute 吸収体物品
JP2005323797A (ja) * 2004-05-14 2005-11-24 Nippon Kyushutai Gijutsu Kenkyusho:Kk 吸収体物品
JP2006055308A (ja) * 2004-08-19 2006-03-02 Japan Absorbent Technology Institute 吸収体物品
JP2010082255A (ja) * 2008-09-30 2010-04-15 Uni Charm Corp 体液処理用品およびこれを含む着用物品

Patent Citations (5)

* Cited by examiner, † Cited by third party
Publication number Priority date Publication date Assignee Title
JP2003305080A (ja) * 2002-04-17 2003-10-28 Uni Charm Corp 使い捨てパンツ
WO2005072672A1 (ja) * 2004-02-02 2005-08-11 Japan Absorbent Technology Institute 吸収体物品
JP2005323797A (ja) * 2004-05-14 2005-11-24 Nippon Kyushutai Gijutsu Kenkyusho:Kk 吸収体物品
JP2006055308A (ja) * 2004-08-19 2006-03-02 Japan Absorbent Technology Institute 吸収体物品
JP2010082255A (ja) * 2008-09-30 2010-04-15 Uni Charm Corp 体液処理用品およびこれを含む着用物品

Cited By (1)

* Cited by examiner, † Cited by third party
Publication number Priority date Publication date Assignee Title
JP2010082255A (ja) * 2008-09-30 2010-04-15 Uni Charm Corp 体液処理用品およびこれを含む着用物品

Also Published As

Publication number Publication date
JP5394686B2 (ja) 2014-01-22

Similar Documents

Publication Publication Date Title
WO2010038708A1 (ja) 体液処理用品およびこれを含む着用物品
KR100837490B1 (ko) 접힌 흡수용품
JP5185665B2 (ja) 吸収性物品
JP5414099B2 (ja) 吸収性物品
CN1942152B (zh) 一次性尿布
CN102596136B (zh) 吸收性物品
CN102933187B (zh) 穿着物品
JP5945446B2 (ja) 吸収性物品
CN104244886B (zh) 吸收性物品
CN101909559B (zh) 一次性尿布
EP2786731A1 (en) Disposable article of clothing
JP2003265511A (ja) パンツ型の使い捨ておむつ
WO2005002484A1 (ja) 使い捨てのパンツ型着用物品
KR20050053630A (ko) 팬츠형 일회용 기저귀
JP5185607B2 (ja) 吸収性物品
US20180289562A1 (en) Disposable wearing article
JPH1189880A (ja) 使い捨ておむつ
JP5665343B2 (ja) 使い捨て着用物品
JP2009148309A (ja) 吸収性物品
JP5207356B2 (ja) 吸収性物品
JP5394686B2 (ja) 体液処理用品およびこれを含む着用物品
JP5405790B2 (ja) 体液処理用品およびこれを含む着用物品
JP2008161207A (ja) 使い捨てのパンツ型着用物品
CN104114138B (zh) 吸收体物品
CN102036635A (zh) 一次性的短裤型尿布

Legal Events

Date Code Title Description
A621 Written request for application examination

Free format text: JAPANESE INTERMEDIATE CODE: A621

Effective date: 20110826

A131 Notification of reasons for refusal

Free format text: JAPANESE INTERMEDIATE CODE: A131

Effective date: 20121228

A521 Written amendment

Free format text: JAPANESE INTERMEDIATE CODE: A523

Effective date: 20130218

A131 Notification of reasons for refusal

Free format text: JAPANESE INTERMEDIATE CODE: A131

Effective date: 20130806

A521 Written amendment

Free format text: JAPANESE INTERMEDIATE CODE: A523

Effective date: 20130926

TRDD Decision of grant or rejection written
A01 Written decision to grant a patent or to grant a registration (utility model)

Free format text: JAPANESE INTERMEDIATE CODE: A01

Effective date: 20131015

A61 First payment of annual fees (during grant procedure)

Free format text: JAPANESE INTERMEDIATE CODE: A61

Effective date: 20131017

R150 Certificate of patent or registration of utility model

Free format text: JAPANESE INTERMEDIATE CODE: R150

R250 Receipt of annual fees

Free format text: JAPANESE INTERMEDIATE CODE: R250

LAPS Cancellation because of no payment of annual fees