JP2010079090A - 表示装置 - Google Patents
表示装置 Download PDFInfo
- Publication number
- JP2010079090A JP2010079090A JP2008249161A JP2008249161A JP2010079090A JP 2010079090 A JP2010079090 A JP 2010079090A JP 2008249161 A JP2008249161 A JP 2008249161A JP 2008249161 A JP2008249161 A JP 2008249161A JP 2010079090 A JP2010079090 A JP 2010079090A
- Authority
- JP
- Japan
- Prior art keywords
- sheet
- color tone
- color
- pressing
- change sheet
- Prior art date
- Legal status (The legal status is an assumption and is not a legal conclusion. Google has not performed a legal analysis and makes no representation as to the accuracy of the status listed.)
- Granted
Links
- 238000003825 pressing Methods 0.000 claims abstract description 85
- 239000000463 material Substances 0.000 claims abstract description 31
- 239000000758 substrate Substances 0.000 claims abstract description 31
- 239000002245 particle Substances 0.000 claims abstract description 30
- 235000013372 meat Nutrition 0.000 claims description 24
- 238000000034 method Methods 0.000 description 18
- 239000013078 crystal Substances 0.000 description 17
- 239000010409 thin film Substances 0.000 description 10
- 229920001400 block copolymer Polymers 0.000 description 7
- 238000003860 storage Methods 0.000 description 7
- 230000000737 periodic effect Effects 0.000 description 6
- 239000004038 photonic crystal Substances 0.000 description 6
- 238000004519 manufacturing process Methods 0.000 description 5
- 239000003086 colorant Substances 0.000 description 4
- 230000003028 elevating effect Effects 0.000 description 4
- 229910052751 metal Inorganic materials 0.000 description 4
- 239000002184 metal Substances 0.000 description 4
- 229920003229 poly(methyl methacrylate) Polymers 0.000 description 4
- -1 polyethylene Polymers 0.000 description 4
- 239000004926 polymethyl methacrylate Substances 0.000 description 4
- 229920002223 polystyrene Polymers 0.000 description 4
- 239000004743 Polypropylene Substances 0.000 description 3
- 239000004793 Polystyrene Substances 0.000 description 3
- 229910004298 SiO 2 Inorganic materials 0.000 description 3
- PPBRXRYQALVLMV-UHFFFAOYSA-N Styrene Chemical compound C=CC1=CC=CC=C1 PPBRXRYQALVLMV-UHFFFAOYSA-N 0.000 description 3
- 239000013013 elastic material Substances 0.000 description 3
- 239000000243 solution Substances 0.000 description 3
- NIXOWILDQLNWCW-UHFFFAOYSA-M Acrylate Chemical compound [O-]C(=O)C=C NIXOWILDQLNWCW-UHFFFAOYSA-M 0.000 description 2
- KAKZBPTYRLMSJV-UHFFFAOYSA-N Butadiene Chemical compound C=CC=C KAKZBPTYRLMSJV-UHFFFAOYSA-N 0.000 description 2
- LYCAIKOWRPUZTN-UHFFFAOYSA-N Ethylene glycol Chemical compound OCCO LYCAIKOWRPUZTN-UHFFFAOYSA-N 0.000 description 2
- VYPSYNLAJGMNEJ-UHFFFAOYSA-N Silicium dioxide Chemical compound O=[Si]=O VYPSYNLAJGMNEJ-UHFFFAOYSA-N 0.000 description 2
- XUIMIQQOPSSXEZ-UHFFFAOYSA-N Silicon Chemical compound [Si] XUIMIQQOPSSXEZ-UHFFFAOYSA-N 0.000 description 2
- GWEVSGVZZGPLCZ-UHFFFAOYSA-N Titan oxide Chemical compound O=[Ti]=O GWEVSGVZZGPLCZ-UHFFFAOYSA-N 0.000 description 2
- 238000006243 chemical reaction Methods 0.000 description 2
- 150000002148 esters Chemical class 0.000 description 2
- 239000010419 fine particle Substances 0.000 description 2
- 229910052451 lead zirconate titanate Inorganic materials 0.000 description 2
- PQXKHYXIUOZZFA-UHFFFAOYSA-M lithium fluoride Chemical compound [Li+].[F-] PQXKHYXIUOZZFA-UHFFFAOYSA-M 0.000 description 2
- 229920000620 organic polymer Polymers 0.000 description 2
- 229920000642 polymer Polymers 0.000 description 2
- 239000002861 polymer material Substances 0.000 description 2
- 238000006116 polymerization reaction Methods 0.000 description 2
- 229920001155 polypropylene Polymers 0.000 description 2
- 238000001556 precipitation Methods 0.000 description 2
- 229910052710 silicon Inorganic materials 0.000 description 2
- 239000010703 silicon Substances 0.000 description 2
- 229920003002 synthetic resin Polymers 0.000 description 2
- 239000000057 synthetic resin Substances 0.000 description 2
- PFNQVRZLDWYSCW-UHFFFAOYSA-N (fluoren-9-ylideneamino) n-naphthalen-1-ylcarbamate Chemical compound C12=CC=CC=C2C2=CC=CC=C2C1=NOC(=O)NC1=CC=CC2=CC=CC=C12 PFNQVRZLDWYSCW-UHFFFAOYSA-N 0.000 description 1
- NLHHRLWOUZZQLW-UHFFFAOYSA-N Acrylonitrile Chemical compound C=CC#N NLHHRLWOUZZQLW-UHFFFAOYSA-N 0.000 description 1
- 229910021532 Calcite Inorganic materials 0.000 description 1
- RYGMFSIKBFXOCR-UHFFFAOYSA-N Copper Chemical compound [Cu] RYGMFSIKBFXOCR-UHFFFAOYSA-N 0.000 description 1
- CERQOIWHTDAKMF-UHFFFAOYSA-M Methacrylate Chemical compound CC(=C)C([O-])=O CERQOIWHTDAKMF-UHFFFAOYSA-M 0.000 description 1
- 229910002651 NO3 Inorganic materials 0.000 description 1
- NHNBFGGVMKEFGY-UHFFFAOYSA-N Nitrate Chemical compound [O-][N+]([O-])=O NHNBFGGVMKEFGY-UHFFFAOYSA-N 0.000 description 1
- 239000004677 Nylon Substances 0.000 description 1
- 239000004698 Polyethylene Substances 0.000 description 1
- 239000002202 Polyethylene glycol Substances 0.000 description 1
- BQCADISMDOOEFD-UHFFFAOYSA-N Silver Chemical compound [Ag] BQCADISMDOOEFD-UHFFFAOYSA-N 0.000 description 1
- 239000004809 Teflon Substances 0.000 description 1
- 229920006362 Teflon® Polymers 0.000 description 1
- 229910010413 TiO 2 Inorganic materials 0.000 description 1
- RTAQQCXQSZGOHL-UHFFFAOYSA-N Titanium Chemical compound [Ti] RTAQQCXQSZGOHL-UHFFFAOYSA-N 0.000 description 1
- BZHJMEDXRYGGRV-UHFFFAOYSA-N Vinyl chloride Chemical compound ClC=C BZHJMEDXRYGGRV-UHFFFAOYSA-N 0.000 description 1
- QYKIQEUNHZKYBP-UHFFFAOYSA-N Vinyl ether Chemical compound C=COC=C QYKIQEUNHZKYBP-UHFFFAOYSA-N 0.000 description 1
- NIXOWILDQLNWCW-UHFFFAOYSA-N acrylic acid group Chemical group C(C=C)(=O)O NIXOWILDQLNWCW-UHFFFAOYSA-N 0.000 description 1
- 229920000800 acrylic rubber Polymers 0.000 description 1
- 239000000853 adhesive Substances 0.000 description 1
- 230000001070 adhesive effect Effects 0.000 description 1
- 150000004703 alkoxides Chemical class 0.000 description 1
- 239000000956 alloy Substances 0.000 description 1
- 229910045601 alloy Inorganic materials 0.000 description 1
- 229910052782 aluminium Inorganic materials 0.000 description 1
- XAGFODPZIPBFFR-UHFFFAOYSA-N aluminium Chemical compound [Al] XAGFODPZIPBFFR-UHFFFAOYSA-N 0.000 description 1
- 238000000149 argon plasma sintering Methods 0.000 description 1
- OYLGJCQECKOTOL-UHFFFAOYSA-L barium fluoride Chemical compound [F-].[F-].[Ba+2] OYLGJCQECKOTOL-UHFFFAOYSA-L 0.000 description 1
- 229910001632 barium fluoride Inorganic materials 0.000 description 1
- 239000005388 borosilicate glass Substances 0.000 description 1
- WUKWITHWXAAZEY-UHFFFAOYSA-L calcium difluoride Chemical compound [F-].[F-].[Ca+2] WUKWITHWXAAZEY-UHFFFAOYSA-L 0.000 description 1
- 229910001634 calcium fluoride Inorganic materials 0.000 description 1
- XFWJKVMFIVXPKK-UHFFFAOYSA-N calcium;oxido(oxo)alumane Chemical compound [Ca+2].[O-][Al]=O.[O-][Al]=O XFWJKVMFIVXPKK-UHFFFAOYSA-N 0.000 description 1
- 238000000975 co-precipitation Methods 0.000 description 1
- 238000004040 coloring Methods 0.000 description 1
- 150000001875 compounds Chemical class 0.000 description 1
- 229920001577 copolymer Polymers 0.000 description 1
- 229910052802 copper Inorganic materials 0.000 description 1
- 239000010949 copper Substances 0.000 description 1
- 239000011258 core-shell material Substances 0.000 description 1
- 238000000354 decomposition reaction Methods 0.000 description 1
- 238000010586 diagram Methods 0.000 description 1
- 229910003460 diamond Inorganic materials 0.000 description 1
- 239000010432 diamond Substances 0.000 description 1
- 238000009826 distribution Methods 0.000 description 1
- 238000001035 drying Methods 0.000 description 1
- 238000001962 electrophoresis Methods 0.000 description 1
- 238000007720 emulsion polymerization reaction Methods 0.000 description 1
- 238000005530 etching Methods 0.000 description 1
- 229920005676 ethylene-propylene block copolymer Polymers 0.000 description 1
- 238000001704 evaporation Methods 0.000 description 1
- 230000001747 exhibiting effect Effects 0.000 description 1
- 230000008014 freezing Effects 0.000 description 1
- 238000007710 freezing Methods 0.000 description 1
- 239000000446 fuel Substances 0.000 description 1
- 229910052732 germanium Inorganic materials 0.000 description 1
- GNPVGFCGXDBREM-UHFFFAOYSA-N germanium atom Chemical compound [Ge] GNPVGFCGXDBREM-UHFFFAOYSA-N 0.000 description 1
- PCHJSUWPFVWCPO-UHFFFAOYSA-N gold Chemical compound [Au] PCHJSUWPFVWCPO-UHFFFAOYSA-N 0.000 description 1
- 229910052737 gold Inorganic materials 0.000 description 1
- 239000010931 gold Substances 0.000 description 1
- 230000005484 gravity Effects 0.000 description 1
- 238000010438 heat treatment Methods 0.000 description 1
- 238000001027 hydrothermal synthesis Methods 0.000 description 1
- WGCNASOHLSPBMP-UHFFFAOYSA-N hydroxyacetaldehyde Natural products OCC=O WGCNASOHLSPBMP-UHFFFAOYSA-N 0.000 description 1
- 229920000592 inorganic polymer Polymers 0.000 description 1
- CBEQRNSPHCCXSH-UHFFFAOYSA-N iodine monobromide Chemical compound IBr CBEQRNSPHCCXSH-UHFFFAOYSA-N 0.000 description 1
- 230000001678 irradiating effect Effects 0.000 description 1
- 229910052746 lanthanum Inorganic materials 0.000 description 1
- FZLIPJUXYLNCLC-UHFFFAOYSA-N lanthanum atom Chemical compound [La] FZLIPJUXYLNCLC-UHFFFAOYSA-N 0.000 description 1
- 238000004093 laser heating Methods 0.000 description 1
- HFGPZNIAWCZYJU-UHFFFAOYSA-N lead zirconate titanate Chemical compound [O-2].[O-2].[O-2].[O-2].[O-2].[Ti+4].[Zr+4].[Pb+2] HFGPZNIAWCZYJU-UHFFFAOYSA-N 0.000 description 1
- GQYHUHYESMUTHG-UHFFFAOYSA-N lithium niobate Chemical compound [Li+].[O-][Nb](=O)=O GQYHUHYESMUTHG-UHFFFAOYSA-N 0.000 description 1
- ORUIBWPALBXDOA-UHFFFAOYSA-L magnesium fluoride Chemical compound [F-].[F-].[Mg+2] ORUIBWPALBXDOA-UHFFFAOYSA-L 0.000 description 1
- 229910001635 magnesium fluoride Inorganic materials 0.000 description 1
- 150000002739 metals Chemical class 0.000 description 1
- 239000011259 mixed solution Substances 0.000 description 1
- 238000002156 mixing Methods 0.000 description 1
- 239000000203 mixture Substances 0.000 description 1
- 238000012986 modification Methods 0.000 description 1
- 230000004048 modification Effects 0.000 description 1
- 229920001778 nylon Polymers 0.000 description 1
- TWNQGVIAIRXVLR-UHFFFAOYSA-N oxo(oxoalumanyloxy)alumane Chemical compound O=[Al]O[Al]=O TWNQGVIAIRXVLR-UHFFFAOYSA-N 0.000 description 1
- SIWVEOZUMHYXCS-UHFFFAOYSA-N oxo(oxoyttriooxy)yttrium Chemical compound O=[Y]O[Y]=O SIWVEOZUMHYXCS-UHFFFAOYSA-N 0.000 description 1
- 238000000206 photolithography Methods 0.000 description 1
- 239000000049 pigment Substances 0.000 description 1
- 229920000058 polyacrylate Polymers 0.000 description 1
- 229920000573 polyethylene Polymers 0.000 description 1
- 229920001223 polyethylene glycol Polymers 0.000 description 1
- 229920000915 polyvinyl chloride Polymers 0.000 description 1
- 239000004800 polyvinyl chloride Substances 0.000 description 1
- 239000011347 resin Substances 0.000 description 1
- 229920005989 resin Polymers 0.000 description 1
- 238000004062 sedimentation Methods 0.000 description 1
- 238000000926 separation method Methods 0.000 description 1
- 239000000377 silicon dioxide Substances 0.000 description 1
- 229910052709 silver Inorganic materials 0.000 description 1
- 239000004332 silver Substances 0.000 description 1
- 238000003980 solgel method Methods 0.000 description 1
- 239000007921 spray Substances 0.000 description 1
- VEALVRVVWBQVSL-UHFFFAOYSA-N strontium titanate Chemical compound [Sr+2].[O-][Ti]([O-])=O VEALVRVVWBQVSL-UHFFFAOYSA-N 0.000 description 1
- 229920003048 styrene butadiene rubber Polymers 0.000 description 1
- 239000000126 substance Substances 0.000 description 1
- 239000004094 surface-active agent Substances 0.000 description 1
- 238000010557 suspension polymerization reaction Methods 0.000 description 1
- 229910052716 thallium Inorganic materials 0.000 description 1
- BKVIYDNLLOSFOA-UHFFFAOYSA-N thallium Chemical compound [Tl] BKVIYDNLLOSFOA-UHFFFAOYSA-N 0.000 description 1
- OGIDPMRJRNCKJF-UHFFFAOYSA-N titanium oxide Inorganic materials [Ti]=O OGIDPMRJRNCKJF-UHFFFAOYSA-N 0.000 description 1
- 238000009281 ultraviolet germicidal irradiation Methods 0.000 description 1
Images
Landscapes
- Electrochromic Elements, Electrophoresis, Or Variable Reflection Or Absorption Elements (AREA)
- Mechanical Light Control Or Optical Switches (AREA)
Abstract
【解決手段】可逆的に変形可能な材料からなるシート状の基材中に粒子が規則的に配列されてなり、その厚さ方向の変形量に応じて色調を変化させるシート状の色調変化シートと、前記色調変化シートに対向して配置され、表示対象を表す凹凸形状を有する押圧面を該色調変化シートへ押圧する押圧部材と、を備え、前記色調変化シートは透明基板に貼着されるとともに、少なくとも前記押圧面が押圧される部分に肉逃し溝が均等に分配して形成される、ことを特徴とする表示装置。
【選択図】図2
Description
この問題に対して、本発明者らは比較的大きな面積の色調変化シートと表示対象を表す凹凸形状の押圧面を有する押圧部材を準備し、押圧部材の押圧面を色調変化シートへ押圧することで当該周期構造体の構造を変形して構造色を制御することを考えた。しかし、このような方法では、構造色の制御を良好に行うことができなかった。これは、所定形状の押圧面に対向する色調変化シートの一部の周期構造体に十分な変形を与えられなかったためと考えられる。換言すれば、比較的大きな面積の色調変化シートを面方向から圧縮して、所定の表示領域を均等に変形させるには大きな圧力が必要となり、無駄なエネルギーが必要となるばかりか、装置にも高い機械的剛性が要求されて、製造コストを引き上げかねない。
そこで、本発明は色調変化シートを利用する表示装置において、構造色の制御が良好に行われる構成を提供することを目的とする。
可逆的に変形可能な材料からなるシート状の基材中に粒子が規則的に配列されてなり、その厚さ方向の変形量に応じて色調を変化させるシート状の色調変化シートと、
前記色調変化シートに対向して配置され、表示対象を表す凹凸形状を有する押圧面を該色調変化シートへ押圧する押圧部材と、
を備え、
前記色調変化シートは透明基板に貼着されるとともに、少なくとも前記押圧面が押圧される部分に肉逃し溝が均等に分配して形成される、ことを特徴とする表示装置である。
ここで使用する可逆的に変形可能な材料としては、スチレン系軟質樹脂、軟質ポリ塩化ビニル、ポリメチルメタクリレート(PMMA)、ハイドロエチルメタクリレート(HEMA)、アクリル系エラストマー等の有機系高分子材料をあげることができる。色調変化シートはこのような可逆的に変形可能な材料を基材とすることにより、後述の押圧部材の押圧によって変形しても、当該押圧が解除されれば、押圧前の状態に戻ることができる。さらに、押圧と解除を繰り返し行っても色調変化シートの変形における可逆性が低下しにくい。
色調変化シートの基材の中に粒子が規則的に配列される。規則的な配列としては、フォトニック結晶構造であることが好ましい。フォトニック結晶は、通常、可視域周辺の光の波長と同程度の周期で粒子が分布した構造を指す。このような構造を有するフォトニック結晶は、その周期と同程度の波長の光をブラッグ反射し、それに起因して特定の波長の光が増幅されて、いわゆる構造色を発する。このようなブラッグ反射による構造色の色調は、フォトニック結晶構造を形成する粒子配列の周期に依存する。これにより、粒子配列の周期を適宜設定することで所望の色調の構造色が得られる。さらに、粒子配列の周期を変化させることで構造色の色調を変化させることができる。本発明の表示装置はこの特性を利用して、所定の色で表示対象を表示するものである。即ち、後述の押圧部材を色調変化シートに押圧して色調変化シートを変形し、これに伴って色調変化シート内のフォトニック結晶構造を形成する粒子配列の周期を変化させて構造色の色調を変化させ、所定の色で表示対象を表示する。構造色は外光(自然光)を利用して発色することができるため、自然光を利用することとすれば、別途発光表示用の光源やバックライト装置を使用する場合に比べて、電力の消費を低減することができる。また、装置の簡略化が図れる。さらに、自然光を利用(反射)するため、屋外でも明るく発色して視認性が高い。なお、夜間や暗所で使用するために、別途発光表示用の光源やバックライト装置を使用してこれらの光を利用してもよい。
肉逃し溝は均等に分配して形成されていれば、その形状は特に限定されないが、例えば、等間隔の格子状、所定の曲線を等間隔に設けた曲線状、等間隔のドット状とすることができる。また、色調変化シート貼着面の内、肉逃し溝以外の部分が等間隔のドット状となるように、肉逃し溝を形成してもよい。肉逃がし溝の大きさは、色調変化シートの厚さや大きさを考慮して適宜決定することができる。例えば、肉逃がし溝を格子状に設ける場合、色調変化シートの厚さが約0.5mmのとき、肉逃し溝の幅を約0.2mmとすることができる。また、肉逃し溝を格子状に設ける場合、肉逃し溝によって区画されるそれぞれの領域が、表示対象となる画像の画素(ピクセル)にそれぞれ対応するように形成してもよい。このようにすれば、表示対象をより緻密に表示することができる。これは比較的大きな面積の色調変化シートを使用する場合に特に有効である。
以下、図面を参照しながら本発明をより詳細に説明する。
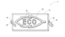
なお、色調変化シート6への押圧を解除した際の文字部72、枠部73と色調変化シート6との離反性を確保するため、文字部72及び枠部73の表面をナイロンやテフロン(登録商標)等でコーティングすることが好ましい。
また、押圧部材7はガイド部74とガイド棒76によって、透明基板5に対して押圧面71が常に平行に維持された状態でケース2内に収納されている。これにより、透明基板5に対して押圧面71が常に平行に維持され、押圧面71の文字部72、枠部73により表される表示対象がより忠実に表示されることとなる。さらに色調変化シート6は比較的大きな面積を有するが、このような色調変化シート6に設けた肉逃がし溝61により、比較的小さな力で良好に構造色を変化させることができる。
文字部72と枠部73はその高さが異なるため、図2に示すように、色調変化シート6の変形量(肉逃がし溝61への移動量)が異なる。そのため、コロイド結晶構造の変化度合いが異なるため、その構造色も異なることとなる。これにより、図6に表示される文字部51と枠部52も異なった色で表示される。このように、表示装置1は、押圧面71の表示形状の高さを変更するだけで異なる発色が可能なため、構成を簡素化することができる。
2 収納ケース2
3 フレーム
4 ワイヤ
5 透明基板
6、6a、6b、6c 色調変化シート
61 肉逃がし溝
7 押圧部材
71 押圧面
74 ガイド部
75 中空部
8 加圧部材
81 昇降部
Claims (2)
- 可逆的に変形可能な材料からなるシート状の基材中に粒子が規則的に配列されてなり、その厚さ方向の変形量に応じて色調を変化させるシート状の色調変化シートと、
前記色調変化シートに対向して配置され、表示対象を表す凹凸形状を有する押圧面を該色調変化シートへ押圧する押圧部材と、
を備え、
前記色調変化シートは透明基板に貼着されるとともに、少なくとも前記押圧面が押圧される部分に肉逃し溝が均等に分配して形成される、ことを特徴とする表示装置。 - 前記基板に対して前記押圧部材の押圧面を常に平行に維持するガイドがさらに備えられる、ことを特徴とする請求項1に記載の表示装置。
Priority Applications (1)
| Application Number | Priority Date | Filing Date | Title |
|---|---|---|---|
| JP2008249161A JP4900355B2 (ja) | 2008-09-26 | 2008-09-26 | 表示装置 |
Applications Claiming Priority (1)
| Application Number | Priority Date | Filing Date | Title |
|---|---|---|---|
| JP2008249161A JP4900355B2 (ja) | 2008-09-26 | 2008-09-26 | 表示装置 |
Publications (2)
| Publication Number | Publication Date |
|---|---|
| JP2010079090A true JP2010079090A (ja) | 2010-04-08 |
| JP4900355B2 JP4900355B2 (ja) | 2012-03-21 |
Family
ID=42209584
Family Applications (1)
| Application Number | Title | Priority Date | Filing Date |
|---|---|---|---|
| JP2008249161A Expired - Fee Related JP4900355B2 (ja) | 2008-09-26 | 2008-09-26 | 表示装置 |
Country Status (1)
| Country | Link |
|---|---|
| JP (1) | JP4900355B2 (ja) |
Cited By (4)
| Publication number | Priority date | Publication date | Assignee | Title |
|---|---|---|---|---|
| JP2010079052A (ja) * | 2008-09-26 | 2010-04-08 | Toyoda Gosei Co Ltd | 表示装置。 |
| JP2011095704A (ja) * | 2009-09-29 | 2011-05-12 | Toyoda Gosei Co Ltd | 表示装置 |
| JP2011221415A (ja) * | 2010-04-13 | 2011-11-04 | Nissha Printing Co Ltd | カラー表示デバイスおよびその製造方法 |
| KR20230017162A (ko) * | 2020-05-29 | 2023-02-03 | 앰비라이트 인크. | 2개의 색층에 기초한 전기변색 디바이스 및 이의 제조 방법 |
Families Citing this family (1)
| Publication number | Priority date | Publication date | Assignee | Title |
|---|---|---|---|---|
| JP5338734B2 (ja) * | 2009-09-28 | 2013-11-13 | 豊田合成株式会社 | 表示装置 |
Citations (3)
| Publication number | Priority date | Publication date | Assignee | Title |
|---|---|---|---|---|
| JP2006028202A (ja) * | 2004-07-12 | 2006-02-02 | National Institute For Materials Science | 引張応力により構造色が変化する周期構造を有する弾性体材料とその製造方法 |
| JP2007011112A (ja) * | 2005-07-01 | 2007-01-18 | Fuji Xerox Co Ltd | 多色表示用光学組成物、並びに、光学素子及びその表示方法 |
| JP2009020435A (ja) * | 2007-07-13 | 2009-01-29 | Toyota Central R&D Labs Inc | 画像表示装置 |
-
2008
- 2008-09-26 JP JP2008249161A patent/JP4900355B2/ja not_active Expired - Fee Related
Patent Citations (3)
| Publication number | Priority date | Publication date | Assignee | Title |
|---|---|---|---|---|
| JP2006028202A (ja) * | 2004-07-12 | 2006-02-02 | National Institute For Materials Science | 引張応力により構造色が変化する周期構造を有する弾性体材料とその製造方法 |
| JP2007011112A (ja) * | 2005-07-01 | 2007-01-18 | Fuji Xerox Co Ltd | 多色表示用光学組成物、並びに、光学素子及びその表示方法 |
| JP2009020435A (ja) * | 2007-07-13 | 2009-01-29 | Toyota Central R&D Labs Inc | 画像表示装置 |
Cited By (7)
| Publication number | Priority date | Publication date | Assignee | Title |
|---|---|---|---|---|
| JP2010079052A (ja) * | 2008-09-26 | 2010-04-08 | Toyoda Gosei Co Ltd | 表示装置。 |
| JP2011095704A (ja) * | 2009-09-29 | 2011-05-12 | Toyoda Gosei Co Ltd | 表示装置 |
| JP2011221415A (ja) * | 2010-04-13 | 2011-11-04 | Nissha Printing Co Ltd | カラー表示デバイスおよびその製造方法 |
| KR20230017162A (ko) * | 2020-05-29 | 2023-02-03 | 앰비라이트 인크. | 2개의 색층에 기초한 전기변색 디바이스 및 이의 제조 방법 |
| JP2023531349A (ja) * | 2020-05-29 | 2023-07-24 | アンビライト・インコーポレイテッド | 2つの色層に基づいたエレクトロクロミックデバイスおよびそのエレクトロクロミックデバイスを製造する方法 |
| JP7585336B2 (ja) | 2020-05-29 | 2024-11-18 | アンビライト・インコーポレイテッド | 2つの色層に基づいたエレクトロクロミックデバイスおよびそのエレクトロクロミックデバイスを製造する方法 |
| KR102786543B1 (ko) * | 2020-05-29 | 2025-03-26 | 앰비라이트 인크 | 2개의 색층에 기초한 전기변색 디바이스 및 이의 제조 방법 |
Also Published As
| Publication number | Publication date |
|---|---|
| JP4900355B2 (ja) | 2012-03-21 |
Similar Documents
| Publication | Publication Date | Title |
|---|---|---|
| EP0783163B1 (en) | External field activated display sheet | |
| JP4900355B2 (ja) | 表示装置 | |
| JP5157200B2 (ja) | ハニカム構造シートの製造方法及び表示パネルの製造方法 | |
| US20160246155A1 (en) | Tir-modulated wide viewing angle display | |
| TW200413776A (en) | Display element and display using the same | |
| US6677926B2 (en) | Electrophoretic display device | |
| JP2011507016A (ja) | 着色領域及び透明領域を備えた反射性一方向スクリーン | |
| JP4692525B2 (ja) | 画像表示装置 | |
| JP4892426B2 (ja) | 画像表示装置 | |
| KR101621782B1 (ko) | 디스플레이를 위한 액티브 매트릭스 조명 유닛 | |
| JP2006189582A (ja) | マイクロカプセル型電気泳動式表示パネル | |
| WO2010126512A1 (en) | Reflective colour display device | |
| JP5223830B2 (ja) | 表示装置 | |
| JP5007712B2 (ja) | 表示装置。 | |
| JP5428956B2 (ja) | 表示装置 | |
| JP5223123B2 (ja) | 表示装置 | |
| JP5338734B2 (ja) | 表示装置 | |
| JP5593774B2 (ja) | 表示装置 | |
| JP5056786B2 (ja) | 表示装置 | |
| JP2010230866A (ja) | 表示装置 | |
| US7679816B2 (en) | Picture display unit | |
| JP3924758B2 (ja) | 発色構造体及び表示装置 | |
| JP7476718B2 (ja) | 調光部材 | |
| JP3560273B2 (ja) | 両面面光源素子及びこれを用いた両面標示装置 | |
| JP2005156759A (ja) | 電気泳動表示装置 |
Legal Events
| Date | Code | Title | Description |
|---|---|---|---|
| A621 | Written request for application examination |
Free format text: JAPANESE INTERMEDIATE CODE: A621 Effective date: 20101025 |
|
| A977 | Report on retrieval |
Free format text: JAPANESE INTERMEDIATE CODE: A971007 Effective date: 20111128 |
|
| TRDD | Decision of grant or rejection written | ||
| A01 | Written decision to grant a patent or to grant a registration (utility model) |
Free format text: JAPANESE INTERMEDIATE CODE: A01 Effective date: 20111206 |
|
| A01 | Written decision to grant a patent or to grant a registration (utility model) |
Free format text: JAPANESE INTERMEDIATE CODE: A01 |
|
| A61 | First payment of annual fees (during grant procedure) |
Free format text: JAPANESE INTERMEDIATE CODE: A61 Effective date: 20111219 |
|
| R150 | Certificate of patent or registration of utility model |
Free format text: JAPANESE INTERMEDIATE CODE: R150 |
|
| FPAY | Renewal fee payment (event date is renewal date of database) |
Free format text: PAYMENT UNTIL: 20150113 Year of fee payment: 3 |
|
| LAPS | Cancellation because of no payment of annual fees |