JP2010079052A - 表示装置。 - Google Patents
表示装置。 Download PDFInfo
- Publication number
- JP2010079052A JP2010079052A JP2008248625A JP2008248625A JP2010079052A JP 2010079052 A JP2010079052 A JP 2010079052A JP 2008248625 A JP2008248625 A JP 2008248625A JP 2008248625 A JP2008248625 A JP 2008248625A JP 2010079052 A JP2010079052 A JP 2010079052A
- Authority
- JP
- Japan
- Prior art keywords
- sheet
- color tone
- display device
- pressing member
- color
- Prior art date
- Legal status (The legal status is an assumption and is not a legal conclusion. Google has not performed a legal analysis and makes no representation as to the accuracy of the status listed.)
- Granted
Links
- 238000003825 pressing Methods 0.000 claims abstract description 65
- 239000002245 particle Substances 0.000 claims description 30
- 239000000463 material Substances 0.000 claims description 23
- 235000013372 meat Nutrition 0.000 claims description 18
- 239000000758 substrate Substances 0.000 claims description 16
- 239000013078 crystal Substances 0.000 abstract description 20
- 238000000034 method Methods 0.000 description 18
- 239000010409 thin film Substances 0.000 description 10
- 229920001400 block copolymer Polymers 0.000 description 7
- 238000009826 distribution Methods 0.000 description 6
- 239000004038 photonic crystal Substances 0.000 description 6
- 230000001105 regulatory effect Effects 0.000 description 5
- 229910004298 SiO 2 Inorganic materials 0.000 description 4
- 239000000853 adhesive Substances 0.000 description 4
- 230000001070 adhesive effect Effects 0.000 description 4
- -1 fluorine Barium iodide Chemical compound 0.000 description 4
- 229910052751 metal Inorganic materials 0.000 description 4
- 239000002184 metal Substances 0.000 description 4
- 229920003229 poly(methyl methacrylate) Polymers 0.000 description 4
- 239000004926 polymethyl methacrylate Substances 0.000 description 4
- 229920002223 polystyrene Polymers 0.000 description 4
- 239000004925 Acrylic resin Substances 0.000 description 3
- 229920000178 Acrylic resin Polymers 0.000 description 3
- 239000004793 Polystyrene Substances 0.000 description 3
- 230000001276 controlling effect Effects 0.000 description 3
- 239000013013 elastic material Substances 0.000 description 3
- 230000001678 irradiating effect Effects 0.000 description 3
- 230000000737 periodic effect Effects 0.000 description 3
- LYCAIKOWRPUZTN-UHFFFAOYSA-N Ethylene glycol Chemical compound OCCO LYCAIKOWRPUZTN-UHFFFAOYSA-N 0.000 description 2
- VYPSYNLAJGMNEJ-UHFFFAOYSA-N Silicium dioxide Chemical compound O=[Si]=O VYPSYNLAJGMNEJ-UHFFFAOYSA-N 0.000 description 2
- PPBRXRYQALVLMV-UHFFFAOYSA-N Styrene Chemical compound C=CC1=CC=CC=C1 PPBRXRYQALVLMV-UHFFFAOYSA-N 0.000 description 2
- GWEVSGVZZGPLCZ-UHFFFAOYSA-N Titan oxide Chemical compound O=[Ti]=O GWEVSGVZZGPLCZ-UHFFFAOYSA-N 0.000 description 2
- 238000006243 chemical reaction Methods 0.000 description 2
- 239000003086 colorant Substances 0.000 description 2
- 150000002148 esters Chemical class 0.000 description 2
- 239000010419 fine particle Substances 0.000 description 2
- 229910052451 lead zirconate titanate Inorganic materials 0.000 description 2
- PQXKHYXIUOZZFA-UHFFFAOYSA-M lithium fluoride Chemical compound [Li+].[F-] PQXKHYXIUOZZFA-UHFFFAOYSA-M 0.000 description 2
- 229920000620 organic polymer Polymers 0.000 description 2
- 229920000642 polymer Polymers 0.000 description 2
- 239000002861 polymer material Substances 0.000 description 2
- 238000006116 polymerization reaction Methods 0.000 description 2
- 238000001556 precipitation Methods 0.000 description 2
- 229920002379 silicone rubber Polymers 0.000 description 2
- 239000004945 silicone rubber Substances 0.000 description 2
- 239000000126 substance Substances 0.000 description 2
- 229920003002 synthetic resin Polymers 0.000 description 2
- 239000000057 synthetic resin Substances 0.000 description 2
- PFNQVRZLDWYSCW-UHFFFAOYSA-N (fluoren-9-ylideneamino) n-naphthalen-1-ylcarbamate Chemical compound C12=CC=CC=C2C2=CC=CC=C2C1=NOC(=O)NC1=CC=CC2=CC=CC=C12 PFNQVRZLDWYSCW-UHFFFAOYSA-N 0.000 description 1
- NIXOWILDQLNWCW-UHFFFAOYSA-M Acrylate Chemical compound [O-]C(=O)C=C NIXOWILDQLNWCW-UHFFFAOYSA-M 0.000 description 1
- 229910021532 Calcite Inorganic materials 0.000 description 1
- RYGMFSIKBFXOCR-UHFFFAOYSA-N Copper Chemical compound [Cu] RYGMFSIKBFXOCR-UHFFFAOYSA-N 0.000 description 1
- CERQOIWHTDAKMF-UHFFFAOYSA-M Methacrylate Chemical compound CC(=C)C([O-])=O CERQOIWHTDAKMF-UHFFFAOYSA-M 0.000 description 1
- 229910002651 NO3 Inorganic materials 0.000 description 1
- NHNBFGGVMKEFGY-UHFFFAOYSA-N Nitrate Chemical compound [O-][N+]([O-])=O NHNBFGGVMKEFGY-UHFFFAOYSA-N 0.000 description 1
- 239000004698 Polyethylene Substances 0.000 description 1
- 239000002202 Polyethylene glycol Substances 0.000 description 1
- 239000004743 Polypropylene Substances 0.000 description 1
- BQCADISMDOOEFD-UHFFFAOYSA-N Silver Chemical compound [Ag] BQCADISMDOOEFD-UHFFFAOYSA-N 0.000 description 1
- 229910010413 TiO 2 Inorganic materials 0.000 description 1
- RTAQQCXQSZGOHL-UHFFFAOYSA-N Titanium Chemical compound [Ti] RTAQQCXQSZGOHL-UHFFFAOYSA-N 0.000 description 1
- BZHJMEDXRYGGRV-UHFFFAOYSA-N Vinyl chloride Chemical compound ClC=C BZHJMEDXRYGGRV-UHFFFAOYSA-N 0.000 description 1
- QYKIQEUNHZKYBP-UHFFFAOYSA-N Vinyl ether Chemical compound C=COC=C QYKIQEUNHZKYBP-UHFFFAOYSA-N 0.000 description 1
- NIXOWILDQLNWCW-UHFFFAOYSA-N acrylic acid group Chemical group C(C=C)(=O)O NIXOWILDQLNWCW-UHFFFAOYSA-N 0.000 description 1
- 229920000800 acrylic rubber Polymers 0.000 description 1
- 239000002390 adhesive tape Substances 0.000 description 1
- 150000004703 alkoxides Chemical class 0.000 description 1
- 239000000956 alloy Substances 0.000 description 1
- 229910045601 alloy Inorganic materials 0.000 description 1
- 229910052782 aluminium Inorganic materials 0.000 description 1
- XAGFODPZIPBFFR-UHFFFAOYSA-N aluminium Chemical compound [Al] XAGFODPZIPBFFR-UHFFFAOYSA-N 0.000 description 1
- 238000000149 argon plasma sintering Methods 0.000 description 1
- 239000005388 borosilicate glass Substances 0.000 description 1
- WUKWITHWXAAZEY-UHFFFAOYSA-L calcium difluoride Chemical compound [F-].[F-].[Ca+2] WUKWITHWXAAZEY-UHFFFAOYSA-L 0.000 description 1
- 229910001634 calcium fluoride Inorganic materials 0.000 description 1
- XFWJKVMFIVXPKK-UHFFFAOYSA-N calcium;oxido(oxo)alumane Chemical compound [Ca+2].[O-][Al]=O.[O-][Al]=O XFWJKVMFIVXPKK-UHFFFAOYSA-N 0.000 description 1
- 239000003795 chemical substances by application Substances 0.000 description 1
- 238000000975 co-precipitation Methods 0.000 description 1
- 150000001875 compounds Chemical class 0.000 description 1
- 229910052802 copper Inorganic materials 0.000 description 1
- 239000010949 copper Substances 0.000 description 1
- 239000011258 core-shell material Substances 0.000 description 1
- 238000000354 decomposition reaction Methods 0.000 description 1
- 125000004386 diacrylate group Chemical group 0.000 description 1
- 229910003460 diamond Inorganic materials 0.000 description 1
- 239000010432 diamond Substances 0.000 description 1
- 238000001962 electrophoresis Methods 0.000 description 1
- 238000007720 emulsion polymerization reaction Methods 0.000 description 1
- 238000005530 etching Methods 0.000 description 1
- 229920005676 ethylene-propylene block copolymer Polymers 0.000 description 1
- 238000001704 evaporation Methods 0.000 description 1
- 230000001747 exhibiting effect Effects 0.000 description 1
- 230000008014 freezing Effects 0.000 description 1
- 238000007710 freezing Methods 0.000 description 1
- 229910052732 germanium Inorganic materials 0.000 description 1
- GNPVGFCGXDBREM-UHFFFAOYSA-N germanium atom Chemical compound [Ge] GNPVGFCGXDBREM-UHFFFAOYSA-N 0.000 description 1
- PCHJSUWPFVWCPO-UHFFFAOYSA-N gold Chemical compound [Au] PCHJSUWPFVWCPO-UHFFFAOYSA-N 0.000 description 1
- 229910052737 gold Inorganic materials 0.000 description 1
- 239000010931 gold Substances 0.000 description 1
- 230000005484 gravity Effects 0.000 description 1
- 238000010438 heat treatment Methods 0.000 description 1
- 238000001027 hydrothermal synthesis Methods 0.000 description 1
- WGCNASOHLSPBMP-UHFFFAOYSA-N hydroxyacetaldehyde Natural products OCC=O WGCNASOHLSPBMP-UHFFFAOYSA-N 0.000 description 1
- 229920000592 inorganic polymer Polymers 0.000 description 1
- CBEQRNSPHCCXSH-UHFFFAOYSA-N iodine monobromide Chemical compound IBr CBEQRNSPHCCXSH-UHFFFAOYSA-N 0.000 description 1
- 229910052746 lanthanum Inorganic materials 0.000 description 1
- FZLIPJUXYLNCLC-UHFFFAOYSA-N lanthanum atom Chemical compound [La] FZLIPJUXYLNCLC-UHFFFAOYSA-N 0.000 description 1
- 238000004093 laser heating Methods 0.000 description 1
- HFGPZNIAWCZYJU-UHFFFAOYSA-N lead zirconate titanate Chemical compound [O-2].[O-2].[O-2].[O-2].[O-2].[Ti+4].[Zr+4].[Pb+2] HFGPZNIAWCZYJU-UHFFFAOYSA-N 0.000 description 1
- GQYHUHYESMUTHG-UHFFFAOYSA-N lithium niobate Chemical compound [Li+].[O-][Nb](=O)=O GQYHUHYESMUTHG-UHFFFAOYSA-N 0.000 description 1
- ORUIBWPALBXDOA-UHFFFAOYSA-L magnesium fluoride Chemical compound [F-].[F-].[Mg+2] ORUIBWPALBXDOA-UHFFFAOYSA-L 0.000 description 1
- 229910001635 magnesium fluoride Inorganic materials 0.000 description 1
- 238000004519 manufacturing process Methods 0.000 description 1
- 150000002739 metals Chemical class 0.000 description 1
- 239000000203 mixture Substances 0.000 description 1
- 238000012986 modification Methods 0.000 description 1
- 230000004048 modification Effects 0.000 description 1
- TWNQGVIAIRXVLR-UHFFFAOYSA-N oxo(oxoalumanyloxy)alumane Chemical compound O=[Al]O[Al]=O TWNQGVIAIRXVLR-UHFFFAOYSA-N 0.000 description 1
- SIWVEOZUMHYXCS-UHFFFAOYSA-N oxo(oxoyttriooxy)yttrium Chemical compound O=[Y]O[Y]=O SIWVEOZUMHYXCS-UHFFFAOYSA-N 0.000 description 1
- 238000000206 photolithography Methods 0.000 description 1
- 239000000049 pigment Substances 0.000 description 1
- 229920000058 polyacrylate Polymers 0.000 description 1
- 229920000573 polyethylene Polymers 0.000 description 1
- 229920001223 polyethylene glycol Polymers 0.000 description 1
- 229920001155 polypropylene Polymers 0.000 description 1
- 229920000915 polyvinyl chloride Polymers 0.000 description 1
- 239000004800 polyvinyl chloride Substances 0.000 description 1
- 239000011347 resin Substances 0.000 description 1
- 229920005989 resin Polymers 0.000 description 1
- 238000007790 scraping Methods 0.000 description 1
- 238000004062 sedimentation Methods 0.000 description 1
- 229910052710 silicon Inorganic materials 0.000 description 1
- 239000010703 silicon Substances 0.000 description 1
- 239000000377 silicon dioxide Substances 0.000 description 1
- 229910052709 silver Inorganic materials 0.000 description 1
- 239000004332 silver Substances 0.000 description 1
- 238000003980 solgel method Methods 0.000 description 1
- 239000007921 spray Substances 0.000 description 1
- VEALVRVVWBQVSL-UHFFFAOYSA-N strontium titanate Chemical compound [Sr+2].[O-][Ti]([O-])=O VEALVRVVWBQVSL-UHFFFAOYSA-N 0.000 description 1
- 229920003048 styrene butadiene rubber Polymers 0.000 description 1
- 239000004094 surface-active agent Substances 0.000 description 1
- 238000010557 suspension polymerization reaction Methods 0.000 description 1
- 229910052716 thallium Inorganic materials 0.000 description 1
- BKVIYDNLLOSFOA-UHFFFAOYSA-N thallium Chemical compound [Tl] BKVIYDNLLOSFOA-UHFFFAOYSA-N 0.000 description 1
- OGIDPMRJRNCKJF-UHFFFAOYSA-N titanium oxide Inorganic materials [Ti]=O OGIDPMRJRNCKJF-UHFFFAOYSA-N 0.000 description 1
- 238000009281 ultraviolet germicidal irradiation Methods 0.000 description 1
Images
Landscapes
- Mechanical Light Control Or Optical Switches (AREA)
- Devices For Indicating Variable Information By Combining Individual Elements (AREA)
Abstract
【解決手段】色調変化シートと、色調変化シートに対向して配置され、空気圧力に応じて変形する複数の変形部を有するアクチュエータと、各変形部の空気圧力を変形部毎に独立して制御する空気圧力制御手段と、色調変化シートと前記変形部との間に配置される押圧部材であって、色調変化シートへ対向する面に表示対象を表す凹形状及び/又は凸形状を有する押圧部材とを有する。
【選択図】図7
Description
特許文献1には、単分散微粒子としてポリスチレン粒子によるコロイド結晶と当該粒子間に位置する弾性体とからなる弾性材料が開示されている。特許文献1の弾性材料は当該弾性材料を弾性変形することでコロイド結晶が変形して特定の構造色を呈する。特許文献2には、周期構造体としてコロイド結晶構造体を有する材料を利用した表示装置が開示されている。この表示装置では、コロイド結晶構造体を内包する高分子ゲルをアレイ状に配列して表示部を形成している。
この問題に対して、本発明者らは比較的大きな面積のコロイド結晶シートと表示対象を表す凹凸形状の押圧面を有する押圧部材を準備し、押圧部材の押圧面をコロイド結晶シートへ押圧することで当該コロイド結晶の構造を変形して構造色を制御することを考えた。
従って、複数の押圧部材へ充分な力を与えつつそれらの押圧を独立して制御することが要求されることとなるが、複雑な機構を採用することは現実的でない。表示装置には簡易な構成と安価な製造コストが要求されているからである。
この発明の第1の局面は次のように規定される。即ち、
可逆的に変形可能な材料からなるシート状の基材中に粒子が規則的に配列されてなり、その厚さ方向の変形量に応じて色調を変化させるシート状の色調変化シートと、
前記色調変化シートに対向して配置され、空気圧力に応じて変形する複数の変形部を有するアクチュエータと、
該各変形部の空気圧力を変形部毎に独立して制御する空気圧力制御手段と、
前記色調変化シートと前記変形部との間に配置される押圧部材であって、前記色調変化シートへ対向する面に表示対象を表す凹形状及び/又は凸形状を有する押圧部材と、
を備えることを特徴とする表示装置。
以上より、上記のように規定された表示装置によれば、簡易な構造で色調変化シートへ複数の押圧部材を独立制御して押圧可能となる。これにより、表示装置を安価に提供できる。
第1の局面の表示装置において、前記アクチュエータは前記色調変化シート対向面に複数の空気孔を有するとともに該空気孔を被覆する可撓性シートとを備え、前記押圧部材は前記可撓性シートに固定されている。
このように規定される第2の局面の表示装置によれば、アクチュエータを色調変化シート対向面に複数の空気孔を有するとともに該空気孔を被覆する可撓性シートとを備えるものとし、可撓性シートに押圧部材を固定したので、複数の押圧部材を独立してかつ充分な力を与えて押圧する構造として簡素なものとなる。
第2の局面の表示装置において、前記可撓性シートは第1のシートと第2のシートとの積層体であり、前記押圧部材はアンカー部を備え、該アンカー部が前記第1のシートと第2のシートとの間に挿入されている。
このように構成される第3の局面の表示装置によれば、繰り返し変形される可撓性シートに対しても押圧部材が安定して固定される。
第1〜第3の何れかの局面に規定した表示装置において、前記色調変化シートは透明基板に貼着されるとともに、少なくとも前記押圧部材が押圧される部分に均等に分配された肉逃がし溝が形成されている。
このように規定される第4の局面の表示装置によれば、色調変化シートに肉逃がし溝が設けられた結果、面方向からの小さな力でも色調変化シートを充分にかつ安定して変形させ、好適な色調変化を実現できる。よって、押圧部材を色調変化シートへ押圧するときに要求される力が小さくなり、もってアクチュエータ等を小型化できる。
ここで使用する可逆的に変形可能な材料としては、スチレン系軟質樹脂、軟質ポリ塩化ビニル、ポリメチルメタクリレート(PMMA)、ハイドロエチルメタクリレート(HEMA)、アクリル系エラストマー等の有機系高分子材料をあげることができる。色調変化シートはこのような可逆的に変形可能な材料を基材とすることにより、後述の押圧部材の押圧によって変形しても、当該押圧が解除されれば、押圧前の状態に戻ることができる。さらに、押圧と解除を繰り返し行っても色調変化シートの変形における可逆性が低下しにくい。
色調変化シートの基材の中に粒子が規則的に配列される。規則的な配列としては、フォトニック結晶構造であることが好ましい。フォトニック結晶は、通常、可視域周辺の光の波長と同程度の周期で粒子が分布した構造を指す。このような構造を有するフォトニック結晶は、その周期と同程度の波長の光をブラッグ反射し、それに起因して特定の波長の光が増幅されて、いわゆる構造色を発する。このようなブラッグ反射による構造色の色調は、フォトニック結晶構造を形成する粒子配列の周期に依存する。これにより、粒子配列の周期を適宜設定することで所望の色調の構造色が得られる。さらに、粒子配列の周期を変化させることで構造色の色調を変化させることができる。本発明の表示装置はこの特性を利用して、所定の色で表示対象を表示するものである。即ち、後述の押圧部材を色調変化シートに押圧して色調変化シートを変形し、これに伴って色調変化シート内のフォトニック結晶構造を形成する粒子配列の周期を変化させて構造色の色調を変化させ、所定の色で表示対象を表示する。構造色は外光(自然光)を利用して発色することができるため、自然光を利用することとすれば、別途発光表示用の光源やバックライト装置を使用する場合に比べて、電力の消費を低減することができる。また、装置の簡略化が図れる。さらに、自然光を利用(反射)するため、屋外でも明るく発色して視認性が高い。なお、夜間や暗所で使用するために、別途発光表示用の光源やバックライト装置を使用してこれらの光を利用してもよい。
肉逃がし溝は均等に分配して形成されていれば、その形状は特に限定されないが、例えば、等間隔の格子状、所定の曲線を等間隔に設けた曲線状、等間隔のドット状とすることができる。また、色調変化シート貼着面の内、肉逃がし溝以外の部分が等間隔のドット状となるように、肉逃がし溝を形成してもよい。肉逃がし溝の大きさは、色調変化シートの厚さや大きさを考慮して適宜決定することができる。例えば、肉逃がし溝を格子状に設ける場合、色調変化シートの厚さが約0.5mmのとき、肉逃がし溝の幅を約0.2mmとすることができる。また、肉逃がし溝を格子状に設ける場合、肉逃がし溝によって区画されるそれぞれの領域が、表示対象となる画像の画素(ピクセル)にそれぞれ対応するように形成してもよい。このようにすれば、表示対象をより緻密に表示することができる。これは比較的大きな面積の色調変化シートを使用する場合に特に有効である。
実施例の表示装置1は、図1に示すとおり、表示ユニット2及びエアコンプレッサ部3を備えている。
表示ユニット2の詳細については図2〜図4を用いて後述する。
エアコンプレッサ部3は空気を圧縮するポンプ4及びポンプ4から吐出される空気圧力を調整する調圧弁5を備えている。調圧弁5から送られた圧縮空気は、図2に示すとおり、調節弁7で分配される。調節弁7は分岐した各空気流路の開閉を、制御部8からの制御信号に基づき、独立して制御することができる。
符号9は支持部材であり、表示ユニット2を所望の角度及び方向に支持する。
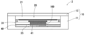
表示ユニット2はケース部10及び表示部本体20とからなる。ケース部10は下箱11と蓋部13とを備え、下箱11の上縁部に蓋部13が固定されている。この実施例では図示しないねじにより両者を固定しているが、その固定方法は任意に選択できる。蓋部13はアクリル樹脂等の透明合成樹脂で形成される。
色調変化シート22はアクリル樹脂等の透明合成樹脂からなる基板21に貼り付けられている。この実施例では、図5に示すように、透明な両面テープ23を基板21と色調変化シート22との間に介在させ、両者を固定している。両者の固定の態様は接着テープ23に限定されるものではなく、接着剤を用いることもできる。
色調変化シート22として、アクリル系樹脂中にSiO2粒子(粒径:200nm)がコロイド結晶の格子上に存在するように充填したものであり、厚さ方向へ力が加えられると粒子間隔が変化して色調が変化する。この色調変化シート22の厚さは約0.5mmであり、肉逃がし溝24は約0.2mmの幅で格子状に形成されており、そのピッチは約0.5mmである。
かかる色調変化シート22は次のようにして製造される。
基材溶液として、新中村化学工業株式会社製のNKエステルAM−90G(メトキシポリエチレングリコール#400アクリレート)を97wt%、新中村化学工業株式会社製、NKエステルA−600(ポリエチレングリコール#600ジアクリレート)を3wt%の割合で混合した混合溶液を用いる。この基材溶液に対し、2wt%の割合でチバスペシャルティケミカルズホールディングコーポレーテッド製のDarocurl・173(硬化剤)を加えた後、SiO2粒子を基材溶液に対し、50wt%の割合で混入し、これを基材上に塗布すると、自己整合的にコロイド粒子が格子上に配列する。その後、UV照射し、上記所定の肉逃がし溝24をスクレイバーにより掻き取ることにより製造される。
ガイド板31は色調変化シート22に対向して配置され、7セグメントディスプレイ用(図2参照)に7つのガイド穴33が穿設されている。各ガイド穴33は長穴形状であり、この長穴へ押圧部材50が上下方向へ移動可能に挿入される。可撓性シート35は例えばシリコーンゴムシートからなり、上側シート36と下側シート37とを接着剤で貼り合わせた構造である。
空気溝45は空気分配板40の下面に形成され、図2に示す空気流路を構成する。空気分配板40と下箱11との間にもシリコーンゴムシート47が介在され、空気溝45の気密性を確保している。更には、空気分配板40の上面側(可撓性シート対向側面)であって空気孔41の大径部42の周囲にオーリング48が配置されている。空気分配板40の下面側にもオーリング49を配置することが好ましい。
押圧部材50の本体部51の平面形状は7セグメントディスプレイの1つのセグメントに対応する。即ち、長方形の両端を三角形とした形状であり、ガイド穴33へ挿入されて図示上下方向へ移動可能である。
本体部51の裏面には凹部52が形成される。アンカー部55は可撓性シート35の上側シート36と下側シート37の間に配置される。アンカー部55は突起56を有し、この突起部56は上側シート36とともに、本体部51の凹部52へ無理嵌めされる。これにより、押圧部材50を金属(可撓性シートに対して接着が容易でない材料)で形成しても、可撓性シート35に対する固定の状態が安定する。
ここに、調節弁7により空気流路に対する圧縮空気の導入・開放を制御することにより、任意のセグメントに対応する押圧部材50を色調変化シート22へ押し当て、また離隔させられる。よって、簡易な構成を用いて任意の数字を表現可能となる。
この実施例では、押圧部材100の本体部101が表出部103とガイド部104とから構成される。表出部103は7セグメントディスプレイの1つのセグメントに対応した形状である。ガイド部104は円柱形の部材であって、その軸心は表出部103の中心と一致している。ガイド板31に形成されガイド穴133が円形に穿設され、ガイド部104はこのガイド穴133に移動可能に挿入される。前の実施例ではガイド板31のガイド穴33が長穴形状であったため、そこへ長方形の押圧部材50を挿入したとき、押圧部材50の押圧面(色調変化シート対向面)の水平性(色調変化シートに対する平行性)が乱れるおそれがある。それに対し、丸穴のガイド穴133へ円柱形のガイド部104を挿入すれば押圧部材100の押圧面の水平性を維持しやすくなる。
この発明は、上記発明の実施の形態及び実施例の説明に何ら限定されるものではない。特許請求の範囲の記載を逸脱せず、当業者が容易に想到できる範囲で種々の変形態様もこの発明に含まれる。
2 表示ユニット
20 表示部本体
21 基板
22 色調変化シート
24 肉逃がし溝
30 アクチュエータ部
35 可撓性シート
50、100 押圧部材
55 アンカー部
Claims (4)
- 可逆的に変形可能な材料からなるシート状の基材中に粒子が規則的に配列されてなり、その厚さ方向の変形量に応じて色調を変化させるシート状の色調変化シートと、
前記色調変化シートに対向して配置され、空気圧力に応じて変形する複数の変形部を有するアクチュエータと、
該各変形部の空気圧力を変形部毎に独立して制御する空気圧力制御手段と、
前記色調変化シートと前記変形部との間に配置される押圧部材であって、前記色調変化シートへ対向する面に表示対象を表す凹形状及び/又は凸形状を有する押圧部材と、
を備えることを特徴とする表示装置。 - 前記アクチュエータは前記色調変化シート対向面に複数の空気孔を有するとともに該空気孔を被覆する可撓性シートとを備え、前記押圧部材は前記可撓性シートに固定されている、ことを特徴とする請求項1に記載の表示装置。
- 前記可撓性シートは第1のシートと第2のシートとの積層体であり、前記押圧部材はアンカー部を備え、該アンカー部が前記第1のシートと第2のシートとの間に挿入されている、ことを特徴とする請求項2に記載の表示装置。
- 前記色調変化シートは透明基板に貼着されるとともに、少なくとも前記押圧部材が押圧される部分に均等に分配された肉逃がし溝が形成されている、ことを特徴とする請求項1〜3のいずれかに記載の表示装置。
Priority Applications (1)
| Application Number | Priority Date | Filing Date | Title |
|---|---|---|---|
| JP2008248625A JP5007712B2 (ja) | 2008-09-26 | 2008-09-26 | 表示装置。 |
Applications Claiming Priority (1)
| Application Number | Priority Date | Filing Date | Title |
|---|---|---|---|
| JP2008248625A JP5007712B2 (ja) | 2008-09-26 | 2008-09-26 | 表示装置。 |
Publications (2)
| Publication Number | Publication Date |
|---|---|
| JP2010079052A true JP2010079052A (ja) | 2010-04-08 |
| JP5007712B2 JP5007712B2 (ja) | 2012-08-22 |
Family
ID=42209553
Family Applications (1)
| Application Number | Title | Priority Date | Filing Date |
|---|---|---|---|
| JP2008248625A Expired - Fee Related JP5007712B2 (ja) | 2008-09-26 | 2008-09-26 | 表示装置。 |
Country Status (1)
| Country | Link |
|---|---|
| JP (1) | JP5007712B2 (ja) |
Cited By (1)
| Publication number | Priority date | Publication date | Assignee | Title |
|---|---|---|---|---|
| JP2011095704A (ja) * | 2009-09-29 | 2011-05-12 | Toyoda Gosei Co Ltd | 表示装置 |
Families Citing this family (1)
| Publication number | Priority date | Publication date | Assignee | Title |
|---|---|---|---|---|
| JPWO2018123418A1 (ja) * | 2016-12-26 | 2019-10-31 | パナソニックIpマネジメント株式会社 | エアフィルタ濾材 |
Citations (6)
| Publication number | Priority date | Publication date | Assignee | Title |
|---|---|---|---|---|
| JP2005031172A (ja) * | 2003-07-08 | 2005-02-03 | Matsushita Electric Ind Co Ltd | 表示素子 |
| JP2006028202A (ja) * | 2004-07-12 | 2006-02-02 | National Institute For Materials Science | 引張応力により構造色が変化する周期構造を有する弾性体材料とその製造方法 |
| JP2007011112A (ja) * | 2005-07-01 | 2007-01-18 | Fuji Xerox Co Ltd | 多色表示用光学組成物、並びに、光学素子及びその表示方法 |
| JP2009020435A (ja) * | 2007-07-13 | 2009-01-29 | Toyota Central R&D Labs Inc | 画像表示装置 |
| JP2009020439A (ja) * | 2007-07-13 | 2009-01-29 | Toyoda Gosei Co Ltd | 画像表示装置 |
| JP2010079090A (ja) * | 2008-09-26 | 2010-04-08 | Toyoda Gosei Co Ltd | 表示装置 |
-
2008
- 2008-09-26 JP JP2008248625A patent/JP5007712B2/ja not_active Expired - Fee Related
Patent Citations (6)
| Publication number | Priority date | Publication date | Assignee | Title |
|---|---|---|---|---|
| JP2005031172A (ja) * | 2003-07-08 | 2005-02-03 | Matsushita Electric Ind Co Ltd | 表示素子 |
| JP2006028202A (ja) * | 2004-07-12 | 2006-02-02 | National Institute For Materials Science | 引張応力により構造色が変化する周期構造を有する弾性体材料とその製造方法 |
| JP2007011112A (ja) * | 2005-07-01 | 2007-01-18 | Fuji Xerox Co Ltd | 多色表示用光学組成物、並びに、光学素子及びその表示方法 |
| JP2009020435A (ja) * | 2007-07-13 | 2009-01-29 | Toyota Central R&D Labs Inc | 画像表示装置 |
| JP2009020439A (ja) * | 2007-07-13 | 2009-01-29 | Toyoda Gosei Co Ltd | 画像表示装置 |
| JP2010079090A (ja) * | 2008-09-26 | 2010-04-08 | Toyoda Gosei Co Ltd | 表示装置 |
Cited By (1)
| Publication number | Priority date | Publication date | Assignee | Title |
|---|---|---|---|---|
| JP2011095704A (ja) * | 2009-09-29 | 2011-05-12 | Toyoda Gosei Co Ltd | 表示装置 |
Also Published As
| Publication number | Publication date |
|---|---|
| JP5007712B2 (ja) | 2012-08-22 |
Similar Documents
| Publication | Publication Date | Title |
|---|---|---|
| US12399393B2 (en) | Electrophoretic device having a transparent light state | |
| US7616368B2 (en) | Light concentrating reflective display methods and apparatus | |
| KR101843948B1 (ko) | Mems 앵커 및 스페이서 구조 | |
| TW201128282A (en) | Touchscreens for displays | |
| WO2012075033A2 (en) | Environmentally responsive optical microstructured hybrid actuator assemblies and applications thereof | |
| CN103797399A (zh) | 具有自对准的孔隙的显示器及其制造方法 | |
| TW200525234A (en) | Corner cube reflector, method of making the reflector and reflective display device including the reflector | |
| JP5901472B2 (ja) | カラー画像パネル、これを利用したカラー画像表示装置及び表示方法 | |
| JP2010538413A (ja) | 光出力装置 | |
| JP4900355B2 (ja) | 表示装置 | |
| JP4892426B2 (ja) | 画像表示装置 | |
| JP4692525B2 (ja) | 画像表示装置 | |
| JP5007712B2 (ja) | 表示装置。 | |
| US7475997B2 (en) | Reflective display device with high retroreflectivity | |
| CN114647074B (zh) | 一种彩色显示材料及显示装置 | |
| CN104160318A (zh) | 用于显示器的有源矩阵发光单元 | |
| WO2010126512A1 (en) | Reflective colour display device | |
| US20190137667A1 (en) | Tir image display with an index perturbation array | |
| JP5428956B2 (ja) | 表示装置 | |
| JP5223830B2 (ja) | 表示装置 | |
| JP5223123B2 (ja) | 表示装置 | |
| CN105204193A (zh) | 控制显示角度的显示装置及其制造方法 | |
| JP5593774B2 (ja) | 表示装置 | |
| US7679816B2 (en) | Picture display unit | |
| JP5338734B2 (ja) | 表示装置 |
Legal Events
| Date | Code | Title | Description |
|---|---|---|---|
| A621 | Written request for application examination |
Free format text: JAPANESE INTERMEDIATE CODE: A621 Effective date: 20101025 |
|
| TRDD | Decision of grant or rejection written | ||
| A977 | Report on retrieval |
Free format text: JAPANESE INTERMEDIATE CODE: A971007 Effective date: 20120425 |
|
| A01 | Written decision to grant a patent or to grant a registration (utility model) |
Free format text: JAPANESE INTERMEDIATE CODE: A01 Effective date: 20120501 |
|
| A01 | Written decision to grant a patent or to grant a registration (utility model) |
Free format text: JAPANESE INTERMEDIATE CODE: A01 |
|
| A61 | First payment of annual fees (during grant procedure) |
Free format text: JAPANESE INTERMEDIATE CODE: A61 Effective date: 20120514 |
|
| R150 | Certificate of patent or registration of utility model |
Free format text: JAPANESE INTERMEDIATE CODE: R150 |
|
| FPAY | Renewal fee payment (event date is renewal date of database) |
Free format text: PAYMENT UNTIL: 20150608 Year of fee payment: 3 |
|
| LAPS | Cancellation because of no payment of annual fees |