JP2010077690A - ニューマチックケーソン工法における漏気防止装置および漏気防止方法 - Google Patents

ニューマチックケーソン工法における漏気防止装置および漏気防止方法 Download PDF

Info

Publication number
JP2010077690A
JP2010077690A JP2008247244A JP2008247244A JP2010077690A JP 2010077690 A JP2010077690 A JP 2010077690A JP 2008247244 A JP2008247244 A JP 2008247244A JP 2008247244 A JP2008247244 A JP 2008247244A JP 2010077690 A JP2010077690 A JP 2010077690A
Authority
JP
Japan
Prior art keywords
pressure
groundwater
caisson
groundwater pressure
detected
Prior art date
Legal status (The legal status is an assumption and is not a legal conclusion. Google has not performed a legal analysis and makes no representation as to the accuracy of the status listed.)
Granted
Application number
JP2008247244A
Other languages
English (en)
Other versions
JP5132506B2 (ja
Inventor
Naoaki Kozuki
直昭 上月
Hideo Imamura
秀雄 今村
Tsunehiko Iki
恒彦 壹岐
Current Assignee (The listed assignees may be inaccurate. Google has not performed a legal analysis and makes no representation or warranty as to the accuracy of the list.)
Daiho Construction Co Ltd
Original Assignee
Daiho Construction Co Ltd
Priority date (The priority date is an assumption and is not a legal conclusion. Google has not performed a legal analysis and makes no representation as to the accuracy of the date listed.)
Filing date
Publication date
Application filed by Daiho Construction Co Ltd filed Critical Daiho Construction Co Ltd
Priority to JP2008247244A priority Critical patent/JP5132506B2/ja
Publication of JP2010077690A publication Critical patent/JP2010077690A/ja
Application granted granted Critical
Publication of JP5132506B2 publication Critical patent/JP5132506B2/ja
Active legal-status Critical Current
Anticipated expiration legal-status Critical

Links

Images

Landscapes

  • Excavating Of Shafts Or Tunnels (AREA)

Abstract

【課題】人手を割くことなく自動的に、作業室内の空気がケーソン躯体の外部に漏気することを確実に防止する。
【解決手段】本発明に係るニューマチックケーソン工法における漏気防止装置10は、ケーソン躯体11の刃口14の刃先近傍における地盤Gの地下水圧Pwを検知する地下水圧検知手段(水圧計測センサー28a〜28d)と、作業室16内部における函内実気圧Pcを検知する函内実気圧検知手段(気圧計測センサー30)と、地下水圧検知手段(28a〜28d)により検知された地下水圧Pwに基づき、作業室16内に刃口14外部への漏気を防止し得る作業室内水位になる基準函内気圧P1を設定し、この基準函内気圧P1に函内実気圧Pcが近付くように作業室16内部の気圧を調整する圧力制御手段(コントローラー35)とを備えてなることを特徴とする。
【選択図】図1

Description

本発明は、ケーソンを地盤中に沈設して基礎とするニューマチックケーソン工法に係り、詳しくはケーソンの内部に隔成された掘削用の作業室の内部における地下水の水位を自動的に調整することにより、上記作業室から外部への圧縮空気の漏気を防止するようにしたニューマチックケーソン工法における漏気防止装置および漏気防止方法に関するものである。
橋脚基礎構造などの構築に用いられる工法として、ケーソンを水底地盤中に沈設するニューマチックケーソン工法が知られている。ニューマチックケーソン工法では、筒状のケーソン躯体の下端に地盤に貫入する刃口を設けるとともに、ケーソン躯体の内周側に作業室スラブを形成し、刃口の内周側かつ作業室スラブの下方に削用の作業室を隔成して、この作業室内に圧縮空気を供給しながら、その内部地盤を掘削してケーソン躯体を地盤中に沈設する。
この場合、作業室内に供給された圧縮空気は、その一部が刃口の先端を潜り抜けて外部に漏気しやすく、このような漏気をそのまま放置しておくと、地盤中の透水層を通って思わぬ場所に噴出し、隣接構造物等に悪影響を及ぼすことになる。
そこで、従来では、作業室内に監視カメラと圧力計を設置し、外部の管理室から監視員がモニターで作業室内の地下水位を目視で監視し、圧力計の圧力を参照しながら、その都度、作業室に送給する圧縮空気の圧力を調整して地下水位を適宜調整していた。
同時に、ケーソン躯体から漏出した漏気を回収するべく、ケーソン躯体の刃口直上外面に漏気回収装置を設け、漏気を回収していたが、漏気の回収効率が悪かった。回収効率を上げる方法としては、特許文献1に開示されているように、ケーソン躯体の刃口直上外面に漏気回収フィルターを周回形成し、この漏気回収フィルターにケーソン躯体の内部側から揚水管を接続し、この揚水管の他端に接続した真空ポンプ等の揚水手段を作動させることにより、作業室からケーソン躯体の刃口先端を潜り抜けて外部に漏れた漏気を漏気回収フィルターで吸入して回収するようにした漏気回収装置が提案されている。
特開2002−88770号公報
しかしながら、上述のように、作業室内に設置された監視カメラと圧力計とにより、外部の監視員が作業室内の地下水位を任意に調整するのでは、非常に手間が掛かり、そのための人員が必要となる。しかも、ケーソンが傾斜した場合には、地下水位を監視カメラの映像から正確に判断するのが困難であり、漏気を誘発しやすくなる。
また、特許文献1に示されるような漏気回収装置は、作業室内からケーソン躯体の刃口先端を潜り抜けて既に外部に漏れてしまった空気を回収するものであるため、漏れた空気を100%回収することが困難であった。また、揚水手段としての真空ポンプ等を個別に用意しなければならないため、構成が複雑化するばかりか、専用の動力源も確保しなければならないという問題もあった。
本発明は、このような事情に鑑みてなされたものであり、人手を割くことなく自動的に、作業室内の空気がケーソン躯体の外部に漏気することを確実に防止することのできるニューマチックケーソン工法における漏気防止装置および漏気防止方法を提供することを目的とする。
また、本発明の更なる目的は、ケーソン躯体が傾斜していても、作業室内の地下水位を正確に設定可能にして漏気を防止することにある。
かかる課題を解決するために、本発明の請求項1に記載の発明は、ニューマチックケーソン工法において、ケーソン躯体の刃口の刃先近傍における地盤の地下水圧を検知する地下水圧検知手段と、前記ケーソン躯体の作業室内部における函内実気圧を検知する函内実気圧検知手段と、前記地下水圧検知手段により検知された地下水圧に基づき、前記作業室内に前記刃口外部への漏気を防止し得る作業室内水位になる基準函内気圧を設定し、前記基準函内気圧に前記函内実気圧が近付くように前記作業室内部の気圧を調整する圧力制御手段と、を備えてなるニューマチックケーソン工法における漏気防止装置としたことを特徴とする。
本発明の請求項2に記載の発明は、請求項1の構成に加え、前記地下水圧検知手段を前記ケーソン躯体の周方向に沿って複数箇所に配置し、前記圧力制御手段は、前記複数の地下水圧検知手段が同時に検知した複数の地下水圧データのうち、最小の地下水圧データに基づいて前記基準函内気圧を算出するニューマチックケーソン工法における漏気防止装置としたことを特徴とする。
本発明の請求項3に記載の発明は、請求項1又は2の構成に加え、前記ケーソン躯体の傾斜状態を検出する傾斜状態検出手段を設け、前記ケーソン躯体の傾斜時において、前記圧力制御手段は、前記傾斜方向検出手段から入力される傾斜データを基に、前記刃口の刃先近傍における地下水圧データの最小値を検知し得る点を割り出し、この点と、前記地下水圧検知手段のうちの少なくとも1つとの相対位置関係を把握し、前記地下水圧検知手段が検知した地下水圧の値を修正して地下水圧データの最小値とし、これに基づいて前記基準函内気圧を算出するニューマチックケーソン工法における漏気防止装置としたことを特徴とする。
本発明の請求項4に記載の発明は、ニューマチックケーソン工法において、ケーソン躯体の刃口の刃先近傍における地盤の地下水圧を検知するとともに、前記ケーソン躯体の作業室内部における函内実気圧を検知し、前記地下水圧に基づき、前記作業室内に前記刃口外部への漏気を防止し得る作業室内水位になる基準函内気圧を設定し、前記基準函内気圧に前記函内実気圧が近付くように前記作業室内部の気圧を調整するニューマチックケーソン工法における漏気防止方法としたことを特徴とする。
本発明の請求項5に記載の発明は、請求項4の構成に加え、前記地下水圧を前記ケーソン躯体の周方向に沿う複数箇所から検知し、これら複数の地下水圧データのうち、最小の地下水圧データに基づいて前記基準函内気圧を算出するニューマチックケーソン工法における漏気防止方法としたことを特徴とする。
本発明の請求項6に記載の発明は、請求項4又は5の構成に加え、前記ケーソン躯体の傾斜時において、その傾斜データを基に、前記刃口の刃先近傍における地下水圧データの最小値を検知し得る点を割り出し、この点と、前記刃口の刃先近傍における地下水圧を検知する地下水圧検知手段との相対位置関係を参照し、前記地下水圧検知手段が検知した地下水圧の値を修正して地下水圧データの最小値とし、これに基づいて前記基準函内気圧を算出するニューマチックケーソン工法における漏気防止方法としたことを特徴とする。
請求項1及び請求項4の発明によれば、常にケーソン躯体外部の刃口近傍における地下水圧と作業室内における函内実気圧とに基づいて、作業室内に外部への漏気を防止し得る水位の地下水を貯水可能な基準函内気圧が設定され、この基準函内気圧に函内実気圧が近付くように制御されるため、人手を割くことなく自動的かつ確実に、作業室内からの漏気を防止することができる。
請求項2及び請求項5の発明によれば、例えケーソン躯体が傾斜して、複数箇所から検知された地下水圧のデータが異なっても、その一番小さいデータに基づいて基準函内気圧が算出されるため、函内実気圧の制御が正確になり、漏気を確実に防止することができる。
請求項3及び請求項6の発明によれば、ケーソン躯体の傾斜時においては、その傾斜データに基づいて刃口の刃先近傍における地下水圧データの最小値を検知し得る点を割り出し、この点と、地下水圧検知手段との相対位置関係を把握し、この相対位置関係に基づいて地下水圧検知手段が検知した地下水圧の値を修正して地下水圧データの最小値とし、これに基づいて基準函内気圧を算出するため、ケーソン躯体が傾斜していても、作業室内の地下水位を正確に設定可能にして漏気を防止することができる。
以下、本発明の実施の形態を図1乃至図5に基づいて説明する。
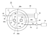
図1は、本発明の実施の形態に係る漏気防止装置10が適用されたケーソン躯体11の縦断面図であり、図2は図1のII矢視による平面図であり、図3は図1のIII部を拡大した縦断面図である。
ケーソン躯体11は、一般に鉄筋コンクリートで形成され、その外周部をなす外周壁12の下端に刃口14が設けられるとともに、外周壁12の内周側に水平面状の作業室スラブ15が形成され、この作業室スラブ15の下方かつ刃口14の内周側に作業室16が隔成されている。ケーソン躯体11の水平断面形状は丸形であるが、例えば楕円形や角形等でも良い。刃口14は、その先端部から上方に向かうに連れ、かつケーソン躯体11の中方に向かうに連れて厚みが増す楔状断面である。
作業室16には外部から管状の送気通路18が作業室スラブ15を貫通する形で連通し、この送気通路18の外端側にエアコンプレッサー19が接続され、送気通路18の中間部に圧力調整器21が接続されている。圧力調整器21はエアコンプレッサー19から供給される圧縮空気の圧力を調整する機器である。なお、図中に符号24および25で示した部分は、下端が作業室16に繋がるマンロックとマテリアルロックである。
図3にも拡大して示すように、刃口14の直近外周部、例えば刃口14の外周面の下端付近は、円周方向に沿って複数の水圧計測センサーが設けられている。この実施形態では、例えば90°間隔で4つの水圧計測センサー28a,28b,28c,28dが設けられている。これらの水圧計測センサー28a〜28dは、ケーソン躯体11の外面と地盤Gとの間における地下水圧Pwを検知する地下水圧検知手段として機能するものである。
また、作業室16内には気圧計測センサー30が設けられている。この気圧計測センサー30は、作業室内16における函内実気圧Pcを検知する函内実気圧検知手段として機能するものであり、例えば作業室スラブ15の下面に固定されている。さらに、ケーソン躯体11の内周部には、傾斜センサー31が設けられている。この傾斜センサー31は、ケーソン躯体11の傾斜方向や傾斜角度等の傾斜状態を検出する傾斜状態検出手段として機能するものである。
一方、作業室16には外部から作業室スラブ15を貫通する形で管状の排気通路32が配設されている。この排気通路32は送気通路18の配設位置から大きく離れた位置に設けるのが好ましく、その下端が作業室16内に開口し、上端が大気に開放されている。排気通路32には流量調整手段としての流量調整バルブ33が接続され、この流量調整バルブ33が開放されると作業室16の内部に供給された圧縮空気が大気側に排気される。
そして、ケーソン躯体11の外部には圧力制御手段としてのコントローラー35が設置されている。このコントローラー35には4基の水圧計測センサー28a〜28dと気圧計測センサー30と傾斜センサー31とが伝達ケーブル37,38,39,40,41,42により電気的に接続されている。さらに、圧力調整器21と流量調整バルブ33も伝達ケーブル43,44によりコントローラー35に電気的に接続されている。なお、傾斜センサー31の設置位置は、図1に示す位置に限らず、ケーソン躯体11と一体的に設けられていれば、他の場所、例えば作業室15の内部等に設置してもよい。
漏気防止装置10は、送気通路18、エアコンプレッサー19、圧力調整器21、水圧計測センサー28a〜28d、気圧計測センサー30、傾斜センサー31、排気通路32、流量調整バルブ33、コントローラー35、伝達ケーブル37〜44等を備えて構成されている。
ニューマチックケーソン工法では、このように構成されたケーソン躯体11を、その刃口14を地盤G中に貫入させ、作業室16内にエアコンプレッサー19と送気通路18から圧縮空気を供給しながら、作業室16の内部に設置した図示しない掘削装置により作業室16内部の地盤Gを掘削し、ケーソン躯体11をその自重により地盤G中に沈降させて最終的に橋脚等の基礎として地盤G中に深く埋設する。なお、ケーソン躯体11の重量を増して、地盤G中の揚圧力に対抗して沈設させるために、しばしばケーソン躯体11の作業室スラブ15上に荷重水45が貯留される。
この潜函工事においては、上述のように作業室16内にエアコンプレッサー19で圧縮空気が供給されると同時に、この圧縮空気が刃口14の先端を潜って外部に漏れることがないように、作業室16内に所定量の地下水Wが貯水される。この地下水Wの水位は、コントローラー35により随時調整される。
即ち、コントローラー35は、4基の水圧計測センサー28a〜28dにより同時に検知された地下水圧Pw〜Pwのデータのうち、水圧が一番小さいデータを最小地下水圧Pwminとして選択する。
この時、コントローラー35は、傾斜センサー31から入力される傾斜データを基にケーソン躯体11の傾斜状況を把握し、ケーソン躯体11が傾斜している場合には、最小地下水圧Pwminを修正する場合がある。
例えば図4(a)に示すように、ケーソン躯体11の水平断面形状が矩形であり、その四つの角部にそれぞれ水圧計測センサー28a〜28dが設置されている場合には、ケーソン躯体11がどの方向に傾斜したとしても、最小地下水圧Pwminの値を検知し得る点は、地盤に対する刃口14の最も浅い位置、即ち水圧計測センサー28a〜28dが設置されている四つの角部のいずれかに一致するため、各水圧計測センサー28a〜28dにより計測された地下水圧Pw〜Pwのデータのうちの最小値を、そのまま最小地下水圧Pwminとして信頼することができる。
しかし、本実施形態のようにケーソン躯体11の水平断面形状が丸形であったり、楕円形等である場合には、図4(b)に示すように、ケーソン躯体11の傾斜方向が必ずしも水圧計測センサー28a〜28dの配置されている方向に一致するとは限らない。例えばここに示すように、ケーソン躯体11が水圧計測センサー28aと28dとの間となる傾斜方向Iに傾斜している場合には、最小地下水圧Pwminの値を検知し得る点Xの位置は、傾斜方向Iの正反対の方向となり、2つの水圧計測センサー28b,28cの間の外周円上となる。この点Xの位置は、傾斜センサー31から入力される傾斜方向のデータから割り出すことができる。
そして、コントローラー35は、上記点Xと、例えばその最寄りの水圧計測センサー28cとの相対位置関係を所定の計算により把握し、水圧計測センサー28cが検知した地下水圧Pw3のデータを修正して最小地下水圧Pwminとする。次に、この最小地下水圧Pwminに基づき、作業室16の内部の圧縮空気が刃口14の下端を潜って外部に漏気することを防止することが可能な水位の地下水Wを貯水可能な基準函内気圧P1を設定する。基準函内気圧P1は次式より求まる。
P1=Pwmin−a (aは補正量)
上記補正量aは、各水圧計測センサー28a〜28dの設置位置と作業室16内における地下水Wの設定水位との差を考慮して決定される。地下水Wの設定水位は、各水圧計測センサー28a〜28dの誤差を考慮しつつ、作業室16内から漏気しない程度の水位とされる。この時、基準函内気圧P1の上限値P2と下限値P3が決定される。この上限値P2と下限値P3も最小地下水圧Pwminに基づいて算出される。
なお、図4(a)に示すように、ケーソン躯体11の水平断面形状が矩形であっても、例えばケーソン躯体11の四つの角部以外の場所に水圧計測センサー28e,28fが設けられていたり、水圧計測センサーの数が少ないような場合にも、上記と同様にして最小地下水圧Pwminの値を検知し得る点Xが割り出され、これに基き基準函内気圧P1と、その上限値P2及び下限値P3が設定される。
そして、コントローラー35は、基準函内気圧P1に函内実気圧Pcが近付くように、つまり基準函内気圧P1の上限値P2と下限値P3の範囲内に函内実気圧Pcが収まるように(P3≦Pc≦P2となるように)エアコンプレッサー19の圧力調整器21と排気通路32の流量調整バルブ33とを調整して地下水Wの水位を保ち、ケーソン躯体11外部への漏気を防止する。
つまり、コントローラー35は、地下水圧Pwが上昇した時には、圧力調整器21に指示して送気通路18の通路面積を開かせることによりエアコンプレッサー19による作業室16への圧縮空気供給量を増大させ、同時に流量調整バルブ33に指示して排気通路32の通路面積を閉じる方向に制御し、函内実気圧Pcを上昇させる。これにより、地下水圧Pwの上昇に伴う作業室16内の地下水位上昇を抑止することができる。
逆に地下水圧Pwが下降した時には、送気通路18の通路面積を閉じる方向に制御して作業室16への圧縮空気供給量を低減させると同時に、排気通路32の通路面積を開く方向に制御して函内実気圧Pcを降下させ、地下水位を上昇させて漏気を防止する。
図4は、コントローラー35による漏気防止装置10の制御形態をフローチャートで示した図である。
この制御の流れを順に説明すると、制御の開始後、まずステップS1で4基の水圧計測センサー28a〜28dにより地下水圧Pw,Pw,Pw,Pwが検知される。
次に、ステップS2で、上記地下水圧Pw〜Pwの中から一番小さいデータが選択されて最小地下水圧Pwminが決定される。
次のステップS3では、傾斜センサー31から入力される傾斜データを基に、ケーソン躯体11が傾斜しているか否かが判断され、その結果がYESであればステップS4に進み、ステップS2で決定された最小地下水圧Pwminの値が、傾斜センサー31からの傾斜データを基に修正され、その後ステップS5に進む。
また、ステップS3がNOの場合、つまりケーソン躯体11が傾斜していない場合は、ステップS2で決定された最小地下水圧Pwminの値がそのまま用いられてステップS5に進む。
次のステップS5では、基準函内気圧P1が設定される。基準函内気圧P1は、最小地下水圧Pwminから補正量aを差し引いた値となる。補正量aの大きさ(範囲)は、ケーソン躯体11の形状や、地盤Gの地質等の工事環境等に応じて予め設定される。
ステップS6では、基準函内気圧P1の上限気圧値P2と下限気圧値P3が設定される。この上限気圧値P2と下限気圧値P3も、補正量aと同じく工事の諸条件に応じて適宜設定される。
次にステップS7で気圧計測センサー30により函内実気圧Pcが検出される。
そして、ステップS8で、気圧計測センサー30により検出された函内実気圧Pcが、上限気圧値P2と下限気圧値P3との間に収まっているかが判定され、その判定結果がYESであれば制御はリターンし、判定結果がNOであればステップS9に進み、圧力調整器21の操作による圧縮空気供給量の調整、又は流量調整バルブ33の操作による排気量の調整が実行されてからステップS7に戻り、再びステップS7〜ステップS9の制御が繰り返し実行される。
以上のような漏気防止装置10をケーソン躯体11に設置することにより、作業室16内部の函内実気圧Pcが、自動的にケーソン躯体11の直近における最小地下水圧Pwminよりも低く保たれるため、人手を割くことなく自動的に作業室16内に漏気を防止し得る水位の地下水Wを貯水でき、これにより作業室16からの漏気を確実に防止することができる。
また、作業室16内における函内実気圧Pcが、基準函内気圧P1の上限気圧値P2と下限気圧値P3との間に保たれるように制御されるため、函内実気圧Pcの制御が確実になり、作業室16内からの漏気を一層効果的に防止することができる。
さらに、仮にケーソン躯体11が傾斜して、各水圧計測センサー28a〜28dが検知した複数の地下水圧Pw〜Pwのデータが異なっていても、その一番小さいデータ、またはこの一番小さいデータを更にケーソン躯体11の傾斜状況に応じて修正したデータに基づいて最小地下水圧Pwminと基準函内気圧P1とが算出されるため、函内実気圧Pcの制御が正確になり、ケーソン躯体11の傾斜時においても漏気を確実に防止することができる。
各水圧計測センサー28a〜28dは刃口14の直近外周部に設けられているため、各水圧計測センサー28a〜28dにより計測される地下水圧Pw〜Pwの測定値が函内実気圧Pcに近似したものとなり、これにより基準函内気圧P1の設定を正確に行うことができる。
また、作業室16の気圧を低下させる時には、排気通路32に設けた流量調整バルブ33をコントローラー35が開くように制御するため、作業室16の気圧を素早く降下させることができ、これにより正確で迅速な気圧制御を実行可能にして漏気を防止することができる。
なお、本実施形態ではコントローラー35により圧力調整器21及び流量調整バルブ33が操作されて地下水Wの水位が自動的に調整されるようになっているが、必ずしも自動的でなくてもよく、場合によっては圧力調整器21及び流量調整バルブ33を手動操作に切替えて地下水Wの水位を調整してもよい。
また、本実施形態では、水圧計測センサー28a〜28dが刃口14の外周面下端付近に設けられているが、その測定精度を低下させない範囲で、水圧計測センサー28a〜28dを刃口14の内側に設置してもよい。その場合、水圧計測センサー28a〜28dの設置位置は極力刃口14の先端部近傍となることが望ましい。
本発明の実施の形態に係る漏気防止装置が適用されたケーソン躯体の縦断面図である。 同実施の形態に係る図1のII矢視による平面図である。 同実施の形態に係る図1のIII部を拡大した縦断面図である。 ケーソン躯体の水平断面形状と水圧計測センサーの位置関係を示すもので、(a)はケーソン躯体の水平断面形状が矩形である場合を示す断面図であり、(b)はケーソン躯体の水平断面形状が丸形である場合を示す断面図である。 コントローラーによる漏気防止装置の制御形態をフローチャートで示した図である。
符号の説明
10 漏気防止装置
11 ケーソン躯体
12 外周壁
14 刃口
15 作業室スラブ
16 作業室
18 送気管
19 エアコンプレッサー
21 圧力調整器
28a〜28d 地下水圧検知手段である水圧計測センサー
30 函内実気圧検知手段である気圧計測センサー
31 傾斜状態検出手段である傾斜センサー
32 排気通路
33 流量調整手段である流量調整バルブ
35 圧力制御手段であるコントローラー
G 地盤
P1 基準函内気圧
P2 上限気圧値
P3 下限気圧値
Pc 函内実気圧
Pw 地下水圧
W 地下水

Claims (6)

  1. ニューマチックケーソン工法において、
    ケーソン躯体の刃口の刃先近傍における地盤の地下水圧を検知する地下水圧検知手段と、
    前記ケーソン躯体の作業室内部における函内実気圧を検知する函内実気圧検知手段と、
    前記地下水圧検知手段により検知された地下水圧に基づき、前記作業室内に前記刃口外部への漏気を防止し得る作業室内水位になる基準函内気圧を設定し、
    前記基準函内気圧に前記函内実気圧が近付くように前記作業室内部の気圧を調整する圧力制御手段と、
    を備えてなることを特徴とするニューマチックケーソン工法における漏気防止装置。
  2. 前記地下水圧検知手段を前記ケーソン躯体の周方向に沿って複数箇所に配置し、前記圧力制御手段は、前記複数の地下水圧検知手段が同時に検知した複数の地下水圧データのうち、最小の地下水圧データに基づいて前記基準函内気圧を算出することを特徴とする請求項1に記載のニューマチックケーソン工法における漏気防止装置。
  3. 前記ケーソン躯体の傾斜状態を検出する傾斜状態検出手段を設け、前記ケーソン躯体の傾斜時において、前記圧力制御手段は、前記傾斜方向検出手段から入力される傾斜データを基に、前記刃口の刃先近傍における地下水圧データの最小値を検知し得る点を割り出し、この点と、前記地下水圧検知手段のうちの少なくとも1つとの相対位置関係を把握し、前記地下水圧検知手段が検知した地下水圧の値を修正して地下水圧データの最小値とし、これに基づいて前記基準函内気圧を算出することを特徴とする請求項1又は2に記載のニューマチックケーソン工法における漏気防止装置。
  4. ニューマチックケーソン工法において、
    ケーソン躯体の刃口の刃先近傍における地盤の地下水圧を検知するとともに、
    前記ケーソン躯体の作業室内部における函内実気圧を検知し、
    前記地下水圧に基づき、前記作業室内に前記刃口外部への漏気を防止し得る作業室内水位になる基準函内気圧を設定し、
    前記基準函内気圧に前記函内実気圧が近付くように前記作業室内部の気圧を調整することを特徴とするニューマチックケーソン工法における漏気防止方法。
  5. 前記地下水圧を前記ケーソン躯体の周方向に沿う複数箇所から検知し、これら複数の地下水圧データのうち、最小の地下水圧データに基づいて前記基準函内気圧を算出することを特徴とする請求項4に記載のニューマチックケーソン工法における漏気防止方法。
  6. 前記ケーソン躯体の傾斜時において、その傾斜データを基に、前記刃口の刃先近傍における地下水圧データの最小値を検知し得る点を割り出し、この点と、前記刃口の刃先近傍における地下水圧を検知する地下水圧検知手段との相対位置関係を参照し、前記地下水圧検知手段が検知した地下水圧の値を修正して地下水圧データの最小値とし、これに基づいて前記基準函内気圧を算出することを特徴とする請求項4又は5に記載のニューマチックケーソン工法における漏気防止方法。
JP2008247244A 2008-09-26 2008-09-26 ニューマチックケーソン工法における漏気防止装置および漏気防止方法 Active JP5132506B2 (ja)

Priority Applications (1)

Application Number Priority Date Filing Date Title
JP2008247244A JP5132506B2 (ja) 2008-09-26 2008-09-26 ニューマチックケーソン工法における漏気防止装置および漏気防止方法

Applications Claiming Priority (1)

Application Number Priority Date Filing Date Title
JP2008247244A JP5132506B2 (ja) 2008-09-26 2008-09-26 ニューマチックケーソン工法における漏気防止装置および漏気防止方法

Publications (2)

Publication Number Publication Date
JP2010077690A true JP2010077690A (ja) 2010-04-08
JP5132506B2 JP5132506B2 (ja) 2013-01-30

Family

ID=42208411

Family Applications (1)

Application Number Title Priority Date Filing Date
JP2008247244A Active JP5132506B2 (ja) 2008-09-26 2008-09-26 ニューマチックケーソン工法における漏気防止装置および漏気防止方法

Country Status (1)

Country Link
JP (1) JP5132506B2 (ja)

Cited By (4)

* Cited by examiner, † Cited by third party
Publication number Priority date Publication date Assignee Title
CN104179189A (zh) * 2014-08-29 2014-12-03 上海建工七建集团有限公司 一种基坑落深区域的疏排水结构及其施工方法
JP2016084585A (ja) * 2014-10-23 2016-05-19 前田建設工業株式会社 ニューマチックケーソン工法
JP2016084586A (ja) * 2014-10-23 2016-05-19 前田建設工業株式会社 ニューマチックケーソン工法におけるケーソン作業室への適正送気圧力の決定方法
JP2017071994A (ja) * 2015-10-09 2017-04-13 鹿島建設株式会社 ニューマチックケーソン、及びニューマチックケーソンの急沈抑制方法

Families Citing this family (3)

* Cited by examiner, † Cited by third party
Publication number Priority date Publication date Assignee Title
CN105569063A (zh) * 2015-06-05 2016-05-11 中建四局第一建筑工程有限公司 地下室挡土墙周边地下水的收集利用方法及集水结构
CN106498963B (zh) * 2016-11-29 2019-01-22 江苏卓典钻掘科技有限公司 一种采用空压机和水泵集中抽水的管井降水系统
CN109898532B (zh) * 2019-03-25 2020-12-11 贵州大学 一种建筑基坑排水系统

Citations (2)

* Cited by examiner, † Cited by third party
Publication number Priority date Publication date Assignee Title
JPH10252074A (ja) * 1997-03-13 1998-09-22 Nishimatsu Constr Co Ltd ニューマチックケーソン工法
JP2006348482A (ja) * 2005-06-13 2006-12-28 Shiraishi Corp ニューマチックケーソン工法における作業室内自動水位調整システム及びその管理方法、並びにそのプログラムと記録媒体

Patent Citations (2)

* Cited by examiner, † Cited by third party
Publication number Priority date Publication date Assignee Title
JPH10252074A (ja) * 1997-03-13 1998-09-22 Nishimatsu Constr Co Ltd ニューマチックケーソン工法
JP2006348482A (ja) * 2005-06-13 2006-12-28 Shiraishi Corp ニューマチックケーソン工法における作業室内自動水位調整システム及びその管理方法、並びにそのプログラムと記録媒体

Cited By (4)

* Cited by examiner, † Cited by third party
Publication number Priority date Publication date Assignee Title
CN104179189A (zh) * 2014-08-29 2014-12-03 上海建工七建集团有限公司 一种基坑落深区域的疏排水结构及其施工方法
JP2016084585A (ja) * 2014-10-23 2016-05-19 前田建設工業株式会社 ニューマチックケーソン工法
JP2016084586A (ja) * 2014-10-23 2016-05-19 前田建設工業株式会社 ニューマチックケーソン工法におけるケーソン作業室への適正送気圧力の決定方法
JP2017071994A (ja) * 2015-10-09 2017-04-13 鹿島建設株式会社 ニューマチックケーソン、及びニューマチックケーソンの急沈抑制方法

Also Published As

Publication number Publication date
JP5132506B2 (ja) 2013-01-30

Similar Documents

Publication Publication Date Title
JP5132506B2 (ja) ニューマチックケーソン工法における漏気防止装置および漏気防止方法
JP6245499B2 (ja) 地下水位低下システム
JP6043165B2 (ja) 地下水位上昇システム、地下水位上昇方法
US12276077B2 (en) Methods and apparatus for foundation monitoring
CN101798822A (zh) 多腔室桶形基础下沉、起浮的控制方法及控制装置
JP5338064B2 (ja) 井戸及び井戸内の地下水の酸化を防止する方法、並びに非常用井戸の構築方法及びその方法で構築された非常用井戸
JP2001323477A (ja) 揚水管理システム
KR20200086359A (ko) 펌프 및 펌프를 제어하는 방법
JP5038248B2 (ja) 潜函工法における漏気防止装置
TW202001089A (zh) 用於將一浮動式風力渦輪機自運輸位置降低至工作位置之方法及浮動式風力渦輪機
JP7568718B2 (ja) 漏れ検出システム
JP4759325B2 (ja) 可動式防波堤及び可動式防波堤の昇降速度調整方法
JP6902190B2 (ja) サクション基礎の貫入方法及び貫入管理装置
JPH01187228A (ja) ニューマチックケーソンの沈設管理システム
JP2011256652A (ja) ニューマチックケーソンの沈設工法
JP3648663B2 (ja) 廃棄物処分施設
CN110321577A (zh) 承压水地层基坑内不完整井降水使坑外地表沉降计算方法
CN117250903A (zh) 自升式平台桩靴和桩腿的插拔作业监测控制系统及工艺
JP4679597B2 (ja) 潜函工法における漏気防止装置
JP7022025B2 (ja) サクション基礎及びその設置方法
JP6993296B2 (ja) 刃口部貫入幅測定装置、及び、ケーソン沈設方法
JP4753631B2 (ja) ニューマチックケーソン工法における作業室内自動水位管理方法
JPH02140367A (ja) 構造物のレベル修正装置
JP2723561B2 (ja) 構造物のレベル修正装置
CN219242229U (zh) 一种可视指示水位自启关潜水泵

Legal Events

Date Code Title Description
A621 Written request for application examination

Free format text: JAPANESE INTERMEDIATE CODE: A621

Effective date: 20110325

A977 Report on retrieval

Free format text: JAPANESE INTERMEDIATE CODE: A971007

Effective date: 20120629

A131 Notification of reasons for refusal

Free format text: JAPANESE INTERMEDIATE CODE: A131

Effective date: 20120703

A521 Written amendment

Free format text: JAPANESE INTERMEDIATE CODE: A523

Effective date: 20120822

TRDD Decision of grant or rejection written
A01 Written decision to grant a patent or to grant a registration (utility model)

Free format text: JAPANESE INTERMEDIATE CODE: A01

Effective date: 20121106

A01 Written decision to grant a patent or to grant a registration (utility model)

Free format text: JAPANESE INTERMEDIATE CODE: A01

A61 First payment of annual fees (during grant procedure)

Free format text: JAPANESE INTERMEDIATE CODE: A61

Effective date: 20121106

FPAY Renewal fee payment (event date is renewal date of database)

Free format text: PAYMENT UNTIL: 20151116

Year of fee payment: 3

R150 Certificate of patent or registration of utility model

Free format text: JAPANESE INTERMEDIATE CODE: R150

Ref document number: 5132506

Country of ref document: JP

Free format text: JAPANESE INTERMEDIATE CODE: R150