JP2010075181A - 微生物分析のための装置 - Google Patents

微生物分析のための装置 Download PDF

Info

Publication number
JP2010075181A
JP2010075181A JP2009212655A JP2009212655A JP2010075181A JP 2010075181 A JP2010075181 A JP 2010075181A JP 2009212655 A JP2009212655 A JP 2009212655A JP 2009212655 A JP2009212655 A JP 2009212655A JP 2010075181 A JP2010075181 A JP 2010075181A
Authority
JP
Japan
Prior art keywords
carrier
group
light
base
predetermined position
Prior art date
Legal status (The legal status is an assumption and is not a legal conclusion. Google has not performed a legal analysis and makes no representation as to the accuracy of the status listed.)
Granted
Application number
JP2009212655A
Other languages
English (en)
Other versions
JP4987923B2 (ja
Inventor
Gael Waiche
ガエル・ウエシユ
Sebastien Ribault
セバスチヤン・リボー
Current Assignee (The listed assignees may be inaccurate. Google has not performed a legal analysis and makes no representation or warranty as to the accuracy of the list.)
EMD Millipore Corp
Original Assignee
Millipore Corp
Priority date (The priority date is an assumption and is not a legal conclusion. Google has not performed a legal analysis and makes no representation as to the accuracy of the date listed.)
Filing date
Publication date
Application filed by Millipore Corp filed Critical Millipore Corp
Publication of JP2010075181A publication Critical patent/JP2010075181A/ja
Application granted granted Critical
Publication of JP4987923B2 publication Critical patent/JP4987923B2/ja
Active legal-status Critical Current
Anticipated expiration legal-status Critical

Links

Images

Classifications

    • GPHYSICS
    • G01MEASURING; TESTING
    • G01NINVESTIGATING OR ANALYSING MATERIALS BY DETERMINING THEIR CHEMICAL OR PHYSICAL PROPERTIES
    • G01N21/00Investigating or analysing materials by the use of optical means, i.e. using sub-millimetre waves, infrared, visible or ultraviolet light
    • G01N21/62Systems in which the material investigated is excited whereby it emits light or causes a change in wavelength of the incident light
    • G01N21/63Systems in which the material investigated is excited whereby it emits light or causes a change in wavelength of the incident light optically excited
    • G01N21/64Fluorescence; Phosphorescence
    • G01N21/645Specially adapted constructive features of fluorimeters
    • GPHYSICS
    • G01MEASURING; TESTING
    • G01NINVESTIGATING OR ANALYSING MATERIALS BY DETERMINING THEIR CHEMICAL OR PHYSICAL PROPERTIES
    • G01N21/00Investigating or analysing materials by the use of optical means, i.e. using sub-millimetre waves, infrared, visible or ultraviolet light
    • G01N21/62Systems in which the material investigated is excited whereby it emits light or causes a change in wavelength of the incident light
    • G01N21/63Systems in which the material investigated is excited whereby it emits light or causes a change in wavelength of the incident light optically excited
    • G01N21/64Fluorescence; Phosphorescence
    • G01N21/6447Fluorescence; Phosphorescence by visual observation
    • GPHYSICS
    • G01MEASURING; TESTING
    • G01NINVESTIGATING OR ANALYSING MATERIALS BY DETERMINING THEIR CHEMICAL OR PHYSICAL PROPERTIES
    • G01N21/00Investigating or analysing materials by the use of optical means, i.e. using sub-millimetre waves, infrared, visible or ultraviolet light
    • G01N21/62Systems in which the material investigated is excited whereby it emits light or causes a change in wavelength of the incident light
    • G01N21/63Systems in which the material investigated is excited whereby it emits light or causes a change in wavelength of the incident light optically excited
    • G01N21/64Fluorescence; Phosphorescence
    • G01N21/6428Measuring fluorescence of fluorescent products of reactions or of fluorochrome labelled reactive substances, e.g. measuring quenching effects, using measuring "optrodes"
    • G01N2021/6439Measuring fluorescence of fluorescent products of reactions or of fluorochrome labelled reactive substances, e.g. measuring quenching effects, using measuring "optrodes" with indicators, stains, dyes, tags, labels, marks

Landscapes

  • Health & Medical Sciences (AREA)
  • Nuclear Medicine, Radiotherapy & Molecular Imaging (AREA)
  • Physics & Mathematics (AREA)
  • Life Sciences & Earth Sciences (AREA)
  • Chemical & Material Sciences (AREA)
  • Analytical Chemistry (AREA)
  • Biochemistry (AREA)
  • General Health & Medical Sciences (AREA)
  • General Physics & Mathematics (AREA)
  • Immunology (AREA)
  • Pathology (AREA)
  • Apparatus Associated With Microorganisms And Enzymes (AREA)
  • Measuring Or Testing Involving Enzymes Or Micro-Organisms (AREA)
  • Investigating Or Analysing Materials By Optical Means (AREA)

Abstract

【課題】より良好な性能を有し且つより実用的でありながら、従来の装置に関しては蛍光を検出するための装置の提供すること。
【解決手段】蛍光体物質によってマーキングされた微生物を含むように構成された担体(41)の微生物分析のための装置は、少なくとも1つの上記光源(22)の群にそれぞれが取り付けられた2つの基部(21)を備えて上記担体(41)を照射するように構成された照射手段を備え、その群の光源(22)が上記担体(41)を照射するためのアレイを形成するように互いに規則的に間隔をあけて配置され、上記基部(21)が上記装置のフレームに固定されており、開口(9)の各側のうちの1つが上記フレームに形成されており、上記基部(21)が、上記装置への上記担体(41)の受け入れのための所定の位置の方向に互いに向かって傾けられている。
【選択図】図1

Description

本発明は、微生物の有無を検出するためにそれらの微生物を含むことがある担体の微生物分析のための装置に関する。
このような担体を分析するための1つの方法は、蛍光性又は蛍光体マーカーと称されるものによってマーキングされた後に、微生物によって発光される蛍光の分析によるそれらの微生物の存在の検出から構成される。
これらのマーカーは、微生物に含まれる酵素によってそれらが事前に活性化された場合にのみ光を発するという特殊性を有する。
これらのマーカーは、一般に、蛍光体群と、蛍光体群の蛍光発光が現れるのを隠す又は防止することができる群とを含む。微生物が存在する場合、その酵素の影響は、第1の群の蛍光が検出されることがあるために、その第2の群を変更することである。
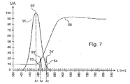
したがって、図7のスペクトル53、54によって図示されているように、そのようにマーキングされた微生物が適切な励起光に晒された場合に、蛍光体群は、頂部53’が波長λにおけるものからなる吸収スペクトル53を有する光エネルギーを吸収することができ、且つ、頂部54’がλとは異なる波長λにおけるものからなる特有の蛍光発光スペクトル54の形式でそのエネルギーを放出することができる。
そのようなマーカーの存在下で微生物によって発光される蛍光を観察するために、蛍光により、蛍光体物質によってマーキングされた微生物の存在を検出するために分析対象の担体を照射するように構成された照射手段と、照射手段によって発光された光に応じて担体から到来する光を見るための窓とを備える、微生物分析のための(例えばUS2007/0153372等において顕微鏡と一体化された)装置が既に知られている。
米国特許出願公開第2007/0153372号明細書 国際公開第2006/119277号パンフレット 国際公開第02/061405号パンフレット 国際公開第2005/064318号パンフレット 欧州特許出願公開第0753732号明細書
本発明は、従来技術の装置に対して、より良好な性能を有し且つより実用的に蛍光を検出するための装置の提供に関する。
そのために、本発明は、蛍光体物質によってマーキングされた微生物を含むように構成された担体の微生物分析のための装置であって、蛍光により、上記マーキングされた微生物の存在を検出するために上記担体を照射するように構成された照射手段と、上記照射手段によって生み出された励起光に応じて上記担体によって発光された光を見るための窓とを備え、上記照射手段が、少なくとも1つの上記光源の群にそれぞれが取り付けられた2つの基部を備え、その群の光源が上記担体を照射するためのアレイを形成するように互いに規則的に間隔をあけて配置され、上記基部が上記装置のフレームに固定されており、開口の各側のうちの1つが、上記担体によって発光された光が上記観察窓を通過するのを可能とするように上記フレームに形成されており、上記基部が、上記装置への上記担体の受け入れのための所定の位置の方向に互いに向かって傾けられていることを特徴する、装置を提供する。
光源によって生み出された励起光が、その光の励起に応じて発光された光の観察を可能とするように形成された開口の両側から発光されることから、本発明に係る装置の光源が設けられた2つの基部は、(それが装置に設置された場合に)互いに対して傾けられて分析対象の担体の方に向けられることにより、照射対象の担体の全面の対称且つ均質な照射を得るのを可能とする。
それらの2つの基部のそれぞれに規則的な配列で配置された光源の群が設けられるということはまた、特に均質なその担体の全面の照射をなすのに寄与する。
したがって、そのような構成は、肉眼で又は任意の他の像センサで微生物の存在を検出するのが容易に可能であるように、コントラストを有する均一照射を維持するとともに、顕微鏡に一体化された従来の装置についてよりも大きいサイズの担体を照射するのを可能とする。
最適条件を保ち、開口の中心位置が光源によって生み出された励起光に応じて発光された光の観察を可能としながら、特に例えば微小孔性膜を照射することが可能とされる。
製造及び使用についての簡便さ及び利便性の理由で好ましい特徴によれば:
上記光源は、それぞれ、所定の波長を中心とする同じ光スペクトルを有し、及び/又は、
上記光源は、発光ダイオードである。
他の好ましい特徴によれば、上記基部のそれぞれは、上記担体の受け入れのための上記所定の位置に対して40°から50°の角度だけ傾けられている。
意外にも、担体に対する板の傾きについての値の範囲(40°−50°)が、微生物の検出のための読み取り易さに関して最適な性能を与えた場合であることを証明している。
より詳細には、この範囲内の値が、(観察窓を介した外部からの光の拡散からの)効果現象が覆い隠し、(分析対象の担体における光の反射からの)反射現象が最小化するように現れる。
換言すれば、コントラスト、均質性、及び、輝度の観点から最良の像のレンダリングが得られるのは、この範囲内の値である。
さらに他の好ましい特徴によれば、各アレイの中心と上記装置への上記担体の受け入れのための上記所定の位置との間の高さは、上記担体と相関的関係にある。
さらに他の好ましい特徴によれば、上記アレイのそれぞれの中心は、上記担体の受け入れのための上記所定の位置から39.75mmから69.75mmの高さに位置付けられる。
特に分析対象の担体について実際に望ましい寸法を前提として、この高さの範囲は、微生物の容易な検出のための読み取りのためのコントラスト及び容易さに関して良好な性能を保つとともに、小型の装置を得るのを同時に可能とする良好な妥協案を形成した場合であることが証明されている。
さらに他の好ましい特徴によれば:
各基部において、指定された第1の群である光源の上記群と、指定された第2の群である光源の他の群とに加え、上記第2の群の上記光源が、また、上記担体を照射するための第2のアレイを形成するように互いに規則的に間隔をあけて配置されて取り付けられており、
各基部について、上記第1及び第2のアレイの中心は一致しており、
上記第1及び第2のアレイは、互いの範囲内で組み合わされており、
上記照射手段は、各基部について、上記光源によって発光された光のためのディフューザを備え、
各ディフューザは、一方の面がサンドブラストされたガラス板であり、
上記観察窓は、最長波長が通過するのを可能とするように構成されたフィルタを備え、
上記観察窓は、複数のフィルタを備え、
上記フィルタは、上記フレームに摺動可能に取り付けられたスライドに属し、
上記照射手段は、上記担体の受け入れのための上記所定の位置の全体を照射するように構成されており、及び/又は、
分析対象の上記担体は、微小孔性膜である。
本発明の特徴及び利点は、添付図面を参照しながら、好ましいが限定されない例として与えられる以下の記載から明らかとなる。
本発明に係る装置の図である。 装置における分析対象のフィルタユニットが傍に示された装置の斜視図である。 装置の下方から取られた斜視図である。 装置の中央対称面において取られた断面立面図である。 所定の波長でそれぞれ発光する発光ダイオードの2つの群が固定された、装置の2つのプリント基板のうちの1つの斜視図である。 本発明に係る装置の他の実施形態の斜視図である。 x軸に沿った波長の普通目盛とy軸に沿った相対光強度の普通目盛とを有する本発明に係る装置の異なる光学部材のスペクトル図と、微生物にマークを付けるために装置によって使用される蛍光体物質のスペクトル図とを示している。
図7において図示されているスペクトル図を用いて、その動作モードを詳述する前に、図1から図5を用いて本発明に係る装置の好ましい実施形態が記載される。
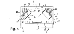
図1から図5において図示されている装置1は、ケーシング2と、2つの照射部材4から形成された照射手段3と、摺動引き出し5と、観察窓7とを備える。
ケーシングは、平行六面体の全体的な形状からなり、上壁10と、4つの側壁11から14とを有し、壁14の一部は、装置の内部を示すために意図的に示されていない。
観察窓7は、ここでは低域通過フィルタ6(すなわち、それは、最低周波数、したがって最長波長が通過するのを可能とする)によって構成されており、そのフィルタ6を内部に受け入れるように開口9がケーシング2の上壁10に形成されている。
以下に示されるように、壁10から14及び30によって範囲が定められるこのケーシング2の内部は、周囲の光から遮断されて分析対象の担体が受け入れられる分析チャンバを形成する。
分析対象の担体はフィルタユニット40、ここでは商標Milliflex(R)の下でMillipore社によって市販されているユニットに属する微小孔性膜41である。この膜41は、55mmの直径を有し、フィルタユニットの本体42によって取り囲まれている。
ここで使用される膜41は、セルロースエーテルからなり、ほとんどの場合0.10ミクロンから100ミクロンにおいてその存在を検出することが望ましい微生物を保持するのに適している孔サイズを有する。
引き出し5は、本体30と、カラー31と、把持つまみ32とを有する。
本体30において、フィルタユニット40を受け入れるように設けられた円筒状空洞33が形成されている。
照射手段3は、図3から図5を用いてここで記載される。
これらの手段3は、2つの別個の照射部材4を備える。
各部材4は、台形断面からなる取り付け部20と、ダイオード22、23からなる2つの群27、28が配設されたプリント基板21と、それらのダイオードを被覆するディフューザ24と、基板21の端縁とディフューザ24の端縁との間における2つの黒い間仕切り26とを備える。
取り付け部20は、そのケーシングの壁10上のケーシング2の内部に固定されており、その一方で、基板21は、それらの基板が担体41のための受け入れ領域33の方向に互いに向かって傾けられるように、壁10に対向して配設されたそれらから離隔されている、その傾斜面において取り付け部20に固定されている。
したがって、各取り付け部20は、壁10と、ユニット40が装置のハウジング33内にある場合(図1)に膜41が占有する所定の位置とに対して各板21が45°の傾きA(図1)を有するように設けられている。
基板21の上側端縁25は、互いに100mmに等しい距離を置く一方で、それらの端縁25は、壁10から23mm離れている。
発光ダイオード22、23の頂点は、ディフューザ24から15mm離れて配置されている。
これらのディフューザ24は、ここでは、一方の面(ダイオードの方に向けられた面)がサンドブラストされたガラス板から作られている。
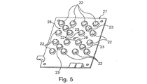
各プリント基板において、図5において図示されているように、ダイオードの第1の群27は、16個のダイオード22によって構成されて配設されており、同様に、ダイオードの第2の群28は、4つのダイオード23によって構成されている。
ダイオード22は、互いに規則的に間隔をあけて配置されており、各ダイオード22がそれらに直近のダイオード22から16mm離れて配置されるように、4つのダイオードの4つの等距離の列に配設されている。したがって、この群27は、その所定の位置においてケーシング2内に配設された場合に膜41を一様に照射するのを可能とするダイオードのアレイを形成しており、そのアレイの中心29は、その所定の位置から54.75mmの高さHに位置付けられている(図1)。
ダイオード23は、ダイオード22のアレイの中心に組み合わされて正方形の4つの隅部に分散配置されており、各ダイオード23は、それらに隣接した2つのダイオード23から32mm離れて且つその隅部において4つのダイオード22が配置されている正方形の中心に配置されている(図5)。このアレイの中心は、ダイオード22によって構成されるアレイの中心29と一致する。
ダイオード22は、参照記号LXHL−PB01の下で商品化され且つ発光スペクトル55が図7において図示されているLUMILED社製のダイオードであり、このガウス分布形式のスペクトルは、470nmの波長λにおいて頂部55’を有し、したがって、青色に発光する。
ダイオード23は、参照記号LXHL−PD01の下で商品化された同じ会社製のダイオードであり、その発光スペクトルはまた、図面において図示されていないが、ガウス分布形式からなり、625nmの波長において頂部を有し、したがって、赤色に発光する。
これらのダイオードは、25%の相対強度値について140°の放射立体角と、60%の相対強度について90°の放射立体角とを有する。
ダイオード23は、ダイオード22よりも個数が4倍少ないように、ダイオード22のものよりも略4倍大きい発光強度を有する。
ダイオード22、23のアレイは、光がダイオード22から到来するかダイオード23から到来するかにかかわらず、照射されることになるフィルタユニットにおいてできる限り最も均質な光を得るように組み合わされている(すなわち、互いの範囲内で入れ子にされている)。
ダイオードの各群は、異なる所定のタイプの蛍光体の励起することができるように所定の波長を中心とする光スペクトルを形成する。
各基板21上の導電性トラック、装置用の指令制御ユニットに対して電気的に接続される(図示せず)。
分析対象の試料の準備がここで簡潔に記載される。
実際の検出ステップの前に、作業者は、ユニット40の膜41を介した濾過によって分析対象の試料(微生物を含むことがある)を収集する。
一旦微生物が濾過されて膜に保持されると、適切な培養媒体と接触させて微生物を培養させる任意のステップが含められてもよい。この培養媒体は、好ましくは、濾過後に膜が置かれるゲル状媒体である。このステップは、任意であるが、最初に濾過された微生物のそれぞれのコロニーが得られるのを可能とし、検出対象の細胞の個数を増加させる。
膜及びそれが含む微生物は、その後、微生物の壁を浸透性の状態にするための組成物と接触して設置され、その後、蛍光体マーカーは、検出対象の微生物の内部に入れるために浸透性の状態とする組成物に組み込まれる。
ここで、本発明に係る装置に基づいてそのように準備された試料上の微生物の有無の判定の実施について記載される。
第1の段階において、引き出し5が引っ張られ、作業者は、その引き出しの空洞33に(場合によっては外部汚染から膜を保護するために図示されない透明カバーによって被覆されてもよい)フィルタユニット40を設置する。その後、照射されるために膜41がケーシング2内におけるその所定の位置に配設されるように、カラー31が壁13に当接するまで引き出し5が押し込まれる。
微生物にマークを付けるために使用される蛍光体に応じて、作業者は、次に、膜41の表面全体を一様に照射してマーキングのために供給された蛍光体を正しい波長において励起するために、対応するダイオード22又は23を(図示された例においてはダイオード22を)作動するように(例えば図面において図示されないスイッチを介して)選択する。
ディフューザ24は、基板21上のダイオードの空間分布と同様に、どのようなダイオードの群が使用されても、膜41の全面の特に均質な照射を有するのを可能とする。
基板21がフィルタ6を受け入れる開口9の各側に配設されるのにともない、肉眼であるいはカメラを介して、フィルタ6を介した膜41の光応答を観察することが可能であるように、ダイオードからの励起光に応じて発光されたフィルタユニット40から到来する光は、図1において図示されているように、そのフィルタを通過する。
微生物の存在下で得られる光応答が、図7において図示されている異なるスペクトル図を用いてここで詳細に記載される。
図7において、スペクトル55は、ガウス形式からなり、励起光のスペクトル(ここでは、スペクトルはダイオード22によって形成される)に対応し、最大光強度値に対応する頂部55’が470nmと等しい波長λにおけるものからなるピークを有する。
スペクトル53、54は、それぞれ、膜上に存在する微生物にマークを付けるためにここで選択された蛍光体の吸収スペクトル及び発光スペクトルに対応する。
ここで示される蛍光体は、5−6CFDA(カルボキシフルオレセインジアセテート)である。
吸収スペクトル53は、λよりも大きい波長λにおいて頂部53’を有し、発光スペクトル54は、λよりも大きい波長λにおいて頂部54’を有する。
図示された例において、λは492nmに等しく、λは517nmに等しく、λとλとの間の差異は、ここではλとλとの間の差異より小さい。
励起波長λは、スペクトル55の頂部55’がスペクトル53の頂部53’に対してスペクトル54の反対側にオフセットされるように、λより小さくなるように意図的に選択される。このオフセットは、その光がその励起光に応じて蛍光体によって発光された光と大幅な寄生性の干渉を引き起こすことなく、蛍光体を励起するために十分なエネルギーを有するように照射手段から光が到来するために選択される。
スペクトル56は、観察窓のフィルタ6のものであり、その遮断周波数は、基本的に、蛍光体によって発光された光を(スペクトル54)通過させ、且つ、より短い波長における光、特にユニット40における反射後にダイオード22から到来する光を止めるように選択される(ここでは約550nm)。
この出力フィルタ(カラーフィルタ)は、十分な光量が一般に明るいシーンを与えているユーザの目に戻るのを可能とするように僅かに選択的であり、したがって、肉眼で観察するのに適しているコントラスとのレベルを確保するとともに、観察するのに容易である。
照射手段3から到来する励起光がフィルタユニット40の膜41を照射する場合、蛍光体によってマーキングされた微生物を有するその膜の各位置は、フィルタ6から肉眼で直接観察可能な小サイズ(数百ミクロン)の輝点の形式で視認可能な状態となる。
角度A及び高さHの値は、肉眼かカメラを介してかにかかわらず、膜41上の輝点を読み取るのに最適な状態を形成する。
これらの値は、制御膜に対して黒色マーク及び蛍光の黄色マークを加え、その角度A及びその高さHの異なる値について、黒色マーク上の寄生性の輝度を最小にするとともに蛍光帯の輝度が最大である配置A、Hを求めることによって決定される。
このように、角度Aについての範囲(40°−50°)が、蛍光マークについての最大光強度を与え且つ実際に黒色マークについて寄生性の光がなく、したがって読み取り易さの観点から最適条件に対応することが意外にも証明された。
装置を取り付ける際の動きに対して所定の安全マージンを有するように、したがって、それは、ここで選択された45°の平均値である。
高さの値Hに関して、これは、照射対象の物体の大きさと相関関係にあり、テストされた異なる構成は、55mmの直径の膜についての且つ40°から50°の角度Aについての値の範囲についてのものが示されており、最良の結果は、39.75mmから69.75mmの高さの範囲について得られた。同様にここでは、それは、この例において選択された54.75mmの平均値である。
装置はまた、高さHを調整することにより、他の膜試料タイプを照射するように構成され、一般的に任意の担体は(表面上に又は体積中に)微生物を含むように構成されて蛍光によってその存在が検出されるのが望ましい。
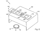
この装置の他の実施形態は、図6において示されている。
一般的に言えば、100を加えた同じ参照数字が同様の部品について使用される。
装置101は、引き出し5がないことと(フィルタユニット40は、ここでは例えばテーブルに直接設置されている)、観察窓107が、ここでは、ケーシング102の壁110に対向して配設された矩形状のスライド108と、それぞれがスライド108の対応する開口内に収容されている4つのフィルタ106から106’’’とから形成されているということを別として、装置1と同じ特徴を有する。
各光学フィルタは、低域通過フィルタであり、したがって、低周波数(最長波長)が通過するのを可能とし、その遮断周波数は、他の遮断周波数とは異なる。
スライド108は、4つのフィルタ106から106’’’のうちの任意の選択された1つが壁110の開口109と一致して設置されることができるように、その装置のガイドレール(図示せず)に係合されている。
したがって、選択された蛍光体及び作動されるダイオードに応じて、4つの使用可能なフィルタから、(例えば最良のコントラストを得るために)最も適合した遮断周波数を有する1つを選択することが可能である。
図示されていない1つの実施形態において、フィルタ6は、その通過帯域が波長λを中心とする低域通過フィルタではなく帯域通過フィルタである。
図示されていないさらに他の実施形態において、プリント基板21は、規則的に間隔をあけて配置されたダイオードの単一群、又は、3つ以上のダイオードの群のいずれかを有し、ダイオードの各群は、異なる波長によって担体41を照射するように構成されており、ダイオードの各群のアレイは、正方形、菱形、三角形等の定型的な形状を有する。
図示されていないさらに他の実施形態において、ダイオードは、化学発光による光点等の任意の他のタイプの局部的で且つ単一の光源と置換され、及び/又は、プリント基板は、ガラス又はセラミック板等の光源を支持することができる任意の他のタイプの基部と置換される。
最後に、そのような照射システムはまた、顕微鏡による分析、バイオチップの走査、蛍光による板の読み取り、サイトメトリー、トランスイルミネーター、PCRのリアルタイム読み取り等の多くの他の用途のための異なるバージョンにて形成され得るということに留意されたく、次いで、これらの用途のそれぞれについて、装置の幾何構成は、対象となっている用途に特有のバージョンである。基部21が固定される装置のフレームは、必ずしも図示されたケーシング2のようなケーシングではなく、例えば顕微鏡の光学系を取り囲むフープであってもよい。
本発明は、記載されて示された実施形態に限定されるものではなく、そのいかなる変形も含む。
1、101 装置
2、102 ケーシング、フレーム
3 照射手段
4 照射部材
5 摺動引き出し
6、106、106’、106’’、106’’’ 低域通過フィルタ
7、107 観察窓
9、109 開口
10、110 上壁
11、12、13、14 側壁
20 取り付け部
21 プリント基板
22、23 ダイオード
24 ディフューザ
25 上側端縁
26 間仕切り
27、28 群
29 中心
30 本体
31 カラー
32 把持つまみ
33 円筒状空洞、受け入れ領域、ハウジング
40 フィルタユニット
41 微小孔性膜、担体
42 フィルタユニットの本体
53、54、55、56 スペクトル
53’、54’、55’ 頂部
108 スライド
A 角度
H 高さ
λ、λ、λ 波長

Claims (16)

  1. 蛍光体物質によってマーキングされた微生物を含むように構成された担体(41)の微生物分析のための装置であって、蛍光により、前記マーキングされた微生物の存在を検出するために前記担体(41)を照射するように構成された照射手段(3)と、前記照射手段(3)によって生み出された励起光に応じて前記担体(41)によって発光された光を見るための窓(7、107)とを備え、前記照射手段(3)が、少なくとも1つの前記光源(22)の群(27)にそれぞれが取り付けられた2つの基部(21)を備え、その群(27)の光源(22)が前記担体(41)を照射するためのアレイを形成するように互いに規則的に間隔をあけて配置され、前記基部(21)が前記装置のフレーム(2、102)に固定されており、開口(9、109)の各側のうちの1つが、前記担体(41)によって発光された光が前記観察窓(7、107)を通過するのを可能とするように前記フレーム(2、102)に形成されており、前記基部(21)が、前記装置への前記担体(41)の受け入れのための所定の位置の方向に互いに向かって傾けられていることを特徴する、装置。
  2. 前記光源(22)が、それぞれ、所定の波長(λ)を中心とする同じ光スペクトル(55)を有することを特徴する、請求項1に記載の装置。
  3. 前記光源が発光ダイオード(22)であることを特徴する、請求項2に記載の装置。
  4. 前記基部(21)のそれぞれが、前記担体(41)の受け入れのための前記所定の位置に対して40°から50°の角度(A)だけ傾けられていることを特徴する、請求項1から3のいずれか一項に記載の装置。
  5. 各アレイ(27)の中心(29)と前記装置への前記担体(41)の受け入れのための前記所定の位置との間の高さ(H)が、前記担体(41)と相関的関係にあることを特徴する、請求項1から4のいずれか一項に記載の装置。
  6. 前記アレイ(27、28)のそれぞれの中心(29)が、前記担体(41)の受け入れのための前記所定の位置から39.75mmから69.75mmの高さ(H)に位置付けられていることを特徴する、請求項5に記載の装置。
  7. 各基部(21)において、指定された第1の群(27)である光源(22)の前記群(27)と、指定された第2の群である光源(23)の他の群(28)とに加え、前記第2の群の前記光源(23)が、また、前記担体(41)を照射するための第2のアレイを形成するように互いに規則的に間隔をあけて配置されて取り付けられていることを特徴する、請求項1から6のいずれか一項に記載の装置。
  8. 各基部(21)について、前記第1及び第2のアレイ(27、28)の中心(29)が一致していることを特徴する、請求項7に記載の装置。
  9. 前記第1及び第2のアレイ(27、28)が、互いの範囲内で組み合わされていることを特徴する、請求項8に記載の装置。
  10. 前記照射手段(3)が、各基部(21)について、前記光源(22、23)によって発光された光のためのディフューザ(24)を備えることを特徴する、請求項1から9のいずれか一項に記載の装置。
  11. 各ディフューザ(24)が、一方の面がサンドブラストされたガラス板であることを特徴する、請求項10に記載の装置。
  12. 前記観察窓(7、107)が、最長波長が通過するのを可能とするように構成されたフィルタ(6、106)を備えることを特徴する、請求項1から11のいずれか一項に記載の装置。
  13. 前記観察窓(107)が複数のフィルタ(106、106’、106’’、106’’’)を備えることを特徴する、請求項12に記載の装置。
  14. 前記フィルタ(106、106’、106’’、106’’’)が、前記フレーム(102)に摺動可能に取り付けられたスライド(108)に属していることを特徴する、請求項13に記載の装置。
  15. 前記照射手段(3)が、前記担体(41)の受け入れのための前記所定の位置の全体を照射するように構成されていることを特徴する、請求項1から14のいずれか一項に記載の装置。
  16. 分析対象の前記担体が、微小孔性膜(41)であることを特徴する、請求項15に記載の装置。
JP2009212655A 2008-09-23 2009-09-15 微生物分析のための装置 Active JP4987923B2 (ja)

Applications Claiming Priority (2)

Application Number Priority Date Filing Date Title
FR0856405 2008-09-23
FR0856405A FR2936251B1 (fr) 2008-09-23 2008-09-23 Dispositif pour l'analyse microbiologique.

Publications (2)

Publication Number Publication Date
JP2010075181A true JP2010075181A (ja) 2010-04-08
JP4987923B2 JP4987923B2 (ja) 2012-08-01

Family

ID=40673135

Family Applications (1)

Application Number Title Priority Date Filing Date
JP2009212655A Active JP4987923B2 (ja) 2008-09-23 2009-09-15 微生物分析のための装置

Country Status (9)

Country Link
US (1) US10422748B2 (ja)
EP (1) EP2166341B1 (ja)
JP (1) JP4987923B2 (ja)
CN (1) CN101724683B (ja)
ES (1) ES2673003T3 (ja)
FR (1) FR2936251B1 (ja)
PL (1) PL2166341T3 (ja)
SG (1) SG160280A1 (ja)
TR (1) TR201807448T4 (ja)

Cited By (1)

* Cited by examiner, † Cited by third party
Publication number Priority date Publication date Assignee Title
JP2012055267A (ja) * 2010-09-10 2012-03-22 Kanagawa Acad Of Sci & Technol 細胞観察装置および細胞観察方法

Families Citing this family (7)

* Cited by examiner, † Cited by third party
Publication number Priority date Publication date Assignee Title
FR2936252B1 (fr) * 2008-09-23 2010-11-05 Millipore Corp Dispositif pour l'analyse microbiologique.
TW201200859A (en) 2010-06-30 2012-01-01 Yayatech Co Ltd Fluoroscopy light source device
CN101893809B (zh) * 2010-06-30 2012-07-25 亚亚科技股份有限公司 荧光摄影的光源装置
CN101916029B (zh) * 2010-07-26 2011-12-28 亚亚科技股份有限公司 高效能的荧光摄影光源装置
TWM464652U (zh) * 2013-05-07 2013-11-01 Smobio Inc 具有導光效果之燈箱
US11719622B2 (en) * 2020-10-13 2023-08-08 Arion Bio, Inc. Apparatus for quickly displaying coronavirus test result
CN114480099B (zh) * 2022-02-24 2023-07-18 温州大学 一种微生物检验装置

Citations (4)

* Cited by examiner, † Cited by third party
Publication number Priority date Publication date Assignee Title
JP2000151916A (ja) * 1998-11-12 2000-05-30 Fuji Photo Film Co Ltd 画像情報読取装置
JP2000235002A (ja) * 1999-02-15 2000-08-29 Fuji Photo Film Co Ltd 撮影方法および撮影装置
JP2003124528A (ja) * 2001-08-09 2003-04-25 Matsushita Electric Ind Co Ltd Led照明装置およびカード型led照明光源
JP2005250130A (ja) * 2004-03-04 2005-09-15 Olympus Corp 蛍光観察用照明装置

Family Cites Families (32)

* Cited by examiner, † Cited by third party
Publication number Priority date Publication date Assignee Title
US5681712A (en) * 1995-06-02 1997-10-28 Minnesota Mining And Manufacturing Company Surface colony counting device and method of use
FR2735255B1 (fr) * 1995-06-12 1998-06-19 Biocom Sa Procede de numerisation de particules faiblement luminescentes
JPH09281078A (ja) 1996-04-09 1997-10-31 Hitachi Electron Eng Co Ltd Dna塩基配列決定装置
US6122396A (en) 1996-12-16 2000-09-19 Bio-Tech Imaging, Inc. Method of and apparatus for automating detection of microorganisms
JPH10300672A (ja) 1997-04-30 1998-11-13 Fuji Photo Film Co Ltd 蛍光画像読み取り方法および装置
JP2002500353A (ja) * 1997-12-23 2002-01-08 ダコ アクティーゼルスカブ 支持部材の面上に載せられたサンプルを処理するためのカートリッジ装置
US6830731B1 (en) 1998-01-05 2004-12-14 Biosite, Inc. Immunoassay fluorometer
US6547394B2 (en) 1998-10-20 2003-04-15 Victor J. Doherty Hand-held ophthalmic illuminator
US6395556B1 (en) 1998-11-11 2002-05-28 Joseph R. Lakowicz Polarization based sensing
JP2000316596A (ja) 1999-05-06 2000-11-21 Nippon Mizushori Giken:Kk 菌類の即時判別方法及び装置
US6451191B1 (en) 1999-11-18 2002-09-17 3M Innovative Properties Company Film based addressable programmable electronic matrix articles and methods of manufacturing and using the same
JP2003532474A (ja) 2000-05-09 2003-11-05 イメージング・ダイアグノスティック・システムズ、インコーポレイテッド 乳房画像用多波長同時データ取得を用いた医療用光学画像スキャナ
US6509166B1 (en) 2000-11-28 2003-01-21 Robert A. Levine Detection and quantification of one or more target analytes in a sample using spatially localized analyte reproduction
AU2002227838A1 (en) * 2001-01-31 2002-08-12 Eva F. Dickson Method and hand-held device for fluorescence detection
JP2002228663A (ja) 2001-02-05 2002-08-14 I Bio:Kk 蛍光免疫測定装置
WO2003008634A1 (en) 2001-07-18 2003-01-30 Asahi Breweries, Ltd. Microbe examining device and method
JP3723145B2 (ja) * 2002-03-28 2005-12-07 富士写真フイルム株式会社 撮像装置、画像処理装置ならびに撮像システム
US6825930B2 (en) * 2002-06-04 2004-11-30 Cambridge Research And Instrumentation, Inc. Multispectral imaging system
FI112504B (fi) 2002-08-07 2003-12-15 Cyflo Oy Menetelmä bakteerien tunnistamiseksi
US6985224B2 (en) 2003-03-14 2006-01-10 The United States Of America As Represented By The Secretary Of The Navy Light emitting diode (LED) array for excitation emission matrix (EEM) fluorescence spectroscopy
GB0326928D0 (en) * 2003-11-19 2003-12-24 Johnson Matthey Plc Apparatus and method for identifying a liquid product
GB0329849D0 (en) * 2003-12-23 2004-01-28 Precisense As Fluorometers
JP4546741B2 (ja) 2004-01-08 2010-09-15 オリンパス株式会社 蛍光顕微鏡
JP2005283322A (ja) 2004-03-30 2005-10-13 Fuji Photo Film Co Ltd 撮影装置
US7457363B2 (en) * 2004-06-30 2008-11-25 Intel Corporation Method and apparatus for multi-threaded variable length coding
US20060024815A1 (en) 2004-07-30 2006-02-02 Allman Steve L High sensitivity array-based detection system
FR2881225B1 (fr) 2005-01-21 2007-10-26 Cypher Science Sarl Appareil de detection portable permettant de detecter sur le terrain des elements marques par fluorescence
CA2607045A1 (en) * 2005-05-04 2006-11-09 Stratagene California System and method for a pulsed light source used in fluorescence detection
US8173973B2 (en) 2005-10-06 2012-05-08 Nanyang Technological University Eliminating fluorescence background noise
US20070153372A1 (en) * 2006-01-03 2007-07-05 Physical Sciences, Inc. Fluorescence illumination method and apparatus for stereomicroscopes
JP2008187935A (ja) 2007-02-02 2008-08-21 Matsushita Electric Ind Co Ltd 微生物計数装置および点検用チップ
FR2936252B1 (fr) 2008-09-23 2010-11-05 Millipore Corp Dispositif pour l'analyse microbiologique.

Patent Citations (4)

* Cited by examiner, † Cited by third party
Publication number Priority date Publication date Assignee Title
JP2000151916A (ja) * 1998-11-12 2000-05-30 Fuji Photo Film Co Ltd 画像情報読取装置
JP2000235002A (ja) * 1999-02-15 2000-08-29 Fuji Photo Film Co Ltd 撮影方法および撮影装置
JP2003124528A (ja) * 2001-08-09 2003-04-25 Matsushita Electric Ind Co Ltd Led照明装置およびカード型led照明光源
JP2005250130A (ja) * 2004-03-04 2005-09-15 Olympus Corp 蛍光観察用照明装置

Cited By (1)

* Cited by examiner, † Cited by third party
Publication number Priority date Publication date Assignee Title
JP2012055267A (ja) * 2010-09-10 2012-03-22 Kanagawa Acad Of Sci & Technol 細胞観察装置および細胞観察方法

Also Published As

Publication number Publication date
US10422748B2 (en) 2019-09-24
FR2936251A1 (fr) 2010-03-26
PL2166341T3 (pl) 2018-08-31
JP4987923B2 (ja) 2012-08-01
CN101724683B (zh) 2015-07-01
US20100075408A1 (en) 2010-03-25
TR201807448T4 (tr) 2018-06-21
ES2673003T3 (es) 2018-06-19
SG160280A1 (en) 2010-04-29
CN101724683A (zh) 2010-06-09
FR2936251B1 (fr) 2010-11-05
EP2166341B1 (en) 2018-03-14
EP2166341A1 (en) 2010-03-24

Similar Documents

Publication Publication Date Title
JP6275105B2 (ja) 微生物分析のための装置
JP4987923B2 (ja) 微生物分析のための装置
CN101501549B (zh) 固态荧光光组件和显微镜
US8842173B2 (en) Biological image acquisition device
US11112362B2 (en) Portable in-vitro diagnostic detector and apparatus
US20120301872A1 (en) System and method for increased fluorescence detection
JP2005274355A (ja) 蛍光画像取得装置
US6762840B1 (en) Image information reading apparatus designed to maintain light amount to be detected at uniform level
RU2009123022A (ru) Диффузная оптическая томография с маркерами, содержащими флуоресцентный материал
US20090152474A1 (en) Fluorescent Imaging Device Comprising a Two-Wavelength Variable Lighting Power Light Source
CN215726620U (zh) 一种利用反射的气密性多重快速检测系统
US9207178B2 (en) Double-light cabinet for biological test
CN220251729U (zh) 一种样本检测装置及核酸检测设备
US20240418972A1 (en) Photostable crystalline substrates for fluorescence microscopy
CN121002361A (zh) 菌体观察装置
TW202122567A (zh) 微生物之檢查裝置
MX2010004152A (es) Dispositivo detector de fluorescencia.
TWM442362U (en) Excitation light source for inducing fluorescent signal

Legal Events

Date Code Title Description
A977 Report on retrieval

Free format text: JAPANESE INTERMEDIATE CODE: A971007

Effective date: 20110714

A131 Notification of reasons for refusal

Free format text: JAPANESE INTERMEDIATE CODE: A131

Effective date: 20110802

A601 Written request for extension of time

Free format text: JAPANESE INTERMEDIATE CODE: A601

Effective date: 20111031

A602 Written permission of extension of time

Free format text: JAPANESE INTERMEDIATE CODE: A602

Effective date: 20111104

A521 Request for written amendment filed

Free format text: JAPANESE INTERMEDIATE CODE: A523

Effective date: 20120126

TRDD Decision of grant or rejection written
A01 Written decision to grant a patent or to grant a registration (utility model)

Free format text: JAPANESE INTERMEDIATE CODE: A01

Effective date: 20120403

A01 Written decision to grant a patent or to grant a registration (utility model)

Free format text: JAPANESE INTERMEDIATE CODE: A01

A61 First payment of annual fees (during grant procedure)

Free format text: JAPANESE INTERMEDIATE CODE: A61

Effective date: 20120425

R150 Certificate of patent or registration of utility model

Free format text: JAPANESE INTERMEDIATE CODE: R150

Ref document number: 4987923

Country of ref document: JP

Free format text: JAPANESE INTERMEDIATE CODE: R150

FPAY Renewal fee payment (event date is renewal date of database)

Free format text: PAYMENT UNTIL: 20150511

Year of fee payment: 3

R250 Receipt of annual fees

Free format text: JAPANESE INTERMEDIATE CODE: R250

R250 Receipt of annual fees

Free format text: JAPANESE INTERMEDIATE CODE: R250

R250 Receipt of annual fees

Free format text: JAPANESE INTERMEDIATE CODE: R250

S531 Written request for registration of change of domicile

Free format text: JAPANESE INTERMEDIATE CODE: R313531

R350 Written notification of registration of transfer

Free format text: JAPANESE INTERMEDIATE CODE: R350

R250 Receipt of annual fees

Free format text: JAPANESE INTERMEDIATE CODE: R250

R250 Receipt of annual fees

Free format text: JAPANESE INTERMEDIATE CODE: R250

R250 Receipt of annual fees

Free format text: JAPANESE INTERMEDIATE CODE: R250

R250 Receipt of annual fees

Free format text: JAPANESE INTERMEDIATE CODE: R250

R250 Receipt of annual fees

Free format text: JAPANESE INTERMEDIATE CODE: R250

R250 Receipt of annual fees

Free format text: JAPANESE INTERMEDIATE CODE: R250

R250 Receipt of annual fees

Free format text: JAPANESE INTERMEDIATE CODE: R250

R250 Receipt of annual fees

Free format text: JAPANESE INTERMEDIATE CODE: R250