JP2010071894A - 光ファイバジャイロ - Google Patents

光ファイバジャイロ Download PDF

Info

Publication number
JP2010071894A
JP2010071894A JP2008241637A JP2008241637A JP2010071894A JP 2010071894 A JP2010071894 A JP 2010071894A JP 2008241637 A JP2008241637 A JP 2008241637A JP 2008241637 A JP2008241637 A JP 2008241637A JP 2010071894 A JP2010071894 A JP 2010071894A
Authority
JP
Japan
Prior art keywords
light
optical fiber
optical
loop
clockwise
Prior art date
Legal status (The legal status is an assumption and is not a legal conclusion. Google has not performed a legal analysis and makes no representation as to the accuracy of the status listed.)
Granted
Application number
JP2008241637A
Other languages
English (en)
Other versions
JP5224213B2 (ja
Inventor
Yoshinobu Maeda
佳伸 前田
Current Assignee (The listed assignees may be inaccurate. Google has not performed a legal analysis and makes no representation or warranty as to the accuracy of the list.)
Kindai University
Original Assignee
Kindai University
Priority date (The priority date is an assumption and is not a legal conclusion. Google has not performed a legal analysis and makes no representation as to the accuracy of the date listed.)
Filing date
Publication date
Application filed by Kindai University filed Critical Kindai University
Priority to JP2008241637A priority Critical patent/JP5224213B2/ja
Publication of JP2010071894A publication Critical patent/JP2010071894A/ja
Application granted granted Critical
Publication of JP5224213B2 publication Critical patent/JP5224213B2/ja
Expired - Fee Related legal-status Critical Current
Anticipated expiration legal-status Critical

Links

Images

Landscapes

  • Gyroscopes (AREA)
  • Lasers (AREA)

Abstract

【課題】構造が簡単であり、しかも高い精度で回転角速度の検出ができる光ファイバジャイロを提供する。
【解決手段】ループ状光ファイバ12に介挿された光信号増幅装置14では、時計方向光Lcwおよび反時計方向光Lccw の波長λ1以外の周囲光の全部または一部が光ファイバグレーティング部32により反射されて半導体光増幅器30に再度入力されることから、強度反転を示す周囲光がフィードバックさせられることにより半導体光増幅器30の利得を入力光に応じて変調して負帰還光増幅効果が得られるので、時計方向光Lcwおよび反時計方向光Lccw の波形の歪みが低減される。それらの光の変調度が高められ、それらの周波数差Δfにより発生するビート信号SBもシャープに得られ、そのビート信号SBの解析から得られるビート周波数fb およびそのビート周波数fb から得られる回転角速度ωの精度が十分に得られる。
【選択図】図5

Description

本発明は、ループ状光ファイバ内を時計方向に伝播する時計方向光および反時計方向に伝播する反時計方向光の相互間に発生する周波数差に基づいてそのループ状光ファイバの回転角速度を検出する光ファイバジャイロに関し、回転角速度を検出精度を高める技術に関するものである。
ループ状光ファイバと、そのループ状光ファイバの所定位置に光学的に結合された状態で介挿されてそのループ状光ファイバ内を時計方向に伝播する時計方向光および反時計方向に伝播する反時計方向光をそれぞれ増幅する光信号増幅装置とを備え、そのループ状光ファイバ内を伝播する時計方向光および反時計方向光の相互間に発生する周波数差に基づいてそのループ状光ファイバの回転角速度を検出する光ファイバジャイロが知られている。たとえば、特許文献1に記載された光ファイバジャイロがそれである。
この光ファイバジャイロによれば、ループ状光ファイバ内において時計方向および反時計方向にそれぞれ伝播するレーザ光を増幅するために多くの光結合器すなわち光カプラを設け、その光結合器を介して増幅光によってレーザ光を増幅する従来のブリリアン型光ファイバジャイロなどに比較して、光ファイバジャイロの構造が簡単となる利点がある。
特開2001−71614号公報
ところで、上記光ファイバジャイロでは、予め設定されたビート周波数と回転角速度との関係から、そのループ状光ファイバ内を伝播する時計方向光および反時計方向光の相互間に発生する周波数差に起因して発生するビート信号の周波数に基づいて回転角速度が算出される。しかしながら、上記ループ状光ファイバ内を伝播する時計方向光および反時計方向光は、比較的揃った波長の定常状態ではあるものの光共振器で発振させられたような一定の波長ではなく、変調度が十分に高くないので、それらの周波数差により発生するビート信号のピークもシャープに得られず、そのビート信号の解析から得られるビート周波数およびそのビート周波数から得られる回転角速度の精度が十分に得られない場合があった。
本発明は以上の事情を背景としてなされたものであり、その目的とするところは、構造が簡単であり、しかも高い精度で回転角速度の検出ができる光ファイバジャイロを提供する。
すなわち、前記目的を達成するための請求項1にかかる発明は、(a) ループ状光ファイバと、該ループ状光ファイバの所定位置に光学的に結合された状態で介挿されて該ループ状光ファイバ内を時計方向に伝播する時計方向光および反時計方向に伝播する反時計方向光をそれぞれ増幅する光信号増幅装置とを備え、該ループ状光ファイバ内を伝播する時計方向光および反時計方向光の相互間に発生する周波数差に基づいて該ループ状光ファイバの回転角速度を検出する光ファイバジャイロであって、(b) 前記光信号増幅装置は、(b-1) 前記時計方向光および反時計方向光が入力されると該時計方向光および反時計方向光をそれぞれ増幅して出力すると共に、該時計方向光および反時計方向光の強度に対して強度反転した該時計方向光および反時計方向光の波長以外の周囲光を放射する半導体光増幅器と、(b-2) 前記半導体光増幅器から放射される前記時計方向光および反時計方向光の波長以外の周囲光の全部または一部を反射して該半導体光増幅器へ入射させる波長選択性反射素子とを、含むことを特徴とする。
また、請求項2に係る発明は、請求項1に記載の光ファイバジャイロにおいて、(c) 前記波長選択性反射素子は、該半導体光増幅器に光学的に結合された前記ループ状光ファイバの一端部および他端部の少なくとも一方に設けられ、前記半導体光増幅器から放射される光のうち前記時計方向光および反時計方向光の波長以外の周囲光の全部または一部を反射して該半導体光増幅器へ入射させる光ファイバグレーティング部であることを特徴とする。
また、請求項3に係る発明は、請求項2に記載の光ファイバジャイロにおいて、(d) 前記ループ状光ファイバの前記光ファイバグレーティング部が設けられた端部の端面に先球レンズが備えられ、前記半導体光増幅器からの出力光は、該先球レンズに直接入射されることを特徴とする。
また、請求項4に係る発明は、請求項1乃至3のいずれか1に記載の光ファイバジャイロにおいて、(e) 前記半導体光増幅器は、pn接合から成る活性層を備えた半導体光増幅器であって、該活性層がバルク、量子井戸、歪み超格子、または量子ドットから構成されるものであることを特徴とする。
また、請求項5に係る発明は、請求項1乃至4のいずれか1の光ファイバジャイロにおいて、(f) 前記ループ状光ファイバに設けられ、該ループ状光ファイバ内を伝播する時計方向光の一部および反時計方向光の一部をそれぞれ取り出す双方向光取出用光カプラと、(g) 該双方向光取出用カプラによりループ状光ファイバ内から取り出された時計方向光の一部および反時計方向光の一部を相互に合波し、時計方向光および反時計方向光の相互間に発生する周波数差に起因するビート光を出力する光合波素子と、(h) 該光合波素子により合波されたビート光を電気信号に変換する合波光検出器と、(i) 該合波光検出器により変換された電気信号に含まれるビート信号の周波数を解析する周波数解析部と、(j) 予め記憶された関係から該周波数解析部により解析されたビート信号の周波数に基づいて前記ループ状光ファイバの回転角速度を算出する回転角速度算出部とを、含むことを特徴とする。
また、請求項6に係る発明は、(a) ループ状光ファイバと、該ループ状光ファイバの所定位置に光学的に結合された状態で介挿されて該ループ状光ファイバ内を時計方向に伝播する時計方向光および反時計方向に伝播する反時計方向光をそれぞれ増幅する光信号増幅装置とを備え、該ループ状光ファイバ内を伝播する時計方向光および反時計方向光の相互間に発生する周波数差に基づいて該ループ状光ファイバの回転角速度を検出する光ファイバジャイロであって、(b) 前記光信号増幅装置は、(b-1) 前記時計方向光が入力されると、該時計方向光を増幅して出力すると共に、該時計方向光の強度に対して強度反転した該時計方向光の波長以外の第1周囲光を放射する第1半導体光増幅器と、(b-2) 該第1半導体光増幅器から入力側へ放射される前記第1周囲光の全部または一部を反射して該第1半導体光増幅器へ入射させる第1波長選択性反射素子と、(b-3) 前記反時計方向光が入力されると、該反時計方向光を増幅して出力すると共に、該反時計方向光の強度に対して強度反転した該反時計方向光の波長以外の第2周囲光を放射する第2半導体光増幅器と、(b-4) 該第2半導体光増幅器から入力側へ放射される前記第2周囲光の全部または一部を反射して該第2半導体光増幅器へ入射させる第2波長選択性反射素子と、(b-5) 前記第1半導体光増幅器から出力側へ放射される前記第1周囲光の全部または一部を反射して前記第2半導体光増幅器の出力側へ入射させる第3波長選択性反射素子と、(b-6) 前記ループ状光ファイバ内の反時計方向光の一部を取り出して前記第2半導体光増幅器の出力側へ入射させるとともに、前記第1半導体光増幅器および第2半導体光増幅器の出力光を該ループ状光ファイバ内へ時計方向光として入射させる光カプラとを、含むことを特徴とする。
また、請求項7に係る発明は、請求項6に記載の光ファイバジャイロにおいて、(c) 前記第1波長選択性反射素子は、該第1半導体光増幅器に光学的に結合された前記ループ状光ファイバの一端部および他端部の一方に設けられ、前記第1半導体光増幅器から放射される第1周囲光の全部または一部を反射して該第1半導体光増幅器へ入射させる第1光ファイバグレーティング部であり、(d) 前記第2波長選択性反射素子は、該第2半導体光増幅器に光学的に結合された前記ループ状光ファイバの一端部および他端部の他方に設けられ、前記第2半導体光増幅器から放射される第2周囲光の全部または一部を反射して該第2半導体光増幅器へ入射させる第2光ファイバグレーティング部であることを特徴とする。
また、請求項8に係る発明は、請求項7に記載の光ファイバジャイロにおいて、(e) 前記ループ状光ファイバの前記第1光ファイバグレーティング部および第2光ファイバグレーティング部が設けられた両端部の端面に先球レンズがそれぞれ備えられ、前記第1半導体光増幅器および第2半導体光増幅器からの出力光は、該先球レンズに直接入射されることを特徴とする。
また、請求項9に係る発明は、請求項6乃至8のいずれか1の光ファイバジャイロにおいて、(f) 前記第1半導体光増幅器および第2半導体光増幅器の出力側と光学的に結合する第1分岐ファイバ部および第2分岐ファイバ部と、該第1分岐ファイバおよび第2分岐ファイバが溶融延伸されて前記光カプラに結合された共通ファイバ部とを備えたY字型ファイバを含み、(g) 前記第3波長選択性反射素子は、該共通ファイバ部に設けられ、前記第1半導体光増幅器から放射される第1周囲光の全部または一部を反射して前記第2半導体光増幅器の出力側へ入射させる第3光ファイバグレーティング部であることを特徴とする。
また、請求項10に係る発明は、請求項6乃至9のいずれか1の光ファイバジャイロにおいて、(h) 前記第1半導体光増幅器および第2半導体光増幅器は、pn接合から成る活性層を備えた半導体光増幅器であって、該活性層がバルク、量子井戸、歪み超格子、または量子ドットから構成されるものであることを特徴とする。
また、請求項11に係る発明は、請求項6乃至10のいずれか1の光ファイバジャイロにおいて、(i) 前記ループ状光ファイバに設けられ、該ループ状光ファイバ内を伝播する時計方向光の一部および反時計方向光の一部をそれぞれ取り出す双方向光取出用光カプラと、(j) 該双方向光取出用カプラによりループ状光ファイバ内から取り出された時計方向光の一部および反時計方向光の一部を相互に合波し、時計方向光および反時計方向光の相互間に発生する周波数差に起因するビート光を出力する光合波素子と、(k) 該光合波素子により合波されたビート光を電気信号に変換する合波光検出器と、(l) 該合波光検出器により変換された電気信号に含まれるビート信号の周波数を解析する周波数解析部と、(m) 予め記憶された関係から該周波数解析部により解析されたビート信号の周波数に基づいて前記ループ状光ファイバの回転角速度を算出する回転角速度算出部とを、含むことを特徴とする。
請求項1にかかる発明の光ファイバジャイロによれば、光信号増幅装置が、(b-1) 前記時計方向光および反時計方向光が入力されると該時計方向光および反時計方向光をそれぞれ増幅して出力すると共に、該時計方向光および反時計方向光の強度に対して強度反転した該時計方向光および反時計方向光の波長以外の周囲光を放射する半導体光増幅器と、(b-2) 前記半導体光増幅器から放射される前記時計方向光および反時計方向光の波長以外の周囲光の全部または一部を反射して該半導体光増幅器へ入射させる波長選択性反射素子とを含み、前記時計方向光および反時計方向光の波長以外の周囲光の全部または一部が波長選択性反射素子により反射されて半導体光増幅器に再度入力されることから、強度反転を示す周囲光がフィードバックさせられることにより半導体光増幅器の利得を入力光信号に応じて変調して負帰還光増幅効果が得られるので、時計方向光および反時計方向光の波形の歪みが低減される。これにより、時計方向光および反時計方向光の変調度が高めれるので、それらの周波数差により発生するビート信号のピークもシャープに得られ、そのビート信号の解析から得られるビート周波数およびそのビート周波数から得られる回転角速度の精度が十分に得られる。
また、請求項2に係る発明の光ファイバジャイロによれば、前記波長選択性反射素子は、該半導体光増幅器に光学的に結合された前記ループ状光ファイバの一端部および他端部の少なくとも一方に設けられ、前記半導体光増幅器から放射される光のうち前記時計方向光および反時計方向光の波長以外の周囲光の全部または一部を反射して該半導体光増幅器へ入射させる光ファイバグレーティング部であることから、半導体光増幅器とループ状光ファイバの端部との間の光学的な結合構造が簡単且つ小型となる。
また、請求項3に係る発明の光ファイバジャイロによれば、前記ループ状光ファイバの前記光ファイバグレーティング部が設けられた端部の端面に先球レンズが備えられ、前記半導体光増幅器からの出力光は、該先球レンズに直接入射されることから、半導体光増幅器とループ状光ファイバの端部との間の光学的な結合構造が一層簡単且つ小型となる。
また、請求項4に係る発明の光ファイバジャイロによれば、前記半導体光増幅器は、pn接合から成る活性層を備えた半導体光増幅器であって、該活性層がバルク、量子井戸、歪み超格子、または量子ドットから構成されるものであることから、光信号増幅装置が一層小型化されて1チップ化が可能となるとともに、特に量子井戸、量子ドットから活性層が構成される場合には、10GHzオーダの高周波数領域において信号増幅が可能となって前記時計方向光および反時計方向光の周波数が高められるので、そのビート周波数から得られる回転角速度の精度が一層高められる。
また、請求項5に係る発明の光ファイバジャイロによれば、前記ループ状光ファイバに設けられ、該ループ状光ファイバ内を伝播する時計方向光の一部および反時計方向光の一部をそれぞれ取り出す双方向光取出用光カプラと、該双方向光取出用カプラによりループ状光ファイバ内から取り出された時計方向光の一部および反時計方向光の一部を相互に合波し、時計方向光および反時計方向光の相互間に発生する周波数差に起因するビート光を出力する光合波素子と、該光合波素子により合波されたビート光を電気信号に変換する合波光検出器と、該合波光検出器により変換された電気信号に含まれるビート信号の周波数を解析する周波数解析部と、予め記憶された関係から該周波数解析部により解析されたビート信号の周波数に基づいて前記ループ状光ファイバの回転角速度を算出する回転角速度算出部とを、含むことから、構造が簡単で、しかも高い精度で回転角速度の検出ができる光ファイバジャイロを得ることができる。
また、請求項6に係る発明の光ファイバジャイロによれば、光信号増幅装置は、(b-1) 前記時計方向光が入力されると、該時計方向光を増幅して出力すると共に、該時計方向光の強度に対して強度反転した該時計方向光の波長以外の第1周囲光を放射する第1半導体光増幅器と、(b-2) 該第1半導体光増幅器から入力側へ放射される前記第1周囲光の全部または一部を反射して該第1半導体光増幅器へ入射させる第1波長選択性反射素子と、(b-3) 前記反時計方向光が入力されると、該反時計方向光を増幅して出力すると共に、該反時計方向光の強度に対して強度反転した該反時計方向光の波長以外の第2周囲光を放射する第2半導体光増幅器と、(b-4) 該第2半導体光増幅器から入力側へ放射される前記第2周囲光の全部または一部を反射して該第2半導体光増幅器へ入射させる第2波長選択性反射素子と、(b-5) 前記第1半導体光増幅器から出力側へ放射される前記第1周囲光の全部または一部を反射して前記第2半導体光増幅器の出力側へ入射させる第3波長選択性反射素子と、(b-6) 前記ループ状光ファイバ内の反時計方向光の一部を取り出して前記第2半導体光増幅器の出力側へ入射させるとともに、前記第1半導体光増幅器および第2半導体光増幅器の出力光を該ループ状光ファイバ内へ時計方向光として入射させる光カプラとを、含み、前記時計方向光および反時計方向光の波長以外の周囲光の全部または一部が第1波長選択性反射素子および第2波長選択性反射素子により反射されて第1半導体光増幅器および第2半導体光増幅器に再度入力されることから、小型の3端子の光信号増幅装置が得られるるとともに、強度反転を示す周囲光がフィードバックさせられることにより半導体光増幅器の利得を入力光信号に応じて変調して負帰還光増幅効果が得られるので、時計方向光および反時計方向光の波形の歪みがそれぞれ低減される。これにより、時計方向光および反時計方向光の変調度が高めれるので、それらの周波数差により発生するビート信号のピークもシャープに得られ、そのビート信号の解析から得られるビート周波数およびそのビート周波数から得られる回転角速度の精度が十分に得られる。
また、請求項7に係る発明の光ファイバジャイロによれば、前記第1波長選択性反射素子は、該第1半導体光増幅器に光学的に結合された前記ループ状光ファイバの一端部および他端部の一方に設けられ、前記第1半導体光増幅器から放射される第1周囲光の全部または一部を反射して該第1半導体光増幅器へ入射させる第1光ファイバグレーティング部であり、前記第2波長選択性反射素子は、該第2半導体光増幅器に光学的に結合された前記ループ状光ファイバの一端部および他端部の他方に設けられ、前記第2半導体光増幅器から放射される第2周囲光の全部または一部を反射して該第2半導体光増幅器へ入射させる第2光ファイバグレーティング部であることから、第1半導体光増幅器および第2半導体光増幅器とループ状光ファイバの両端部との間の光学的な結合構造が簡単且つ小型となる。
また、請求項8に係る発明の光ファイバジャイロによれば、請求項7に記載の光ファイバジャイロにおいて、(e) 前記ループ状光ファイバの前記第1光ファイバグレーティング部および第2光ファイバグレーティング部が設けられた両端部の端面に先球レンズがそれぞれ備えられ、前記第1半導体光増幅器および第2半導体光増幅器からの出力光は、該先球レンズに直接入射されることから、第1半導体光増幅器および第2半導体光増幅器とループ状光ファイバの第1光ファイバグレーティング部および第2光ファイバグレーティング部が設けられた両端部との間の光学的な結合構造が一層簡単且つ小型となる。
また、請求項9に係る発明の光ファイバジャイロによれば、前記第1半導体光増幅器および第2半導体光増幅器の出力側と光学的に結合する第1分岐ファイバ部および第2分岐ファイバ部と、該第1分岐ファイバおよび第2分岐ファイバが溶融延伸されて前記光カプラに結合された共通ファイバ部とを備えたY字型ファイバを含み、前記第3波長選択性反射素子は、該共通ファイバ部に設けられ、前記第1半導体光増幅器から放射される第1周囲光の全部または一部を反射して前記第2半導体光増幅器の出力側へ入射させる第3光ファイバグレーティング部であることから、小型の3端子の光信号増幅装置を光ファイバジャイロに適用可能となる。
また、請求項10に係る発明の光ファイバジャイロによれば、前記第1半導体光増幅器および第2半導体光増幅器は、pn接合から成る活性層を備えた半導体光増幅器であって、該活性層がバルク、量子井戸、歪み超格子、または量子ドットから構成されるものであることから、光信号増幅装置が一層小型化されて1チップ化が可能となるとともに、特に量子井戸、量子ドットから活性層が構成される場合には、10GHzオーダの高周波数領域において信号増幅が可能となって前記時計方向光および反時計方向光の周波数が高められるので、そのビート周波数から得られる回転角速度の精度が一層高められる。
また、請求項11に係る発明の光ファイバジャイロによれば、前記ループ状光ファイバに設けられ、該ループ状光ファイバ内を伝播する時計方向光の一部および反時計方向光の一部をそれぞれ取り出す双方向光取出用光カプラと、該双方向光取出用カプラによりループ状光ファイバ内から取り出された時計方向光の一部および反時計方向光の一部を相互に合波し、時計方向光および反時計方向光の相互間に発生する周波数差に起因するビート光を出力する光合波素子と、該光合波素子により合波されたビート光を電気信号に変換する合波光検出器と、該合波光検出器により変換された電気信号に含まれるビート信号の周波数を解析する周波数解析部と、予め記憶された関係から該周波数解析部により解析されたビート信号の周波数に基づいて前記ループ状光ファイバの回転角速度を算出する回転角速度算出部とを、含むことから、構造が簡単で、しかも高い精度で回転角速度の検出ができる光ファイバジャイロを得ることができる。
以下、本発明の一実施例を図面を参照して説明する。尚、以下の説明に用いる図面において各部の寸法比等は必ずしも正確に描かれていない。また、言うまでもないが、後述の光ファイバ、光カプラ、光ファイバグレーティング部等の光学素子は可逆性を有している。
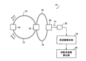
図1は、本発明の一実施例の光ファイバジャイロ10の構成を示す図である。光ファイバジャイロ10は、円環状に形成されたループ状光ファイバ12と、そのループ状光ファイバ12の所定位置に光学的結合状態で介挿され、ループ状光ファイバ12内を双方向で周回する一対の時計方向光Lcwおよび反時計方向光Lccw を増幅する光信号増幅装置14と、そのループ状光ファイバ12の光信号増幅装置14とは異なる所定位置に設けられてループ状光ファイバ12内にその光ファイバ12の時計方向に案内されて伝播する波長λ1の時計方向光Lcwの一部および波長λ1の反時計方向に伝播する反時計方向光Lccw の一部たとえば1%程度をそれぞれ取り出す双方向光取出用の光カプラ16と、その光カプラ16により取り出され且つ一対の伝送用光ファイバ18を介して伝送された時計方向光Lcwの一部および反時計方向に伝播する反時計方向光Lccw の一部を相互に合波し、合波光すなわち周波数差Δfにより形成されるビート光Lb を出力する光合波器20と、その光合波器20からのビート光を受けて電気信号であるビート信号SBに変換して出力する光検出器22と、その光検出器20から出力されたビート信号SBを周波数解析してそのビート信号SBのピーク点Pの周波数fp を出力する周波数解析部24と、予め記憶された関係からその周波数解析部24により解析されたビート信号SBのピーク点Pの周波数fp に基づいてループ状光ファイバ12の回転角速度ωを算出する回転角速度算出部26とを備えている。
上記ループ状光ファイバ12は、たとえば1m程度の径の円環状に形成されて光ファイバジャイロ10の図示しないフレーム或いはケースに固定されている。そのループ状光ファイバ12および上記伝送用光ファイバ18は、たとえば図2に示すような、1.4程度の屈折率を有するコア12c および18c を芯に備えるクラッド型或いはセルホック型の光ファイバである。この図2には、上記光カプラ16の構成例が示されている。光カプラ16は、ループ状光ファイバ12および伝送用光ファイバ18のコア12c および18c を1%程度の光が相互に漏れるように所定長だけ相互に接する状態でループ状光ファイバ12および伝送用光ファイバ18を保持する保持器28を備え、ループ状光ファイバ12および伝送用光ファイバ18を相互に光学的に結合させている。
上記光合波器20は、一対の伝送用光ファイバ18の端部をたとえば溶融延伸させることにより、それら一対の伝送用光ファイバ18によりそれぞれ伝送された時計方向光Lcwの一部および反時計方向に伝播する反時計方向光Lccw の一部を、たとえば1対1の割合で相互に合波する。この合波光は、ループ状光ファイバ12内において定常的に周回させられている時計方向光Lcwの周波数fcwと反時計方向光Lccw の周波数fccw との間で周波数差Δf( =fcw−fccw ) が発生すると、その周波数差Δfと同じ値のビート周波数fb を有するビート光Lb となる。光検出器20は、よく知られたホトセル、ホトトランジスタなどのホトセンサと2乗検波回路とを備えており、ビート光Lb を受けてその脈動を表すビート信号SBを出力する。
上記周波数解析部24は、たとえばマイクロコンピュータなどの演算手段を備えており、その演算手段が、フィーリエ変換を用いて入力信号がどのような周波数の正弦波の重ね合わせであるかに基づいて良く知られた入力信号の周波数特性の解析を実行し、入力信号のピーク周波数すなわちビート信号SBのピーク点Pの周波数fp を出力する。回転角速度算出部26は、たとえばマイクロコンピュータなどの演算手段を備えており、その演算手段が、たとえば図3に示す予め記憶された関係からその周波数解析部24により解析されたビート信号SBのビート周波数fb すなわち時計方向光Lcwの周波数fcwと反時計方向光Lccw の周波数fccw との間の周波数差Δfに基づいて、ループ状光ファイバ12の回転角速度ωを算出する。
上記のように構成されている光ファイバジャイロ10の測定原理を以下に説明する。ループ状光ファイバ12内において光信号増幅装置14による双方向の光増幅作用を受けて定常的に一定の強度で周回させられている時計方向光Lcwおよび反時計方向光Lccw の( 電界) 強度IcwおよびIccw は、次式 (1)および (2)により表される。acwおよびaccw は振幅を示し、φcwおよびφccw は位相を示す。時計方向光Lcwおよび反時計方向光Lccw を合波( 重ね合わせ) すると、光検出器20により検出される合波光の強度Iは、次式に示すように、各光の強度( 電界強度) の加算値の二乗となるので、次式 (3)により表される。式 (3)において、Δ=φcw−φccw である。
Icw=acw・cos( 2πfcwt+φcw) ・・・ (1)
Iccw =accw ・cos( 2πfccw t+φccw) ・・・ (2)
I= (Icw+Iccw)2
= (acw2 +accw2) /2+ 2acwaccw ・cos( 2πfb t+Δ) ・・ (3)
上記 (3)式から、合波光の強度Iの直流成分は (acw2 +accw2) /2であり、交流成分は、 2acwaccw ・cos( 2πfb t+Δ) であるので、前記光検出器20は、ビート光Lb を受けてその2乗検波を行うことにより上記合波光の強度Iのうちの交流成分を抽出し、その交流成分であるビート信号SBを出力する。このビート信号SBのビート周波数fb は、以下の理論式 (4)から説明される。 (4)式において、Aはループ状光ファイバ12により囲まれた面積、nはループ状光ファイバ12の屈折率、λ1は時計方向光Lcwおよび反時計方向光Lccw の波長、Pは時計方向光Lcwおよび反時計方向光Lccw のパス長さ( 光路長) 、ωはループ状光ファイバ12の回転角速度である。
fb =(4A/(n・λ1・P))ω ・・・ (4)
上記ビート信号SBの周波数fb とビート信号SBのパワーWb とを示す関係は、ループ状光ファイバ12の回転角速度毎に、たとえば図4に示す如くとなる。図4では、ループ状光ファイバ12の回転角速度が秒速10°( 10°/s)、秒速30°( 30°/s)、秒速50°( 50°/s)、秒速70°( 70°/s)、秒速90°( 90°/s)である場合についての特性が、それぞれ示されている。各ビート信号SBにはそれぞれパワーのピークPが形成されており、そのピークPが形成されたときの周波数がビート信号SBのビート周波数fb として特定されるものである。図4から明らかなように、ループ状光ファイバ12の回転角速度が高くなるほどビート周波数fb が高くなる。図3は、このような関係に基づいて予め設定されたものである。したがって、回転角速度算出部26は、その図3に示す予め記憶された関係からその周波数解析部24により解析されたビート信号SBのビート周波数fb すなわち時計方向光Lcwの周波数fcwと反時計方向光Lccw の周波数fccw との間の周波数差Δfに基づいて、ループ状光ファイバ12の回転角速度ωを算出することができるのである。
本実施例の光信号増幅装置14は、たとえば図5に示すように、ループ状光ファイバ12の一端部12aと他端部12bとの間に光学的にそれぞれ結合された半導体光増幅器30と、上記一端部12aおよび他端部12bの一方( 本実施例では一端部12a) に形成された光ファイバグレーティング部32とをケース34内に備えている。半導体光増幅器30は、上記一端部12aから端面30gに入力された時計方向光Lcwおよび他端部12bから端面30hに入力された反時計方向光Lccw を増幅して端面30hおよび端面30gから出力するとともに、上記一端部12aおよび他端部12bから時計方向光Lcwおよび反時計方向光Lccw ( 入力光) の強度に応じてその入力光の波長λ1以外の光すなわち波長λ1の周囲光( 自然発生光) の光強度増幅特性が変調され、その入力光を増幅した光と、その入力光の強度に対して強度反転したその波長λ1以外の光(周囲光)とをそれぞれ出力する。上記入力光を増幅した出力光は、入力光の振幅が増強された同位相の光であり、入射端面とは反対側の出射端面から出力される。これに対して、上記入力光の強度に対して強度反転したその波長λ1以外の光(周囲光)は、その入力光に対して反転した位相を有し、両端面から出力される。上記光ファイバグレーティング部32は、その周囲光を反射して半導体光増幅器30に再入力させ、その半導体光増幅器30に比較的低いが極めて安定した増幅率で負帰還光増幅作用を発生させる。
上記半導体光増幅器30は、たとえば図6に示すチップ状の素子から構成されており、化合物半導体たとえばインジウム燐InPから構成される半導体基板30aと、その上にエピタキシャル成長させられたIII-V 族混晶半導体から成り、ホトリソグラフィーにより所定幅に形成された相対的に屈折率の高い多層膜から成る光導波路30bと、その光導波路30b内の多層膜の一部を構成するpn接合であって、バルク、多重量子井戸、歪み超格子、量子ドットのいずれかから構成された活性層30cと、光導波路30bの上面に固着された上部電極30eと、半導体基板30aの下面に固着された下部電極30fとを、備えている。上部電極30eと下部電極30fとの間に注入電流が流される状態では、所定波長λ1の入力光Lが入射されて上記光導波路30b内を伝播させられる過程で活性層30cを通過させられるとき、誘導放射作用による光増幅を受け、出力される。同時に、所謂相互利得変調作用により、波長λ1を除くその波長λ1以外の周囲波長を有してその入力光の強度変調に反比例して強度が増減する周囲光( 自然発生光) が発生させられて、これも出力される。なお、上記注入電流が流された当初は、半導体光増幅器30内において活性層30cでのエネルギギャップに応じた所定の波長帯の自然放出光が発生し、これがループ状光ファイバ12内を周回するうちに安定化し所定の波長λ1に集約される。工業的には、その波長λ1が容易に集約されるようにフィルタなどが用いられる。
上記活性層30cが多重井戸から構成される場合は、たとえば、半導体基板30aからエピタキシャル成長させられることにより格子整合された100nm程度の6対のInGaAsおよびInGaPにより構成され、その活性層30cの上には、組成( 屈折率)が段階的に変化させられたグリン( GRIN)構造のガイド層( 2000Å) が順次設けられる。この活性層30cのデバイス長は、たとえば600μm程度である。
図5に戻って、ループ状光ファイバ12の一端部12aおよび他端部12bの端面には、凸レンズとして機能する先球レンズRをそれぞれ備えており、時計方向光Lcwがループ状光ファイバ12の一端部12aから半導体光増幅器30の一方の端面30gへ直接入力されて増幅された時計方向光Lcwが他方の端面30hからループ状光ファイバ12の他端12bへ直接出力されるとともに、反時計方向光Lccw がループ状光ファイバ12の他端部12bから半導体光増幅器30の他方の端面30hへ直接入力されて増幅された反時計方向光Lccw が一方の端面30gからループ状光ファイバ12の一端部12aへ直接出力されるようになっている。すなわち、ループ状光ファイバ12の一端部12aと半導体光増幅器30の一方の端面30gとの間、および、半導体光増幅器30の他方の端面30hとループ状光ファイバ12の他端部12bとの間は、光学的に直接結合されている。
ループ状光ファイバ12の一端部12aに形成された光ファイバグレーティング部32は、半導体光増幅器30の一方の端面30gからループ状光ファイバ12の一端部12a側へ放射される周囲光を反射して半導体光増幅器30へ再入力させることにより負帰還光増幅作用を発生させ、その半導体光増幅器30の応答性能を高め、出力光のノイズを低減して波形歪みを低減し変調度を高める。この光ファイバグレーティング部32は、時計方向光Lcwおよび反時計方向光Lccw である波長λ1の光は通過させるが、その波長λ1の光以外の周囲波長を有する周囲光( 自然発生光) を反射する波長選択性反射素子である。半導体光増幅器30の一方の端面30gと光ファイバグレーティング部32の端面との間の間隔すなわち光路長Lは、効率を低下させず、且つ時計方向光Lcwおよび反時計方向光Lccw の波形が影響を受けないように設定されている。
上記ループ状光ファイバ12は、たとえばゲルマニウムGeを添加した石英SiO2 から成る略円柱形状のコア12cと、そのコア12cよりも屈折率が低く且つそれの外周面を覆う略円筒形状の石英SiO2 であるグラッド12dとによって構成された光ファイバである。光ファイバグレーティング部32は、たとえば図7に示すように、ループ状光ファイバ12の一端部12a内のコア12cに、位相マスクなどを利用し、紫外線照射による光誘起屈折率変化による、代表的には10000層乃至20000層程度の周期的な屈折率変化が、そのループ状光ファイバ12の一端部12a内の伝播方向に1群または複数群で形成されることにより構成されている。上記屈折率変化は等周期とされる場合もあるが、チャープ状に周期が順次変化させられるものであってもよい。この光ファイバグレーティング部32は、その屈折率の周期と実効屈折率に対応した波長の光を選択的に反射する特性を有し、たとえば1551nmを中心とする波長λ1の光は透過させるが、波長λ1とは異なる少なくとも3nm以上たとえば6.5nm程度の帯域幅を有する波長の光(周囲光)を反射する波長選択性フィルタとして機能している。図8は、上記光ファイバグレーティング部32によって選択的に通過させられる、増幅後の入力光( 時計方向光Lcwおよび反時計方向光Lccw ) のス ペクトルを示し、図9は、上記光ファイバグレーティング部32によって選択的に反射される、周囲光のスペクトルを示している。
なお、図9には、波長λ1の両側の波長帯を含む周囲光が示されているが、上記光ファイバグレーティング部32の反射特性は、その周囲光のうちの一部、たとえば波長λ1に対してそれより片側の波長帯またはその一部を反射するものであってもよい。
上述のように、本実施例の光ファイバジャイロ10によれば、光信号増幅装置14が、(b-1) 前記時計方向光Lcwおよび反時計方向光Lccw が入力されるとその時計方向光Lcwおよび反時計方向光Lccw をそれぞれ増幅して出力すると共に、その時計方向光Lcwおよび反時計方向光Lccw の強度に対して強度反転した該時計方向光Lcwおよび反時計方向光Lccw である波長λ1の光以外の周囲光を放射する半導体光増幅器30と、(b-2) その半導体光増幅器30から放射される時計方向光Lcwおよび反時計方向光Lccw である波長λ1の光以外の周囲光の全部または一部を反射してその半導体光増幅器30へ入射させる波長選択性反射素子( 光ファイバグレーティング部32) とを含み、時計方向光Lcwおよび反時計方向光Lccw である波長λ1の光以外の周囲光の全部または一部が光ファイバグレーティング部32により反射されて半導体光増幅器30に再度入力されることから、強度反転を示す周囲光がフィードバックさせられることにより半導体光増幅器30の利得を入力光に応じて変調して負帰還光増幅効果が得られるので、時計方向光Lcwおよび反時計方向光Lccw の波形の歪みやノイズが低減される。これにより、時計方向光Lcwおよび反時計方向光Lccw の変調度が高めれるので、それらの周波数差Δfにより発生するビート信号SBのピークPもシャープに得られ、そのビート信号SBの解析から得られるビート周波数fb およびそのビート周波数fb から得られる回転角速度ωの精度が十分に得られる。
また、本実施例の光ファイバジャイロ10によれば、波長選択性反射素子として、半導体光増幅器30に光学的に結合されたループ状光ファイバ12の一端部12aおよび他端部12bの一方( 一端部12a) に設けられ、半導体光増幅器30から放射される光のうち時計方向光Lcwおよび反時計方向光Lccw である波長λ1の光以外の周囲光の全部または一部を反射してその半導体光増幅器30へ入射させる光ファイバグレーティング部32が用いられていることから、半導体光増幅器30とループ状光ファイバ12の一端部12aとの間の光学的な結合構造が簡単且つ小型となる。
また、本実施例の光ファイバジャイロ10によれば、ループ状光ファイバ12の光ファイバグレーティング部32が設けられた一端部12aの端面に先球レンズRが備えられ、半導体光増幅器30からの出力光は、その先球レンズRに直接入射されることから、半導体光増幅器30とループ状光ファイバ12の一端部12aとの間の光学的な結合構造が一層簡単且つ小型となる。
また、本実施例の光ファイバジャイロ10によれば、半導体光増幅器30は、pn接合から成る活性層30cを備えるものであって、その活性層30cがバルク、量子井戸、歪み超格子、または量子ドットから構成されるものであることから、光信号増幅装置が一層小型化されて1チップ化が可能となるとともに、特に量子井戸、量子ドットから活性層が構成される場合には、10GHzオーダの高周波数領域において信号増幅が可能となって前記時計方向光Lcwおよび反時計方向光Lccw の周波数が高められるので、そのビート周波数fb から得られる回転角速度ωの精度が一層高められる。
また、本実施例の光ファイバジャイロ10によれば、ループ状光ファイバ12に設けられ、そのループ状光ファイバ12内を伝播する時計方向光Lcwの一部および反時計方向光Lccw の一部をそれぞれ取り出す双方向光取出用光カプラ16と、その双方向光取出用カプラ16によりループ状光ファイバ12内から取り出された時計方向光Lcwの一部および反時計方向光Lccw の一部を相互に合波し、時計方向光Lcwおよび反時計方向光Lccw の相互間に発生する周波数差Δfに起因するビート光Lb を出力する光合波器20と、該光合波器20により合波されたビート光Lb を電気信号であるビート信号SBに変換する光検出器22と、その光検出器22により変換されたビート信号SBに含まれるビート信号SBのピーク点Pの周波数fp を解析して出力する周波数解析部24と、図3に示す予め記憶された関係から周波数解析部24により解析されたビート信号SBの周波数fp に基づいてループ状光ファイバ12の回転角速度ωを算出する回転角速度算出部26とを、含むことから、構造が簡単で、しかも高い精度で回転角速度の検出ができる光ファイバジャイロ10を得ることができる。
次に、本発明の他の実施例を説明する。なお、以下の説明において実施例相互に共通する部分には同一の符号を付して説明を省略する。
図10に示される実施例の光ファイバジャイロ10では、前述の実施例の光信号増幅装置14に替えて、3端子光信号増幅器が適用された光信号増幅装置40が用いられているが、他の点は同様に構成されている。以下において、その光信号増幅装置40を説明する。
光信号増幅装置40は、時計方向光Lcwが一方の端面42gに入力されると、その時計方向光Lcwを増幅して他方の端面42hから出力すると共に、その時計方向光Lcwの強度に対して強度反転した時計方向光の波長λ1以外の第1周囲光を双方向へ放射する第1半導体光増幅器42と、ループ状光ファイバ12の一端部12aに設けられ、波長λ1の光を通過させるが、第1半導体光増幅器42から一方の端面42g側へ放射される第1周囲光の全部または一部を反射して第1半導体光増幅器42へ再入力させて負帰還光増幅作用を発生させる第1光ファイバグレーティング部( 第1波長選択性反射素子) 44と、反時計方向光Lccw が一方の端面46gに入力されると、その反時計方向光Lccw を増幅して他方の端面46 hから出力すると共に、その反時計方向光Lccw の強度に対して強度反転した反時計方向光Lccw の波長λ1以外の第2周囲光を双方向へ放射する第2半導体光増幅器46と、ループ状光ファイバ12の他端部12bに設けられ、波長λ1の光を通過させるが、その第2半導体光増幅器46から一方の端面46g側へ放射される第2周囲光の全部または一部を反射して第2半導体光増幅器46へ再入力させて負帰還光増幅作用を発生させる第2光ファイバグレーティング部( 第2波長選択性反射素子) 48とを、備えている。上記第1半導体光増幅器42および第2半導体光増幅器46は前述の半導体光増幅器30と同様に構成されている。また、上記第1光ファイバグレーティング部44および第2光ファイバグレーティング部48は前述の光ファイバグレーティング部32と同様に構成されている。また、上記ループ状光ファイバ12の一端部12aおよび他端部12bは、前述の実施例と同様に、その端面に先球レンズRが設けられ、第1半導体光増幅器42の一方の端面42g側および第2半導体光増幅器46の一方の端面46g側と、光学的に直接結合されている。
また、上記光信号増幅装置40は、ループ状光ファイバ12に介挿されてそのループ状光ファイバ12内を伝播する時計方向光Lcwまたは反時計方向光Lccw の一部の光たとえば数%乃至数十%の光を取り出す光カプラ50と、先球レンズRをそれぞれ備え、第1半導体光増幅器42の他方の端面42h側および第2半導体光増幅器46の他方の端面46h側と光学的に直接結合する一対の第1分岐ファイバ部52および第2分岐ファイバ部54と、それら第1分岐ファイバ52および第2分岐ファイバ54が溶融延伸されて光カプラ50に結合された共通ファイバ部56とを備えたY字型ファイバ58と、その共通ファイバ部56に設けられ、波長λ1の光を通過させるが、第1半導体光増幅器42から放射される第1周囲光の全部または一部を反射して第2半導体光増幅器46の出力側へ入射させる第3光ファイバグレーティング部60とを、備えている。
以上のように構成された光信号増幅装置40を有する光ファイバジャイロ10によれば、ループ状光ファイバ12を周回する時計方向光Lcwおよび反時計方向光Lccw が、周囲光の再入力により負帰還増幅作用を有する第1半導体光増幅器42および第2半導体光増幅器46による双方向の光増幅作用を受けて比較的高い強度で定常的に伝播させられるので、前述の実施例と同様に、ループ状光ファイバ12の回転角速度ωが検出される。
このとき、光信号増幅装置40内において、時計方向光Lcwは、ループ状光ファイバ12の端部12aから第1半導体光増幅器42を通過する過程で第1光ファイバグレーティング部44および第3光ファイバグレーティング部60からの周囲光の再入力による負帰還増幅された後、第1分岐ファイバ52および共通ファイバ部56と光カプラ50とを経て、ループ状光ファイバ12へ戻される。同時に、光カプラ50から取り出された反時計方向光Lccw の一部は、第2分岐ファイバ部54から第2半導体光増幅器46へ入射され、この第2半導体光増幅器46を通過する過程で第2光ファイバグレーティング部46および第3光ファイバグレーティング部60からの周囲光の再入力による負帰還増幅された後、時計方向光Lcwとして第2半導体光増幅器46からループ状光ファイバ12の端部12bへ戻される。
また、光信号増幅装置40内において、上記光カプラ50から取り出された反時計方向光Lccw の他部は、第1分岐ファイバ52を経て第1半導体光増幅器42において負帰還増幅を受けた後、ループ状光ファイバ12の端部12aへ戻される。また、光カプラ50を通過してループ状光ファイバ12の端部12bに到達した反時計方向光Lccw は、第2半導体光増幅器46を通過する過程で負帰還増幅を受けた後、第2分岐ファイバ54および共通ファイバ部56と光カプラ50とを経て、時計方向光Lcwとしてループ状光ファイバ12へ戻される。このような作用の結果として、図11に示す特性が得られる。
本実施例の光ファイバジャイロ10によれば、時計方向光Lcwおよび反時計方向光Lccw の波長λ1以外の周囲光の全部または一部が第1光ファイバグレーティング部44( 第1波長選択性反射素子) および第2光ファイバグレーティング部48( 第2波長選択性反射素子) により反射されて第1半導体光増幅器42および第2半導体光増幅器46に再度入力されることから、小型の3端子の光信号増幅装置が得られるるとともに、強度反転を示す周囲光がフィードバックさせられることにより半導体光増幅器42および46の利得を入力光信号に応じて変調して負帰還光増幅効果が得られるので、時計方向光Lcwおよび反時計方向光Lccw の波形の歪みがそれぞれ低減される。これにより、時計方向光Lcwおよび反時計方向光Lccw のノイズが低減されるとともに変調度が高めれるので、それらの周波数差Δf により発生するビート信号SBのピークもシャープに得られ、そのビート信号SBの解析から得られるビート周波数fb およびそのビート周波数fb から得られる回転角速度ωの精度が十分に得られる。
また、本実施例の光ファイバジャイロ10によれば、第1波長選択性反射素子として、第1半導体光増幅器42に光学的に結合されたループ状光ファイバ12の一端部12aに設けられ、第1半導体光増幅器42から放射される第1周囲光の全部または一部を反射してその第1半導体光増幅器42へ入射させる第1光ファイバグレーティング部44が用いられ、第2波長選択性反射素子として、第2半導体光増幅器46に光学的に結合されたループ状光ファイバ12の他端部に設けられ、第2半導体光増幅器46から放射される第2周囲光の全部または一部を反射してその第2半導体光増幅器46へ入射させる第2光ファイバグレーティング部48が用いられていることから、第1半導体光増幅器42および第2半導体光増幅器46とループ状光ファイバ12の両端部12aおよび12bとの間の光学的な結合構造が簡単且つ小型となる。
また、本実施例の光ファイバジャイロ10によれば、ループ状光ファイバ12の第1光ファイバグレーティング部44および第2光ファイバグレーティング部48が設けられた両端部12aおよび12bの端面に先球レンズRがそれぞれ備えられ、第1半導体光増幅器42および第2半導体光増幅器46からの出力光は、その先球レンズRに直接入射されることから、第1半導体光増幅器42および第2半導体光増幅器46とループ状光ファイバ12の第1光ファイバグレーティング部44および第2光ファイバグレーティング部48が設けられた両端部12aおよび12bとの間の光学的な結合構造が一層簡単且つ小型となる。
また、本実施例の光ファイバジャイロ10によれば、第1半導体光増幅器42および第2半導体光増幅器46の出力側と光学的に結合する第1分岐ファイバ部52および第2分岐ファイバ部54と、それら第1分岐ファイバ52および第2分岐ファイバ54が溶融延伸されて前記光カプラ50に結合された共通ファイバ部56とを備えたY字型ファイバ58を含み、第3波長選択性反射素子として、その共通ファイバ部56に設けられ、第1半導体光増幅器42から放射される第1周囲光の全部または一部を反射して第2半導体光増幅器46の出力側へ入射させる第3光ファイバグレーティング部60が用いられていることから、小型の3端子の光信号増幅装置を光ファイバジャイロ10に適用可能となる。
以上、本発明の一実施例を図面に基づいて説明したが、本発明はその他の態様においても適用される。
たとえば、前述の図5に示す実施例において、光ファイバグレーティング部32は、半導体光増幅器30と別体に構成されていたが、その半導体光増幅器30の光導波路30bに構成されることにより半導体光増幅器30と一体に構成されてもよい。
また、前述の図5に示す実施例では、波長選択性反射素子として機能する光ファイバグレーティング部32がループ状光ファイバ12の端部12aに設けられていたが、それに替えて、波長選択性反射素子として機能する波長選択性ミラーが、ループ状光ファイバ12の端部12aと半導体光増幅器30との間に設けられてもよい。この場合には、たとえば一対の凸レンズとその一対の凸レンズ間に介挿された波長選択性ミラーとを介して、ループ状光ファイバ12の端部12aと半導体光増幅器30との間が光学的に結合される。
また、前述の図5の実施例において、波長選択性反射素子として機能する光ファイバグレーティング部32がループ状光ファイバ12の端部12aに設けられていたが、その光ファイバグレーティング部32は、半導体光増幅器30に対して反対側に位置するループ状光ファイバ12の端部12bに設けられていてもよい。また、波長選択性反射素子として機能する光ファイバグレーティング部がループ状光ファイバ12の端部12aおよび端部12bの両方に設けられていてもよい。
その他一々例示はしないが、本発明は当業者の知識に基づいて種々の変更、改良を加えた態様で実施することができる。
本発明の一実施例の光信号増幅装置が適用された光ファイバジャイロの基本的な構成を説明する略図である。 図1の光ファイバジャイロに用いられる双方向光取出用の光カプラの構成を説明する図である。 図1の回転角速度算出部により用いられる予め記憶された関係の一例を示す図である。 図1の光ファイバジャイロにおいて発生するビート信号とその光ファイバジャイロに設けられたループ状光ファイバの回転角速度との関係を示す図である。 図1の光信号増幅装置の要部構成を説明する略図である。 図5の光信号増幅装置に備えられる半導体光増幅器の一例を示す斜視図である。 図5の光信号増幅装置に備えられる光ファイバグレーティング部の構成を説明する図である。 図7の光ファイバグレーティング部の透過特性を示す図である。 図7の光ファイバグレーティング部の反射特性を示す図である。 本発明の他の実施例の光信号増幅装置の構成を説明する図である。 図10の実施例における光信号増幅装置の特性を説明する図である。
符号の説明
10:光ファイバジャイロ
14、40:光信号増幅装置
12:ループ状光ファイバ( 波長選択性反射素子)
16:光カプラ( 双方向光取出用光カプラ)
26:回転角速度算出部
30:半導体光増幅器
32:光ファイバグレーティング部
42:第1半導体光増幅器
44:第1光ファイバグレーティング部( 第1波長選択性反射素子)
46:第2半導体光増幅器
48:第2光ファイバグレーティング部( 第2波長選択性反射素子)
50:光カプラ
R:先球レンズ

Claims (11)

  1. ループ状光ファイバと、該ループ状光ファイバの所定位置に光学的に結合された状態で介挿されて該ループ状光ファイバ内を時計方向に伝播する時計方向光および反時計方向に伝播する反時計方向光をそれぞれ増幅する光信号増幅装置とを備え、該ループ状光ファイバ内を伝播する時計方向光および反時計方向光の相互間に発生する周波数差に基づいて該ループ状光ファイバの回転角速度を検出する光ファイバジャイロであって、
    前記光信号増幅装置は、
    前記時計方向光および反時計方向光が入力されると該時計方向光および反時計方向光をそれぞれ増幅して出力すると共に、該時計方向光および反時計方向光の強度に対して強度反転した該時計方向光および反時計方向光の波長以外の周囲光を放射する半導体光増幅器と、
    前記半導体光増幅器から放射される前記時計方向光および反時計方向光の波長以外の周囲光の全部または一部を反射して該半導体光増幅器へ入射させる波長選択性反射素子と
    を、含むことを特徴とする光ファイバジャイロ。
  2. 前記波長選択性反射素子は、該半導体光増幅器に光学的に結合された前記ループ状光ファイバの一端部および他端部の少なくとも一方に設けられ、前記半導体光増幅器から放射される光のうち前記時計方向光および反時計方向光の波長以外の周囲光の全部または一部を反射して該半導体光増幅器へ入射させる光ファイバグレーティング部であることを特徴とする請求項1の光ファイバジャイロ。
  3. 前記ループ状光ファイバの前記光ファイバグレーティング部が設けられた端部の端面に先球レンズが備えられ、前記半導体光増幅器からの出力光は、該先球レンズに直接入射されることを特徴とする請求項2の光ファイバジャイロ。
  4. 前記半導体光増幅器は、pn接合から成る活性層を備えた半導体光増幅器であって、該活性層がバルク、量子井戸、歪み超格子、または量子ドットから構成されるものである請求項1乃至3のいずれか1の光ファイバジャイロ。
  5. 前記ループ状光ファイバに設けられ、該ループ状光ファイバ内を伝播する時計方向光の一部および反時計方向光の一部をそれぞれ取り出す双方向光取出用光カプラと、
    該双方向光取出用カプラによりループ状光ファイバ内から取り出された時計方向光の一部および反時計方向光の一部を相互に合波し、時計方向光および反時計方向光の相互間に発生する周波数差に起因するビート光を出力する光合波素子と、
    該光合波素子により合波されたビート光を電気信号に変換する合波光検出器と、
    該合波光検出器により変換された電気信号に含まれるビート信号の周波数を解析する周波数解析部と、
    予め記憶された関係から該周波数解析部により解析されたビート信号の周波数に基づいて前記ループ状光ファイバの回転角速度を算出する回転角速度算出部と
    を、含むことを特徴とする請求項1乃至4のいずれか1の光ファイバジャイロ。
  6. ループ状光ファイバと、該ループ状光ファイバの所定位置に光学的に結合された状態で介挿されて該ループ状光ファイバ内を時計方向に伝播する時計方向光および反時計方向に伝播する反時計方向光をそれぞれ増幅する光信号増幅装置とを備え、該ループ状光ファイバ内を伝播する時計方向光および反時計方向光の相互間に発生する周波数差に基づいて該ループ状光ファイバの回転角速度を検出する光ファイバジャイロであって、
    前記光信号増幅装置は、
    前記時計方向光が入力されると、該時計方向光を増幅して出力すると共に、該時計方向光の強度に対して強度反転した該時計方向光の波長以外の第1周囲光を放射する第1半導体光増幅器と、
    該第1半導体光増幅器から入力側へ放射される前記第1周囲光の全部または一部を反射して該第1半導体光増幅器へ入射させる第1波長選択性反射素子と
    前記反時計方向光が入力されると、該反時計方向光を増幅して出力すると共に、該反時計方向光の強度に対して強度反転した該反時計方向光の波長以外の第2周囲光を放射する第2半導体光増幅器と、
    該第2半導体光増幅器から入力側へ放射される前記第2周囲光の全部または一部を反射して該第2半導体光増幅器へ入射させる第2波長選択性反射素子と
    前記第1半導体光増幅器から出力側へ放射される前記第1周囲光の全部または一部を反射して前記第2半導体光増幅器の出力側へ入射させる第3波長選択性反射素子と、
    前記ループ状光ファイバ内の反時計方向光の一部を取り出して前記第2半導体光増幅器の出力側へ入射させるとともに、前記第1半導体光増幅器および第2半導体光増幅器の出力光を該ループ状光ファイバ内へ時計方向光として入射させる光カプラと
    を、含むことを特徴とする光ファイバジャイロ。
  7. 前記第1波長選択性反射素子は、該第1半導体光増幅器に光学的に結合された前記ループ状光ファイバの一端部および他端部の一方に設けられ、前記第1半導体光増幅器から放射される第1周囲光の全部または一部を反射して該第1半導体光増幅器へ入射させる第1光ファイバグレーティング部であり、
    前記第2波長選択性反射素子は、該第2半導体光増幅器に光学的に結合された前記ループ状光ファイバの一端部および他端部の他方に設けられ、前記第2半導体光増幅器から放射される第2周囲光の全部または一部を反射して該第2半導体光増幅器へ入射させる第2光ファイバグレーティング部であることを特徴とする請求項6の光ファイバジャイロ。
  8. 前記ループ状光ファイバの前記第1光ファイバグレーティング部および第2光ファイバグレーティング部が設けられた両端部の端面に先球レンズがそれぞれ備えられ、前記第1半導体光増幅器および第2半導体光増幅器からの出力光は、該先球レンズに直接入射されることを特徴とする請求項7の光ファイバジャイロ。
  9. 前記第1半導体光増幅器および第2半導体光増幅器の出力側と光学的に結合する第1分岐ファイバ部および第2分岐ファイバ部と、該第1分岐ファイバおよび第2分岐ファイバが溶融延伸されて前記光カプラに結合された共通ファイバ部とを備えたY字型ファイバを含み、
    前記第3波長選択性反射素子は、該共通ファイバ部に設けられ、前記第1半導体光増幅器から放射される第1周囲光の全部または一部を反射して前記第2半導体光増幅器の出力側へ入射させる第3光ファイバグレーティング部であることを特徴とする請求項6乃至8のいずれか1の光ファイバジャイロ。
  10. 前記第1半導体光増幅器および第2半導体光増幅器は、pn接合から成る活性層を備えた半導体光増幅器であって、該活性層がバルク、量子井戸、歪み超格子、または量子ドットから構成されるものである請求項6乃至9のいずれか1の光ファイバジャイロ。
  11. 前記ループ状光ファイバに設けられ、該ループ状光ファイバ内を伝播する時計方向光の一部および反時計方向光の一部をそれぞれ取り出す双方向光取出用光カプラと、
    該双方向光取出用カプラによりループ状光ファイバ内から取り出された時計方向光の一部および反時計方向光の一部を相互に合波し、時計方向光および反時計方向光の相互間に発生する周波数差に起因するビート光を出力する光合波素子と、
    該光合波素子により合波されたビート光を電気信号に変換する合波光検出器と、
    該合波光検出器により変換された電気信号に含まれるビート信号の周波数を解析する周波数解析部と、
    予め記憶された関係から該周波数解析部により解析されたビート信号の周波数に基づいて前記ループ状光ファイバの回転角速度を算出する回転角速度算出部とを、
    含むことを特徴とする請求項6乃至10のいずれか1の光ファイバジャイロ。
JP2008241637A 2008-09-19 2008-09-19 光ファイバジャイロ Expired - Fee Related JP5224213B2 (ja)

Priority Applications (1)

Application Number Priority Date Filing Date Title
JP2008241637A JP5224213B2 (ja) 2008-09-19 2008-09-19 光ファイバジャイロ

Applications Claiming Priority (1)

Application Number Priority Date Filing Date Title
JP2008241637A JP5224213B2 (ja) 2008-09-19 2008-09-19 光ファイバジャイロ

Publications (2)

Publication Number Publication Date
JP2010071894A true JP2010071894A (ja) 2010-04-02
JP5224213B2 JP5224213B2 (ja) 2013-07-03

Family

ID=42203811

Family Applications (1)

Application Number Title Priority Date Filing Date
JP2008241637A Expired - Fee Related JP5224213B2 (ja) 2008-09-19 2008-09-19 光ファイバジャイロ

Country Status (1)

Country Link
JP (1) JP5224213B2 (ja)

Cited By (1)

* Cited by examiner, † Cited by third party
Publication number Priority date Publication date Assignee Title
CN106092139A (zh) * 2016-06-15 2016-11-09 高武保 一种适用于光纤缠绕机上的排纤机构

Citations (9)

* Cited by examiner, † Cited by third party
Publication number Priority date Publication date Assignee Title
JPH02147908A (ja) * 1988-11-30 1990-06-06 Oki Electric Ind Co Ltd 光ファイバジャイロ
JPH09162489A (ja) * 1995-12-05 1997-06-20 Sumitomo Electric Ind Ltd 発光素子モジュール
JPH09318366A (ja) * 1996-05-31 1997-12-12 Tokimec Inc 波長モニタ装置及び光ファイバジャイロ
JPH11501158A (ja) * 1995-03-02 1999-01-26 ユナイテッド テクノロジーズ コーポレイション 偏光ファイバレーザ源
JPH11261163A (ja) * 1998-03-12 1999-09-24 Sumitomo Electric Ind Ltd 発光素子モジュール
JP2005241712A (ja) * 2004-02-24 2005-09-08 Fujitsu Ltd 光合波方法および光合波器、並びに、それを用いた光増幅器
WO2006011262A1 (ja) * 2004-07-30 2006-02-02 Nihon Yamamura Glass Co., Ltd. 光信号増幅3端子装置
JP2007071614A (ja) * 2005-09-06 2007-03-22 Advanced Telecommunication Research Institute International 光ジャイロおよびそれを用いたジャイロシステム
JP2007273600A (ja) * 2006-03-30 2007-10-18 Furukawa Electric Co Ltd:The 光ファイバレーザ

Patent Citations (9)

* Cited by examiner, † Cited by third party
Publication number Priority date Publication date Assignee Title
JPH02147908A (ja) * 1988-11-30 1990-06-06 Oki Electric Ind Co Ltd 光ファイバジャイロ
JPH11501158A (ja) * 1995-03-02 1999-01-26 ユナイテッド テクノロジーズ コーポレイション 偏光ファイバレーザ源
JPH09162489A (ja) * 1995-12-05 1997-06-20 Sumitomo Electric Ind Ltd 発光素子モジュール
JPH09318366A (ja) * 1996-05-31 1997-12-12 Tokimec Inc 波長モニタ装置及び光ファイバジャイロ
JPH11261163A (ja) * 1998-03-12 1999-09-24 Sumitomo Electric Ind Ltd 発光素子モジュール
JP2005241712A (ja) * 2004-02-24 2005-09-08 Fujitsu Ltd 光合波方法および光合波器、並びに、それを用いた光増幅器
WO2006011262A1 (ja) * 2004-07-30 2006-02-02 Nihon Yamamura Glass Co., Ltd. 光信号増幅3端子装置
JP2007071614A (ja) * 2005-09-06 2007-03-22 Advanced Telecommunication Research Institute International 光ジャイロおよびそれを用いたジャイロシステム
JP2007273600A (ja) * 2006-03-30 2007-10-18 Furukawa Electric Co Ltd:The 光ファイバレーザ

Cited By (1)

* Cited by examiner, † Cited by third party
Publication number Priority date Publication date Assignee Title
CN106092139A (zh) * 2016-06-15 2016-11-09 高武保 一种适用于光纤缠绕机上的排纤机构

Also Published As

Publication number Publication date
JP5224213B2 (ja) 2013-07-03

Similar Documents

Publication Publication Date Title
EP2927636B1 (en) Systems and methods for stabilized stimulated brillouin scattering lasers with ultra-low phase noise
US20130083389A1 (en) Laser Doppler Velocimeter Optical Electrical Integrated Circuits
EP1229673A2 (en) Pump light source device for optical, raman amplification and optical raman amplification system using the same
US11313682B1 (en) Silicon photonic integrated circuit and fiber optic gyroscope apparatus using grating couplers
CN111829981A (zh) 一种基于tdlas的气体外差检测装置及检测方法
CN110455405A (zh) 光分束器、光功率监测装置及激光器芯片
US9417503B2 (en) Light source device and wavelength conversion method
JP5224213B2 (ja) 光ファイバジャイロ
US10634848B2 (en) Optical filter and optical transmission device
JP2011106990A (ja) 誘導ラマン分光ガス分析装置
CN113776687B (zh) 一种基于微波光子测量结合光学测量的温度传感系统
US7064891B2 (en) Optical wavelength converter with a semiconductor optical amplifier
US11276979B2 (en) Fiber-based continuous optical beat laser source to generate terahertz waves using lithium niobate crystal embedded in the fiber
JP2540670B2 (ja) 光ファイバを用いた多種ガス検出装置
US20030113063A1 (en) Method and apparatus for enhancing power saturation in semiconductor optical amplifiers
JP2002131590A (ja) 半導体レーザモジュール、その製造方法及びラマン増幅器
JP2007205949A (ja) 距離検出装置
JPWO2009022623A1 (ja) 光信号増幅装置
JP2010185726A (ja) 吸光分析装置
JP4589620B2 (ja) 光波長基準装置
JPS6221035A (ja) 光フアイバの試験装置
JPS62120090A (ja) 光信号増幅装置
JPH02153327A (ja) 光増幅モジュール
CN108716928A (zh) 一种三波光纤激光自混合干涉测量系统
JP2004212138A (ja) 電界センシング装置

Legal Events

Date Code Title Description
A621 Written request for application examination

Free format text: JAPANESE INTERMEDIATE CODE: A621

Effective date: 20110526

A521 Written amendment

Free format text: JAPANESE INTERMEDIATE CODE: A523

Effective date: 20110609

TRDD Decision of grant or rejection written
A977 Report on retrieval

Free format text: JAPANESE INTERMEDIATE CODE: A971007

Effective date: 20130130

A01 Written decision to grant a patent or to grant a registration (utility model)

Free format text: JAPANESE INTERMEDIATE CODE: A01

Effective date: 20130205

A61 First payment of annual fees (during grant procedure)

Free format text: JAPANESE INTERMEDIATE CODE: A61

Effective date: 20130301

R150 Certificate of patent or registration of utility model

Ref document number: 5224213

Country of ref document: JP

Free format text: JAPANESE INTERMEDIATE CODE: R150

Free format text: JAPANESE INTERMEDIATE CODE: R150

FPAY Renewal fee payment (event date is renewal date of database)

Free format text: PAYMENT UNTIL: 20160322

Year of fee payment: 3

R250 Receipt of annual fees

Free format text: JAPANESE INTERMEDIATE CODE: R250

R250 Receipt of annual fees

Free format text: JAPANESE INTERMEDIATE CODE: R250

R250 Receipt of annual fees

Free format text: JAPANESE INTERMEDIATE CODE: R250

LAPS Cancellation because of no payment of annual fees