JP2010071769A - 移動体通過検知装置 - Google Patents

移動体通過検知装置 Download PDF

Info

Publication number
JP2010071769A
JP2010071769A JP2008238615A JP2008238615A JP2010071769A JP 2010071769 A JP2010071769 A JP 2010071769A JP 2008238615 A JP2008238615 A JP 2008238615A JP 2008238615 A JP2008238615 A JP 2008238615A JP 2010071769 A JP2010071769 A JP 2010071769A
Authority
JP
Japan
Prior art keywords
pressure
sensitive
moving body
state
passing
Prior art date
Legal status (The legal status is an assumption and is not a legal conclusion. Google has not performed a legal analysis and makes no representation as to the accuracy of the status listed.)
Granted
Application number
JP2008238615A
Other languages
English (en)
Other versions
JP5233055B2 (ja
Inventor
Atsushi Masuda
敦士 増田
Tetsuhiko Murakami
哲彦 村上
Kazuyuki Hashimoto
和幸 橋本
Hidenori Takeuchi
英徳 竹内
Current Assignee (The listed assignees may be inaccurate. Google has not performed a legal analysis and makes no representation or warranty as to the accuracy of the list.)
YUTEIKKU KK
Fukui Prefecture
Original Assignee
YUTEIKKU KK
Fukui Prefecture
Priority date (The priority date is an assumption and is not a legal conclusion. Google has not performed a legal analysis and makes no representation as to the accuracy of the date listed.)
Filing date
Publication date
Application filed by YUTEIKKU KK, Fukui Prefecture filed Critical YUTEIKKU KK
Priority to JP2008238615A priority Critical patent/JP5233055B2/ja
Publication of JP2010071769A publication Critical patent/JP2010071769A/ja
Application granted granted Critical
Publication of JP5233055B2 publication Critical patent/JP5233055B2/ja
Expired - Fee Related legal-status Critical Current
Anticipated expiration legal-status Critical

Links

Images

Landscapes

  • Indicating Or Recording The Presence, Absence, Or Direction Of Movement (AREA)
  • Geophysics And Detection Of Objects (AREA)

Abstract

【課題】本発明は、簡単な構成で移動体の通過状態を検知することができる移動体通過検知装置を提供することを目的とするものである。
【解決手段】移動体通過検知装置は、移動体通過時に加わる圧力を検知する多数の感圧センサが配列された感圧シート1と、感圧センサ1を領域R1〜R4に区分して各領域における感圧状態を検知する領域検知部200と、領域検知部200の領域検知パターンに基づいて移動体の通過状態を決定する決定部201と、決定された通過状態に基づいて通過数をカウントする計数部202を備えている。
【選択図】図1

Description

本発明は、歩行者又は車両等の移動体が通過する場所に設置して移動体の通過状態を検知する移動体通過検知装置に関する。
建物内やイベント会場内への入出場者数をカウントしたり、道路における通過車両等をカウントする場合、赤外線センサを用いて歩行者等を検知したり、監視カメラの撮影画像を解析してカウントすることが提案されている。しかしながら、こうした光学的に検知してカウントする場合には歩行者等の移動体が検知方向に重複した状態になっていると、検知ミスを生じるおそれがある。また、撮影画像を解析して移動体をカウントするためには画像の解析処理が必要となって処理時間がかかり、開発コストが大きくなるといった課題がある。
そのため、移動体の通過時に加わる荷重による圧力変化を検知して移動体の通過を検知することが提案されている。例えば、特許文献1では、マトリックス状に配列された多数の感圧素子群を備え人が通過する方向とこれに直角な方向の二方向に関して各所定距離範囲の床面をなすように設置された分布圧センサを用いて歩行者の足跡情報を検出し、時系列的に変化する足跡情報のうちから同一人を示す足跡情報と同一人でない足跡情報とを判別して床面を通過した人数を計数する人数計数装置が記載されている。また、特許文献2では、通過人員を計数しようとする場所に、圧力変化により通過する人の靴底等の位置及び形状を検出するマット状のマトリクスセンサを敷設し、マトリクスセンサによる検出データに基づいて検出された同一形状の靴底等が一方向に向って進んでこの一方向の外側に完全に消えたと判断したときに通過人員を計数する通過人員計数装置が記載されている。また、特許文献3では、一定区域の通過面の人による踏みつけ圧力の分布から踏みつけた履物の底面形状パターンを認識して予め設定された人の属性情報と対応付けて記憶しておき、検知データを記憶データと比較することで、通過面の通過人数を通過した人の属性情報に対応付けて出力する人数カウンタが記載されている。また、特許文献4では、床部Aの一部の領域の各床タイルが踏数を検知可能な機能を備えており、床タイルからの検知信号を受けてカンウント量を表示する表示部を部屋内又は部屋外に設ける点が記載されている。
特開平5−324955号公報 特開平6−309536号公報 特開平9−231343号公報 特開2003−239510号公報
上述した特許文献1から3では、歩行者の足跡を感圧センサの検知パターンに基づいて分析して通過人数を検知するようにしているが、検知パターンを分析するためには複雑な処理を行なう必要があり、様々な足跡のパターンを分析するための処理時間がかかるため、複数の歩行者が並列して通過する場合等において検知ミスが生じるおそれがある。
また、特許文献4では、通過方向を検知することができないため通過者の出入りを正確に検知できないといった問題点がある。
そこで、本発明は、簡単な構成で移動体の通過状態を検知することができる移動体通過検知装置を提供することを目的とするものである。
本発明に係る移動体通過検知装置は、移動体通過時に加わる圧力を検知する多数の感圧センサが配列された感圧シートと、前記感圧センサを3つ以上の領域に区分して各領域における感圧状態を検知する領域検知部と、前記領域検知部の領域検知パターンに基づいて移動体の通過状態を決定する決定部とを備えていることを特徴とする。さらに、前記感圧センサは、導電性繊維を用いた繊維構造体を備えていることを特徴とする。さらに、前記感圧シートは、異なる感度を有する複数種類の前記感圧センサを備えていることを特徴とする。さらに、決定された通過状態に基づいて通過方向別の通過数を計数する計数部を備えていることを特徴とする。
本発明は、上記のような構成を有することで、感圧シートの感圧センサを3つ以上の領域に区分し各領域における感圧状態を検知して領域検知パターンに基づいて移動体の通過状態を決定するので、簡単な構成で正確かつ迅速に移動体の通過状態を検知することができる。
すなわち、個々の感圧センサの感圧状態ではなく領域別の感圧状態を検知するので、取得される検知データが少なくなって処理時間が短時間となり、また、領域検知パターンに基づいて通過状態を検知するので、正確に通過方向等の通過状態を決定することができる。
以下、本発明に係る実施形態について詳しく説明する。なお、以下に説明する実施形態は、本発明を実施するにあたって好ましい具体例であるから、技術的に種々の限定がなされているが、本発明は、以下の説明において特に本発明を限定する旨明記されていない限り、これらの形態に限定されるものではない。
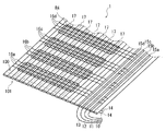
図1は、本発明に係る実施形態に関する概略構成図である。移動体通過検知装置は、多数の感圧センサが配列された感圧シート1と、感圧シート1からの感圧状態を検知して移動体の通過状態を決定する情報処理装置2とを備えている。
感圧シート1は、多数の感圧センサをR1〜R4の4つの種類の領域に区分して構成されており、各領域は全幅にわたって一定の長さで帯状の領域に設定されている。そして、R1、R2、R3及びR4の順に繰り返して領域設定され、領域R1からR4までの1セットの長さは移動体の通過の際に感圧シートに加えられる圧力分布の推移に応じて設定される。例えば、歩行者の通過を検知する場合には、歩行者の平均的な足跡の長さよりわずかに小さいかほぼ同じになるように設定すればよい。具体的には、1セットの長さを15〜30cmとして4つに分割して領域R1からR4を設定する。各領域の幅は、圧力分布の推移に応じて適宜設定すればよく、等分割して設定してもよい。
区分された各領域には複数の感圧センサが配列されており、感圧センサのいずれかが所定圧力を検知すると、検知信号が各領域に接続された共通配線10〜13を介して情報処理装置2に入力されるようになっている。
共通配線10は、すべての領域R1に接続されており、いずれかの領域R1において感圧センサが圧力検知すると検知信号が共通配線10を通り情報処理装置2に送信される。同様に、共通配線11は、すべての領域R2に接続されていずれかの領域R2の感圧センサが圧力検知すると検知信号が情報処理装置2に送信され、共通配線12は、すべての領域R3に接続されていずれかの領域R3の感圧センサが圧力検知すると検知信号が情報処理装置2に送信され、共通配線13は、すべての領域R4に接続されていずれかの領域R4の感圧センサが圧力検知すると検知信号が情報処理装置2に送信される。
図2は、感圧シート1の一例を示す概略斜視図である。感圧シート1は、上面部100と下面部101からなる2層織物から構成されており、上面部100及び下面部101が所定間隔毎に経糸方向に沿って一体化して多数の筒状の空間が内部に形成されている。感圧シート1の上面部100には、経糸方向に導電性接続糸15a〜15dが織り込まれ導電糸16a〜16dが緯糸方向に織り込まれており、下面部101には、点線で表示するように、緯糸方向に導電性接続糸14が織り込まれ経糸方向に導電糸17が織り込まれている。
導電糸16a〜16dは、領域R1〜R4内にそれぞれ複数本ずつ配列されており、導電糸17は、導電糸16a〜16dと交差するように感圧シート1の筒状空間部分に沿って複数本配列されている。
また、導電糸16aは、導電性接続糸15aが織り込まれた筒状空間部分では上面部100に織り込まれて電気的に導通した状態に設定され、導電性接続糸15b〜15dが織り込まれた筒状空間部分では下面部101に織り込まれて電気的に非導通の状態に設定されている。同様に、導電糸16bは、導電性接続糸15bとだけ電気的に導通状態に設定され、導電糸16cは、導電性接続糸15cとだけ電気的に導通状態に設定され、導電糸16dは、導電性接続糸15dとだけ電気的に導通状態に設定される。
そして、導電性接続糸15a〜15dは、それぞれ共通配線10〜13に接続されている。
また、導電糸17は、下面部101において導電接続糸14と交差するように織り込まれて電気的に導通した状態に設定されている。
図3は、感圧シートの筒状空間部分に関する緯糸方向の断面図である。筒状空間部分は、導電糸17及び非導電性糸18からなる経糸と導電糸16及び非導電性糸19からなる緯糸を二重織により織成した織構造となっている。そして、圧力が加わっていない状態では、図3に示すように上面部100及び下面部101が離間した状態が保持されている。所定の圧力が加わると、上面部100が下面部101に密着した状態に変形し、上面部100の導電糸16が下面部101の導電糸17に接触するようになり、電気的に導通状態した感圧状態となる。そのため、導電性接続糸14に入力された所定の信号は、導電糸16及び17が接触して導通状態になった部分に流れて対応する導電性接続糸15から共通配線10〜13のいずれかに検知信号として出力されるようになる。
したがって、各領域において感圧センサが1つでも感圧状態になると、各領域に対応する共通配線から検知信号が出力されるようになる。
以上のように、導電糸16及び17の交差部分がそれぞれ感圧センサとして機能するようになり、感圧シート1の領域R1〜R4には、それぞれ複数の感圧センサがマトリクス状に配列されるようになる。
各感圧センサが検知する圧力の感度は、筒状空間部分の織構造の強度により決定される。そのため、筒状空間部分に用いられる糸の素材を場所毎に変更して強度の異なる部分を形成すれば、複数の異なる圧力を検知するように設定することもできる。例えば、各領域において異なる感度を有する複数種類の感圧センサを散在させておけば、各領域において異なる圧力を検知することが可能となる。
なお、感圧センサの圧力感度を異なるように設定する場合、一部の筒状空間部分に線状材からなるスペーサを挿入して感度が異なるように変更するようにしてもよい。また、筒状空間部分を構成する織組織や糸の太さ、糸の形状を変更する方法で感圧センサの圧力感度を異なるように設定してもよい。
また、各領域の設定は、図2に示すように離間させて設定する場合以外に連続させて設定するようにしてもよく、移動の際の1回の着地動作を確実に検知することが可能であれば特に限定されない。
感圧シート1は、コーティング等により表面に被膜を形成することで耐久性を向上させることができる。コーティング材としては、ポリウレタン系、塩化ビニル系、ゴム系、ポリエステルエラストマー系、シリコン系等の材料が挙げられる。
コーティング以外の方法としてラミネート加工や貼り合わせ加工をしてもよい。ラミネート等の材料としては熱可塑性フィルム、織編物や不織布、紙、人工皮革、フォーム等が挙げられる。
情報処理装置2は、通過検知のための情報処理を行う制御部20、処理に必要なデータ等を記憶する記憶部21、データを入力するための操作入力部22及びデータを表示するための表示部23を備えている。操作入力部22及び表示部23は、情報処理装置2と有線で接続されていなくてもよく、移動体通過状況を遠隔地で表示する場合は無線等で表示部23と情報処理装置2を接続すればよい。
制御部20は、感圧シート1の領域R1からR4の感圧状態を検知する領域検知部200、領域検知パターンに基づいて移動体の通過状態を決定する決定部201及び決定された通過状態に基づいて通過方向別の通過数を計数する計数部202を備えている。
領域検知部20は、共通配線10〜13から送信される検知信号に基づいてどの領域で感圧状態が生じているか検知する。決定部201では、感圧状態が検知された領域の時系列的な推移に基づいて移動体の通過状態を決定する。
図4は、歩行者が感圧シート1上を歩行する場合における感圧センサの感圧状態を示す説明図である。この例では、経糸方向(導電糸17の方向)に沿って歩行動作を行なうようになっている。
領域R1〜R4に対応する導電糸16a〜16dは、歩行者の靴底が着地しない状態(図4(a))ではすべて導電糸17から離間した非導通状態となっている。まず、靴底の踵部分が着地すると、着地部分に対応する導電糸16aの部分が変形して導電糸17と導通状態となる(図4(b))。踵部分からさらに踏み込んでいく過程において、靴底が導電糸16bの部分に圧力が加わるようになって導電糸16bについても導電糸17と導通状態になる(図4(c))。そして、靴底全体で着地した状態では導電糸16c及び16dについても圧力が加わって導電糸17と導通状態となる(図4(d))。
以上のように、歩行者の通過方向に従って領域R1〜R4の感圧状態が時系列的に変化するようになるため、こうした時系列的な変化に基づいて通過方向を確実に決定することができる。
例えば、図4において歩行者が右方向に進む場合には、以下の領域検知パターンが生じるようになる。
R1→R2→R3
R1→R2→R4
R1→R3→R4
R2→R3→R4
R2→R3→R1
R2→R4→R1
R3→R4→R1
R3→R4→R2
R3→R1→R2
R4→R1→R2
R4→R1→R3
R4→R2→R3
また、図4において歩行者が左方向に進む場合には、以下の領域検知パターンが生じるようになる。
R1→R4→R3
R1→R4→R2
R1→R3→R2
R2→R1→R4
R2→R1→R3
R2→R4→R3
R3→R2→R1
R3→R2→R4
R3→R1→R4
R4→R3→R2
R4→R3→R1
R4→R2→R1
領域検知パターンが連続していない場合が含まれるのは、例えば、ハイヒールのような靴底の場合領域が1つ飛びに検知されることを想定している。また、領域検知パターンは、4つの領域の検知信号に基づいて移動方向を決定するようにしてもよい。なお、2つの領域の検知信号に基づいて移動方向を決定することも考えられるが、同時に検知信号が出力される可能性があり、検知精度が低下する。
以上のように、3つ以上の領域の感圧状態を検知することで正確に移動方向を決定することができる。
上述した領域検知パターンは、通過方向に応じた領域検知パターンを予め試行して採取しておき、記憶部21に記憶しておけばよい。そして、領域検知部200において検知された領域検知パターンを決定部201において記憶されたパターンと照合することで通過方向を決定することができる。
計数部202では、決定部で決定された通過方向に基づいてそれぞれの通過方向の移動体の数をカウントする。イベント会場等への出入場者数をカウントする場合には、出入り口に感圧シートを敷設して入場者数及び出場者数をカウントし、両方の人数の差から会場内の滞在人数をリアルタイムで把握することが可能になる。
また、車両の通過を検知する場合でも、同様に領域毎の検知信号を取得し領域検知パターンに基づいて車両の通過方向を決定することができる。
図5は、移動体の通過検知を行なうための処理フローである。まず、各領域から感圧センサに基づく検知信号が出力されたか否かチェックし(S100)、検知信号が出力された場合には各領域からの検知タイミングを取得する(S101)。そして、各領域の検知タイミングを時系列で配列した領域検知パターンを作成し、予め記憶された領域検知パターンを比較照合する(S102)。照合した結果一致したパターンに基づいてその通過方向を決定し(S103)、決定された通過方向に基づいて通過数のカウント処理を行う(S104)。
以上のように、各領域からの検知信号が出力される毎に通過方向を決定して通過数をカウントするので、高速処理によりリアルタイムでの通過数のカウント処理を行うことができ、また、感圧シート1枚を出入り口に敷設するだけで簡単に設置することが可能で、イベント会場の入出場者数や会場内の滞留者数のカウント、道路における通行車両のカウントといった幅広い用途に使用することができる。
感圧シートの上面部及び下面部を構成する繊維には、経糸にポリエステル仮撚加工糸(250dtex/48f)、緯糸にポリエステル仮撚加工糸(250dtex/48f)を使用し、感圧センサ部分及び共通配線部分を構成する導電糸としてはポリエステル仮撚加工糸(250dtex/48f)に銅繊維(理研株式会社製、Φ=0.05mm)2本を各々異なる撚り方向に螺旋状に巻き付けたダブルカバード糸を使用し、レピア織機にて図2に示す感圧シートを平風通織り2重組織により製織した。
作成された感圧シートは、幅が680mmで、感圧センサは22.5mm間隔のマトリクス状に配置されており、4つの領域R1〜R4はそれぞれ(長さ68mm×幅680mm)の帯状の領域に設定された。
感圧シートを公共機関の建物の玄関に設置して通過人数をカウントしたところ、通過方向をほぼ正確に決定して通過人数をカウントすることができた。また、感圧シートを柔軟性及び耐久性のある素材で構成することができたので、凹凸のある設置場所や傾斜した場所にも簡単に設置して通過検知することが可能であった。
本発明に係る移動体通過検知装置は、装置構成が簡単で容易に設置することができるため、期間を限定して開催されるイベント会場等に設置して来場者数の管理等に用いることができる。また、歩行者以外でも臨時駐車場等の駐車車両の台数管理や道路の交通状況を調査する場合等にも使用することができる。
本発明に係る実施形態に関する概略構成図である。 感圧シートの一例を示す概略斜視図である。 感圧シートの筒状空間部分に関する緯糸方向の断面図である。 歩行者が感圧シート上を歩行する場合における感圧センサの感圧状態を示す説明図である。 移動体の通過検知を行なうための処理フローである。
符号の説明
1 感圧シート
2 情報処理装置
10 共通配線
11 共通配線
12 共通配線
13 共通配線
14 導電接続糸
15 導電接続糸
16 導電糸
17 導電糸
100 上面部
101 下面部

Claims (4)

  1. 移動体通過時に加わる圧力を検知する多数の感圧センサが配列された感圧シートと、前記感圧センサを3つ以上の領域に区分して各領域における感圧状態を検知する領域検知部と、前記領域検知部の領域検知パターンに基づいて移動体の通過状態を決定する決定部とを備えていることを特徴とする移動体通過検知装置。
  2. 前記感圧センサは、導電性繊維を用いた繊維構造体を備えていることを特徴とする請求項1記載の移動体通過検知装置。
  3. 前記感圧シートは、異なる感度を有する複数種類の前記感圧センサを備えていることを特徴とする請求項1又は2に記載の移動体通過検知装置。
  4. 決定された通過状態に基づいて通過方向別の通過数を計数する計数部を備えていることを特徴とする請求項1から3のいずれかに記載の移動体通過検知装置。
JP2008238615A 2008-09-17 2008-09-17 移動体通過検知装置 Expired - Fee Related JP5233055B2 (ja)

Priority Applications (1)

Application Number Priority Date Filing Date Title
JP2008238615A JP5233055B2 (ja) 2008-09-17 2008-09-17 移動体通過検知装置

Applications Claiming Priority (1)

Application Number Priority Date Filing Date Title
JP2008238615A JP5233055B2 (ja) 2008-09-17 2008-09-17 移動体通過検知装置

Publications (2)

Publication Number Publication Date
JP2010071769A true JP2010071769A (ja) 2010-04-02
JP5233055B2 JP5233055B2 (ja) 2013-07-10

Family

ID=42203706

Family Applications (1)

Application Number Title Priority Date Filing Date
JP2008238615A Expired - Fee Related JP5233055B2 (ja) 2008-09-17 2008-09-17 移動体通過検知装置

Country Status (1)

Country Link
JP (1) JP5233055B2 (ja)

Cited By (4)

* Cited by examiner, † Cited by third party
Publication number Priority date Publication date Assignee Title
JP2012079140A (ja) * 2010-10-04 2012-04-19 Bunpei Magoori 建築物区画内人数計測システム
CN115012107A (zh) * 2022-05-31 2022-09-06 江南大学 可穿戴柔性传感元件的编织方法、装备及计数方法
KR102511615B1 (ko) * 2021-10-15 2023-03-21 주식회사 에스이알 보행 패턴을 이용한 공간 내 밀집도 측정 및 제공시스템
JP2023071460A (ja) * 2021-11-11 2023-05-23 東洋インキScホールディングス株式会社 床センサシステム、及び車輪付き構造体の検出方法

Families Citing this family (1)

* Cited by examiner, † Cited by third party
Publication number Priority date Publication date Assignee Title
JP7046114B2 (ja) 2019-04-15 2022-04-01 タカノ株式会社 感圧センサ

Citations (4)

* Cited by examiner, † Cited by third party
Publication number Priority date Publication date Assignee Title
JPS62165178A (ja) * 1986-01-16 1987-07-21 Hitachi Cable Ltd 建物への侵入者検知方法及びそのための床材シ−ト
JPH02134569A (ja) * 1988-11-14 1990-05-23 Arai Gumi Ltd 通行方向識別機能付マット
JP2006284276A (ja) * 2005-03-31 2006-10-19 Fukui Prefecture 感圧センサーシート
JP2007004305A (ja) * 2005-06-21 2007-01-11 Lintec Corp 進入者監視装置

Patent Citations (4)

* Cited by examiner, † Cited by third party
Publication number Priority date Publication date Assignee Title
JPS62165178A (ja) * 1986-01-16 1987-07-21 Hitachi Cable Ltd 建物への侵入者検知方法及びそのための床材シ−ト
JPH02134569A (ja) * 1988-11-14 1990-05-23 Arai Gumi Ltd 通行方向識別機能付マット
JP2006284276A (ja) * 2005-03-31 2006-10-19 Fukui Prefecture 感圧センサーシート
JP2007004305A (ja) * 2005-06-21 2007-01-11 Lintec Corp 進入者監視装置

Cited By (4)

* Cited by examiner, † Cited by third party
Publication number Priority date Publication date Assignee Title
JP2012079140A (ja) * 2010-10-04 2012-04-19 Bunpei Magoori 建築物区画内人数計測システム
KR102511615B1 (ko) * 2021-10-15 2023-03-21 주식회사 에스이알 보행 패턴을 이용한 공간 내 밀집도 측정 및 제공시스템
JP2023071460A (ja) * 2021-11-11 2023-05-23 東洋インキScホールディングス株式会社 床センサシステム、及び車輪付き構造体の検出方法
CN115012107A (zh) * 2022-05-31 2022-09-06 江南大学 可穿戴柔性传感元件的编织方法、装备及计数方法

Also Published As

Publication number Publication date
JP5233055B2 (ja) 2013-07-10

Similar Documents

Publication Publication Date Title
JP5233055B2 (ja) 移動体通過検知装置
JP5121258B2 (ja) 不審行動検知システム及び方法
US7890234B1 (en) Vehicle occupant classification system
US6917307B2 (en) Management method and system for a parking lot
CN109649270A (zh) 用于车辆乘客的实时分析和增强路径预测
US10416331B2 (en) Two-dimensional capacitive sensor for locating the presence of an object and/or of an individual
CN103287931B (zh) 电梯系统
KR20150066531A (ko) 물체 및/또는 사람의 존재를 감지하기 위한 정전용량센서
CN106394552A (zh) 驾驶辅助装置和驾驶辅助方法
US20200040492A1 (en) Knitted Fabric and Use of a Knitted Fabric
JP6995245B2 (ja) 乗客誘導装置及び乗客誘導方法
JP5386713B2 (ja) 位置検知システム及びそれに用いる位置検知用シート体
EP3315451A1 (en) Sensor on escalator landing plate
EP3789288B1 (en) Floor lighting assembly
JP6930331B2 (ja) 移動方向特定方法、及び感圧センサ装置
WO2013171709A1 (en) A sensing covering system
KR20170107161A (ko) 매트형 출입자 감지 장치 및 감지 방법
JP2008225803A (ja) 監視領域設定装置
JPH03196286A (ja) 建物内人員検出装置
JP7501183B2 (ja) 入場監視装置、及び入場監視方法
JP4907243B2 (ja) 通行管理装置
JPH09138241A (ja) 通過監視装置と滞在人数監視装置
JPH0583956U (ja) 加圧パターンセンサー
JP4327231B1 (ja) 車両の前後進判定装置
JP2008203975A (ja) 自動改札機の通行人検知装置

Legal Events

Date Code Title Description
A621 Written request for application examination

Free format text: JAPANESE INTERMEDIATE CODE: A621

Effective date: 20110916

A521 Request for written amendment filed

Free format text: JAPANESE INTERMEDIATE CODE: A821

Effective date: 20110916

A521 Request for written amendment filed

Free format text: JAPANESE INTERMEDIATE CODE: A523

Effective date: 20120406

A977 Report on retrieval

Free format text: JAPANESE INTERMEDIATE CODE: A971007

Effective date: 20121129

A131 Notification of reasons for refusal

Free format text: JAPANESE INTERMEDIATE CODE: A131

Effective date: 20121211

A521 Request for written amendment filed

Free format text: JAPANESE INTERMEDIATE CODE: A523

Effective date: 20130205

TRDD Decision of grant or rejection written
A01 Written decision to grant a patent or to grant a registration (utility model)

Free format text: JAPANESE INTERMEDIATE CODE: A01

Effective date: 20130227

A61 First payment of annual fees (during grant procedure)

Free format text: JAPANESE INTERMEDIATE CODE: A61

Effective date: 20130308

R150 Certificate of patent or registration of utility model

Free format text: JAPANESE INTERMEDIATE CODE: R150

Ref document number: 5233055

Country of ref document: JP

Free format text: JAPANESE INTERMEDIATE CODE: R150

FPAY Renewal fee payment (event date is renewal date of database)

Free format text: PAYMENT UNTIL: 20160405

Year of fee payment: 3

R250 Receipt of annual fees

Free format text: JAPANESE INTERMEDIATE CODE: R250

R250 Receipt of annual fees

Free format text: JAPANESE INTERMEDIATE CODE: R250

R250 Receipt of annual fees

Free format text: JAPANESE INTERMEDIATE CODE: R250

R250 Receipt of annual fees

Free format text: JAPANESE INTERMEDIATE CODE: R250

R250 Receipt of annual fees

Free format text: JAPANESE INTERMEDIATE CODE: R250

R250 Receipt of annual fees

Free format text: JAPANESE INTERMEDIATE CODE: R250

R250 Receipt of annual fees

Free format text: JAPANESE INTERMEDIATE CODE: R250

R250 Receipt of annual fees

Free format text: JAPANESE INTERMEDIATE CODE: R250

R250 Receipt of annual fees

Free format text: JAPANESE INTERMEDIATE CODE: R250

LAPS Cancellation because of no payment of annual fees