JP2010071665A - 流体圧利用シールとこれを用いた振動計測対象回転機械 - Google Patents

流体圧利用シールとこれを用いた振動計測対象回転機械 Download PDF

Info

Publication number
JP2010071665A
JP2010071665A JP2008236256A JP2008236256A JP2010071665A JP 2010071665 A JP2010071665 A JP 2010071665A JP 2008236256 A JP2008236256 A JP 2008236256A JP 2008236256 A JP2008236256 A JP 2008236256A JP 2010071665 A JP2010071665 A JP 2010071665A
Authority
JP
Japan
Prior art keywords
fluid pressure
inlet
seal
forming surface
fluid
Prior art date
Legal status (The legal status is an assumption and is not a legal conclusion. Google has not performed a legal analysis and makes no representation as to the accuracy of the status listed.)
Granted
Application number
JP2008236256A
Other languages
English (en)
Other versions
JP5526513B2 (ja
Inventor
Yoshihisa Yamauchi
淑久 山内
Yuichi Miura
雄一 三浦
Atsushi Tezuka
厚 手塚
Current Assignee (The listed assignees may be inaccurate. Google has not performed a legal analysis and makes no representation or warranty as to the accuracy of the list.)
IHI Corp
Original Assignee
IHI Corp
Priority date (The priority date is an assumption and is not a legal conclusion. Google has not performed a legal analysis and makes no representation as to the accuracy of the date listed.)
Filing date
Publication date
Application filed by IHI Corp filed Critical IHI Corp
Priority to JP2008236256A priority Critical patent/JP5526513B2/ja
Publication of JP2010071665A publication Critical patent/JP2010071665A/ja
Application granted granted Critical
Publication of JP5526513B2 publication Critical patent/JP5526513B2/ja
Active legal-status Critical Current
Anticipated expiration legal-status Critical

Links

Images

Landscapes

  • Testing Of Balance (AREA)

Abstract

【課題】流入口形成面にほとんど外力を作用させずに、流出口と流入口との接続箇所を密閉することができるシールを提供する。
【解決手段】流体が流れ出る流出口3が形成された流出口形成面4と、この流出口3からの流体を流入させる流入口5が形成された流入口形成面9との間に設けられる流体圧利用シール10であって、この流体圧利用シールは、流出口3から流入口5までの流体通過領域11を囲むように、流出口形成面4に取り付けられる。
さらに、流体圧利用シール10は、流入口形成面9に接して流入口5を囲む内側先端13と、流入口C中心から流入口C外周縁へ向かう方向に内側先端13から離れて位置し流体通過領域11を囲む外側部15と、内側先端13から外側部15まで延び流体通過領域11を囲む拡大部17と、を有する。流体通過領域11内の流体圧により結合部17が流入口形成面9に押し付けられることで、外部に対する流体通過領域11の密閉が維持される。
【選択図】図2

Description

本発明は、流体が流れ出る流出口が形成された流出口形成面と、この流出口からの流体を流入させる流入口が形成された流入口形成面との間に設けられる流体圧利用シールに関する。また、本発明は、流体圧利用シールが用いられ、振動計測対象となる振動計測対象回転機械に関する。
流出口から流入口へ流体を導入する場合に、流体の流路を外部に対し密閉するために、流出口形成面と流入口形成面との間にシールが用いられる。
例えば、流体は、潤滑油であり、過給機などの回転機械における回転体の軸受に供給される。この場合、流出口は、潤滑油が内部に流れる流体管の先端の流出口形成面に形成された開口であり、流入口は、前記軸受が取り付けられる回転機械の静止側部の外面(流入口形成面)に形成された開口である。静止側部の内部には、流入口から軸受まで潤滑油を流す流路が形成されている。
図8のように、流体管51における流出口53が形成された流出口形成面54と、静止側部55における流入口59が形成された流入口形成面57との接続箇所には、Oリング61(図8(A))や平面シール63(図8(B))を用いることができる。なお、符号51aは流体管51のフランジを示す。
図8(A)は、Oリング61を用いた場合を示す。この図の矢印で示す押付力で、Oリング61を流入口形成面57に押し付けることで、流路65をその外部に対し密閉する。
図8(B)は、平面シール63を用いた場合を示す。この図の矢印で示す押付力で、平面シール63を流入口形成面57に押し付けることで、流路65をその外部に対し密閉する。なお、平面シール63は、流入口形成面57と接触する面が平面となっている。
本願の先行技術文献として、下記の特許文献1、2がある。
特開2002−39904号公報 特開2005−207805号公報
上述した流路65の密閉により流入口形成面57に押付力が作用する。即ち、Oリング61や平面シール63を用いる場合、流路65を密閉するためには、図8に示すように、Oリング61や平面シール63を流入口形成面に強く押し付ける必要があった。従って、流入口形成面57には、大きな押付力(例えば、10kgf)が作用する。
このような大きな押付力は、次のように回転機械の振動計測(詳しくは特許文献1、2を参照)を行うときには、好ましくない。この振動計測は、上述した回転機械の回転体が高速回転している時に行う。この場合、回転機械の静止側部(ケーシング)に上述の押付力が作用していると、回転機械に固有の振動を減衰させてしまう。従って、回転機械に固有の振動特性を精度よく計測・抽出することができなくなる可能性がある。
そのため、流入口形成面57にほとんど押付力(外力)を作用させずに、流出口と流入口との接続箇所を密閉することを可能にするシールが望まれる。
そこで、本発明の目的は、流入口形成面にほとんど外力を作用させずに、流出口と流入口との接続箇所を密閉することができるシールを提供することにある。
また、本発明の別の目的は、このようなシールを用いて、高精度な振動計測を可能にする振動計測対象となる振動計測対象回転機械を提供することにある。
上記目的を達成するため、本発明のシールは、流体圧を利用したものである。
即ち、本発明は、流体が流れ出る流出口が形成された流出口形成面と、この流出口からの流体を流入させる流入口が形成された流入口形成面との間に設けられる流体圧利用シールであって、
この流体圧利用シールは、流出口から流入口までの流体通過領域を囲むように、前記流出口形成面に取り付けられ、
さらに、前記流体圧利用シールは、前記流入口形成面に接して流入口を囲む内側先端と、流入口中心から流入口外周縁へ向かう方向に前記内側先端から離れて位置し前記流体通過領域を囲む外側部と、前記内側先端から前記外側部まで延び流体通過領域を囲む拡大部と、を有し、
前記流体通過領域内の流体圧により前記拡大部が流入口形成面に押し付けられることで、外部に対する流体通過領域の密閉が維持される、ことを特徴とする。
上述した本発明の流体圧利用シールによると、前記流体通過領域内の流体圧により前記拡大部が流入口形成面に押し付けられることで、外部に対する流体通過領域の密閉(シール)が維持されるので、内側先端を流入口形成面に接触させるための微小力を、流体圧利用シールから流入口形成面に作用させるだけで、流体圧によりシールがなされる。従って、流入口形成面にほとんど外力を作用させずに、流出口と流入口との接続箇所をシールすることができる。
本発明の好ましい実施形態によると、流体通過領域内の流体圧により前記流体圧利用シールは弾性変形し、これにより、前記拡大部が流入口形成面に押し付けられる。
このように、前記流体通過領域内の流体圧により前記流体圧利用シールを弾性変形させることで、前記拡大部を、流入口形成面に密着させるように流入口形成面に押し付けることができる。これにより、流出口と流入口との接続箇所をより確実にシールすることができる。
また、本発明の好ましい実施形態によると、前記流体圧利用シールの中心軸を含む平面による拡大部の断面形状が、流入口形成面から前記外側部まで、前記中心軸から傾いた方向であって流入口側へ向かう方向へ延びている。
このように、前記流体圧利用シールの中心軸を含む平面による拡大部の断面形状が、流入口形成面から前記外側部まで、前記中心軸から傾いた方向であって流入口側へ向かう方向へ延びているので、前記流路内の流体圧により、前記シールが弾性変形することで前記内側先端および拡大部と流入口形成面との接触面積が増加する。これにより、一層確実なシールがなされる。
上記別の目的を達成するため、本発明は、上述の流体圧利用シールが用いられ、振動計測対象となる振動計測対象回転機械であって、
回転駆動される回転体と、
この回転体を軸受を介して支持する静止側部と、を備え、
前記流入口は、前記流出口から潤滑油が流入する開口であり、前記流入口へ流入した潤滑油は前記軸受に供給されるようになっており、
前記流入口形成面は、静止側部に設けられている、ことを特徴とする。
上述した本発明の振動計測対象回転機械によると、潤滑油を流入させる流入口が形成された流入口形成面が、静止側部に設けられている場合に、静止側部(即ち、流入口形成面)にほとんど外力を作用させずに、流出口と流入口との接続箇所をシールすることができる。これにより、当該接続箇所をシールするための外力により振動が減衰することが無くなることで、回転機械の振動特性を精度よく抽出・計測することができる。
上述した本発明によると、流入口形成面にほとんど外力を作用させずに、流出口と流入口との接続箇所をシールすることができる。
本発明を実施するための最良の実施形態を図面に基づいて説明する。なお、各図において共通または対応する部分には同一の符号を付し、重複した説明を省略する。
[流体圧利用シール]
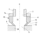
図1(A)は、本発明の実施形態による流体圧利用シール10の構成を示す縦断面図である。図1(B)は、図1(A)の1B−1B線矢視図である。
本実施形態による流体圧利用シール10は、流体が流れ出る流出口3と、この流出口3からの流体を流入させる流入口5との接続箇所を、流体圧を利用してシールするものである。図1(A)の例では、流出口3は、配管7の先端の流出口形成面4に形成され、流入口5は、流出口3からの流体を受け入れる部材の外面(流入口形成面9)に形成されている。
流体圧利用シール10は、流出口形成面4と流入口形成面9との間に設けられる。また、流体圧利用シール10は、流出口3から流入口5までの流体通過領域11を囲むように、流出口形成面4に取り付けられる。
図1(A)に示すように、流体圧利用シール10は、流入口5を形成する流入口形成面9に接して流入口5を囲むように延びる内側先端13と、流入口5中心から流入口5外周縁へ向かう方向に内側先端13から離れて位置し流体通過領域11を囲む外側部15と、内側先端13から外側部15まで延び内側先端13と外側部15を結合し流体通過領域11を囲む拡大部17と、を有する。この例では、内側先端13は、流体圧利用シール10の中心軸C方向から見た形状が環状であり、外側部15および拡大部17の各々は、中心軸Cと直交する平面による断面の形状(以下、横断面形状という)が環状である(図1(B)を参照)。また、この例では、内側先端13は平らな接触面であり、外側部15の形状は円筒である。この例では、図1(A)に示すように、拡大部17は、中心軸Cを含む平面による断面の形状(以下、縦断面形状という)が、中心軸Cから外側に傾いた方向であって流出口3側へ向かう方向に、内側先端13から外側部15まで直線的に延びている。
本実施形態では、流体圧利用シール10の全体が、ゴムなどの弾性体で形成されている。即ち、内側先端13、外側部15および拡大部17は、ゴムなどの弾性体で形成されている。この場合、好ましくは、内側先端13、外側部15および拡大部17を一体成形する。
なお、図1(A)の例では、外側部15が配管7の先端のフランジ7aの流出口形成面4に、接着剤や他の結合手段で水密に固定・接着されることで、流体圧利用シール10が配管7に取り付けられている。
図1(A)は、流体圧利用シール10内部の流体通過領域11を流体が流れていない状態を示している。一方、図2は、図1(A)の構成において流体通過領域11に流体を流した状態を示している。
図2に示すように流体が流体通過領域11を通過する時に、流体の圧力(例えば、300〜500kPa)が流体圧利用シール10に作用する。これにより、流体通過領域11内の流体圧により拡大部17が流入口形成面9に押し付けられることで、外部に対する流体通過領域11の密閉が維持される。本実施形態では、図2のように、流体通過領域11内の流体圧(例えば、300〜500kPa)により流体圧利用シール10は弾性変形し、これにより、拡大部17が流入口形成面9に押し付けられる。図2における流体圧利用シール10と流入口形成面9との接触面積は、図1(A)の状態よりも増えている。
上述した実施形態の流体圧利用シール10によると、流体通過領域11内の流体圧により拡大部17が流入口形成面9に押し付けられることで、外部に対する流体通過領域11の密閉(シール)が維持されるので、内側先端13を流入口形成面9に接触させるための微小力を、流体圧利用シール10から流入口形成面9に作用させるだけで、流体圧によりシールがなされる。従って、流入口形成面9にほとんど外力を作用させずに、流出口3と流入口5との接続箇所をシールすることができる。また、流入口形成面11と流体圧利用シール10を接触させるだけなので、流体圧利用シール10と配管7の側の構造体を、流入口形成面9に対し簡単に着脱できる。
また、流体通過領域11内の流体圧により流体圧利用シール10を弾性変形させることで、拡大部17を、流入口形成面9に密着させるように流入口形成面9に押し付けることができる。これにより、流出口3と流入口5との接続箇所をより確実に流体圧利用シール10することができる。
さらに、拡大部17の縦断面形状が、流入口形成面9から外側部15まで、中心軸Cから傾いた方向であって流入口5側へ向かう方向へ延びているので、流体圧利用流体圧利用シール1010に流体圧が作用すると、流体圧利用シール10が弾性変形して流体圧利用シール10(即ち、内側先端13と拡大部17)と流入口形成面9との接触面積が増加する。従って、一層確実にシールがなされる。
[流体圧利用シールを用いた振動計測対象回転機械]
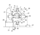
次に、上述の流体圧利用シール10を用いた振動計測対象である回転機械20(振動計測対象回転機械という)について説明する。図3は、この振動計測対象回転機械20の構成図である。
図3の例では、振動計測対象回転機械20は過給機である。過給機20は、車両や船舶などに搭載されるエンジンの排ガスエネルギーを利用して、エンジンに圧縮空気を供給する装置である。過給機20は、エンジンの排ガスにより回転駆動されるタービン翼21と、タービン翼21と一体的に回転することで圧縮空気をエンジンに供給するコンプレッサ翼23と、一端部にタービン翼21が結合され他端部にコンプレッサ翼23が結合される回転軸24とを有する。また、過給機20は、タービン翼21を内部に収容するタービンハウジング25と、コンプレッサ翼23を内部に収容するコンプレッサハウジング(図示せず)と、回転軸24を支持する軸受27が内部に組み込まれる軸受ハウジング29と、を備える。タービン翼21、コンプレッサ翼23および回転軸24は、振動計測対象回転機械20の回転体を構成する。タービンハウジング25、コンプレッサハウジングおよび軸受ハウジング29は、静止側部である。
振動計測対象回転機械20(この例では過給機)の振動計測は、次のように行われる。
コンプレッサハウジング(図示せず)が取り外された過給機20の振動計測用タービンハウジング25をボルト28などで振動計測用の支持体31に取り付ける。その後、エンジンの排ガスと同じ程度の圧力を有する圧縮ガスを、タービンハウジング25に形成された流路(図示せず)を通して、タービン翼21に供給することで、タービン翼21、コンプレッサ翼23および回転軸24からなる回転体を回転駆動する。回転体が所定の回転速度に達したら、軸受ハウジング29に取り付けられた加速度ピックアップ33で回転体の振動(即ち、加速度)を計測しつつ、回転角検出器35により回転体の回転角を計測する。これにより、例えば、演算器37が、所定の回転速度において、どの回転角でどの程度の振動(加速度)が生じているかを計測する。なお、この計測データに基づいてアンバランス量を求める。このアンバランス量を無くすように回転体の一部(例えば、ナット39の一部)を除去加工することでバランス修正が行われる。
上述の振動計測時において、過給機20に固有の振動を精度よく計測するために、上述の流体圧利用シール10が用いられる。流体圧利用シール10は、潤滑油供給管7と軸受ハウジング29との間に設けられる。潤滑油供給管7の先端部には、流出口3が形成されており、軸受ハウジング29の外表面である流入口形成面9には、流入口5が形成されている。潤滑油が、例えば300〜500kPa程度の圧力で、流出口3から流入口5へ流入する。流入口5へ流入した潤滑油は、軸受ハウジング29の内部に形成された潤滑油路41を通って軸受27に供給される。潤滑油を外部からシールしつつ、潤滑油供給管7の流出口3を流入口形成面9の流入口5に接続する時に、流入口形成面9に作用する力をできる限り小さくすることが好ましい。なぜなら、流入口形成面9に作用する外力は、振動計測に悪影響を与え、高精度な振動計測の障害となる。そこで、上述の流体圧利用シール10を用いて流出口3と流入口5を接続する。
図4は、図3における流体圧利用シール10付近の部分拡大図である。図4の流体圧利用シール10の構造と機能は、図1と図2に基づいて上述した流体圧利用シール10と同じである。図4において、流体圧利用シール10の外側部15は、潤滑油供給管7の先端部に取り付けられたフランジ7aの流出口形成面4に水密に結合・接着されている。この状態で、支持体31に固定された過給機20における軸受ハウジング29の流入口形成面9に対し、潤滑油供給管7の先端部に取り付けられた流体圧利用シール10を微小力で接触させる。この接触は、適切な器具・装置を用いて過給機20に対し潤滑油供給管7を配置・固定することでなされてよい。
なお、軸受27に供給された潤滑油は、軸受ハウジング29の内部に形成された排油路(図示せず)を通って、軸受ハウジング29の外面に設けられた排油口43から排油管45へ流れる。排油口43と排油管45との接続箇所には、例えば図3に示すシール47が設けられる。このシール47はゴムで形成されて排油管45のフランジ45aに取り付けられている。排油口43における潤滑油の圧力は小さいので、シール47を軸受ハウジング29の外面に微小力で接触させるだけで、排油が外部に漏れなくなる。従って、排油口43と排油管45との接続には、上述の流体圧利用シール10を用いなくてもよい。
上述した本実施形態の振動計測対象回転機械20によると、潤滑油を流入させる流入口5が形成された流入口形成面9が静止側部(図3の例では、軸受ハウジング29)に設けられている場合に、静止側部(即ち、流入口形成面9)にほとんど外力を作用させずに、流出口3と流入口5との接続箇所をシールすることができる。これにより、当該接続箇所をシールするための外力により振動が減衰することが無くなることで、回転機械20の振動特性を精度よく抽出・計測することができる。
また、流入口形成面11と流体圧利用シール10を接触させるだけなので、流体圧利用シール10と潤滑油供給管7の側の構造体を、流入口形成面9に対し簡単に着脱できる。
本発明は上述した実施の形態に限定されず、本発明の要旨を逸脱しない範囲で種々変更を加え得ることは勿論である。
[他の実施形態]
例えば、流体圧利用シール10の形状は、図1(A)に示す以外に、図5に示す形状であってもよい。図5の流体圧利用シール10は、以下で説明する以外の点は、図1の流体圧利用シール10と同じである。
図1では、流体圧利用シール10も用いて流出口3と流入口5とを接続した接続状態において、流体圧利用シール10に流体圧が作用していない時には、流体圧利用シール10の内側先端13は流入口形成面9に面で接触している。
図5の場合には、前記接続状態において、流体圧利用シール10に流体圧が作用していない時には、図5(A)に示すように、流体圧利用シール10の内側先端13は流入口形成面9に(円を描く)線で接触している。なお、図5では、図1(B)の場合と同様に、内側先端13は流体圧利用シール10の中心軸C方向から見た形状が環状であり、外側部15および拡大部17の各々は、横断面形状が環状である。図5の場合、流体圧利用シール10は、流体圧が作用すると、図5(B)のように弾性変形することで、流体圧により拡大部17が流路形成面に押し付けられる。
また、流体圧利用シール10の形状は、図6に示す形状であってもよい。図6の流体圧利用シール10は、以下で説明する以外の点は、図1の流体圧利用シール10と同じである。
図1では、流体圧利用シール10に流体圧を含めた外力が作用していない状態で、拡大部17の縦断面形状は内側先端13から外側部15まで直線的に延びている。
図6の場合には、流体圧利用シール10に流体圧を含めた外力が作用していない状態で、図6(A)のように、拡大部17の縦断面形状が内側先端13から外側部15まで曲線状に延びている。図6(B)は、図6(A)の構成において流体圧利用シール10に流体圧力が作用している状態を示す。なお、図6では、図1(B)の場合と同様に、内側先端13は流体圧利用シール10の中心軸C方向から見た形状が環状であり、外側部15および拡大部17の各々は、横断面形状が環状である。
また、流体圧利用シール10の形状は、図7に示す形状であってもよい。図7の流体圧利用シール10は、以下で説明する以外の点は、図1の流体圧利用シール10と同じである。
図7の場合には、流体圧利用シール10に流体圧を含めた外力が作用していない状態で、図7(A)のように、拡大部17の縦断面形状は、中心軸Cと直交する方向に、内側先端13から外側部15まで延びている。図7(A)において、拡大部17の全体が、流入口形成面9に接触している。また、図7の場合、好ましくは、外側部15は、弾性変形しない、または、弾性変形しにくく剛性が高い材料(例えば金属)で形成され、内側先端13と拡大部17は、弾性変形しやすい材料(例えばゴム)で形成される。この構成で、流体圧により、拡大部17の全体が流入口形成面9に押し付けられて流入口形成面9に接触する(図7(B)の状態)。図7の場合にも、流体圧により拡大部17は弾性変形するが、この弾性変形量は、図1の場合と比較して小さい。また、図7の場合には、流体圧利用シール10に流体圧が作用しても、流体圧利用シール10と流入口形成面9との接触面積は、流体圧利用シール10に流体圧が作用していない図7(A)の状態と同じであってよい。内側先端13と拡大部17は、一体成形され、接着剤などにより拡大部17が外側部15に水密に結合される。なお、図7では、図1(B)の場合と同様に、内側先端13は流体圧利用シール10の中心軸C方向から見た形状が環状であり、外側部15および拡大部17の各々は、横断面形状が環状である。
また、本発明によると、上述の振動計測対象回転機械20は過給機以外の回転機械(例えば、ターボ圧縮機やガスタービン)であってもよい。
本発明の流体圧利用シール10を利用する場合、上述の実施形態では流出口形成面4は配管7に設けられていたが、本発明によると、流出口形成面4は他の構造体に設けられていてもよい。
同様に、本発明の流体圧利用シール10を利用する場合、流入口5は、振動計測対象回転機械20以外のものに設けられていてもよい。即ち、振動計測対象回転機械20以外においても、流入口形成面9に外力を作用させたくない場合に、本発明の流体圧利用シール10は有用である。
本発明によると、流体は、液体であってもよいし、気体であってもよい。
本発明の実施形態による流体圧利用シールの構成を示す縦断面図である。 図1(A)の構成において、流体圧利用シールに流体圧が作用している状態を示す。 図1の流体圧使用シールを振動計測対象回転機械に使用した場合を示す。 図3における流体圧利用シール付近の部分拡大図である。 本発明の他の実施形態による流体圧利用シールの構成を示す縦断面図である。 本発明の他の実施形態による流体圧利用シールの構成を示す縦断面図である。 本発明の他の実施形態による流体圧利用シールの構成を示す縦断面図である。 流出口と流入との接続箇所に用いられる従来のシールを示す。
符号の説明
3 流出口、4 流出口形成面、5 流入口、7 配管(潤滑油供給管)、7a フランジ、9 流入口形成面、10 流体圧利用シール、11 流体通過領域、13 内側先端、15 外側部、17 拡大部、20 振動計測対象回転機械(過給機)、21 タービン翼(回転体)、23 コンプレッサ翼(回転体)、24 回転軸(回転体)、25 タービンハウジング(静止側部)、27 軸受、28 ボルト、29 軸受ハウジング(静止側部)、31 支持体、33 加速度ピックアップ、35 回転角検出器、37 演算器、39 ナット、41 潤滑油路、43 排油口、45 排油管、45a フランジ、47 シール、

Claims (4)

  1. 流体が流れ出る流出口が形成された流出口形成面と、この流出口からの流体を流入させる流入口が形成された流入口形成面との間に設けられる流体圧利用シールであって、
    この流体圧利用シールは、流出口から流入口までの流体通過領域を囲むように、前記流出口形成面に取り付けられ、
    さらに、前記流体圧利用シールは、前記流入口形成面に接して前記流入口を囲む内側先端と、流入口中心から流入口外周縁へ向かう方向に前記内側先端から離れて位置し前記流体通過領域を囲む外側部と、前記内側先端から前記外側部まで延び流体通過領域を囲む拡大部と、を有し、
    前記流体通過領域内の流体圧により前記拡大部が流入口形成面に押し付けられることで、外部に対する流体通過領域の密閉が維持される、ことを特徴とする流体圧利用シール。
  2. 流体通過領域内の流体圧により前記流体圧利用シールは弾性変形し、これにより、前記拡大部が流入口形成面に押し付けられる、ことを特徴とする請求項1に記載の流体圧利用シール。
  3. 前記流体圧利用シールの中心軸を含む平面による前記拡大部の断面形状が、流入口形成面から前記外側部まで、前記中心軸から傾いた方向であって流入口側へ向かう方向へ延びている、ことを特徴とする請求項2に記載の流体圧利用シール。
  4. 請求項1、2または3に記載の流体圧利用シールが用いられ、振動計測対象となる振動計測対象回転機械であって、
    回転駆動される回転体と、
    この回転体を軸受を介して支持する静止側部と、を備え、
    前記流入口は、前記流出口から潤滑油が流入する開口であり、前記流入口へ流入した潤滑油は前記軸受に供給されるようになっており、
    前記流入口形成面は、前記静止側部に設けられている、ことを特徴とする振動計測対象回転機械。
JP2008236256A 2008-09-16 2008-09-16 流体圧利用シールとこれを用いた振動計測対象回転機械 Active JP5526513B2 (ja)

Priority Applications (1)

Application Number Priority Date Filing Date Title
JP2008236256A JP5526513B2 (ja) 2008-09-16 2008-09-16 流体圧利用シールとこれを用いた振動計測対象回転機械

Applications Claiming Priority (1)

Application Number Priority Date Filing Date Title
JP2008236256A JP5526513B2 (ja) 2008-09-16 2008-09-16 流体圧利用シールとこれを用いた振動計測対象回転機械

Publications (2)

Publication Number Publication Date
JP2010071665A true JP2010071665A (ja) 2010-04-02
JP5526513B2 JP5526513B2 (ja) 2014-06-18

Family

ID=42203620

Family Applications (1)

Application Number Title Priority Date Filing Date
JP2008236256A Active JP5526513B2 (ja) 2008-09-16 2008-09-16 流体圧利用シールとこれを用いた振動計測対象回転機械

Country Status (1)

Country Link
JP (1) JP5526513B2 (ja)

Cited By (1)

* Cited by examiner, † Cited by third party
Publication number Priority date Publication date Assignee Title
JP2011058511A (ja) * 2009-09-07 2011-03-24 Ihi Corp 潤滑油供給装置

Citations (2)

* Cited by examiner, † Cited by third party
Publication number Priority date Publication date Assignee Title
JP2002126966A (ja) * 2000-10-18 2002-05-08 Rix Corp リップシール及び回転軸シール構造
JP2008184948A (ja) * 2007-01-29 2008-08-14 Ihi Corp ターボチャージャ

Patent Citations (2)

* Cited by examiner, † Cited by third party
Publication number Priority date Publication date Assignee Title
JP2002126966A (ja) * 2000-10-18 2002-05-08 Rix Corp リップシール及び回転軸シール構造
JP2008184948A (ja) * 2007-01-29 2008-08-14 Ihi Corp ターボチャージャ

Cited By (1)

* Cited by examiner, † Cited by third party
Publication number Priority date Publication date Assignee Title
JP2011058511A (ja) * 2009-09-07 2011-03-24 Ihi Corp 潤滑油供給装置

Also Published As

Publication number Publication date
JP5526513B2 (ja) 2014-06-18

Similar Documents

Publication Publication Date Title
CN109141794B (zh) 一种旋转叶片激振测试装置及系统
CN103026025B (zh) 排气涡轮增压器的轴承壳体
CN101008345A (zh) 增压机
JP6858856B2 (ja) ターボチャージャ
US6979183B2 (en) Arrangement for an exhaust gas turbo charger with a carrier housing
JP2008101589A (ja) ウエストゲートバルブをそなえた排気ターボチャージャの構造
US10094391B2 (en) Compressor housing for supercharger
US20060177319A1 (en) Turbomachine, particularly exhaust gas turbocharger
JP5974370B2 (ja) 回転機械支持装置
JP5499052B2 (ja) ライナー付き液封式ポンプ
JP5526513B2 (ja) 流体圧利用シールとこれを用いた振動計測対象回転機械
EP3144541B1 (en) Compressor
CN103850980A (zh) 具有密封部的叶轮
CN104487673B (zh) 增压机用轴流涡轮机
JP5088493B2 (ja) シール部構造及び過給機
US8858172B2 (en) Method of manufacturing rotor assembly, rotor assembly, and turbo compressor
CN112780584B (zh) 磁悬浮压缩机
JP5464470B2 (ja) ターボチャージャのオイルシール構造
CN108699960A (zh) 增压器
JP6084611B2 (ja) 密封装置
RU2006114634A (ru) Машина для создания потока, скользящее кольцевое уплотнение для нее, часть корпуса для скользящего кольцевого уплотнения и способ прикрепления скользящего кольцевого уплотнения к машине для создания потока
JP2012167606A (ja) ターボ機械
JP2006308098A (ja) 遠心力ポンプの側板を取り付けるための密封装置及びそれに使用される取付ねじ
KR102908584B1 (ko) 추력 저감을 위한 씰링 어셈블리 및 터보장치
JP5060162B2 (ja) ねじ回し及びねじの締め付け方法

Legal Events

Date Code Title Description
A621 Written request for application examination

Free format text: JAPANESE INTERMEDIATE CODE: A621

Effective date: 20110809

A131 Notification of reasons for refusal

Free format text: JAPANESE INTERMEDIATE CODE: A131

Effective date: 20130910

A521 Written amendment

Free format text: JAPANESE INTERMEDIATE CODE: A523

Effective date: 20131010

TRDD Decision of grant or rejection written
A01 Written decision to grant a patent or to grant a registration (utility model)

Free format text: JAPANESE INTERMEDIATE CODE: A01

Effective date: 20140318

A61 First payment of annual fees (during grant procedure)

Free format text: JAPANESE INTERMEDIATE CODE: A61

Effective date: 20140331

R151 Written notification of patent or utility model registration

Ref document number: 5526513

Country of ref document: JP

Free format text: JAPANESE INTERMEDIATE CODE: R151

R250 Receipt of annual fees

Free format text: JAPANESE INTERMEDIATE CODE: R250

R250 Receipt of annual fees

Free format text: JAPANESE INTERMEDIATE CODE: R250