JP2010070911A - グレーチングの固定金具 - Google Patents

グレーチングの固定金具 Download PDF

Info

Publication number
JP2010070911A
JP2010070911A JP2008236427A JP2008236427A JP2010070911A JP 2010070911 A JP2010070911 A JP 2010070911A JP 2008236427 A JP2008236427 A JP 2008236427A JP 2008236427 A JP2008236427 A JP 2008236427A JP 2010070911 A JP2010070911 A JP 2010070911A
Authority
JP
Japan
Prior art keywords
rod
stopper
grating
outer frame
main member
Prior art date
Legal status (The legal status is an assumption and is not a legal conclusion. Google has not performed a legal analysis and makes no representation as to the accuracy of the status listed.)
Granted
Application number
JP2008236427A
Other languages
English (en)
Other versions
JP5184270B2 (ja
Inventor
Eiji Nishimura
栄二 西村
Toshimasa Saeki
利将 佐伯
Kohei Yamanaka
航平 山中
Tatsuo Okubo
達夫 大久保
Nobuyuki Kido
信之 木戸
Current Assignee (The listed assignees may be inaccurate. Google has not performed a legal analysis and makes no representation or warranty as to the accuracy of the list.)
Daikure KK
Original Assignee
Daikure KK
Priority date (The priority date is an assumption and is not a legal conclusion. Google has not performed a legal analysis and makes no representation as to the accuracy of the date listed.)
Filing date
Publication date
Application filed by Daikure KK filed Critical Daikure KK
Priority to JP2008236427A priority Critical patent/JP5184270B2/ja
Publication of JP2010070911A publication Critical patent/JP2010070911A/ja
Application granted granted Critical
Publication of JP5184270B2 publication Critical patent/JP5184270B2/ja
Active legal-status Critical Current
Anticipated expiration legal-status Critical

Links

Images

Landscapes

  • Sewage (AREA)

Abstract

【課題】受枠に装着されるグレーチングに水平方向に進退可能に取付けられるロッドと、ロッド先端を受枠に形成の嵌合穴に嵌合係止させた状態でロッドをロックするロック機構とを備えたグレーチングの固定金具において、ロッドのロックがより確実に、またグレーチング運搬時にロッドが脱落することがないようにする。
【解決手段】ロッド11の一側にプレートより形成される第1のストッパー12を径方向に突設し、かつ中間部に線バネの一側を山形状に屈曲形成し、屈曲部131を第1のストッパー12とは向きを異にしてロッド11より突出させる。グレーチング2には外枠21と横部材23に鉤穴状の貫通穴4が形成され、第1のストッパー12を両貫通穴4に通してロッド11を取付け、第1のストッパー12の両側に横部材23に並設の補助部材6と横部材23を配置し、かつ横部材23の両側に第1及び第2のストッパー12及び13を設けて二重にロックする。
【選択図】図7

Description

本発明は、道路等の側溝や排水桝(以下、これらを単に側溝といい、したがって側溝とは排水桝を含むものとする)に装着されるグレーチングの跳ね上がりを防止することができるグレーチングの固定金具に関する。
側溝に装着される溝蓋としては、排水機能を有することからグレーチングが多用されている。こうした溝蓋用のグレーチングは一般に鋼製で、平形鋼よりなる主部材と、並設される主部材の両端に固定されるエンドプレートと、主部材に直交して固定されるネジ棒等のクロスバーからなり、多くの場合、側溝に固定される受枠に装着される。
側溝に装着されたグレーチングは、車両等の走行によりガタ付き、まれにではあるが、跳ね上がって車両に当たる事故を発生させることがある。この問題を解消するため、グレーチングの固定手段がいくつか提案されている。グレーチングにロッドを水平方向に進退可能に取付け、ロッドを前進操作してロッド先端を受枠の嵌合穴に嵌合させると、グレーチングが固定される一方、ロッドを後退操作してロッド先端を受枠の嵌合穴より離脱させると、グレーチングの固定が解除されてグレーチングの着脱が行えるようになっており、ロッド先端が受枠の嵌合穴に嵌合した状態でロッドをロックする機構を備えたものがその例である(特許文献1及び2)。
特開2001−323552号 実用新案登録第3079966号
本発明は、側溝に取着の受枠に装着されるグレーチングに水平方向に進退可能に取付けられ、前進或いは後退操作されるロッドと、該ロッドを前進操作してロッド先端を受け枠に形成の嵌合穴に嵌合係止させた状態でロッドをロックするロック機構とを備えたグレーチングの固定金具において、ロッドのロックがより確実に行われるロック機構を備えたグレーチングの固定金具を提供することを目的とする。
請求項1に係わる発明は、矩形の外枠内に主部材と横部材を格子状に組合わせて配設したグレーチングに取付けられ、受枠に装着したグレーチングを受枠に取外し可能に固定するための固定金具であって、グレーチングの外枠と、主部材又は横部材とに同軸に形成される貫通穴にスライド可能に嵌挿され、先端が受枠に形成の嵌合穴に係脱可能に嵌合するロッドと、ロッド先端が受枠の嵌合穴に嵌合した状態でロッドのスライドを拘束してロックするロック機構を有し、該ロック機構が外枠と主部材又は横部材との間の前記ロッドに突設されるか、或いは主部材又は横部材の両側のロッドに突設される第1及び第2の2つのストッパーを備え、両ストッパーがそれぞれ外枠と主部材又は横部材に係合するか、或いは主部材又は横部材に両側より係合することによりロッドのスライドを拘束することを特徴とする。
請求項2に係わる発明は、請求項1に係わる発明において、第1のストッパーがプレートより形成されてロッドより径方向に突出する一方、第2のストッパーが常にはバネの作用により径方向に突出し、また外枠と、主部材又は横部材とに形成される貫通孔のうち、少なくとも外枠に形成される貫通穴は鉤穴状をなして第1のストッパーがロッドと共に嵌挿可能であることを特徴とする。
請求項3に係わる発明は、請求項2に係わる発明において、鉤穴状の貫通穴が外枠と共に、主部材又は横部材に同じ向きで形成され、第1及び第2のストッパーが周方向に向きを異にして突設されることを特徴とする。
請求項4に係わる発明は、請求項1〜3に係わる発明において、第1のストッパーが主部材又は横部材と、該部材に並設の補助部材との間のロッドに突設され、第2のストッパーが外枠と、主部材又は横部材との間のロッドに突設されることを特徴とする。
請求項1に係わる発明によると、第1及び第2の2つのストッパーがそれぞれ外枠と、主部材又は横部材に係合するか、或いは主部材又は横部材に両側より係合してロッドの進退を拘束することによりロッドがロックされ、車両等の走行によりグレーチングがガタ付くようなことがあってもロック状態が維持されてグレーチングの跳ね上がりを防止することができ、またグレーチングを施工現場に運搬する際もロッドをロックしておくことにより脱落することがない。
請求項2に係わる発明によると、ロッドは第1のストッパーを固定したまま鉤穴に通してグレーチングに取付けることができる。取付ける際、第2のストッパーはバネの作用に抗して押込むか、或いは鉤穴の向きに合わせて鉤穴に通される。本発明における鉤穴は、好ましくは下向き以外の例えば上向き或いは横向きに形成される。第1のストッパーを鉤穴に通してロッドをグレーチングに取付けると、ロッドは第1のストッパーの自重により第1のストッパーが下向きとなるように回動し、そのため第1のストッパーと鉤穴の向きが異なるようになって、第1のストッパーが鉤穴を通って抜け出ることができなくなるからである。
請求項3に係わる発明によると、グレーチングの運搬時に振動により例え第1のストッパーが回動して鉤穴と合致し、鉤穴に係合するようなことがあっても第1のストッパーとは向きを異にする第2のストッパーが鉤穴に引っ掛かってロッドの抜け落ちが防止される。
請求項4に係わる発明によると、第1のストッパーは、その両側の主部材又は横部材と補助部材とにより進退を拘束され、ロックがより確実に行えるようになる。
以下、本発明の実施形態について図面により説明する。
図1は、固定金具1を取り付けたグレーチング2が排水桝の受枠3に装着された状態を示すもので、グレーチング2は矩形の外枠21と、外枠内に主部材22と横部材23を格子状に組合わせて配設してなるものである。グレーチングは、主部材と、並設される主部材の両端を固定するエンドプレートと、主部材に直交して固定されるツイストバーなどのベアリングバーよりなるものであってもよい。このグレーチングにおいては、外側の主部材とエンドプレートが矩形の外枠を構成し、ベアリングバーが横部材を構成する。この場合、ベアリングバーは固定金具1の取付けられる部分のみが幅広で、好ましくは主部材と同じ材料で構成される。
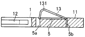
グレーチング2の略対角線上に設けられる固定金具1はそれぞれ、図2及び図3に示すようにロッド11と、ロッド11の一側に固着される第1のストッパー12と、ロッド中間部に設けられる第2のストッパー13からなり、ロッド11には中間部の周面に長溝5が軸方向に形成されると共に、長溝5の両端に大径と小径の差込穴5a、5bが直径方向に貫通して形成されている。
第1のストッパー12はプレートより形成されてロッド11の径方向に突設される一方、第2のストッパー13は線バネの一側を山形状に折曲げて、その一端をロッド11に形成した大径の差込穴5aに差込み、他側を小径の差込穴5bに差込んで支持し、山形状に折曲げられる屈曲部131を長溝4内に押込み可能であるが、常にはロッド11より突出させている。これら第1及び第2のストッパー12及び13は90°向きを異にして直交し、ロッド11のロック機構を構成するものである。なお第1のストッパー12と第2のストッパー13は180°逆向きに突設されていてもよい。要は同じ向きでなければよく、両者が適宜の角度をなしていればよい。
固定金具1を取付けるため、グレーチング2には図1に示すように、固定金具取付箇所の主部材22が一定区間切除され、切除された箇所の横部材23と外枠21には図4に示すように、第1のストッパー12とロッド11が共に通される鉤穴状の貫通穴4が同軸で、かつ同じ横向きに形成されている。また受枠3には、前記貫通穴4と同軸の丸穴状の嵌合穴31が形成されている。
ロッド11を取付けるときには、先ず第1のストッパー12を外枠2の貫通穴4に合わせて横向きにし、ロッド11を押込む。続いて第2のストッパー13の屈曲部131を押し込んで窄め、長溝5内にほぼ納めた状態で第1のストッパー12を横部材23の貫通穴4に差込むとともに、第2のストッパー13を外枠21の貫通穴4に押込む(図5)。第2のストッパー13は、外枠21の貫通穴4を通ったのち、バネの作用で復元して屈曲部131がロッド11より突出する(図6)。
第1のストッパー12が横部材23の貫通穴4に差込まれ、該貫通穴4より突出したのち、ロッド11は第1のストッパー12の自重により第1のストッパー12が下向きになるまでほぼ90°回動する。第1のストッパー12が貫通穴4より突出した状態においてはまた、ロッド11は第1及び第2のストッパー12及び13が横部材23の両側に位置することにより進退を拘束され、この状態でロッド端は外枠21より突出し、受枠3に形成の嵌合穴31に嵌合可能となる。
グレーチング2にはまた、主部材22が切除された箇所に横部材23と平行に補助部材6が設けられている。この補助部材6はロッド11がグレーチング1に第1のストッパー12を下向きにして取付けられた状態において、第1のストッパー12の下端部に係合し、これにより第1のストッパー12は補助部材6と横部材23によりロッド11の進退、すなわち軸方向の動きを拘束される。補助部材6は両端が主部材22の下縁部に取付けられており、そのため第1のストッパー12が下向きになったときには、その下端部に係合するが、第1のストッパー12を上向きに旋回させ、横向き以上にすると、補助部材6には係合しないで該補助部材上をロッド軸方向に移動可能となる。
ロッド11を取付けたグレーチング2を受枠3に装着する際には、第2のストッパー13の屈曲部131を押込み、長溝5内に納めた状態でロッド11を軸方向に押し込んで第2のストッパー13を横部材23の貫通穴4に差込み、外枠21より突出するロッド端を引込める。この状態でグレーチング2が受枠3に装着され、装着後、第1のストッパー12、ロッド11又は第2のストッパー13を掴み、ロッド端が外枠21より突出する方向に押し動かして、ロッド端を受枠3の嵌合穴31に嵌合係止させる(図7)。第1のストッパー12は戻る際、補助部材6上を通り過ぎると、その自重により下向きに旋回し、以後は横部材23と補助部材6とにより軸方向の動きを拘束される。第1のストッパー12が動きを拘束されることによりロッド11も動きを拘束される。このロッド11は更に横部材23の両側に第1のストッパー12と第2のストッパー13が位置することによっても動きを拘束される。
本実施形態によるとロッド11は、第1のストッパー12の両側に補助部材6と横部材23が配置され、かつ横部材23の両側に第1及び第2のストッパーが配置されることにより動きが拘束されて二重にロックされ、車両等の走行によりグレーチングがガタ付くようなことがあってもロック状態が維持され、グレーチングの跳ね上がりを確実に防止することができること、ロッドは第1のストッパーを取付けたまま、鉤穴に通してグレーチングに取付けることができること、第1のストッパー12と第2のストッパー13は向きを異にすることにより、グレーチング運搬中、振動により例えロッド11が回動して第1のストッパー12が横部材23の鉤穴状の貫通穴4に合致し、嵌合するようなことがあっても第2のストッパー13が外枠21に係止し、ロッド11の脱落を生ずることがない。
前記実施形態において、ロッド11は横部材23に形成される貫通穴4に通されているが、別の実施形態では貫通穴4が主部材22に形成され、ロッド11が主部材22に図示するものとは直交する向きに取付けられる。
前記実施形態では、第1のストッパー12はロッド一側に、第2のストッパー13はロッド中間部に設けられているが、別の実施形態では逆に第1のストッパー12がロッド中間部に、第2のストパー13がロッド一側に設けられる。
本実施形態においては、車両等の走行によりグレーチングがガタ付き、第1のストッパー12が横部材23に当たっても下向きの第1のストッパー12が横向きの貫通穴4に合致することはなく、したがってロッド11が外枠21より引込んで、受枠3の嵌合穴31より離脱できることがなく、グレーチング2の跳ね上がりが防止される。
前記実施形態においてはまた、第1のストッパー12はロッド11に溶接等にて固着されるが、更に別の実施形態では取外しできるようにロッド11に捩じ込んで取付けられるか、或いはボス部を形成してロッド11に差込み、ボス部をロッド11に止ネジにて止着される。この場合、ロッド11を貫通穴4に通してから第1のストッパー12を取付けることができるため、貫通穴4を鉤穴状に形成する必要がなく、嵌合穴31と同様の丸穴状とすることができる。
前記実施形態ではまた、第2のストッパー13の屈曲部131をロッド11より突出させた線バネで形成しているが、ロッド11より突出するピンで構成してもよい。この場合、第1のストッパー12を外枠21に形成の貫通穴4に通したのち、第1のストッパー12が横部材23に達するまでロッド11を回動してピンを外枠21に形成の貫通穴4に合わせて通される。
受枠に装着されたグレーチングの平面図。 固定金具の平面図。 固定金具の部分断面正面図。 固定金具取付前のグレーチングの要部の斜視図。 ロッド取付時の平面図。 ロッドが取付けられた状態を示す平面図。 ロッド端が受枠の嵌合穴に嵌合した状態を示す断面図。
符号の説明
1・・固定金具
2・・グレーチング
3・・受枠
4・・鉤穴状の貫通穴
5・・長溝
6・・補助部材
11・・ロッド
12・・第1のストッパー
13・・第2のストッパー
21・・外枠
22・・主部材
23・・横部材
31・・嵌合穴
131・・屈曲部

Claims (4)

  1. 矩形の外枠内に主部材と横部材を格子状に組合わせて配設したグレーチングに取付けられ、受枠に装着したグレーチングを受枠に取外し可能に固定するための固定金具であって、グレーチングの外枠と、主部材又は横部材とに同軸に形成される貫通穴にスライド可能に嵌挿され、先端が受枠に形成の嵌合穴に係脱可能に嵌合するロッドと、ロッド先端が受枠の嵌合穴に嵌合した状態でロッドのスライドを拘束してロックするロック機構を有し、該ロック機構が外枠と主部材又は横部材との間の前記ロッドに突設されるか、或いは主部材又は横部材の両側のロッドに突設される第1及び第2の2つのストッパーを備え、両ストッパーがそれぞれ外枠と主部材又は横部材に係合するか、或いは主部材又は横部材に両側より係合することによりロッドのスライドを拘束することを特徴とするグレーチングの固定金具。
  2. 前記第1のストッパーがプレートより形成されてロッドより径方向に突出する一方、第2のストッパーが常にはバネの作用により径方向に突出し、また外枠と、主部材又は横部材とに形成される貫通孔のうち、少なくとも外枠に形成される貫通穴は鉤穴状をなして第1のストッパーがロッドと共に嵌挿可能であることを特徴とする請求項1記載のグレーチングの固定金具。
  3. 前記鉤穴状の貫通穴が外枠と共に、主部材又は横部材に同じ向きで形成され、第1及び第2のストッパーが周方向に向きを異にして突設されることを特徴とする請求項2記載のグレーチングの固定金具。
  4. 前記第1のストッパーが主部材又は横部材と、該部材に並設の補助部材との間のロッドに突設され、第2のストッパーが外枠と、主部材又は横部材との間のロッドに突設されることを特徴とする請求項1〜3記載のグレーチングの固定金具。
JP2008236427A 2008-09-16 2008-09-16 グレーチングの固定金具 Active JP5184270B2 (ja)

Priority Applications (1)

Application Number Priority Date Filing Date Title
JP2008236427A JP5184270B2 (ja) 2008-09-16 2008-09-16 グレーチングの固定金具

Applications Claiming Priority (1)

Application Number Priority Date Filing Date Title
JP2008236427A JP5184270B2 (ja) 2008-09-16 2008-09-16 グレーチングの固定金具

Publications (2)

Publication Number Publication Date
JP2010070911A true JP2010070911A (ja) 2010-04-02
JP5184270B2 JP5184270B2 (ja) 2013-04-17

Family

ID=42202955

Family Applications (1)

Application Number Title Priority Date Filing Date
JP2008236427A Active JP5184270B2 (ja) 2008-09-16 2008-09-16 グレーチングの固定金具

Country Status (1)

Country Link
JP (1) JP5184270B2 (ja)

Citations (2)

* Cited by examiner, † Cited by third party
Publication number Priority date Publication date Assignee Title
JP2001227052A (ja) * 2000-02-17 2001-08-24 Hanshin Expressway Public Corp 蓋ロック機構を備えた排水桝
JP2001254431A (ja) * 2000-03-09 2001-09-21 Shinko Kenzai Ltd 溝 蓋

Patent Citations (2)

* Cited by examiner, † Cited by third party
Publication number Priority date Publication date Assignee Title
JP2001227052A (ja) * 2000-02-17 2001-08-24 Hanshin Expressway Public Corp 蓋ロック機構を備えた排水桝
JP2001254431A (ja) * 2000-03-09 2001-09-21 Shinko Kenzai Ltd 溝 蓋

Also Published As

Publication number Publication date
JP5184270B2 (ja) 2013-04-17

Similar Documents

Publication Publication Date Title
JP5551548B2 (ja) 車両用スライドレール装置
WO2011099454A1 (ja) 留め具
US10040473B2 (en) Steering column device
JP6689307B2 (ja) ブラケット装置
KR20120124985A (ko) 건설공사용 안전망 구조물
JP5184270B2 (ja) グレーチングの固定金具
KR101138376B1 (ko) 자전거 시트의 잠금 조립체
JP2008208523A (ja) フェンス
JP2009191533A (ja) グレーチングの固定金具
JP2017035999A (ja) ステアリング装置
JP4671202B2 (ja) ランプ取付構造
JP5918152B2 (ja) グレーチング用固定具
WO2015040844A1 (ja) ヒッチキャリア固定装置
JP5261701B2 (ja) カーポートのサポート柱
JP5874157B2 (ja) 跳ね上がり防止機構付きグレーチング
JP4350723B2 (ja) ケーブル受金具
JP2006052584A (ja) 溝蓋止金具
JP3185244U (ja) グレーチングの取付構造
JP5295990B2 (ja) 留め具
KR200471064Y1 (ko) 그레이팅 고정장치
JP3198992U (ja) 支柱
JP6026988B2 (ja) 足場部材及び足場部材の連結構造
EP3124328A1 (fr) Barre de toit
JP2006088935A (ja) スペアタイヤ脱着用ハンドルガイド装置
JP4127542B2 (ja) カーポート

Legal Events

Date Code Title Description
A621 Written request for application examination

Free format text: JAPANESE INTERMEDIATE CODE: A621

Effective date: 20110603

A977 Report on retrieval

Free format text: JAPANESE INTERMEDIATE CODE: A971007

Effective date: 20120704

A131 Notification of reasons for refusal

Free format text: JAPANESE INTERMEDIATE CODE: A131

Effective date: 20120717

A521 Request for written amendment filed

Free format text: JAPANESE INTERMEDIATE CODE: A523

Effective date: 20120906

TRDD Decision of grant or rejection written
A01 Written decision to grant a patent or to grant a registration (utility model)

Free format text: JAPANESE INTERMEDIATE CODE: A01

Effective date: 20130115

A61 First payment of annual fees (during grant procedure)

Free format text: JAPANESE INTERMEDIATE CODE: A61

Effective date: 20130116

R150 Certificate of patent or registration of utility model

Ref document number: 5184270

Country of ref document: JP

Free format text: JAPANESE INTERMEDIATE CODE: R150

Free format text: JAPANESE INTERMEDIATE CODE: R150

FPAY Renewal fee payment (event date is renewal date of database)

Free format text: PAYMENT UNTIL: 20160125

Year of fee payment: 3

R250 Receipt of annual fees

Free format text: JAPANESE INTERMEDIATE CODE: R250

R250 Receipt of annual fees

Free format text: JAPANESE INTERMEDIATE CODE: R250

R250 Receipt of annual fees

Free format text: JAPANESE INTERMEDIATE CODE: R250

R250 Receipt of annual fees

Free format text: JAPANESE INTERMEDIATE CODE: R250