JP2010069737A - ラインヘッドおよび画像形成装置 - Google Patents
ラインヘッドおよび画像形成装置 Download PDFInfo
- Publication number
- JP2010069737A JP2010069737A JP2008239939A JP2008239939A JP2010069737A JP 2010069737 A JP2010069737 A JP 2010069737A JP 2008239939 A JP2008239939 A JP 2008239939A JP 2008239939 A JP2008239939 A JP 2008239939A JP 2010069737 A JP2010069737 A JP 2010069737A
- Authority
- JP
- Japan
- Prior art keywords
- substrate
- line head
- light emitting
- unit
- light
- Prior art date
- Legal status (The legal status is an assumption and is not a legal conclusion. Google has not performed a legal analysis and makes no representation as to the accuracy of the status listed.)
- Granted
Links
- 239000000758 substrate Substances 0.000 claims abstract description 211
- 108091008695 photoreceptors Proteins 0.000 claims description 3
- 238000012546 transfer Methods 0.000 description 55
- 239000000463 material Substances 0.000 description 42
- 239000010410 layer Substances 0.000 description 40
- 239000000470 constituent Substances 0.000 description 16
- 238000000034 method Methods 0.000 description 15
- 238000004140 cleaning Methods 0.000 description 14
- 230000008569 process Effects 0.000 description 14
- 238000007789 sealing Methods 0.000 description 14
- 239000011521 glass Substances 0.000 description 13
- 230000005525 hole transport Effects 0.000 description 11
- 230000002829 reductive effect Effects 0.000 description 11
- 230000032258 transport Effects 0.000 description 11
- 230000006870 function Effects 0.000 description 10
- -1 polyethylene terephthalate Polymers 0.000 description 10
- UHOVQNZJYSORNB-UHFFFAOYSA-N Benzene Chemical compound C1=CC=CC=C1 UHOVQNZJYSORNB-UHFFFAOYSA-N 0.000 description 9
- 230000003287 optical effect Effects 0.000 description 9
- 239000004065 semiconductor Substances 0.000 description 9
- 230000000694 effects Effects 0.000 description 7
- 239000011347 resin Substances 0.000 description 7
- 229920005989 resin Polymers 0.000 description 7
- 150000001875 compounds Chemical class 0.000 description 6
- 238000010586 diagram Methods 0.000 description 6
- 239000007769 metal material Substances 0.000 description 6
- 230000002093 peripheral effect Effects 0.000 description 6
- 125000006850 spacer group Chemical group 0.000 description 6
- 239000000853 adhesive Substances 0.000 description 5
- 230000001070 adhesive effect Effects 0.000 description 5
- TWRXJAOTZQYOKJ-UHFFFAOYSA-L Magnesium chloride Chemical compound [Mg+2].[Cl-].[Cl-] TWRXJAOTZQYOKJ-UHFFFAOYSA-L 0.000 description 4
- MWPLVEDNUUSJAV-UHFFFAOYSA-N anthracene Chemical compound C1=CC=CC2=CC3=CC=CC=C3C=C21 MWPLVEDNUUSJAV-UHFFFAOYSA-N 0.000 description 4
- 238000012937 correction Methods 0.000 description 4
- 229910052751 metal Inorganic materials 0.000 description 4
- 239000002184 metal Substances 0.000 description 4
- IEQIEDJGQAUEQZ-UHFFFAOYSA-N phthalocyanine Chemical class N1C(N=C2C3=CC=CC=C3C(N=C3C4=CC=CC=C4C(=N4)N3)=N2)=C(C=CC=C2)C2=C1N=C1C2=CC=CC=C2C4=N1 IEQIEDJGQAUEQZ-UHFFFAOYSA-N 0.000 description 4
- 229920000642 polymer Polymers 0.000 description 4
- 230000007723 transport mechanism Effects 0.000 description 4
- 150000003852 triazoles Chemical class 0.000 description 4
- 239000007983 Tris buffer Substances 0.000 description 3
- 229910045601 alloy Inorganic materials 0.000 description 3
- 239000000956 alloy Substances 0.000 description 3
- 229910052782 aluminium Inorganic materials 0.000 description 3
- 238000005452 bending Methods 0.000 description 3
- 239000003990 capacitor Substances 0.000 description 3
- 238000009434 installation Methods 0.000 description 3
- 239000000395 magnesium oxide Substances 0.000 description 3
- CPLXHLVBOLITMK-UHFFFAOYSA-N magnesium oxide Inorganic materials [Mg]=O CPLXHLVBOLITMK-UHFFFAOYSA-N 0.000 description 3
- AXZKOIWUVFPNLO-UHFFFAOYSA-N magnesium;oxygen(2-) Chemical compound [O-2].[Mg+2] AXZKOIWUVFPNLO-UHFFFAOYSA-N 0.000 description 3
- 239000011159 matrix material Substances 0.000 description 3
- WCPAKWJPBJAGKN-UHFFFAOYSA-N oxadiazole Chemical compound C1=CON=N1 WCPAKWJPBJAGKN-UHFFFAOYSA-N 0.000 description 3
- 238000012545 processing Methods 0.000 description 3
- 229910001220 stainless steel Inorganic materials 0.000 description 3
- 239000010935 stainless steel Substances 0.000 description 3
- UJOBWOGCFQCDNV-UHFFFAOYSA-N 9H-carbazole Chemical compound C1=CC=C2C3=CC=CC=C3NC2=C1 UJOBWOGCFQCDNV-UHFFFAOYSA-N 0.000 description 2
- OKTJSMMVPCPJKN-UHFFFAOYSA-N Carbon Chemical compound [C] OKTJSMMVPCPJKN-UHFFFAOYSA-N 0.000 description 2
- XEEYBQQBJWHFJM-UHFFFAOYSA-N Iron Chemical compound [Fe] XEEYBQQBJWHFJM-UHFFFAOYSA-N 0.000 description 2
- UQSXHKLRYXJYBZ-UHFFFAOYSA-N Iron oxide Chemical compound [Fe]=O UQSXHKLRYXJYBZ-UHFFFAOYSA-N 0.000 description 2
- CSNNHWWHGAXBCP-UHFFFAOYSA-L Magnesium sulfate Chemical compound [Mg+2].[O-][S+2]([O-])([O-])[O-] CSNNHWWHGAXBCP-UHFFFAOYSA-L 0.000 description 2
- UFWIBTONFRDIAS-UHFFFAOYSA-N Naphthalene Chemical compound C1=CC=CC2=CC=CC=C21 UFWIBTONFRDIAS-UHFFFAOYSA-N 0.000 description 2
- 229940123973 Oxygen scavenger Drugs 0.000 description 2
- VYPSYNLAJGMNEJ-UHFFFAOYSA-N Silicium dioxide Chemical compound O=[Si]=O VYPSYNLAJGMNEJ-UHFFFAOYSA-N 0.000 description 2
- 229910006404 SnO 2 Inorganic materials 0.000 description 2
- PPBRXRYQALVLMV-UHFFFAOYSA-N Styrene Chemical compound C=CC1=CC=CC=C1 PPBRXRYQALVLMV-UHFFFAOYSA-N 0.000 description 2
- XAGFODPZIPBFFR-UHFFFAOYSA-N aluminium Chemical compound [Al] XAGFODPZIPBFFR-UHFFFAOYSA-N 0.000 description 2
- 150000001454 anthracenes Chemical class 0.000 description 2
- XJHCXCQVJFPJIK-UHFFFAOYSA-M caesium fluoride Chemical compound [F-].[Cs+] XJHCXCQVJFPJIK-UHFFFAOYSA-M 0.000 description 2
- OSGAYBCDTDRGGQ-UHFFFAOYSA-L calcium sulfate Chemical compound [Ca+2].[O-]S([O-])(=O)=O OSGAYBCDTDRGGQ-UHFFFAOYSA-L 0.000 description 2
- WDECIBYCCFPHNR-UHFFFAOYSA-N chrysene Chemical compound C1=CC=CC2=CC=C3C4=CC=CC=C4C=CC3=C21 WDECIBYCCFPHNR-UHFFFAOYSA-N 0.000 description 2
- 239000003086 colorant Substances 0.000 description 2
- 229910052802 copper Inorganic materials 0.000 description 2
- 239000010949 copper Substances 0.000 description 2
- 239000002274 desiccant Substances 0.000 description 2
- 230000006866 deterioration Effects 0.000 description 2
- 238000011161 development Methods 0.000 description 2
- 238000005401 electroluminescence Methods 0.000 description 2
- 239000007789 gas Substances 0.000 description 2
- 150000002460 imidazoles Chemical class 0.000 description 2
- 238000001746 injection moulding Methods 0.000 description 2
- 239000011777 magnesium Substances 0.000 description 2
- 229910001629 magnesium chloride Inorganic materials 0.000 description 2
- 230000007246 mechanism Effects 0.000 description 2
- 230000004048 modification Effects 0.000 description 2
- 238000012986 modification Methods 0.000 description 2
- 238000000465 moulding Methods 0.000 description 2
- 230000003647 oxidation Effects 0.000 description 2
- 238000007254 oxidation reaction Methods 0.000 description 2
- 230000036961 partial effect Effects 0.000 description 2
- 125000002080 perylenyl group Chemical group C1(=CC=C2C=CC=C3C4=CC=CC5=CC=CC(C1=C23)=C45)* 0.000 description 2
- YNPNZTXNASCQKK-UHFFFAOYSA-N phenanthrene Chemical compound C1=CC=C2C3=CC=CC=C3C=CC2=C1 YNPNZTXNASCQKK-UHFFFAOYSA-N 0.000 description 2
- 239000004033 plastic Substances 0.000 description 2
- 229920003023 plastic Polymers 0.000 description 2
- 125000004262 quinoxalin-2-yl group Chemical group [H]C1=NC2=C([H])C([H])=C([H])C([H])=C2N=C1* 0.000 description 2
- 229910052709 silver Inorganic materials 0.000 description 2
- 238000003860 storage Methods 0.000 description 2
- FKASFBLJDCHBNZ-UHFFFAOYSA-N 1,3,4-oxadiazole Chemical compound C1=NN=CO1 FKASFBLJDCHBNZ-UHFFFAOYSA-N 0.000 description 1
- JPDUPGAVXNALOL-UHFFFAOYSA-N 1-n,1-n,4-n,4-n-tetraphenylbenzene-1,4-diamine Chemical compound C1=CC=CC=C1N(C=1C=CC(=CC=1)N(C=1C=CC=CC=1)C=1C=CC=CC=1)C1=CC=CC=C1 JPDUPGAVXNALOL-UHFFFAOYSA-N 0.000 description 1
- OBOSXEWFRARQPU-UHFFFAOYSA-N 2-n,2-n-dimethylpyridine-2,5-diamine Chemical compound CN(C)C1=CC=C(N)C=N1 OBOSXEWFRARQPU-UHFFFAOYSA-N 0.000 description 1
- VQGHOUODWALEFC-UHFFFAOYSA-N 2-phenylpyridine Chemical compound C1=CC=CC=C1C1=CC=CC=N1 VQGHOUODWALEFC-UHFFFAOYSA-N 0.000 description 1
- YLYPIBBGWLKELC-UHFFFAOYSA-N 4-(dicyanomethylene)-2-methyl-6-(4-(dimethylamino)styryl)-4H-pyran Chemical compound C1=CC(N(C)C)=CC=C1C=CC1=CC(=C(C#N)C#N)C=C(C)O1 YLYPIBBGWLKELC-UHFFFAOYSA-N 0.000 description 1
- 239000004925 Acrylic resin Substances 0.000 description 1
- 229920000178 Acrylic resin Polymers 0.000 description 1
- 229910000838 Al alloy Inorganic materials 0.000 description 1
- UXVMQQNJUSDDNG-UHFFFAOYSA-L Calcium chloride Chemical compound [Cl-].[Cl-].[Ca+2] UXVMQQNJUSDDNG-UHFFFAOYSA-L 0.000 description 1
- ODINCKMPIJJUCX-UHFFFAOYSA-N Calcium oxide Chemical compound [Ca]=O ODINCKMPIJJUCX-UHFFFAOYSA-N 0.000 description 1
- 229910052684 Cerium Inorganic materials 0.000 description 1
- 229910020366 ClO 4 Inorganic materials 0.000 description 1
- 241000284156 Clerodendrum quadriloculare Species 0.000 description 1
- 229920000089 Cyclic olefin copolymer Polymers 0.000 description 1
- XDTMQSROBMDMFD-UHFFFAOYSA-N Cyclohexane Chemical compound C1CCCCC1 XDTMQSROBMDMFD-UHFFFAOYSA-N 0.000 description 1
- 229910052691 Erbium Inorganic materials 0.000 description 1
- 229910052693 Europium Inorganic materials 0.000 description 1
- MPCRDALPQLDDFX-UHFFFAOYSA-L Magnesium perchlorate Chemical compound [Mg+2].[O-]Cl(=O)(=O)=O.[O-]Cl(=O)(=O)=O MPCRDALPQLDDFX-UHFFFAOYSA-L 0.000 description 1
- 101100496858 Mus musculus Colec12 gene Proteins 0.000 description 1
- 229910019800 NbF 5 Inorganic materials 0.000 description 1
- 241000080590 Niso Species 0.000 description 1
- 239000004952 Polyamide Substances 0.000 description 1
- 239000004695 Polyether sulfone Substances 0.000 description 1
- 239000004743 Polypropylene Substances 0.000 description 1
- CDBYLPFSWZWCQE-UHFFFAOYSA-L Sodium Carbonate Chemical compound [Na+].[Na+].[O-]C([O-])=O CDBYLPFSWZWCQE-UHFFFAOYSA-L 0.000 description 1
- PMZURENOXWZQFD-UHFFFAOYSA-L Sodium Sulfate Chemical compound [Na+].[Na+].[O-]S([O-])(=O)=O PMZURENOXWZQFD-UHFFFAOYSA-L 0.000 description 1
- GWEVSGVZZGPLCZ-UHFFFAOYSA-N Titan oxide Chemical compound O=[Ti]=O GWEVSGVZZGPLCZ-UHFFFAOYSA-N 0.000 description 1
- 229910052769 Ytterbium Inorganic materials 0.000 description 1
- XAYHHORGIZZJMW-UHFFFAOYSA-N [SeH2].Br.Br Chemical compound [SeH2].Br.Br XAYHHORGIZZJMW-UHFFFAOYSA-N 0.000 description 1
- 230000002411 adverse Effects 0.000 description 1
- PNEYBMLMFCGWSK-UHFFFAOYSA-N aluminium oxide Inorganic materials [O-2].[O-2].[O-2].[Al+3].[Al+3] PNEYBMLMFCGWSK-UHFFFAOYSA-N 0.000 description 1
- VBNDBSTWLOHPJI-UHFFFAOYSA-K aluminum 2-oxo-1H-quinolin-8-olate Chemical compound [Al+3].C1=C([O-])N=C2C(O)=CC=CC2=C1.C1=C([O-])N=C2C(O)=CC=CC2=C1.C1=C([O-])N=C2C(O)=CC=CC2=C1 VBNDBSTWLOHPJI-UHFFFAOYSA-K 0.000 description 1
- 150000001448 anilines Chemical class 0.000 description 1
- QVGXLLKOCUKJST-UHFFFAOYSA-N atomic oxygen Chemical compound [O] QVGXLLKOCUKJST-UHFFFAOYSA-N 0.000 description 1
- SGUXGJPBTNFBAD-UHFFFAOYSA-L barium iodide Chemical compound [I-].[I-].[Ba+2] SGUXGJPBTNFBAD-UHFFFAOYSA-L 0.000 description 1
- QVQLCTNNEUAWMS-UHFFFAOYSA-N barium oxide Chemical compound [Ba]=O QVQLCTNNEUAWMS-UHFFFAOYSA-N 0.000 description 1
- OOULUYZFLXDWDQ-UHFFFAOYSA-L barium perchlorate Chemical compound [Ba+2].[O-]Cl(=O)(=O)=O.[O-]Cl(=O)(=O)=O OOULUYZFLXDWDQ-UHFFFAOYSA-L 0.000 description 1
- 230000004888 barrier function Effects 0.000 description 1
- 230000008901 benefit Effects 0.000 description 1
- 150000001555 benzenes Chemical class 0.000 description 1
- 230000005540 biological transmission Effects 0.000 description 1
- 229910052792 caesium Inorganic materials 0.000 description 1
- 229910052791 calcium Inorganic materials 0.000 description 1
- 239000011575 calcium Substances 0.000 description 1
- WGEFECGEFUFIQW-UHFFFAOYSA-L calcium dibromide Chemical compound [Ca+2].[Br-].[Br-] WGEFECGEFUFIQW-UHFFFAOYSA-L 0.000 description 1
- 229910010293 ceramic material Inorganic materials 0.000 description 1
- MOOUSOJAOQPDEH-UHFFFAOYSA-K cerium(iii) bromide Chemical compound [Br-].[Br-].[Br-].[Ce+3] MOOUSOJAOQPDEH-UHFFFAOYSA-K 0.000 description 1
- 150000001846 chrysenes Chemical class 0.000 description 1
- KTVIXTQDYHMGHF-UHFFFAOYSA-L cobalt(2+) sulfate Chemical compound [Co+2].[O-]S([O-])(=O)=O KTVIXTQDYHMGHF-UHFFFAOYSA-L 0.000 description 1
- ORTQZVOHEJQUHG-UHFFFAOYSA-L copper(II) chloride Chemical compound Cl[Cu]Cl ORTQZVOHEJQUHG-UHFFFAOYSA-L 0.000 description 1
- XCJYREBRNVKWGJ-UHFFFAOYSA-N copper(II) phthalocyanine Chemical compound [Cu+2].C12=CC=CC=C2C(N=C2[N-]C(C3=CC=CC=C32)=N2)=NC1=NC([C]1C=CC=CC1=1)=NC=1N=C1[C]3C=CC=CC3=C2[N-]1 XCJYREBRNVKWGJ-UHFFFAOYSA-N 0.000 description 1
- FZFYOUJTOSBFPQ-UHFFFAOYSA-M dipotassium;hydroxide Chemical compound [OH-].[K+].[K+] FZFYOUJTOSBFPQ-UHFFFAOYSA-M 0.000 description 1
- 230000005288 electromagnetic effect Effects 0.000 description 1
- 238000005516 engineering process Methods 0.000 description 1
- 239000004744 fabric Substances 0.000 description 1
- YLQWCDOCJODRMT-UHFFFAOYSA-N fluoren-9-one Chemical compound C1=CC=C2C(=O)C3=CC=CC=C3C2=C1 YLQWCDOCJODRMT-UHFFFAOYSA-N 0.000 description 1
- 150000008376 fluorenones Chemical class 0.000 description 1
- SBDRYJMIQMDXRH-UHFFFAOYSA-N gallium;sulfuric acid Chemical compound [Ga].OS(O)(=O)=O SBDRYJMIQMDXRH-UHFFFAOYSA-N 0.000 description 1
- 229910052737 gold Inorganic materials 0.000 description 1
- 230000005283 ground state Effects 0.000 description 1
- 238000010438 heat treatment Methods 0.000 description 1
- RBTKNAXYKSUFRK-UHFFFAOYSA-N heliogen blue Chemical compound [Cu].[N-]1C2=C(C=CC=C3)C3=C1N=C([N-]1)C3=CC=CC=C3C1=NC([N-]1)=C(C=CC=C3)C3=C1N=C([N-]1)C3=CC=CC=C3C1=N2 RBTKNAXYKSUFRK-UHFFFAOYSA-N 0.000 description 1
- 238000003384 imaging method Methods 0.000 description 1
- AMGQUBHHOARCQH-UHFFFAOYSA-N indium;oxotin Chemical compound [In].[Sn]=O AMGQUBHHOARCQH-UHFFFAOYSA-N 0.000 description 1
- 230000002452 interceptive effect Effects 0.000 description 1
- RTRAMYYYHJZWQK-UHFFFAOYSA-N iridium;2-phenylpyridine Chemical compound [Ir].C1=CC=CC=C1C1=CC=CC=N1 RTRAMYYYHJZWQK-UHFFFAOYSA-N 0.000 description 1
- 229910052742 iron Inorganic materials 0.000 description 1
- 229910052746 lanthanum Inorganic materials 0.000 description 1
- 229910052744 lithium Inorganic materials 0.000 description 1
- INHCSSUBVCNVSK-UHFFFAOYSA-L lithium sulfate Inorganic materials [Li+].[Li+].[O-]S([O-])(=O)=O INHCSSUBVCNVSK-UHFFFAOYSA-L 0.000 description 1
- 229910052749 magnesium Inorganic materials 0.000 description 1
- OTCKOJUMXQWKQG-UHFFFAOYSA-L magnesium bromide Chemical compound [Mg+2].[Br-].[Br-] OTCKOJUMXQWKQG-UHFFFAOYSA-L 0.000 description 1
- BLQJIBCZHWBKSL-UHFFFAOYSA-L magnesium iodide Chemical compound [Mg+2].[I-].[I-] BLQJIBCZHWBKSL-UHFFFAOYSA-L 0.000 description 1
- 229910052943 magnesium sulfate Inorganic materials 0.000 description 1
- 235000019341 magnesium sulphate Nutrition 0.000 description 1
- 239000000696 magnetic material Substances 0.000 description 1
- 238000012423 maintenance Methods 0.000 description 1
- 230000007257 malfunction Effects 0.000 description 1
- 238000004519 manufacturing process Methods 0.000 description 1
- 239000002808 molecular sieve Substances 0.000 description 1
- 150000002790 naphthalenes Chemical class 0.000 description 1
- LGQLOGILCSXPEA-UHFFFAOYSA-L nickel sulfate Chemical compound [Ni+2].[O-]S([O-])(=O)=O LGQLOGILCSXPEA-UHFFFAOYSA-L 0.000 description 1
- 229910000363 nickel(II) sulfate Inorganic materials 0.000 description 1
- VOFUROIFQGPCGE-UHFFFAOYSA-N nile red Chemical compound C1=CC=C2C3=NC4=CC=C(N(CC)CC)C=C4OC3=CC(=O)C2=C1 VOFUROIFQGPCGE-UHFFFAOYSA-N 0.000 description 1
- 150000004866 oxadiazoles Chemical class 0.000 description 1
- 229910052760 oxygen Inorganic materials 0.000 description 1
- 239000001301 oxygen Substances 0.000 description 1
- AOLPZAHRYHXPLR-UHFFFAOYSA-I pentafluoroniobium Chemical compound F[Nb](F)(F)(F)F AOLPZAHRYHXPLR-UHFFFAOYSA-I 0.000 description 1
- CSHWQDPOILHKBI-UHFFFAOYSA-N peryrene Natural products C1=CC(C2=CC=CC=3C2=C2C=CC=3)=C3C2=CC=CC3=C1 CSHWQDPOILHKBI-UHFFFAOYSA-N 0.000 description 1
- 150000002987 phenanthrenes Chemical class 0.000 description 1
- 150000004986 phenylenediamines Chemical class 0.000 description 1
- 229910052697 platinum Inorganic materials 0.000 description 1
- 229920003207 poly(ethylene-2,6-naphthalate) Polymers 0.000 description 1
- 229920003229 poly(methyl methacrylate) Polymers 0.000 description 1
- 229920002647 polyamide Polymers 0.000 description 1
- 229920000767 polyaniline Polymers 0.000 description 1
- 229920001230 polyarylate Polymers 0.000 description 1
- 229920000515 polycarbonate Polymers 0.000 description 1
- 239000004417 polycarbonate Substances 0.000 description 1
- 229920006393 polyether sulfone Polymers 0.000 description 1
- 239000011112 polyethylene naphthalate Substances 0.000 description 1
- 229920000139 polyethylene terephthalate Polymers 0.000 description 1
- 239000005020 polyethylene terephthalate Substances 0.000 description 1
- 239000004926 polymethyl methacrylate Substances 0.000 description 1
- 229920001155 polypropylene Polymers 0.000 description 1
- 239000011241 protective layer Substances 0.000 description 1
- 230000006798 recombination Effects 0.000 description 1
- 238000005215 recombination Methods 0.000 description 1
- 230000004044 response Effects 0.000 description 1
- 230000002441 reversible effect Effects 0.000 description 1
- 229910052701 rubidium Inorganic materials 0.000 description 1
- 229910052706 scandium Inorganic materials 0.000 description 1
- 230000035945 sensitivity Effects 0.000 description 1
- 230000011664 signaling Effects 0.000 description 1
- 239000000741 silica gel Substances 0.000 description 1
- 229910002027 silica gel Inorganic materials 0.000 description 1
- 239000005368 silicate glass Substances 0.000 description 1
- 239000005361 soda-lime glass Substances 0.000 description 1
- 239000011734 sodium Substances 0.000 description 1
- URGAHOPLAPQHLN-UHFFFAOYSA-N sodium aluminosilicate Chemical compound [Na+].[Al+3].[O-][Si]([O-])=O.[O-][Si]([O-])=O URGAHOPLAPQHLN-UHFFFAOYSA-N 0.000 description 1
- KKCBUQHMOMHUOY-UHFFFAOYSA-N sodium oxide Chemical compound [O-2].[Na+].[Na+] KKCBUQHMOMHUOY-UHFFFAOYSA-N 0.000 description 1
- 229910052938 sodium sulfate Inorganic materials 0.000 description 1
- 235000011152 sodium sulphate Nutrition 0.000 description 1
- 230000003595 spectral effect Effects 0.000 description 1
- 230000007480 spreading Effects 0.000 description 1
- 238000003892 spreading Methods 0.000 description 1
- 229910052712 strontium Inorganic materials 0.000 description 1
- 229910001631 strontium chloride Inorganic materials 0.000 description 1
- AHBGXTDRMVNFER-UHFFFAOYSA-L strontium dichloride Chemical compound [Cl-].[Cl-].[Sr+2] AHBGXTDRMVNFER-UHFFFAOYSA-L 0.000 description 1
- 230000001360 synchronised effect Effects 0.000 description 1
- YRGLXIVYESZPLQ-UHFFFAOYSA-I tantalum pentafluoride Chemical compound F[Ta](F)(F)(F)F YRGLXIVYESZPLQ-UHFFFAOYSA-I 0.000 description 1
- RBTVSNLYYIMMKS-UHFFFAOYSA-N tert-butyl 3-aminoazetidine-1-carboxylate;hydrochloride Chemical compound Cl.CC(C)(C)OC(=O)N1CC(N)C1 RBTVSNLYYIMMKS-UHFFFAOYSA-N 0.000 description 1
- OGIDPMRJRNCKJF-UHFFFAOYSA-N titanium oxide Inorganic materials [Ti]=O OGIDPMRJRNCKJF-UHFFFAOYSA-N 0.000 description 1
- HDUMBHAAKGUHAR-UHFFFAOYSA-J titanium(4+);disulfate Chemical compound [Ti+4].[O-]S([O-])(=O)=O.[O-]S([O-])(=O)=O HDUMBHAAKGUHAR-UHFFFAOYSA-J 0.000 description 1
- ODHXBMXNKOYIBV-UHFFFAOYSA-N triphenylamine Chemical compound C1=CC=CC=C1N(C=1C=CC=CC=1)C1=CC=CC=C1 ODHXBMXNKOYIBV-UHFFFAOYSA-N 0.000 description 1
- ZOYIPGHJSALYPY-UHFFFAOYSA-K vanadium(iii) bromide Chemical compound [V+3].[Br-].[Br-].[Br-] ZOYIPGHJSALYPY-UHFFFAOYSA-K 0.000 description 1
- XLYOFNOQVPJJNP-UHFFFAOYSA-N water Substances O XLYOFNOQVPJJNP-UHFFFAOYSA-N 0.000 description 1
- 239000013585 weight reducing agent Substances 0.000 description 1
- 229910052727 yttrium Inorganic materials 0.000 description 1
- XLOMVQKBTHCTTD-UHFFFAOYSA-N zinc oxide Inorganic materials [Zn]=O XLOMVQKBTHCTTD-UHFFFAOYSA-N 0.000 description 1
Images
Classifications
-
- G—PHYSICS
- G03—PHOTOGRAPHY; CINEMATOGRAPHY; ANALOGOUS TECHNIQUES USING WAVES OTHER THAN OPTICAL WAVES; ELECTROGRAPHY; HOLOGRAPHY
- G03G—ELECTROGRAPHY; ELECTROPHOTOGRAPHY; MAGNETOGRAPHY
- G03G15/00—Apparatus for electrographic processes using a charge pattern
- G03G15/22—Apparatus for electrographic processes using a charge pattern involving the combination of more than one step according to groups G03G13/02 - G03G13/20
- G03G15/32—Apparatus for electrographic processes using a charge pattern involving the combination of more than one step according to groups G03G13/02 - G03G13/20 in which the charge pattern is formed dotwise, e.g. by a thermal head
- G03G15/326—Apparatus for electrographic processes using a charge pattern involving the combination of more than one step according to groups G03G13/02 - G03G13/20 in which the charge pattern is formed dotwise, e.g. by a thermal head by application of light, e.g. using a LED array
-
- B—PERFORMING OPERATIONS; TRANSPORTING
- B41—PRINTING; LINING MACHINES; TYPEWRITERS; STAMPS
- B41J—TYPEWRITERS; SELECTIVE PRINTING MECHANISMS, i.e. MECHANISMS PRINTING OTHERWISE THAN FROM A FORME; CORRECTION OF TYPOGRAPHICAL ERRORS
- B41J2/00—Typewriters or selective printing mechanisms characterised by the printing or marking process for which they are designed
- B41J2/435—Typewriters or selective printing mechanisms characterised by the printing or marking process for which they are designed characterised by selective application of radiation to a printing material or impression-transfer material
- B41J2/447—Typewriters or selective printing mechanisms characterised by the printing or marking process for which they are designed characterised by selective application of radiation to a printing material or impression-transfer material using arrays of radiation sources
- B41J2/45—Typewriters or selective printing mechanisms characterised by the printing or marking process for which they are designed characterised by selective application of radiation to a printing material or impression-transfer material using arrays of radiation sources using light-emitting diode [LED] or laser arrays
- B41J2/451—Special optical means therefor, e.g. lenses, mirrors, focusing means
-
- G—PHYSICS
- G03—PHOTOGRAPHY; CINEMATOGRAPHY; ANALOGOUS TECHNIQUES USING WAVES OTHER THAN OPTICAL WAVES; ELECTROGRAPHY; HOLOGRAPHY
- G03G—ELECTROGRAPHY; ELECTROPHOTOGRAPHY; MAGNETOGRAPHY
- G03G15/00—Apparatus for electrographic processes using a charge pattern
- G03G15/04—Apparatus for electrographic processes using a charge pattern for exposing, i.e. imagewise exposure by optically projecting the original image on a photoconductive recording material
- G03G15/04036—Details of illuminating systems, e.g. lamps, reflectors
- G03G15/04045—Details of illuminating systems, e.g. lamps, reflectors for exposing image information provided otherwise than by directly projecting the original image onto the photoconductive recording material, e.g. digital copiers
- G03G15/04072—Details of illuminating systems, e.g. lamps, reflectors for exposing image information provided otherwise than by directly projecting the original image onto the photoconductive recording material, e.g. digital copiers by laser
-
- H—ELECTRICITY
- H05—ELECTRIC TECHNIQUES NOT OTHERWISE PROVIDED FOR
- H05K—PRINTED CIRCUITS; CASINGS OR CONSTRUCTIONAL DETAILS OF ELECTRIC APPARATUS; MANUFACTURE OF ASSEMBLAGES OF ELECTRICAL COMPONENTS
- H05K1/00—Printed circuits
- H05K1/02—Details
- H05K1/14—Structural association of two or more printed circuits
- H05K1/148—Arrangements of two or more hingeably connected rigid printed circuit boards, i.e. connected by flexible means
-
- G—PHYSICS
- G03—PHOTOGRAPHY; CINEMATOGRAPHY; ANALOGOUS TECHNIQUES USING WAVES OTHER THAN OPTICAL WAVES; ELECTROGRAPHY; HOLOGRAPHY
- G03G—ELECTROGRAPHY; ELECTROPHOTOGRAPHY; MAGNETOGRAPHY
- G03G2215/00—Apparatus for electrophotographic processes
- G03G2215/04—Arrangements for exposing and producing an image
- G03G2215/0402—Exposure devices
- G03G2215/0407—Light-emitting array or panel
- G03G2215/0409—Light-emitting diodes, i.e. LED-array
-
- H—ELECTRICITY
- H05—ELECTRIC TECHNIQUES NOT OTHERWISE PROVIDED FOR
- H05K—PRINTED CIRCUITS; CASINGS OR CONSTRUCTIONAL DETAILS OF ELECTRIC APPARATUS; MANUFACTURE OF ASSEMBLAGES OF ELECTRICAL COMPONENTS
- H05K1/00—Printed circuits
- H05K1/02—Details
- H05K1/14—Structural association of two or more printed circuits
- H05K1/147—Structural association of two or more printed circuits at least one of the printed circuits being bent or folded, e.g. by using a flexible printed circuit
-
- H—ELECTRICITY
- H05—ELECTRIC TECHNIQUES NOT OTHERWISE PROVIDED FOR
- H05K—PRINTED CIRCUITS; CASINGS OR CONSTRUCTIONAL DETAILS OF ELECTRIC APPARATUS; MANUFACTURE OF ASSEMBLAGES OF ELECTRICAL COMPONENTS
- H05K2201/00—Indexing scheme relating to printed circuits covered by H05K1/00
- H05K2201/05—Flexible printed circuits [FPCs]
- H05K2201/055—Folded back on itself
Landscapes
- Physics & Mathematics (AREA)
- General Physics & Mathematics (AREA)
- Optics & Photonics (AREA)
- Engineering & Computer Science (AREA)
- Microelectronics & Electronic Packaging (AREA)
- Health & Medical Sciences (AREA)
- General Health & Medical Sciences (AREA)
- Toxicology (AREA)
- Printers Or Recording Devices Using Electromagnetic And Radiation Means (AREA)
- Accessory Devices And Overall Control Thereof (AREA)
- Facsimile Heads (AREA)
Abstract
【解決手段】ラインヘッド13は、支持部材6が、発光基板ユニット7の第1の基板71が搭載される基板搭載部61と、回路基板ユニット8の第2の基板81を介して対向するように基板搭載部61から延びる1対の脚部62とを有し、発光基板ユニット7と回路基板ユニット8とを電気的に接続する配線ユニット9は、フレキシブルプリント基板であり、第1の基板71および第2の基板81の互いの幅方向での端部同士を接続するように設けられているとともに、第2の基板82の一端部側から他端部側へ向けて折り返されている。
【選択図】図3
Description
例えば、特許文献1にかかるラインヘッドでは、複数の発光素子が主走査方向に配列されたヘッド基板と、ヘッド基板を支持するベースプレートと、ヘッド基板の光の出射側に設けられたロッドレンズアレイとを備えている。
また、かかるラインヘッドにおいて、ベースプレートは、ヘッド基板を搭載する長尺状の基板搭載部と、この基板搭載部の長手方向での両側部からヘッド基板と反対側に延びる1対の脚部とを有している。このようなベースプレートは、金属平板を折り曲げることにより形成されたものであり、安価に製造することができる。
本発明のラインヘッドは、支持部材と、
前記支持部材に支持された第1の基板と、前記第1の基板の第1の方向に配設された発光素子とを備える発光基板ユニットと、
第2の基板と、前記第2の基板に設けられ、前記発光素子を駆動するための信号が入力されるインターフェース回路と、を備える回路基板ユニットと、
前記発光基板ユニットと前記回路基板ユニットとを電気的に接続する配線を備えるフレキシブルプリント基板とを有し、
前記フレキシブルプリント基板は、前記第2の基板の前記第1の方向と直交もしくは略直交する第2の方向で接続されるように設けられるとともに、一端部側から他端部側へ向けて折り返されていることを特徴とする。
本発明のラインヘッドでは、前記第2の基板は、前記第1の基板に対し垂直または略垂直となるように配設されていることが好ましい。
本発明のラインヘッドでは、前記第1の基板は、前記支持部材の外側に配設されていることが好ましい。
本発明のラインヘッドでは、前記ドライバICは、前記支持部材に接するように配設されることが好ましい。
前記感光体に対向して配設されたラインヘッドと、を有し、
前記ラインヘッドは、
支持部材と、
前記支持部材に支持された第1の基板と、前記第1の基板の第1の方向に配設された発光素子とを備える発光基板ユニットと、
第2の基板と、前記第2の基板に設けられ、前記発光素子を駆動するための信号が入力されるインターフェース回路と、を備える回路基板ユニットと、
前記発光基板ユニットと前記回路基板ユニットとを電気的に接続する配線を備えるフレキシブルプリント基板とを有し、
前記フレキシブルプリント基板は、前記第2の基板の前記第1の方向と直交もしくは略直交する第2の方向で接続されるように設けられるとともに、一端部側から他端部側へ向けて折り返されていることを特徴とする。
また、フレキシブルプリント基板が第1の基板および第2の基板の互いの幅方向での端部同士を接続するように設けられているので、ラインヘッドの長尺化を防止することができる。その上、支持部材の1対の脚部が第2の基板を介して対向することで、ラインヘッドの幅を狭くすることができる。特に、フレキシブルプリント基板を第2の基板の幅方向での一端部側から他端部側へ向けて折り返した状態とすることで、フレキシブルプリント基板がラインヘッドの設置に際し邪魔になるのを防止するとともに、ラインヘッドの組み立て性を優れたものとしながら、支持部材の1対の脚部が第2の基板を介して対向するように第2の基板を配置(収納)することが可能となる。
また、本発明の画像形成装置によれば、上記のような幅狭のラインヘッドを搭載することで、感光体の直径を小さくすることができ、その結果、小型で安価なものとすることができる。
<第1実施形態>
図1は、本発明の第1実施形態にかかる画像形成装置の全体構成を示す概略図、図2は、図1に示す画像形成装置に備えられたラインヘッドの部分断面斜視図、図3は、図2に示すラインヘッドの横断面図、図4は、図2に示すラインヘッドに備えられた発光素子の概略構成を示す断面図、図5は、図2に示すラインヘッドに備えられた第1の基板と第2の基板と配線ユニットとの関係を説明するための図、図6は、図2に示すラインヘッドの制御系の構成を示す図、図7は、図6に示す制御系の変形例を説明するための図である。なお、以下では、説明の便宜上、図1〜図3中の上側を「上」、下側を「下」と言う。
図1に示す画像形成装置1は、帯電工程・露光工程・現像工程・転写工程・定着工程を含む一連の画像形成プロセスによって画像を記録媒体Pに記録する電子写真方式のプリンターである。本実施形態では、画像形成装置1は、いわゆるタンデム方式を採用するカラープリンタである。
このような画像形成装置1は、図1に示すように、帯電工程・露光工程・現像工程のための画像形成ユニット10と、転写工程のための転写ユニット20と、定着工程のための定着ユニット30と、紙などの記録媒体Pを搬送するための搬送機構40と、この搬送機構40に記録媒体Pを供給する給紙ユニット50とを有している。
各画像形成ステーション10Y、10C、10M、10Kは、静電的な潜像を担持する感光ドラム(感光体)11を有し、その周囲(外周側)には、帯電ユニット12、ラインヘッド(露光ユニット)13、現像装置14、クリーニングユニット15が配設されている。ここで、各画像形成ステーション10Y、10C、10M、10Kは、用いるトナーの色が異なる以外は、ほぼ同じ構成である。
帯電ユニット12は、コロナ帯電などにより感光ドラム11の受光面111を一様に帯電させるものである。
クリーニングユニット15は、感光ドラム11の受光面111に当接するゴム製のクリーニングブレード151を有し、後述する一次転写後の感光ドラム11上に残存するトナーをクリーニングブレード151により掻き落として除去するようになっている。
各画像形成ステーション10Y、10C、10M、10Kでは、感光ドラム11が1回転する間に、帯電ユニット12による感光ドラム11の受光面111の帯電と、ラインヘッド13による受光面111の露光と、現像装置14による受光面111へのトナーの供給と、後述する一次転写ローラ22による中間転写ベルト21へのトナー像の一次転写と、クリーニングユニット15による受光面111のクリーニングとが順次行なわれる。
各一次転写ローラ22は、それぞれ、対応する感光ドラム11に中間転写ベルト21を介して対向配設されており、感光ドラム11上の単色のトナー像を中間転写ベルト21に転写(一次転写)するようになっている。この一次転写ローラ22は、一次転写時に、トナーの帯電極性とは逆の極性の一次転写電圧(一次転写バイアス)が印加される。
また、転写ユニット20は、中間転写ベルト21を介して駆動ローラ23に対向配設される二次転写ローラ25と、中間転写ベルト21を介して従動ローラ24に対向配設されるクリーニングユニット26とを有している。
定着ユニット30は、定着ローラ301と、定着ローラ301に圧接される加圧ローラ302とを有しており、定着ローラ301と加圧ローラ302との間を記録媒体Pが通過するよう構成されている。また、定着ローラ301の内側には、当該定着ローラ301の外周面を加熱するヒータが内蔵されている。このような構成の定着ユニット30では、トナー像の二次転写を受けた記録媒体Pが定着ローラ301と加圧ローラ302との間を通過しながら加熱および加圧されることにより、トナー像を記録媒体Pに融着させて永久像として定着させる。
このような搬送機構40は、記録媒体Pの一方の面のみに画像形成を行う場合には、定着ユニット30によって一方の面に定着処理された記録媒体Pを搬送ローラ対42により挟持搬送して、画像形成装置1の外部へ排出する。また、記録媒体Pの両面に画像形成する場合には、定着ユニット30によって一方の面に定着処理された記録媒体Pを一旦搬送ローラ対42により挟持した後に、搬送ローラ対42を反転駆動するとともに、搬送ローラ対43、44を駆動して、当該記録媒体Pを表裏反転してレジストローラ対41へ帰還させ、前述と同様の動作により、記録媒体Pの他方の面に画像を形成する。
給紙ユニット50は、未使用の記録媒体Pを収容する給紙カセット51と、給紙カセット51から記録媒体Pを1枚ずつレジストローラ対41へ向け給送するピックアップローラ52とを備えている。
次に、ラインヘッド13について説明する。
ラインヘッド13は、感光ドラム11の外周面(すなわち受光面111)に対向して配設されている(図1および図3参照)。
そして、ラインヘッド13は、図2に示すように、支持部材6と、発光基板ユニット7と、回路基板ユニット8と、配線ユニット9と、レンズアレイ16(結像光学系)と、スペーサ17とを有している。
このようなラインヘッド13では、発光基板ユニット7から出射した光Lがスペーサ17およびレンズアレイ16を透過して、感光ドラム11の受光面111に照射される。
支持部材6は、長尺状(長手形状)をなし、感光ドラム11の軸線方向(主走査方向)に沿うように設置されている。
この支持部材6は、図3に示す横断面(後述する第1の基板71の長手方向に垂直な断面)にて、第1の基板71の板面に沿って設けられた基板搭載部61と、基板搭載部61の幅方向(副走査方向)での両端部から第1の基板71側へ延びる1対の脚部62とを有する。すなわち、支持部材6の横断面形状は、略U字状をなしている。
また、支持部材6の基板搭載部61には、その厚さ方向に貫通する開口611が形成されており、その開口611を介してレンズアレイ16が支持部材6の内側から外側へ臨むように設けられている。本実施形態では、レンズアレイ16は、基板搭載部61に接着剤等により固定されている。
1対の脚部62は、基板搭載部61の幅方向での両端部(すなわち長手方向での両側部)から下方(すなわち第1の基板71側)に延びている。これにより、1対の脚部62の間、すなわち、支持部材6の内側に、発光基板ユニット7が設けられている。このようにして、支持部材6は、発光基板ユニット7を覆うように設けられている。
このような支持部材6は、金属板を折り曲げ加工したものであるため、比較的簡単かつ安価に得ることができる。その結果、支持部材6のコストを抑えつつ、各発光素子72と外部との間における不本意な電磁気的影響を防止し、高精度な露光処理を安定的に行うことができる。
また、この支持部材6は、遮光性を有する。そのため、支持部材6は、各発光素子72から後述するレンズアレイ16へ入射しなかった光を遮蔽する機能をも有する。これにより、遮光用の部材を別途設けることなく安価に、高精度な露光処理を行うことができる。
支持部材6の構成材料としては、特に限定されず、各種金属材料(特に軟磁性材料)を用いることができるが、鉄、ステンレス鋼、アルミニウム合金等が好適に用いられる。なお、支持部材6の構成材料は、金属材料以外の材料、例えば樹脂材料であってもよい。また、支持部材6は、射出成型や、プレス成型により形成されたものであってもよい。
第1の基板71は、各発光素子72を支持するものであり、外形が長尺状をなす板状体で構成されている。
第1の基板71の構成材料としては、特に限定されないが、例えば、各種ガラス材料や各種プラスチック等を単独または組み合わせて用いることができる。
なお、各発光素子72がトップエミッション構造である場合には、第1の基板71は実質的に透明でなくてもよく、第1の基板71の構成材料として、アルミニウム、ステンレス鋼のような各種金属材料、セラミックス材料等を用いてもよい。この場合、各発光素子72がレンズアレイ16側となるように第1の基板71を設置する。
複数の発光素子72は、第1の基板71上にその長手方向(主走査方向)に沿って配列されている。また、各発光素子72は、その光軸が第1の基板71の板面に略直交するように設置されている。
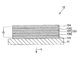
各発光素子72は、有機EL素子(有機エレクトロルミネッセンス素子)で構成されている。
また、本実施形態では、有機半導体層723は、陽極722側から、正孔輸送層726、発光層727および電子輸送層728の順で積層された複数の層で構成される積層体となっている。
陽極722は、有機半導体層723(後述する正孔輸送層726)に正孔を注入する電極である。この陽極722の構成材料としては、特に限定されないが、例えば、ITO(Indium Tin Oxide)、SnO2、Sb含有SnO2、Al含有ZnO等の酸化物、Au、Pt、Ag、Cuまたはこれらを含む合金等が挙げられ、これらのうちの少なくとも1種を用いることができる。
陰極724の構成材料としては、Li、Mg、Ca、Sr、La、Ce、Er、Eu、Sc、Y、Yb、Ag、Cu、Al、Cs、Rbまたはこれらを含む合金等が挙げられ、これらのうちの少なくとも1種を用いることができる。
正孔輸送層726は、陽極722から注入された正孔を発光層727まで輸送する機能を有するものである。
正孔輸送層726の構成材料(正孔輸送材料)は、正孔輸送能力を有するものであれば、いかなるものであってもよいが、共役系の化合物であるのが好ましい。共役系の化合物は、その特有な電子雲の広がりによる性質上、極めて円滑に正孔を輸送できるため、正孔輸送能力に特に優れる。
電子輸送層728の構成材料(電子輸送材料)としては、例えば、1,3,5−トリス[(3−フェニル−6−トリ−フルオロメチル)キノキサリン−2−イル]ベンゼン(TPQ1)のようなベンゼン系化合物(スターバースト系化合物)、ナフタレンのようなナフタレン系化合物、フェナントレンのようなフェナントレン系化合物、クリセンのようなクリセン系化合物、ペリレンのようなペリレン系化合物、アントラセンのようなアントラセン系化合物、オキサジアゾールのようなオキサジアゾール系化合物、トリアゾールのようなトリアゾール系化合物等が挙げられ、これらのうちの1種または2種以上を組み合わせて用いることができる。
このような発光層727の構成材料(発光材料)としては、1,3,5−トリス[(3−フェニル−6−トリ−フルオロメチル)キノキサリン−2−イル]ベンゼン(TPQ1)、1,3,5−トリス[{3−(4−t−ブチルフェニル)−6−トリスフルオロメチル}キノキサリン−2−イル]ベンゼン(TPQ2)のようなベンゼン系化合物、フタロシアニン、銅フタロシアニン(CuPc)、鉄フタロシアニンのような金属または無金属のフタロシアニン系化合物、トリス(8−ヒドロキシキノリノレート)アルミニウム(Alq3)、ファクトリス(2−フェニルピリジン)イリジウム(Ir(ppy)3)のような低分子系のものや、オキサジアゾール系高分子、トリアゾール系高分子、カルバゾール系高分子のような高分子系のものが挙げられ、これらの1種または2種以上を組み合わせて、目的とする発光色を有する光Lを得ることができる。
ただし、一般に電子写真プロセスに用いられる感光ドラムの分光感度特性は、半導体レーザーの発光波長である赤色から近赤外の領域でピークを持つように設定されているので、上記のように赤色の発光材料を利用することが好ましい。
また、有機EL素子で各発光素子72が構成されていると、第1の基板71の幅方向での発光素子72の数を抑えながら、第1の基板71の長手方向での発光素子72の配置密度を高めることができる。また、発光素子72を形成する際に、発光素子72と一括して、発光素子72を駆動するための駆動回路の一部を構成するTFTや配線等を第1の基板71上に形成することができる。その結果、第1の基板71の幅を抑えながら、ラインヘッド13をより安価なものとすることができる。
なお、各発光素子72の外周側には、それぞれ、光Lの広がりを防止するためのリフレクタのような光路調整部材を設けてもよい。
また、以上に述べた有機EL素子の材料あるいは層構成は、代表的な例を示したものであり、他の材料、層構成であっても同様に本発明の作用・効果は得られる。
封止部材73の凹部731内には、乾燥剤および/または脱酸素剤が設けられているのが好ましい。これにより、各発光素子72を構成する各部の酸化や劣化をより確実に防止することができる。
また、脱酸素剤としては、活性炭、シリカゲル、活性アルミナ、モレキュラーシーブ、酸化マグネシウム、酸化鉄、酸化チタン等が挙げられる。
この封止部材73の構成材料としては、特に限定されず、ステンレス、アルミニウムまたはその合金等の金属材料、ソーダ石灰ガラス、珪酸塩ガラス等のガラス材料、アクリル系樹脂、スチレン系樹脂等の樹脂材料等を用いることができるが、ガラス材料が好適に用いられる。封止部材73と第1の基板71とをともにガラス材料で構成することで、これらの間の線膨張係数差による変形、損傷等の不具合を防止することができる。
スペーサ17は、各発光素子72と支持部材6の基板搭載部61(レンズアレイ16)との間の距離を規定するものである。なお、スペーサ17の形状は、各発光素子72と支持部材6の基板搭載部61(レンズアレイ16)との間の距離を規定することができるものであれば、図示のものに限定されず、任意である。
各ロッドレンズ161は、その光軸が第1の基板71の厚さ方向となるように(すなわち各発光素子72の光軸方向と平行となるように)設置されている。また、各ロッドレンズ161は、例えば、樹脂材料および/またはガラス材料で構成されている。
回路基板ユニット8は、第2の基板81と、第2の基板81上に設けられた回路部82とを有している。
第2の基板81は、その板面が前述した各発光素子72の光軸に沿うように設置されている。すなわち、第2の基板81の板面は、前述した第1の基板71の板面に対し垂直または略垂直となるように設置されている。特に、本実施形態では、第2の基板81は、第1の基板71を平面視したときに、第1の基板71の外周の内側に収まるように設置されている。
このような第2の基板81の構成材料としては、前述した第1の基板71の構成材料と同様のものを用いることができるが、ガラス材料と樹脂材料との混合材料を用いるのが好ましい。すなわち、第2の基板81は、プリント基板であるのが好ましい。これにより、各発光素子72の駆動に必要な素子や回路を第2の基板81上に容易かつ安価に搭載することができる。
駆動回路821は、各発光素子72を駆動するためのものである。
本実施形態では、駆動回路821は、ゲート電圧保持型の複数の定電流駆動回路83と、選択スイッチ84と、ドライバIC85とを備えている。
このような各定電流駆動回路83では、選択トランジスタ833がオンされると、後述するドライバIC85の出力電圧に応じた定電流が定電流トランジスタ831を通じて発光素子72に流れ、発光素子72が発光する。また、ドライバIC85の出力電圧が電圧保持コンデンサ832に保持されることで、選択トランジスタ833がオフされても、発光素子72に電流が流れ続け、発光素子72の発光が維持される。
ドライバIC85は、シフトレジスタ851と、ラッチ回路852と、DAC853(D/Aコンバータ)とを備えている。
制御回路822は、駆動回路821の作動を制御するものである。この制御回路822は、後述するプリンタコントローラ18からの信号に基づき、駆動回路821の作動を制御する。
このような制御回路822は、インターフェース回路86と、複数(本実施形態では2つ)のデータ制御回路87と、補正値メモリ88とを備えている。
データ制御回路87は、インターフェース回路86からのデータを補正値メモリ88の補正データに基づいて、各発光素子72の発光量が最適となるように補正し、補正後のデータを制御信号とともに前述したドライバIC85(シフトレジスタ851)に送る。
このような制御系(回路部82)により各発光素子72の駆動が制御される。なお、上述した制御系の構成は、一例であり、これに限定されるものではない。
なお、回路部82は、その一部(例えばドライバIC)を第1の基板71上または配線ユニット9上に形成してもよい。
このような回路部82は、配線ユニット9の配線を介して各発光素子72に電気的に接続されている。
本実施形態では、配線ユニット9は、複数のフレキシブルプリント基板(FPC)で構成されている。これにより、第1の基板71に対する第2の基板81の設置の自由度を高めることができ、その結果、前述したように第2の基板81をその板面が第1の基板71の板面に対し垂直となるように設置することができる。なお、配線ユニット9は、単数のフレキシブルプリント基板(FPC)で構成されていてもよい。
特に、配線ユニット9は、前述したように第2の基板81(回路基板ユニット8)が支持部材6の内側に配設されている状態において、2つの折り返し部91、92が形成されている。
また、折り返し部91は、第2の基板81の一端部(図3にて下側の端部)付近に形成され、折り返し部92は、第2の基板81の他端部(図3にて上側の端部)付近に形成されている。このように配線ユニット9は、第2の基板81の一端部側から他端部側へ向けて折り返されている。
特に、本実施形態では、前述したような2つの折り返し部91、92が設けられているので、配線ユニット9の長さが長くても、配線ユニット9および第2の基板81を支持部材6内に配置することができる。また、配線ユニット9の長さを長くすることができるので、発光基板ユニット7(第1の基板71)を支持部材6内に設置した状態のまま、回路基板ユニット8(第2の基板81)を支持部材6の外側に引き出すことができる。そのため、ラインヘッド13のメンテナンス性を優れたものとすることができる。なお、本実施形態では、配線ユニット9は、支持部材6内に収まるように、配線ユニット9の長さが設定されている。ただし、配線ユニット9の長さは、場合によっては、配線ユニット9の一部が支持部材6の外側にはみ出すように、設定されていてもよい。
このような配線ユニット9の配線の一端は、第1の基板71上の配線に対し異方性導電接着剤(ACF)等を用いて接続されている。同様に、配線ユニット9の配線の他端は、第2の基板81上の配線に対し異方性導電接着剤(ACF)等を用いて接続されている。
また、ドライバIC85は、支持部材6(支持部材6の内面)に接するように配設されている。これにより、ドライバIC85で発生する熱を支持部材6へ逃がす(放熱する)ことができる。その結果、ドライバIC85の故障や誤作動等を防止し、ラインヘッド13の信頼性を向上させることができる。
また、配線ユニット9が第1の基板71および第2の基板81の互いの幅方向での端部同士を接続するように設けられているので、ラインヘッド13の長尺化を防止することができる。その上、支持部材6の内側に第2の基板81を配置することで、ラインヘッド13の幅を狭くすることができる。特に、配線ユニット9を第2の基板81の幅方向での一端部側から他端部側へ向けて折り返した状態とすることで、配線ユニット9がラインヘッド13の設置に際し邪魔になるのを防止するとともに、ラインヘッド13の組み立て性を優れたものとしながら、支持部材6の内側に第2の基板81を配置することが可能となる。このようなことから、ラインヘッド13は、組み立て性に優れ、幅が狭く、画像形成装置1を小型で安価なものとすることができる。
次に、本発明の第2実施形態について説明する。
図8は、本発明の第2実施形態にかかるラインヘッドの横断面である。
以下、第2実施形態のラインヘッドについて、前述した第1実施形態との相違点を中心に説明し、同様の事項については、その説明を省略する。
本実施形態のラインヘッド13Aは、回路基板ユニットおよび配線ユニットの寸法および配置が異なる以外は、前述した第1実施形態のラインヘッド13と同様である。
回路基板ユニット8Aは、第1の基板71と略平行となるように配設された第2の基板81Aを有し、第2の基板81Aの下面に回路部82が設けられている。
このような第2の基板81Aは、その幅が支持部材6の内側の幅よりも小さくなっている。
特に、配線ユニット9Aは、第2の基板81A(回路基板ユニット8A)が支持部材6の内側に配設されている状態において、2つの折り返し部91A、92Aが形成されている。
このような配線ユニット9Aは、支持部材6内に収まるように、短めの長さに設定されている。
以上説明したようなラインヘッド13Aによれば、上記のような前述した第1実施形態のラインヘッド13と同様の効果に加え、ラインヘッド13Aの光軸方向での寸法を短くすることができる。
次に、本発明の第3実施形態について説明する。
図9は、本発明の第3実施形態にかかるラインヘッドの横断面である。
以下、第3実施形態のラインヘッドについて、前述した第1実施形態との相違点を中心に説明し、同様の事項については、その説明を省略する。
本実施形態のラインヘッド13Bは、発光基板ユニットと回路基板ユニットと配線ユニットとの設置位置、および、回路基板ユニットと配線ユニットとの接続形態が異なるとともに、レンズアレイと発光素子との間の遮光のための遮光部材を設けた以外は、前述した第1実施形態のラインヘッド13と同様である。
発光基板ユニット7は、封止部材73の第1の基板71とは反対側の面が横断面略U字状の支持部材6Bの基板搭載部61Bの上面に接合・支持されている。このように、第1の基板71が支持部材6Bの外側に設置するため、第1の基板71を支持部材6Bの内側に設置するよりも組み立てが容易である。その結果、ラインヘッド13Bは、より安価なものとなる。
また、第1の基板71が支持部材6Bの外側に設置するため、支持部材6Bの幅を第1の基板71の幅よりも小さくすることができる。そのため、ラインヘッド13Bは、その幅をより狭くすることができる。
このような遮光部材19は、第1の基板71の上面を覆うように形成されている。また、遮光部材19には、各発光素子72の光軸方向に貫通する開口191が形成されており、その開口191を介してレンズアレイ16が遮光部材19内外を貫通するように設けられている。本実施形態では、レンズアレイ16は、遮光部材19に接着剤等により固定されている。
このような遮光部材19の構成材料は、遮光性を有するものであれば、特に限定されず、樹脂材料、金属材料などを用いることができる。
また、遮光部材19は、射出成型や、プレス成型などを用いて形成することができる。
以上説明したようなラインヘッド13Bによれば、上記のような前述した第1実施形態のラインヘッド13と同様の効果に加え、より幅狭となり、より低コスト化を図ることができ、また、メンテナンス性も向上する。
次に、本発明の第4実施形態について説明する。
図10は、本発明の第4実施形態にかかるラインヘッドに備えられた第1の基板と第2の基板と配線ユニットとを説明するための図(展開図)である。
以下、第4実施形態のラインヘッドについて、前述した第1実施形態および第4実施形態との相違点を中心に説明し、同様の事項については、その説明を省略する。
本実施形態のラインヘッドは、配線ユニットの配置、および、回路基板ユニットと配線ユニットとの接続形態が異なる以外は、前述した第3実施形態のラインヘッド13Bと同様である。
配線ユニット9D(フレキシブルプリント基板)は、図10に示すように、第1の基板71および第2の基板81のそれぞれの幅方向での一端部に固定されている。
特に、配線ユニット9Dは、第2の基板81(回路基板ユニット8A)が支持部材6Bの内側に配設されている状態において、2つの折り返し部91D、92Dが形成されている。
また、折り返し部91Dは支持部材6Bの一方の脚部62を挟むようにして折り返されている。そして、配線ユニット9D上には、支持部材6(支持部材6の内面)に接するようにドライバIC85が配設されている。
以上説明したような第4実施形態のラインヘッド13Dによれば、上記のような前述した第1実施形態のラインヘッド13と同様の効果に加え、より幅狭となり、より低コスト化を図ることができる。
次に、本発明の第5実施形態について説明する。
図11は、本発明の第5実施形態にかかるラインヘッドの横断面である。
以下、第5実施形態のラインヘッドについて、前述した第1実施形態との相違点を中心に説明し、同様の事項については、その説明を省略する。
本実施形態のラインヘッド13Eは、発光素子として発光ダイオード(LED)を用いるとともに、封止部材を省略した以外は、前述した第1実施形態のラインヘッド13と同様である。
この各発光素子72Eは、発光ダイオードである。
以上説明したようなラインヘッド13Eによっても、上記のような前述した第1実施形態のラインヘッド13と同様の効果を発揮することができる。
次に、本発明の第6実施形態について説明する。
図12は、本発明の第6実施形態にかかるラインヘッドの横断面である。
以下、第6実施形態のラインヘッドについて、前述した第1実施形態との相違点を中心に説明し、同様の事項については、その説明を省略する。
本実施形態のラインヘッド13Fでは、1つの発光基板ユニット7Fの幅方向での両端部のそれぞれに、配線ユニット9を介して回路基板ユニット8が電気的に接続されている。
以上説明したようなラインヘッド13Fによっても、上記のような前述した第1実施形態のラインヘッド13と同様の効果を発揮することができる。
また、レンズアレイは、複数のレンズが2行n列の行列状に配置さているのに限定されず、例えば、3行n列、4行n列等の行列状に配置されていてもよい。
また、前述した実施形態では、説明の便宜上、発光素子が1行n列に配列したものを説明したが、これに限定されるものではなく、発光素子が2行n列、3行n列等の行列状に配列されていてもよい。
Claims (7)
- 支持部材と、
前記支持部材に支持された第1の基板と、前記第1の基板の第1の方向に配設された発光素子とを備える発光基板ユニットと、
第2の基板と、前記第2の基板に設けられ、前記発光素子を駆動するための信号が入力されるインターフェース回路と、を備える回路基板ユニットと、
前記発光基板ユニットと前記回路基板ユニットとを電気的に接続する配線を備えるフレキシブルプリント基板とを有し、
前記フレキシブルプリント基板は、前記第2の基板の前記第1の方向と直交もしくは略直交する第2の方向で接続されるように設けられるとともに、一端部側から他端部側へ向けて折り返されていることを特徴とするラインヘッド。 - 前記フレキシブルプリント基板は、第1の折り返し部が形成され、前記他端部側から前記一端部側へ向けて折り返されることにより第2の折り返し部が形成されている請求項1に記載のラインヘッド。
- 前記第2の基板は、前記第1の基板に対し垂直または略垂直となるように配設されている請求項1または2に記載のラインヘッド。
- 前記第1の基板は、前記支持部材の外側に配設されている請求項1ないし3のいずれか1項に記載のラインヘッド。
- 前記フレキシブルプリント基板は、前記発光素子を駆動するための駆動回路の少なくとも一部を構成するドライバICが設けられている請求項1ないし4のいずれか1項に記載のラインヘッド。
- 前記ドライバICは、前記支持部材に接するように配設される請求項5に記載のラインヘッド。
- 光を受光する感光体と、
前記感光体に対向して配設されたラインヘッドと、を有し、
前記ラインヘッドは、
支持部材と、
前記支持部材に支持された第1の基板と、前記第1の基板の第1の方向に配設された発光素子とを備える発光基板ユニットと、
第2の基板と、前記第2の基板に設けられ、前記発光素子を駆動するための信号が入力されるインターフェース回路と、を備える回路基板ユニットと、
前記発光基板ユニットと前記回路基板ユニットとを電気的に接続する配線を備えるフレキシブルプリント基板とを有し、
前記フレキシブルプリント基板は、前記第2の基板の前記第1の方向と直交もしくは略直交する第2の方向で接続されるように設けられるとともに、一端部側から他端部側へ向けて折り返されていることを特徴とする画像形成装置。
Priority Applications (2)
| Application Number | Priority Date | Filing Date | Title |
|---|---|---|---|
| JP2008239939A JP5176812B2 (ja) | 2008-09-18 | 2008-09-18 | ラインヘッドおよび画像形成装置 |
| US12/553,023 US20100067954A1 (en) | 2008-09-18 | 2009-09-02 | Line Head and Image Forming Apparatus |
Applications Claiming Priority (1)
| Application Number | Priority Date | Filing Date | Title |
|---|---|---|---|
| JP2008239939A JP5176812B2 (ja) | 2008-09-18 | 2008-09-18 | ラインヘッドおよび画像形成装置 |
Publications (2)
| Publication Number | Publication Date |
|---|---|
| JP2010069737A true JP2010069737A (ja) | 2010-04-02 |
| JP5176812B2 JP5176812B2 (ja) | 2013-04-03 |
Family
ID=42007353
Family Applications (1)
| Application Number | Title | Priority Date | Filing Date |
|---|---|---|---|
| JP2008239939A Expired - Fee Related JP5176812B2 (ja) | 2008-09-18 | 2008-09-18 | ラインヘッドおよび画像形成装置 |
Country Status (2)
| Country | Link |
|---|---|
| US (1) | US20100067954A1 (ja) |
| JP (1) | JP5176812B2 (ja) |
Cited By (2)
| Publication number | Priority date | Publication date | Assignee | Title |
|---|---|---|---|---|
| JP2011213118A (ja) * | 2010-04-01 | 2011-10-27 | Toshiba Corp | 光ヘッドおよび画像形成装置 |
| JP2022081297A (ja) * | 2020-11-19 | 2022-05-31 | セイコーエプソン株式会社 | 記録装置 |
Families Citing this family (4)
| Publication number | Priority date | Publication date | Assignee | Title |
|---|---|---|---|---|
| US20110242260A1 (en) * | 2010-04-01 | 2011-10-06 | Kabushiki Kaisha Toshiba | Optical head and image forming apparatus |
| JP6374739B2 (ja) * | 2014-09-19 | 2018-08-15 | 株式会社沖データ | 露光装置及び画像形成装置 |
| JP6525562B2 (ja) * | 2014-11-27 | 2019-06-05 | 株式会社沖データ | ロッドレンズアレイ、ledプリントヘッド、コンタクトイメージセンサヘッド、画像形成装置、及び画像読取装置 |
| CN117002160A (zh) * | 2022-04-29 | 2023-11-07 | 华为技术有限公司 | Led发光模块、led打印头和led打印机 |
Citations (5)
| Publication number | Priority date | Publication date | Assignee | Title |
|---|---|---|---|---|
| JPH04138765A (ja) * | 1990-09-28 | 1992-05-13 | Kyocera Corp | 画像装置 |
| JPH04225327A (ja) * | 1990-12-27 | 1992-08-14 | Seiko Epson Corp | 電子回路の実装構造及びそれを用いた電子光学装置及び電子印字装置 |
| JPH1044497A (ja) * | 1996-07-31 | 1998-02-17 | Canon Inc | 記録ヘッド |
| JP2001038952A (ja) * | 1999-07-28 | 2001-02-13 | Canon Inc | Ledアレイヘッド及びそれを有する画像形成装置 |
| JP2002137439A (ja) * | 2000-10-31 | 2002-05-14 | Kyocera Corp | 光プリンタヘッド |
Family Cites Families (2)
| Publication number | Priority date | Publication date | Assignee | Title |
|---|---|---|---|---|
| JP4876710B2 (ja) * | 2005-09-06 | 2012-02-15 | セイコーエプソン株式会社 | 発光装置および画像形成装置 |
| US7504616B2 (en) * | 2006-04-10 | 2009-03-17 | Panasonic Corporation | Exposure device and image forming apparatus using the same |
-
2008
- 2008-09-18 JP JP2008239939A patent/JP5176812B2/ja not_active Expired - Fee Related
-
2009
- 2009-09-02 US US12/553,023 patent/US20100067954A1/en not_active Abandoned
Patent Citations (5)
| Publication number | Priority date | Publication date | Assignee | Title |
|---|---|---|---|---|
| JPH04138765A (ja) * | 1990-09-28 | 1992-05-13 | Kyocera Corp | 画像装置 |
| JPH04225327A (ja) * | 1990-12-27 | 1992-08-14 | Seiko Epson Corp | 電子回路の実装構造及びそれを用いた電子光学装置及び電子印字装置 |
| JPH1044497A (ja) * | 1996-07-31 | 1998-02-17 | Canon Inc | 記録ヘッド |
| JP2001038952A (ja) * | 1999-07-28 | 2001-02-13 | Canon Inc | Ledアレイヘッド及びそれを有する画像形成装置 |
| JP2002137439A (ja) * | 2000-10-31 | 2002-05-14 | Kyocera Corp | 光プリンタヘッド |
Cited By (3)
| Publication number | Priority date | Publication date | Assignee | Title |
|---|---|---|---|---|
| JP2011213118A (ja) * | 2010-04-01 | 2011-10-27 | Toshiba Corp | 光ヘッドおよび画像形成装置 |
| JP2022081297A (ja) * | 2020-11-19 | 2022-05-31 | セイコーエプソン株式会社 | 記録装置 |
| JP7552283B2 (ja) | 2020-11-19 | 2024-09-18 | セイコーエプソン株式会社 | 記録装置 |
Also Published As
| Publication number | Publication date |
|---|---|
| JP5176812B2 (ja) | 2013-04-03 |
| US20100067954A1 (en) | 2010-03-18 |
Similar Documents
| Publication | Publication Date | Title |
|---|---|---|
| JP2010197758A (ja) | 画像形成装置および潜像担持体ユニット | |
| US7663655B2 (en) | Light-emitting device and image forming apparatus | |
| JP5176812B2 (ja) | ラインヘッドおよび画像形成装置 | |
| US7541619B2 (en) | Electro-optical device, image forming apparatus, and image reader | |
| US7323720B2 (en) | Light-emitting device, image forming apparatus, and electronic apparatus with an integrated circuit mounted on a substrate | |
| US8054324B2 (en) | Optical head and image forming apparatus | |
| JP2011042038A (ja) | ラインヘッド及び画像形成装置 | |
| JP2008198457A (ja) | 発光装置の製造方法 | |
| JP2010058377A (ja) | ラインヘッドおよび画像形成装置 | |
| JP2010069738A (ja) | ラインヘッドおよび画像形成装置 | |
| JP2010111102A (ja) | ラインヘッドおよび画像形成装置 | |
| JP2006100071A (ja) | 電気光学装置、画像形成装置および画像読み取り装置 | |
| JP2010194717A (ja) | ラインヘッドおよび画像形成装置 | |
| JP2010058349A (ja) | ラインヘッドおよび画像形成装置 | |
| JP2010115910A (ja) | ラインヘッドおよび画像形成装置 | |
| CN101335292B (zh) | 发光元件面板 | |
| JP2010052160A (ja) | ラインヘッドおよび画像形成装置 | |
| JP4581692B2 (ja) | 有機発光ダイオード装置、画像形成装置および画像読み取り装置 | |
| JP2010089323A (ja) | ラインヘッドおよび画像形成装置 | |
| JP2010194716A (ja) | ラインヘッドおよび画像形成装置 | |
| JP4924390B2 (ja) | 発光装置、電子機器 | |
| JP2008122836A (ja) | エレクトロルミネッセンス素子、画素回路、表示装置、および露光装置 | |
| JP2009111212A (ja) | 発光装置及び電子機器 | |
| JP2010069739A (ja) | ラインヘッドおよび画像形成装置 | |
| JP4552656B2 (ja) | ラインヘッド、及び画像形成装置 |
Legal Events
| Date | Code | Title | Description |
|---|---|---|---|
| A621 | Written request for application examination |
Free format text: JAPANESE INTERMEDIATE CODE: A621 Effective date: 20110330 |
|
| A131 | Notification of reasons for refusal |
Free format text: JAPANESE INTERMEDIATE CODE: A131 Effective date: 20120918 |
|
| A521 | Request for written amendment filed |
Free format text: JAPANESE INTERMEDIATE CODE: A523 Effective date: 20121112 |
|
| A01 | Written decision to grant a patent or to grant a registration (utility model) |
Free format text: JAPANESE INTERMEDIATE CODE: A01 Effective date: 20121211 |
|
| A61 | First payment of annual fees (during grant procedure) |
Free format text: JAPANESE INTERMEDIATE CODE: A61 Effective date: 20121224 |
|
| S531 | Written request for registration of change of domicile |
Free format text: JAPANESE INTERMEDIATE CODE: R313531 |
|
| R350 | Written notification of registration of transfer |
Free format text: JAPANESE INTERMEDIATE CODE: R350 |
|
| LAPS | Cancellation because of no payment of annual fees |