JP2010066068A - 超音波流量計 - Google Patents

超音波流量計 Download PDF

Info

Publication number
JP2010066068A
JP2010066068A JP2008231133A JP2008231133A JP2010066068A JP 2010066068 A JP2010066068 A JP 2010066068A JP 2008231133 A JP2008231133 A JP 2008231133A JP 2008231133 A JP2008231133 A JP 2008231133A JP 2010066068 A JP2010066068 A JP 2010066068A
Authority
JP
Japan
Prior art keywords
measurement chamber
pressure
ultrasonic
measurement
chambers
Prior art date
Legal status (The legal status is an assumption and is not a legal conclusion. Google has not performed a legal analysis and makes no representation as to the accuracy of the status listed.)
Granted
Application number
JP2008231133A
Other languages
English (en)
Other versions
JP5259313B2 (ja
Inventor
Kazuya Fujisawa
和也 藤澤
Tetsuaki Saito
哲明 斉藤
Hiroaki Ishikawa
博朗 石川
Kazuyoshi Shimizu
和義 清水
Takeshi Shingu
武 新宮
Futoshi Takahashi
太 高橋
Current Assignee (The listed assignees may be inaccurate. Google has not performed a legal analysis and makes no representation or warranty as to the accuracy of the list.)
Tokyo Gas Co Ltd
Sonic Corp
Tokico System Solutions Co Ltd
Original Assignee
Tokyo Gas Co Ltd
Sonic Corp
Tokico Technology Ltd
Priority date (The priority date is an assumption and is not a legal conclusion. Google has not performed a legal analysis and makes no representation as to the accuracy of the date listed.)
Filing date
Publication date
Application filed by Tokyo Gas Co Ltd, Sonic Corp, Tokico Technology Ltd filed Critical Tokyo Gas Co Ltd
Priority to JP2008231133A priority Critical patent/JP5259313B2/ja
Publication of JP2010066068A publication Critical patent/JP2010066068A/ja
Application granted granted Critical
Publication of JP5259313B2 publication Critical patent/JP5259313B2/ja
Active legal-status Critical Current
Anticipated expiration legal-status Critical

Links

Images

Landscapes

  • Measuring Volume Flow (AREA)

Abstract

【課題】管路内の流体の圧力による器差を小さくして、管路内を流動する体積流量の計測精度を向上させる超音波流量計を提供する。
【解決手段】ガス等の流体が流れる主管路2(管路)内を3分割に区画して形成される測定室3及び各圧力室4、4と、該測定室3内と各圧力室4、4内とを略同じ圧力に設定する、第1及び第2仕切板5、6に設けた連通孔(圧力導入路)と、測定室3に臨む主管路2の一方の短手側壁部12(壁部)に配置され、該測定室3内を流動する流体に向かって超音波ビームを送受信して、測定室3内を流動する流体の体積流量を計測する一対の超音波センサー8a、8b及び8a’、8b’とを備えたので、主管路2内の流体の圧力による器差が小さくなり、主管路2内を流動する体積流量の計測精度が向上される。
【選択図】図2

Description

本発明は、管路内を流動する流体の体積流量を超音波センサーにより測定する超音波流量計に関するものである。
一般に、管路を流動するガス等の流体の体積流量を測定する際には、管路内を流動する流体に向かって超音波ビームを送受信する一対の超音波センサーが採用されている。そして、管路内で流体の流れに沿った超音波ビームの伝播時間と、流体の流れに逆らった超音波ビームの伝播時間との差分から流体の流速を求め、ひいては、流速と測定部位の断面積により流体の体積流量を求めている。
しかしながら、管路内の流体の圧力が非常に高い場合等には、管路を形成する壁部が変形することで、管路が膨張して器差が大きくなり不都合が生じていた。そのため、管路を形成する壁部を厚肉にしたり、補強リブを形成して壁部の剛性を高めていたが、この方法では、流量計本体が大きくなり取り扱いが非常に煩雑になる。しかも、この対策では、根本的な解決に至らない。
そこで、従来の超音波流量計として特許文献1には、流体が流れる管路の断面形状が矩形であって、該矩形の長辺と短辺のアスペクト比が4以上であり、方形状の音波出口開口部が形成されている測定部配管と、該測定部配管の管路の短辺幅の2倍以上の直径を有し、上記音波出口開口部を介して超音波ビームを管路内に発射する超音波センサーを備え、上記管路に関し、その短辺幅が超音波ビームの波長の5倍以上であり、上記音波出口開口部に関し、その横方向の長さが管路の短辺幅に等しく、その縦方向の長さが超音波ビームの波長の10倍以上であると共に、管路の短辺幅の2倍以下であり、流体の流れに沿った超音波ビームの伝播時間と、流体の流れに逆らった超音波ビームの伝播時間とに基づいて、上記管路の矩形断面を通過する流体の体積流量を計測することを開示されている。
そして、特許文献1に開示された超音波流量計では、測定部配管内を流れる流体の速度分布を平均化し、安定した補正係数を得て、しかも、回折波の影響を少なくして良好な受信信号を得ることで、安定した体積流量の測定を可能している。
特許第3217021号公報
しかしながら、特許文献1に開示された超音波流量計では、上述したような管路内の流体の圧力が非常に高い場合、管路が膨張することで流路面積が増大し、体積流量の計測精度が低下するという問題を解決することはできない。
本発明は、かかる点に鑑みてなされたものであり、管路内の流体の圧力による器差を小さくして、管路内を流動する体積流量の計測精度を向上させる超音波流量計を提供することを目的とする。
上記課題を解決するための手段として、本発明のうち請求項1に記載した発明は、流体が流れる管路内を軸直交方向に沿って3分割に区画して形成される、軸直交方向略中央に位置する測定室及び該測定室の両側に位置する各圧力室と、前記測定室内と前記各圧力室内とを連通させ、該測定室内と前記各圧力室内とを略同じ圧力に設定する圧力導入路と、前記測定室に臨む前記管路の壁部に配置され、該測定室内を流動する流体に向かって超音波ビームを送受信して、前記測定室内を流動する流体の体積流量を計測する一対の超音波センサーと、を備えたことを特徴とするものである。
本発明によれば、管路内の流体の圧力による器差を小さくして、管路内を流動する体積流量の計測精度を向上させることができる。
以下、本発明を実施するための最良の形態を図1〜図8に基いて詳細に説明する。
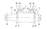
本発明の実施の形態に係る超音波流量計1において特徴とするところは、図1、図2及び図7に示すように、ガス等の流体が流れる主管路2(管路)内を軸直交方向、詳しくは短辺12aが延びる方向に沿って3分割に区画して形成される、短辺12aが延びる方向(軸直交方向)略中央に位置する測定室3及び該測定室3の両側に位置する各圧力室4、4と、測定室3内と各圧力室4、4内とを連通させ、該測定室3内と各圧力室4、4内とを略同じ圧力に設定する、第1及び第2仕切板5、6に設けた連通孔7(圧力導入路)と、測定室3に臨む主管路2の一方の短手側壁部12(壁部)に配置され、該測定室3内を流動する流体に向かって超音波ビームを送受信して、測定室3内を流動する流体の体積流量を計測する一対の超音波センサー8a、8b及び8a’、8b’とを備えたことである。
さらに、本実施の形態に係る超音波流量計1を図1〜図8に基いて詳細に説明する。
本実施の形態に係る超音波流量計1は、図1及び図4に示すように、流体が流れる主管路2と、該主管路2の上流側に接続される流入管路10と、主管路2の下流側に接続される流出管路11とを備えている。
主管路2は、図2に示すように、対向する一対の短手側壁部12と、対向する一対の長手側壁部13とから形成され、その内部開口は一対の短辺12aと一対の長辺13aとからなる長方形状に形成される。主管路2内には、長手側壁部13と略平行な第1及び第2仕切板5、6が短辺12aの延びる方向に沿って間隔を置いて2枚配設され、主管路2内が短辺12aの延びる方向に沿って3室に区画されている。そして、主管路2内には、短辺12aの延びる方向略中央に測定室3が設けられ、該測定室3の両側に圧力室4、4が設けられる。なお、第1及び第2仕切板5、6の厚みは、主管路2を構成する長手側壁部13の厚みに対して略1/8に設定されている。
また、図7に示すように、第1及び第2仕切板5、6(図7では第1仕切板5が図示されている)には、測定室3内と各圧力室4、4内とを連通する連通孔7(圧力導入路)が形成されており、測定室3内の圧力と各圧力室4、4内の圧力が略同じに設定される。この連通孔7は、本実施の形態では、第1及び第2仕切板5、6の、主管路2の上流側で一方の短手側壁部12(図視下方の短手側壁部12)に近接する位置に1個形成されている。
なお、連通孔7の第1及び第2仕切板5、6における形成部位については限定されず、個数についても限定されることはない。しかしながら、連通孔7の大きさについては、測定室3(後述する各分割測定室3a、3b)内を流動する流体の流動方向が大きく変化するような大きさであってはならず、小さい方が好ましい。本実施の形態では、連通孔7は、測定室3の内容積(略200mm(長手側長さ)×略30mm(短手側長さ)×略400mm(軸方向長さ))に対して略φ10mmに設定されている。
また、主管路2の上流側の開口端部には、図1及び図5から解るように、略矩形の上流側蓋部15が連設されると共に、下流側の開口端部には、略矩形の下流側蓋部16が連設される。これら上流側蓋部15及び下流側蓋部16には、主管路2内に設けた測定室3の上流側及び下流側の開口端部と一致する略矩形の開口部17、18がそれぞれ形成される。
なお、測定室3は、図2に示すように、主管路2を形成する一対の短手側壁部12と、一対の仕切板5、6とで囲まれる空間となる。一方、各圧力室4、4は、図2及び図5に示すように、主管路2を形成する一対の短手側壁部12及び一方の長手側壁部13と、第1または第2仕切板5または6と、上流側蓋部15及び下流側蓋部16とで囲まれる空間となる。
流入管路10は、図1及び図5〜図7に示すように、その開口が軸直交断面にて上流側端部が略円形に形成されると共に、下流側端部が、測定室3の上流側の開口端部(上流側蓋部15の開口部17)と略同じ略矩形に形成される。なお、この流入管路10の上流側端部には略円形の取付フランジ部20が連設されると共に、下流側端部には略矩形の取付フランジ部21が連設される。
一方、流出管路11は、図1及び図5〜図7に示すように、その開口が軸直交断面にて上流側端部が、測定室3の下流側の開口端部(下流側蓋部16の開口部18)と略同じ略矩形に形成されると共に、下流側端部が略円形に形成される。なお、この流出管路11の上流側端部には略矩形の取付フランジ部22が連設されると共に、下流側端部には略円形の取付フランジ部23が連設される。
そして、図5〜図7に示すように、主管路2の上流側蓋部15に、流入管路10の下流側端部に設けた取付フランジ部21がOリング(図示略)を介して接続されると、流入管路10の略矩形の下流側の開口端部25が、主管路2の上流側蓋部15に設けた略矩形の開口部17に一致し、流入管路10と主管路2内の測定室3とが連通される。一方、主管路2の下流側蓋部16に、流出管路11の上流側端部に設けた取付フランジ部22がOリング(図示略)を介して接続されると、流出管路11の略矩形の上流側の開口端部26が、主管路2の下流側蓋部16に設けた略矩形の開口部18に一致し、流出管路11と主管路2内の測定室3とが連通される。
また、図2及び図5に示すように、主管路2に設けた測定室3内には、第1及び第2仕切板5、6と略平行な分岐板30が、測定室3及び各圧力室4、4の並設方向の略中央に配設されており、測定室3内が各分割測定室3a、3bに2分割される。これにより、測定室3内に流入する流体は、分岐板30を介して各分割測定室3a、3bに分岐されて流動される。
また、図1、図3、図4及び図8に示すように、各分割測定室3a、3bに臨む主管路2の一方の短手側壁部12にはその軸方向に沿って、各分割測定室3a、3b内を流動する流体に超音波ビームを送受信する一対の超音波センサー8a、8b及び8a’、8b’がそれぞれ配置されている。そして、一対の超音波センサー8a、8b及び8a’、8b’と、該一対の超音波センサー8a、8b及び8a’、8b’に接続される演算部50とにより、各分割測定室3a、3b内を流れる流体の体積流量を算出している。なお、本実施の形態では、超音波ビームがV字反射伝播経路に沿って伝播するV字反射方式が採用されている。
図6〜図8に示すように、各分割測定室3a、3bに臨む主管路2の一方の短手側壁部12には、軸方向に沿って各超音波センサー8a、8b及び8a’、8b’用のビーム出入口35、36及び37、38が形成される。各ビーム出入口35、36及び37、38は、略矩形に形成される。一方の分割測定室3aに臨む主管路2の一方の短手側壁部12にその軸方向に沿って設けた各ビーム出入口37、38と、他方の分割測定室3bに臨む主管路2の一方の短手側壁部12にその軸方向に沿って設けた各ビーム出入口35、36とは、短辺12aの延びる方向、すなわち各分割測定室3a、3bの並設方向に沿って一列に整列しておらず、互いに軸方向に相違して配置される。各分割測定室3a、3bに臨む主管路2の一方の短手側壁部12には、図1及び図2に示すように、各ビーム出入口35、36及び37、38の周辺から超音波センサー8a、8b及び8a’、8b’を収納して支持する円筒状収納部41、42及び43、44が突設されている。超音波センサー8a、8a’に対応する円筒状収納部41、43と、超音波センサー8b、8b’に対応する円筒状収納部42、44とは、短手側壁部12から互いに離間する方向に傾斜して突設されている。
そして、本発明の実施の形態に係る超音波流量計1では、流入管路10から主管路2内の測定室3に流入した流体は、分岐板30により分岐して各分割測定室3a、3bを流れ、さらに、第1及び第2仕切板5、6に設けた連通孔7を通過して各圧力室4、4にも流入する。そのため、各分割測定室3a、3bと各圧力室4、4とは略同じ圧力に到達される。
次に、各分割測定室3a、3bのそれぞれに備えられた各超音波センサー8a、8b及び8a’、8b’の内、一方の超音波センサー8b、8b’から超音波ビームが、各分割測定室3a、3bに臨む一方の短手側壁部12に設けた一方のビーム出入口36、38を介して各分割測定室3a、3b内を流動する流体に照射されると共に、該各分割測定室3a、3bに臨む他方の短手側壁部12に反射してV字状伝播経路で伝播し、他方のビーム出入口35、37を介して他方の超音波センサー8a、8a’により受信される。
次に、演算部50において、各分割測定室3a、3b内を流れる流体の流れに沿った超音波ビームの伝播時間と、流体の流れに逆らった超音波ビームの伝播時間との差分から各分割測定室3a、3bそれぞれにおける流体の流速が算出され、ひいては、各分割測定室3a、3bのそれぞれにおいて、流速と各分割測定室3a、3bの軸直交断面積とにより流体の体積流量が算出される。
以上説明したように、本発明の実施の形態に係る超音波流量計1では、流体が流れる主管路2内を短辺12aの延びる方向(軸直交方向)に沿って3分割に区画して形成される、短辺12aの延びる方向略中央に位置する測定室3及び該測定室3の両側に位置する各圧力室4、4と、第1及び第2仕切板5、6に設けた、測定室3内と各圧力室4、4内とを略同じ圧力に設定する連通孔7(圧力導入路)とを備えている。
これにより、一対の超音波センサー8a、8b及び8a’、8b’により各分割測定室3a、3b内を流動する流体の体積流量を算出する際、第1及び第2仕切板5、6が各分割測定室3a、3b内の圧力により変形することがないので、測定室2内の流体の圧力による器差を小さくでき、計測精度を向上させることができる。
しかも、超音波センサー8a、8b及び8a’、8b’を、主管路2の一方の短手側壁部12に配置することができるので、超音波流量計1全体の大きさをコンパクトにでき、取り扱いが非常に良くなる。しかも、超音波センサー8a、8b及び8a’、8b’と演算部50とを接続するケーブルの引き回しも容易となる。
また、本実施の形態に係る超音波流量計1では、測定室3を分割して、測定室3内に流動した流体が分岐されて流動される分割測定室3a、3bを備えているので、測定室3よりも軸直交断面積の小さい各分割測定室3a、3bのそれぞれにおいて流体の体積流量を算出することができ、さらに計測精度が向上する。
さらに、本実施の形態に係る超音波流量計1では、主管路2は、その開口が一対の短辺12aと一対の長辺13aとからなる長方形状に形成されているので、円管の場合に比して、線平均流速を断面平均流速に変換する際の補正係数等の観点から計測精度が向上される。
さらにまた、本実施の形態に係る超音波流量計1では、各分割測定室3a、3bに臨む主管路2の一方の短手側壁部12に設けた、一対の超音波センサー8a、8b及び8a’、8b’用の各ビーム出入口35、36及び37、38は、各分割測定室3a、3bの並設方向に沿って一列に整列されず、互いに軸方向に相違して配置されているので、主管路2の各分割測定室3a、3bの並設方向の長さを最小限に設定でき、超音波流量計1全体の大きさをコンパクト化することができると共に、各分割測定室3a、3bの軸直交断面積を、より小さくでき計測精度を向上させることができる。
なお、本実施の形態に係る超音波流量計1では、主管路2の開口が一対の短辺12aと一対の長辺13aとからなる長方形状に形成されているが、その開口を一対の直線部と一対の円弧部とからなる長円形状に形成してもよい。この形態の場合には、一対の円弧部に沿って各圧力室4、4及び測定室3を設ければよい。
また、本実施の形態に係る超音波流量計1では、主管路2内に、一対の短辺12aの延びる方向に沿って各圧力室4、4及び測定室3を並設しているが、一対の長辺13aの延びる方向に沿って各圧力室4、4及び測定室3を並設してもよい。この形態の場合には、測定室3に臨む一方の長手側壁部13の軸方向に沿って一対の超音波センサー8a、8bまたは8a’、8b’を配置すればよい。
さらに、本実施の形態に係る超音波流量計1では、圧力導入路が、第1及び第2仕切板5、6に連通孔7を設けて構成されているが、第1及び第2仕切板5、6と、対応する壁部との接合部位に僅かな隙間を有する場合には、その隙間が圧力導入路として機能するために上述した連通孔7を設ける必要はない。さらに、圧入導入路として、測定室3と各圧力室4、4とを接続する連通パイプを採用してもよい。
さらにまた、本実施の形態に係る超音波流量計1では、一対の超音波センサー8a、8b及び8a’、8b’を、各分割測定室3a、3bに臨む主管路2の一方の短手側壁部12の軸方向に沿って配置し、超音波ビームのV字反射により流体の体積流量を算出しているが、一対の超音波センサー8a、8b及び8a’、8b’を、各分割測定室3a、3bに臨む主管路2の対向する短手側壁部12にそれぞれ配置して、超音波ビームが直接伝播経路に沿って伝播する直接方式を採用して流体の体積流量を算出してもよい。
さらにまた、本実施の形態に係る超音波流量計1では、測定室3は、分割測定室3a、3bの2室に分割されているが、3室以上に分割してもよい。
図1は、本発明の実施の形態に係る超音波流量計の斜視図である。 図2は、図1の超音波流量計の主管路の軸直交断面を示す斜視図である。 図3は、図1の超音波流量計の平面図である。 図4は、図1の超音波流量計の側面図である。 図5は、図4のA矢視図である。 図6は、図4のB矢視図である。 図7は、図5のC矢視図である。 図8は、図6の超音波センサー用のビーム出入口の拡大図である。
符号の説明
1 超音波流量計,2 主管路(管路),3 測定室,3a、3b 分割測定室,4 圧力室,5 第1仕切板,6 第2仕切板,7 連通孔(圧力導入路),10 流入管路,11 流出管路,12 短手側壁部(壁部),8a、8b、8a’、8b’ 超音波センサー,30 分岐板,35、36、37、38 ビーム出入口

Claims (5)

  1. 流体が流れる管路内を軸直交方向に沿って3分割に区画して形成される、軸直交方向略中央に位置する測定室及び該測定室の両側に位置する各圧力室と、
    前記測定室内と前記各圧力室内とを連通させ、該測定室内と前記各圧力室内とを略同じ圧力に設定する圧力導入路と、
    前記測定室に臨む前記管路の壁部に配置され、該測定室内を流動する流体に向かって超音波ビームを送受信して、前記測定室内を流動する流体の体積流量を計測する一対の超音波センサーと、
    を備えたことを特徴とする超音波流量計。
  2. 前記圧力導入路は、前記測定室と前記各圧力室とを区画する仕切板に連通孔を設けて構成されることを特徴とする請求項1に記載の超音波流量計。
  3. 前記測定室内を、前記測定室及び各圧力室の並設方向と同方向に分岐板により分割して、前記測定室内に流入した流体が前記分岐板を介して分岐されて流動される複数の分割測定室を設け、
    各分割測定室に臨む前記管路の壁部に前記一対の超音波センサーがそれぞれ配置されることを特徴とする請求項1または2に記載の超音波流量計。
  4. 前記各分割測定室に臨む前記管路の壁部に設けられた、各超音波センサー用のビーム出入口は、各分割測定室の並設方向に沿って一列に整列せず互いに軸方向に相違されて配置されることを特徴とする請求項3に記載の超音波流量計。
  5. 前記管路は、その開口が軸直交断面において一対の短辺と一対の長辺とからなる長方形状に形成され、前記測定室及び各圧力室が前記一対の短辺の延びる方向に沿って並設されることを特徴とする請求項1〜4のいずれかに記載の超音波流量計。
JP2008231133A 2008-09-09 2008-09-09 超音波流量計 Active JP5259313B2 (ja)

Priority Applications (1)

Application Number Priority Date Filing Date Title
JP2008231133A JP5259313B2 (ja) 2008-09-09 2008-09-09 超音波流量計

Applications Claiming Priority (1)

Application Number Priority Date Filing Date Title
JP2008231133A JP5259313B2 (ja) 2008-09-09 2008-09-09 超音波流量計

Publications (2)

Publication Number Publication Date
JP2010066068A true JP2010066068A (ja) 2010-03-25
JP5259313B2 JP5259313B2 (ja) 2013-08-07

Family

ID=42191780

Family Applications (1)

Application Number Title Priority Date Filing Date
JP2008231133A Active JP5259313B2 (ja) 2008-09-09 2008-09-09 超音波流量計

Country Status (1)

Country Link
JP (1) JP5259313B2 (ja)

Cited By (6)

* Cited by examiner, † Cited by third party
Publication number Priority date Publication date Assignee Title
WO2012063437A1 (ja) * 2010-11-10 2012-05-18 パナソニック株式会社 超音波流量計測装置
WO2013008445A1 (ja) * 2011-07-13 2013-01-17 パナソニック株式会社 超音波流量計
WO2013051272A1 (ja) * 2011-10-06 2013-04-11 パナソニック株式会社 流量計測装置の設定方法
JP2015507201A (ja) * 2012-02-09 2015-03-05 コーニンクレッカ フィリップス エヌ ヴェ ガスサンプリング装置及び方法
CN114127515A (zh) * 2019-08-02 2022-03-01 松下知识产权经营株式会社 超声波发送接收器和超声波流量计
CN117213571A (zh) * 2023-09-18 2023-12-12 青岛乾程科技股份有限公司 一种提高超声波气体流量计计量误差线性度的结构及方法

Citations (2)

* Cited by examiner, † Cited by third party
Publication number Priority date Publication date Assignee Title
JP2000065613A (ja) * 1998-08-20 2000-03-03 Kaijo Corp 超音波流量計
JP2004347374A (ja) * 2003-05-20 2004-12-09 Nissan Motor Co Ltd 超音波式流体センサ

Patent Citations (2)

* Cited by examiner, † Cited by third party
Publication number Priority date Publication date Assignee Title
JP2000065613A (ja) * 1998-08-20 2000-03-03 Kaijo Corp 超音波流量計
JP2004347374A (ja) * 2003-05-20 2004-12-09 Nissan Motor Co Ltd 超音波式流体センサ

Cited By (14)

* Cited by examiner, † Cited by third party
Publication number Priority date Publication date Assignee Title
JP2012103087A (ja) * 2010-11-10 2012-05-31 Panasonic Corp 超音波流量計測ユニット
WO2012063437A1 (ja) * 2010-11-10 2012-05-18 パナソニック株式会社 超音波流量計測装置
CN103201599A (zh) * 2010-11-10 2013-07-10 松下电器产业株式会社 超声波流量计量装置
CN103201599B (zh) * 2010-11-10 2015-08-19 松下电器产业株式会社 超声波流量计量装置
US8984960B2 (en) 2010-11-10 2015-03-24 Panasonic Intellectual Property Management Co., Ltd. Ultrasonic flow rate measurement device having inlet side flow rectification part and outlet side coupling part
US9091575B2 (en) 2011-07-13 2015-07-28 Panasonic Intellectual Property Management Co., Ltd. Ultrasonic flow-meter
WO2013008445A1 (ja) * 2011-07-13 2013-01-17 パナソニック株式会社 超音波流量計
CN103649692A (zh) * 2011-07-13 2014-03-19 松下电器产业株式会社 超声波流量计
JPWO2013008445A1 (ja) * 2011-07-13 2015-02-23 パナソニック株式会社 超音波流量計
WO2013051272A1 (ja) * 2011-10-06 2013-04-11 パナソニック株式会社 流量計測装置の設定方法
JPWO2013051272A1 (ja) * 2011-10-06 2015-03-30 パナソニックIpマネジメント株式会社 流量計測装置の設定方法
JP2015507201A (ja) * 2012-02-09 2015-03-05 コーニンクレッカ フィリップス エヌ ヴェ ガスサンプリング装置及び方法
CN114127515A (zh) * 2019-08-02 2022-03-01 松下知识产权经营株式会社 超声波发送接收器和超声波流量计
CN117213571A (zh) * 2023-09-18 2023-12-12 青岛乾程科技股份有限公司 一种提高超声波气体流量计计量误差线性度的结构及方法

Also Published As

Publication number Publication date
JP5259313B2 (ja) 2013-08-07

Similar Documents

Publication Publication Date Title
CN103201599B (zh) 超声波流量计量装置
JP2010164558A (ja) 流体の流れ計測装置
JP5259313B2 (ja) 超音波流量計
US8794080B2 (en) Ultrasonic flow sensor for detecting a flow of a fluid medium
JP2012247299A (ja) 超音波式流量計測ユニットおよびこれを用いたガス流量計
JP2004264064A (ja) 超音波流量計測装置
CN104006853A (zh) 包括具有声换能器的测量嵌件的流量计
CN104006852A (zh) 包括能插入到壳体中的测量嵌件的流量计
CN102072750A (zh) 流路构件和超声波式流体测量装置
US7845240B1 (en) Device and method for determining a flow characteristic of a fluid in a conduit
JP2014077750A (ja) 超音波メータ
KR100993617B1 (ko) 외벽부착식 초음파 다회선 유량계
JP5816831B2 (ja) 超音波流量計
EP2278280B1 (en) Device and method for determining a flow characteristic of a fluid in a conduit
JP2009276226A (ja) 超音波流量計
KR20230073978A (ko) 초음파 유량계
JP2000065613A (ja) 超音波流量計
JP2001208585A (ja) 流量計
JP2003114142A (ja) 超音波式ガスメータ
JP7593758B2 (ja) 超音波流量計
RU2517996C1 (ru) Датчик ультразвукового расходомера
JP4485648B2 (ja) 超音波流量計
JP4188386B2 (ja) 超音波流量計
JP2008014829A (ja) 超音波流量計
RU27218U1 (ru) Первичный преобразователь ультразвукового расходомера

Legal Events

Date Code Title Description
A621 Written request for application examination

Free format text: JAPANESE INTERMEDIATE CODE: A621

Effective date: 20110405

A977 Report on retrieval

Free format text: JAPANESE INTERMEDIATE CODE: A971007

Effective date: 20130124

A131 Notification of reasons for refusal

Free format text: JAPANESE INTERMEDIATE CODE: A131

Effective date: 20130130

A521 Request for written amendment filed

Free format text: JAPANESE INTERMEDIATE CODE: A523

Effective date: 20130328

TRDD Decision of grant or rejection written
A01 Written decision to grant a patent or to grant a registration (utility model)

Free format text: JAPANESE INTERMEDIATE CODE: A01

Effective date: 20130417

A61 First payment of annual fees (during grant procedure)

Free format text: JAPANESE INTERMEDIATE CODE: A61

Effective date: 20130424

FPAY Renewal fee payment (event date is renewal date of database)

Free format text: PAYMENT UNTIL: 20160502

Year of fee payment: 3

R150 Certificate of patent or registration of utility model

Ref document number: 5259313

Country of ref document: JP

Free format text: JAPANESE INTERMEDIATE CODE: R150

Free format text: JAPANESE INTERMEDIATE CODE: R150

S533 Written request for registration of change of name

Free format text: JAPANESE INTERMEDIATE CODE: R313533

R350 Written notification of registration of transfer

Free format text: JAPANESE INTERMEDIATE CODE: R350

R250 Receipt of annual fees

Free format text: JAPANESE INTERMEDIATE CODE: R250

R250 Receipt of annual fees

Free format text: JAPANESE INTERMEDIATE CODE: R250

R250 Receipt of annual fees

Free format text: JAPANESE INTERMEDIATE CODE: R250

R250 Receipt of annual fees

Free format text: JAPANESE INTERMEDIATE CODE: R250

S533 Written request for registration of change of name

Free format text: JAPANESE INTERMEDIATE CODE: R313533

R350 Written notification of registration of transfer

Free format text: JAPANESE INTERMEDIATE CODE: R350

R250 Receipt of annual fees

Free format text: JAPANESE INTERMEDIATE CODE: R250

R250 Receipt of annual fees

Free format text: JAPANESE INTERMEDIATE CODE: R250

R250 Receipt of annual fees

Free format text: JAPANESE INTERMEDIATE CODE: R250

R250 Receipt of annual fees

Free format text: JAPANESE INTERMEDIATE CODE: R250

R250 Receipt of annual fees

Free format text: JAPANESE INTERMEDIATE CODE: R250

R250 Receipt of annual fees

Free format text: JAPANESE INTERMEDIATE CODE: R250