JP2010064779A - 高周波誘導加熱により溶着し貼付される蓋材 - Google Patents

高周波誘導加熱により溶着し貼付される蓋材 Download PDF

Info

Publication number
JP2010064779A
JP2010064779A JP2008234650A JP2008234650A JP2010064779A JP 2010064779 A JP2010064779 A JP 2010064779A JP 2008234650 A JP2008234650 A JP 2008234650A JP 2008234650 A JP2008234650 A JP 2008234650A JP 2010064779 A JP2010064779 A JP 2010064779A
Authority
JP
Japan
Prior art keywords
propylene
sealing material
layer
ethylene
container
Prior art date
Legal status (The legal status is an assumption and is not a legal conclusion. Google has not performed a legal analysis and makes no representation as to the accuracy of the status listed.)
Granted
Application number
JP2008234650A
Other languages
English (en)
Other versions
JP5174593B2 (ja
Inventor
Kimifumi Kato
公文 加藤
Current Assignee (The listed assignees may be inaccurate. Google has not performed a legal analysis and makes no representation or warranty as to the accuracy of the list.)
Kureha Corp
Original Assignee
Kureha Corp
Priority date (The priority date is an assumption and is not a legal conclusion. Google has not performed a legal analysis and makes no representation as to the accuracy of the date listed.)
Filing date
Publication date
Application filed by Kureha Corp filed Critical Kureha Corp
Priority to JP2008234650A priority Critical patent/JP5174593B2/ja
Publication of JP2010064779A publication Critical patent/JP2010064779A/ja
Application granted granted Critical
Publication of JP5174593B2 publication Critical patent/JP5174593B2/ja
Active legal-status Critical Current
Anticipated expiration legal-status Critical

Links

Images

Landscapes

  • Closing Of Containers (AREA)
  • Packages (AREA)
  • Closures For Containers (AREA)

Abstract

【課題】容器を密封する蓋材であって、開封時には容易に手で剥がすことのできるシール材を備える蓋材を提供すること。
【解決手段】蓋材6は、容器本体4の口部端41に取り付けられる、一方の表面21aに高密度ポリエチレン樹脂の層21を有する中栓2と、中栓2の一方の表面21aに接する面にエチレン含有率が2〜8質量%であるプロピレン−エチレン共重合体樹脂の層14を有するシール材1とを備え、プロピレン−エチレン共重合体樹脂と高密度ポリエチレン樹脂の融解温度が同じまたは温度の差が17℃以下の範囲内で前記プロピレン−エチレン共重合体樹脂の方が高く構成され、シール材1は高密度ポリエチレン樹脂の層21と接する側とは反対の側に金属箔の層12を有し、中栓2の高密度ポリエチレン樹脂の層21は高周波誘導加熱によりシール材1のプロピレン−エチレン共重合体樹脂の層14に溶着し貼付されることを特徴とする。
【選択図】図2

Description

本発明は容器を密封する蓋材に関し、特に高周波誘導加熱により容器を密封し、かつ手で簡単に剥がすことのできるシール材を備える蓋材に関する。
ケチャップ、サルサソースまたはマヨネーズなどの粘稠な内容物を収納した、丸孔や星型孔などの吐出孔の形成された絞り出し容器は良く知られている。これらの吐出孔を密封するシール材は、内容物の流出や外気の混入による品質の低下を防ぐため確実に貼付されることが必要であり、また貼付の強度は流通段階での振動等に耐え得るものでなければならない。一方で、容器の開封時には、吐出孔を密封するシール材は手で簡単に剥がせることが要求される。
このような、容器の開口部を確実に密封し、かつ、開封時には手で容易に剥がすことができることを想定したシール材を備える蓋材として、従来は、開口部側と密封するシール材のシーラント層を同一の材料で構成していた(例えば、特許文献1参照)。例としては、開口部側がポリプロピレン製であればシール材のシーラント層もポリプロピレン製とし、シール材に金属層を持たせ高周波誘導加熱により溶着させるものがある。
また、開口部となる吐出孔の形成された中栓の表層を高密度ポリエチレン製とし、シール材のシーラント層をポリプロピレン(PP)と高密度ポリエチレン(HDPE)の重量比がPP/HDPE=9/1〜6/4となる混合物としているものもある(たとえば、特許文献2参照)。中栓の高密度ポリエチレンとシール材のポリプロピレンと高密度ポリエチレンの混合物とを、シール材に金属薄膜層を持たせ高周波誘導加熱により溶着させている。
実開平5‐71155号公報 段落0017、0022 特開2003‐212265号公報 段落0025、0026、0028 実公昭56−40682号公報 表‐1
しかし、溶着させる部分に同一の高分子材料を用いると、高周波誘導加熱時の発振電流のわずかな変化で溶着の強度(密着強度)が変化してしまう(例えば、特許文献3参照)。溶着させる部分の一方に特定の高分子材料を用い、他方にそれと同一の高分子材料を含む混合物を用いた場合でも、混合物中の同一の高分子材料を増加させると溶着の強度が大きくなることから(例えば、特許文献2参照)、溶着に主に寄与するのは混合物中の同一材料であると言え、溶着の強度が高周波誘導加熱での発振電流の変化の影響を受けることが予想される。なお、発振電流が変化するということは、高周波誘導場の大きさが変化するということにつながる。そして、高周波誘導場の大きさの変化は、溶着の強度に影響を与える。
実際に、高周波誘導加熱手段を用いて加熱溶着する場合には、高周波誘導コイルの位置(高さ)を調整し、密封しようとする容器口部と密封するシール材にキャップを被せた状態で加熱を行う。しかし、キャップを被せたことによる容器の高さの変化や、高周波誘導コイルの下を通るコンベアの揺れにより、高周波誘導コイルと金属箔を有するシール材との距離が変化して、高周波誘導場の大きさが変わることがある。高周波誘導場の大きさが不足すると、シール材の密着強度が小さくなり、シール材がキャップ内で脱落して消費者がキャップを外すときに内容物が不意に飛び出るという問題が発生する。また、高周波誘導場の大きさが大き過ぎると、シール材の密着強度が大き過ぎて消費者がシール材を手で剥がすことができなくなるという問題が生ずる。
本発明は、容器をより確実に密封する蓋材であって、かつ容器の開封時にはより容易に手で剥がすことのできるシール材を備える蓋材を提供すること、および前記蓋材を備える容器や内容物入り容器を提供することを目的とする。
さらに、高周波誘導加熱手段を用いた場合でも、高周波誘導場の大きさの変化に影響を受けにくい蓋材であって、容器をより確実に密封し、容器の開封時にはより容易に手で剥がすことのできるシール材を備える蓋材を提供することを目的とする。
上記課題を解決するため、本発明の第1の態様に係る蓋材は、例えば図1および図2に示すように、内容物(不図示)が充填された容器本体4の口部端41に取り付けられる、内容物を通過させる吐出孔24が形成された板状の中栓2であって、一方の表面21aに高密度ポリエチレン樹脂の層21を有する中栓2と;吐出孔24をふさぐように中栓2の一方の表面21aに貼付される板状のシール材1であって、中栓2の一方の表面21aに接する面にエチレン含有率が2〜8質量%であるプロピレン−エチレン共重合体樹脂の層14を有するシール材1とを備え;プロピレン−エチレン共重合体樹脂および高密度ポリエチレン樹脂の融解温度が同じまたは温度の差が17℃以下の範囲内でプロピレン−エチレン共重合体樹脂の方が高く構成され;シール材1は、プロピレン−エチレン共重合体樹脂の層14が高密度ポリエチレン樹脂の層21と接する側とは反対の側に金属箔の層12を有し;前記高密度ポリエチレン樹脂の層21は、高周波誘導加熱により金属箔を発熱源として、前記プロピレン−エチレン共重合体樹脂の層14に溶着し貼付されることを特徴とする。
このように構成すると、金属箔を発熱源とした高周波誘導加熱によりシール材のプロピレン−エチレン共重合体樹脂の層と中栓の高密度ポリエチレン樹脂の層を加熱し、プロピレン−エチレン共重合体樹脂の層と高密度ポリエチレン樹脂の層を適度な密着強度で溶着させることができる。その結果、シール材がキャップ内で脱落して、容器の開封時に内容物が吐出孔から不意に飛び出すという問題が緩和される一方で、シール材を中栓から手で簡単に剥がすことができる。なお、プロピレン−エチレン共重合体において、エチレン含有率が10質量%を超えると、プロピレン−エチレン共重合体ゴムとなり、その剛性および耐熱性状に劣ることが知られている。10質量%を超えるプロピレン−エチレン共重合体ゴムは、EPRとも称せられている。また、2質量%未満では、その耐衝撃性に劣ることが知られている。そこで、本発明では、エチレン含有率が2〜8質量%であるプロピレン−エチレン共重合体を好適な範囲として用いる。
また、本発明の第2の態様に係る蓋材では、上記本発明の第1の態様に係る蓋材6において、プロピレン−エチレン共重合体は、エチレン含有率が2〜8質量%であるプロピレン−エチレンブロック共重合体である。
このように構成すると、プロピレン−エチレンブロック共重合体においてエチレン含有率を好適なものとすることができる。プロピレン−エチレンブロック共重合体は、通常多段重合により製造されて、段落0007に記載の理由によりそのエチレン含有率は通常2〜10質量%である。プロピレン−エチレンブロック共重合体は、その構成が、結晶性のプロピレン単独重合体部分と、プロピレン−エチレンランダム共重合体部分とからなり、その結晶性のプロピレンホモポリマー部分が通常90〜96質量%であり、プロピレン−エチレンランダム共重合体部分が通常4〜10質量%である。
また、本発明の第3の態様に係る蓋材では、上記本発明の第1の態様に係る蓋材6において、プロピレン−エチレン共重合体は、エチレン含有率が2〜8質量%であるプロピレン−エチレンランダム共重合体である。
このように構成すると、プロピレン単独重合体の場合に比べて、高密度ポリエチレンと熱溶着し易くなり、シール材のプロピレン−エチレン共重合体の層と中栓の高密度ポリエチレンの層が適度に溶着する。なお、同じエチレン含有率であれば、プロピレン−エチレンランダム共重合体の方が、プロピレン−エチレンブロック共重合体よりも融解温度が低い。
また、本発明の第4の態様に係る容器は、例えば図2に示すように、内容物が充填される容器本体4と;中栓2が容器本体4の口部端41に取り付けられる、上記本発明の第1乃至第3のいずれかの態様の蓋材6(図1参照)と;容器本体4の口部42および、蓋材6の中栓2とシール材1に被せる、口部42に螺着させるキャップ3とを備える。
なお本願の容器とは、細口または広口の容器(bottle またはcontainerと使用状態に応じて表記される)であり、細口の容器を一般消費者は英語読みのボトルと呼称することが多い。
また、本発明の第5の態様に係る内容物入り容器は、容器本体4に充填される内容物と;上記本発明の第4の態様に係る容器とを備える。
本発明によれば、容器本体の口部端に取り付けられる吐出孔が形成された中栓に高密度ポリエチレン樹脂の層を持たせ、その吐出孔を密封するシール材にプロピレン−エチレン共重合体樹脂の層を持たせ、両層を高周波誘導加熱により加熱溶着した場合であっても、高密度ポリエチレンとプロピレン−エチレン共重合体という異なる高分子化合物の組み合わせであるため密着強度が大きくなり過ぎるということが緩和される。さらに、プロピレン−エチレン共重合体中のエチレンの含有率を2〜8質量%とすると、共重合体の組成中にエチレンが適度に分散して配置される。シール材のプロピレン−エチレン共重合体樹脂および中栓の高密度ポリエチレン樹脂の融解温度を同じ、または温度差を17℃以下の範囲内でプロピレン−エチレン共重合体樹脂の方を高く構成すと、溶着させる両層の樹脂が加熱溶着しやすくなる。その結果、容器をより確実に密封する蓋材であって、かつ容器の開封時にはより容易に手で剥がすことのできるシール材を備える蓋材を得ることができる。
以下、図面を参照して本発明の実施の形態について説明する。なお、各図において互いに同一または相当する部材には同一あるいは類似の符号を付し、重複した説明は省略する。また、本発明は、以下の実施の形態に制限されるものではない。
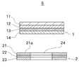
図1は、本発明である蓋材6の一実施の形態を示す図である。蓋材6は、多層のシール材1と吐出孔24が形成された多層の中栓2を備える。なお、図1ではシール材1と中栓2が多層であることを示すため、各層の厚さは厚さ方向に誇張されている。
図2は、蓋材6(図1参照)を含む容器7(図4参照)を示す図である。容器7は、内容物(不図示)を充填する容器本体4と、容器本体4の口部端41に取り付けられ、内容物を通過させる吐出孔24が形成された中栓2と、中栓2の吐出孔24を密封するシール材1と、シール材1、中栓2、および容器本体4の口部42を被い、口部42に螺着させるキャップ3とを備える。
容器本体4に充填される内容物とは、ケチャップ、サルサソースまたはマヨネーズなどの粘稠な液体をいう。
以下に容器7の構成要素の詳細を説明する。
図2に示すように、容器本体4は、内容物を充填するための口部42を有し、口部42はキャップ3を螺着させるためのねじ山43を有している。
容器本体4の材質は、特に限定されない。また、単層でも多層でもよい。
容器本体4は、ダイレクトブロー成形物、延伸ブロー成形物、射出成形物、固化押出成形品からの切削加工物のいずれでもよい。好ましくは、単層のダイレクトブロー成形物、多層のダイレクトブロー成形物または多層の延伸ブロー成形物である。更に好ましくは、スクイーズ性がある多層のダイレクトブロー成形容器である。スクイーズ性があるとは、手で容易に押し潰して、内容物を流出できる性状をいう。
また、容器本体4の口部端41とは、開放状態にある口部42の端部であり、成形物の端部または成形物の端部の近傍を切断した新たな端部を意味する。
図2に示すように、中栓2には、内容物を通過させる吐出孔24が形成され、容器本体4の口部端41に取り付けられる。吐出孔24の形状は、特に制限されない。例えば、星型孔、円孔、多角孔等のいずれの形状であってもよい。
中栓2は容器本体4の口部端41と、内容物が流出せずまた外気が混入しない程度に密着して取り付けられていればよい。
図3に示すように、例えば、中栓2の外周全体にスカート部25を設け、そのスカート部25の内周に突起部26を形成し、一方で容器本体4の口部42の外周に溝44を形成し、中栓2のスカート部25が容器本体4の口部端41全体を覆うように、中栓2と口部42を嵌合させ密着させる。または、中栓2にスカート部25を設けず、板状の中栓2を容器本体4の口部端41に載置して、口部端41と加熱溶着させてもよい。このとき、中栓2の口部端41に接する側の材料と容器本体4の材料、ひいては、口部端41の材料を同一材料、例えば高密度ポリエチレン樹脂とすると、加熱溶着したときに十分な密着強度を得ることができる。
図1に示すように、中栓2は、高密度ポリエチレン樹脂の層21、23を両表面として多層で構成される。例えば、以下に示すようにポリエチレンテレフタレートの層22を中心とし上下で対称となるように構成される。記号「/」は、積層界面を表す。( )内は厚さを表す。
A:高密度ポリエチレン樹脂の層(30μm)/両表面コロナ処理ポリエチレンテレフタレートの層(50μm)/高密度ポリエチレン樹脂の層(30μm)
B:高密度ポリエチレン樹脂の層(30μm)/接着性樹脂(3μm)/ポリエチレンテレフタレートの層(50μm)/接着性樹脂(3μm)/高密度ポリエチレン樹脂の層(30μm)
C:高密度ポリエチレン樹脂の層(30μm)/接着性塗膜(1μm)/ポリエチレンテレフタレートの層(50μm)/接着性塗膜(1μm)/高密度ポリエチレン樹脂の層(30μm)
好ましくは、上記BおよびCの積層構成である。
なお、中栓2はシール材1と接する層が高密度ポリエチレン樹脂であればよく、積層構成が上下で対称でなくてもよく、また上記以外の樹脂と積層を構成しても、高密度ポリエチレン樹脂の単層であってもよい。また、( )内の厚さは例示であり、これに限定されない。
接着性樹脂には、通常エチレン系共重合体または酸グラフト樹脂が用いられる。その他には、エチレン−酢酸ビニル共重合体、エチレン−エチルアクリレート共重合体、エチレン−メチルアクリレート共重合体、エチレン−ブチルアクリレート共重合体、エチレン−メタクリル酸共重合体またはそのアイオノマー樹脂、エチレン−アクリル酸共重合体、またはこれらの無水マレイン酸グラフト樹脂、あるいはこれらの2種以上を組合せ混合した樹脂組成物が好適である。特に好適には、エチレン−エチルアクリレート共重合体、エチレン−メチルアクリレート共重合体である。また、接着性塗膜には、ドライラミネート用接着剤が好適である。例えば、ポリエステルウレタン系接着剤、ウレタン系接着剤、ポリエステル系接着剤、アクリル系接着剤を用いることができる。
図1に示すように、中栓2の吐出孔24を密封するためのシール材1は、多層で構成される。シール材1は、中栓2と接する面にはプロピレン系樹脂の層14を有し、中栓2と接する側とは反対の側には金属箔の層12を有する。
以下にシール材1の積層構成を例示する。記号「/」は、積層界面を表す。( )内は厚さを表す。
D:セルロースを形成してなる層(50μm)/金属箔の層(20μm)/両表面コロナ処理ポリエチレンテレフタレートの層(50μm)/プロピレン系樹脂の層(50μm)
E:セルロースを形成してなる層(50μm)/接着性樹脂(3μm)/金属箔の層(20μm)/接着性樹脂(3μm)/ポリエチレンテレフタレートの層(50μm)/接着性樹脂(3μm)/プロピレン系樹脂の層(50μm)
F:セルロースを形成してなる層/接着性樹脂/ベーマイト表面処理した金属箔の層(20μm)/ポリエチレンテレフタレートの層/接着性樹脂/プロピレン系樹脂の層
G:セルロースを形成してなる層/接着性塗膜(1μm)/金属箔の層/接着性塗膜(1μm)/ポリエチレンテレフタレートの層/接着性樹脂/プロピレン系樹脂の層
H:セルロースを形成してなる層/接着性塗膜/金属箔の層/接着性塗膜/ポリエチレンテレフタレートの層/接着性塗膜/プロピレン系樹脂の層
I:セルロースを形成してなる層/接着性塗膜/金属箔の層/接着性樹脂/ポリエチレンテレフタレートの層/接着性樹脂/プロピレン系樹脂の層
好ましくは、上記のEおよびIの積層構成である。
なお、シール材1は、少なくともプロピレン系樹脂の層14と金属箔の層12を有していればよい。また、( )内の厚さは例示であり、これに限定されない。
シール材1の積層を構成するプロピレン系樹脂とは、プロピレンを主体としたプロピレン−エチレン共重合体樹脂であり、好ましくはエチレン含有率が2〜8質量%、特に好ましくは3%のプロピレン−エチレンランダム共重合体樹脂またはプロピレン−エチレンブロック共重合体樹脂である。これらの樹脂は、積層用のフィルム加工にも優れている。
プロピレン−エチレンブロック共重合体は、プロピレンを主体とし、その剛性である結晶性プロピレンブロックとその結晶性を崩すエチレンブロックまたはエチレンユニットからなる。また、プロピレン−エチレンランダム共重合体は、プロピレンを主体とし、結晶性プロピレンブロックの骨格構造にエチレンユニットがランダムに入りこむ構造となる。したがって、シール材1のシーラント層にプロピレン単独重合体を使用した場合と比べると、中栓2の高密度ポリエチレン樹脂の層21と加熱溶着しやすい。
なお、同じエチレン含有率であれば、プロピレン−エチレンランダム共重合体の方が、プロピレン−エチレンブロック共重合体よりも融解温度が低い。
シール材1の積層を構成する金属箔の層12に用いる金属の箔とは、例えばアルミニウム箔または鉄箔であって、その厚さが5〜200μm程度の板厚を有していればよい。
アルミニウム(Al)の箔とは、箔圧延されたピンホールが少ない純アルミニウム箔またはアルミニウム合金箔であり、JIS−1N30(99.3重量%以上Al)、JIS−1050(99.5重量%以上Al)、JIS−1100(Al−0.13重量%Cu)などのアルミニウムである。このアルミニウムは、鉄、シリコン、不純物としての銅、チタン、その他の不可避的不純物量を含んでいてもよい。また、その表面がベーマイト処理や有機塗膜などで保護されていてもよい。
シール材1の積層を構成するセルロースを形成してなる層11の、本発明でいうセルロースとは、紙を除くセルロースであり、一般名称セロハン、レーヨンなどのそれ自体では溶融加工されない物質をいう。セルロースの代わりにビニロンを用いることもできる。好適には、一般名称セロハンが用いられる。セロハンやビニロン系フィルムは透明であるため、金属箔に印刷した文字や図柄を見ることができ、消費者への商品宣伝などが可能となる。
なお、セルロースを形成してなる層11をシール材1の最上位層としているため、後述の高周波誘導過熱時において、キャップ3の天板内面31に接するセルロースを形成してなる層11は、合成樹脂で作られたキャップ3の天板内面31に溶着することはない。
シール材1と中栓2を製造する場合、シール材1のプロピレン系樹脂の融解温度と、中栓2のシール材1と接する層に用いる高密度ポリエチレン樹脂の融解温度が同じとなるようにまたは温度の差が17℃以下の範囲内でプロピレン系樹脂の方が高くなるようにする。両高分子材料の融解温度の差は、好ましくは0℃〜17℃であり、特に好ましくは、2℃〜12℃である。
金属箔の層12は、プロピレン−エチレン共重合体樹脂の層14側に配置され、高周波誘導加熱では金属箔の層12に近いプロピレン−エチレン共重合体樹脂がより加熱される。したがって、プロピレン−エチレン共重合体樹脂の融解温度を高密度ポリエチレン樹脂の融解温度と少なくとも同じか、またはプロピレン−エチレン共重合体樹脂の融解温度を高くする必要がある。
融解温度の差を0に近づけて、かつプロピレン−エチレン共重合体樹脂の融解温度の方を低くすると、高密度ポリエチレン樹脂の層を加熱する途上でプロピレン−エチレン共重合体樹脂が過度に融解してしまい、局所的にプロピレン−エチレン共重合体樹脂の層がない部分が生じ、その隣接する接着層が中栓のポリエチレン樹脂の層と直接触れることになる。その状態で、シール材1と中栓2が溶着してしまうと、その界面での密着強度が過度に大きくなり、実用上問題となるので好ましくない。また、プロピレン−エチレン共重合体樹脂の融解温度を高くした場合であっても、融解温度の差が大き過ぎると、プロピレン−エチレン共重合体樹脂の融解が不十分となり溶着に寄与しなくなる。本発明者らは、実験を繰り返すことで、融解温度が少なくとも同じか、またはその差が約17℃以下であることが好ましいことを解明した。
シール材1および中栓2の製造方法について説明する。多層のシール材1および多層の中栓2は、まず、帯状多層フィルムとして製造される。帯状多層フィルムとは、所定の幅にスリット加工された帯状のフィルムまたはシートであり、長尺物として製造されコイル状に巻き回して取り扱われる。次に、中栓2は、容器本体4の口部端41の外径に応じて長尺の帯状多層フィルムから円形に打ち抜かれて形成される。シール材1は、中栓2の吐出孔24を密封すること、および中栓2から手で剥がすときに保持する部分となる摘み代を考慮した大きさおよび形状で、長尺の帯状多層フィルムから打ち抜かれて形成される。シール材1は中栓2と同じ大きさかそれよりも小さくするとよい。そうすると、シール材1を中栓2に重ねた場合でも中栓2の外周からはみ出すことはなくキャップ3を被せ易い。なお、中栓2は、円形以外の形状であってもよい。
帯状多層フィルムの厚さは、10〜300μmが好適である。その厚さが10μm以上であると、所定の幅にスリット加工し易く、300μm以下では、長尺の帯状多層フィルムから円形に打ち抜くとき平滑面のシール材1または中栓2を成形し易い。
図2に示すように、キャップ3は、容器本体4の口部42に螺着させるためのねじ溝32を有している。ただし、螺着以外の方法で、キャップ3を口部42に取り付けてもよい。
また、キャップ3は、通常用いる合成樹脂からなるキャップであればよい。例えば、密度が0.95〜0.97g/cmの高密度ポリエチレン(HDPE)、密度が0.91〜0.95g/cmの中密度ポリエチレン(MDPE)、密度が0.910〜0.925g/cmの線状低密度ポリエチレン(LLDPE)、密度が0.86g以上0.91g未満/cmの超低密度線状ポリエチレン(VLDPE)、密度が0.90〜0.92g/cmの低密度ポリエチレン(LDPE)、プロピレン単独重合体またはプロピレン−エチレン共重合体であるプロピレン系樹脂であり、エチレン含有率が1〜8質量%のプロピレン−エチレンランダム共重合またはプロピレン−エチレンブロック共重合、シンジオタクティックポリプロピレンまたはアイソタクティクポリプロピレン、エチレン−酢酸ビニル共重合体、エチレンとα、β−不飽和カルボン酸またはその誘導体との共重合体であるエチレン−(メタ)アクリル酸またはそのアルキルエステル共重合体またはそのアイオノマーであり、これらのコモノマーとしては、アクリル酸、メタクリル酸、アクリル酸メチル、メタクリル酸メチル、アクリル酸エチル、メタクリル酸エチル、アクリル酸プロピル、メタクリル酸プロピル、アクリル酸イソプロピル、メタクリル酸イソプロピル、アクリル酸−n−ブチル、メタクリル酸−n−ブチル、アクリル酸シクロヘキシル、メタクリル酸シクロヘキシル、アクリル酸ラウリル、メタクリル酸ラウリル、アクリル酸ステアリル、メタクリル酸ステアリル、アクリル酸グリシジル、メタクリル酸グリシジルを例示できる。また、ポリアミド樹脂、ポリエステル樹脂、エチレン−環状オレフィン共重合体を用いることもできる。
これらの樹脂は、それぞれ単独で、あるいは2種以上を組合せ混合させて使用することもできる。好ましくは、キャップヒンジの繰り返し疲労に耐える、エチレン含有率が1〜8質量%のプロピレン−エチレンランダム共重合体樹脂またはプロピレン−エチレンブロック共重合体樹脂である。
図4は、キャップ3、シール材1、中栓2、容器本体4を組み合わせた状態の図である。まず、シール材1のセルロースを形成してなる層11(図1参照)はキャップ3の天板内面31(図2参照)と接するように、シール材1のプロピレン系樹脂の層14は中栓2の高密度ポリエチレン樹脂の層21に接するように、シール材1と中栓2をキャップ3の内部に組み付ける。次に、シール材1と中栓2を備えたキャップ3を、あらかじめ内容物(不図示)が充填された容器本体4の口部42に螺着させる。このとき、図4に示すように、シール材1と中栓2は、キャップ3の天板内面31と容器本体4の口部端41に挟持されている。
図5に示すように、キャップ3を被せた容器本体4は、キャップ3の天板外面から高周波誘導場に曝される。すると、シール材1の金属箔の層12(図1参照)に生じたうず電流損の発熱(即ち、高周波誘導加熱)により、シール材1のプロピレン系樹脂の層14と中栓2の高密度ポリエチレン樹脂の層21が溶着する。なお、高周波誘導加熱では、シール材1の金属箔の層12が、瞬時ではあるが、300〜400℃程度で0.5〜1秒間程度維持されることが好ましい。
高周波誘導加熱手段は、常法の高周波磁界を発生させるものであればよい。なお、高周波電力を供給する1次コイル(通常は固定コイル51である)と、高周波誘導場の中を容器と同期して移動する2次コイル(不図示)を設けて、この2次コイルに高周波電力を誘起させて容器本体4の口部端41近傍に高周波誘導場を与えると、磁場の大きさを一定に保つことができる。
高周波誘導加熱手段により溶着させたシール材1と中栓2は、その密着強度が60g以上230g未満/5mm巾となり、キャップ3の開栓時にシール材1が中栓2から剥離により脱落していることもなく、かつ、シール材を手で容易に剥がすことができるという効果を得ることができた。なお、密着強度(剥離強さ)の判定方法は、プラスチックの引張試験方法(JIS:K7113)に準じるT字型剥離であり、その詳細については後述する。
以下に、本発明の蓋材の具体的な実施例および比較例を示す。しかし、本発明は以下の実施例に限定されるものではない。
実施例および比較例で使用する高分子化合物の略語を以下に示す。PP(1)〜(5)は、シール材1のプロピレン−エチレン共重合体樹脂の層14に用いられる。HDPE(1)は、中栓2の高密度ポリエチレン樹脂の層21に用いられる。
PP(1):プロピレン−エチレンランダム共重合体、密度0.90g/cm、エチレン含有率6.2質量%、多分散度2.8、融解温度134℃
PP(2):プロピレン−エチレンランダム共重合体、密度0.91g/cm、エチレン含有率3.3質量%、多分散度4.1、融解温度142℃
PP(3):プロピレン−エチレンランダム共重合体、密度0.92/cm、エチレン含有率2.0質量%、多分散度2.5、融解温度138℃
PP(4):プロピレン−エチレンブロック共重合体、密度0.92g/cm、エチレン含有率2.0質量%、多分散度9.3、融解温度147℃
PP(5):プロピレン単独重合体、密度0.94g/cm、融解温度153℃
HDPE(1):高密度ポリエチレン、密度0.945g/cm、融解温度130℃
上記以外の条件は同一とした。
[密着強度(剥離強さ)]
本発明の蓋材6において、シール材1と中栓2の密着強度(剥離強さ)の判定は、プラスチックの引張試験方法(JIS:K7113)に準じるT字型剥離で行った。検体(容器)は、予めシール材1と中栓2をキャップ3の内部に挿入して、このキャップ3を容器本体4の口部42に螺着して取り付け、その後高周波誘導加熱を行った容器である。インストロン社製万能試験機(型式:1122)を用いて、雰囲気温度23℃で密着強度を測定した。密着強度は以下の記号で表す。
◎:密着強度は、100g以上230g未満/5mm巾である。この範囲では、シール材1を手で容易に剥がすことができ、キャップ3の開栓時に、シール材1の剥離による脱落がなく、容器7を高さ10cmから落として内圧をかけてもシール材1の剥離による脱落はない。
なお、容器を高さ10cmから落下させてもシール材1と中栓2の溶着が落下の衝撃により生ずる内圧に耐え得るならば、容器本体4に内容物を充填した状態で容器7を製品として流通させた場合でも、シール材1は剥離することなく溶着した状態を維持することが経験的に判っている。
○:密着強度は、60g以上100g未満/5mm巾である。この範囲では、シール材1を手で容易に剥がすことができ、キャップ3の開栓時に、シール材1の剥離による脱落がない(実用上は問題ない下限レベル)。
×:密着強度は、30g以上60g未満/5mm巾である。この範囲では、シール材1を手で容易に剥がすことができるが、キャップ3の開栓時に、シール材1の剥離による脱落がある(実用上問題あり)。
△:密着強度は、230g以上/5mm巾である。この範囲では、シール材1を手で剥がすことができないことが多い(強く溶着し過ぎているため、実用上問題あり)。
以下は、例えば実施例1では、シール材1のプロピレン−エチレン共重合体樹脂としてPP(1)を用い、中栓2の表層である高密度ポリエチレン樹脂にはHDPE(1)を用いたことを示している。
実施例1: PP(1)×HDPE(1)
実施例2: PP(2)×HDPE(1)
実施例4: PP(4)×HDPE(1)
比較例5: PP(5)×HDPE(1)
実施例1では、密着強度の判定は◎であった。実施例1の蓋材を用いた容器では、シール材1は中栓2から手で容易に剥がすことができ、キャップ3の開栓時にシール材1が中栓2から剥離して脱落していることもなく、また、容器7を高さ10cmから落として内圧をかけても、シール材1が中栓2から剥離して脱落することはなかった。
実施例2では、密着強度の判定は○であった。実施例2の蓋材を用いた容器では、シール材1は中栓2から手で容易に剥がすことができ、キャップ3の開栓時にシール材1が中栓2から剥離して脱落していることはなかった。
実施例4では、密着強度の判定は○であった。実施例4の蓋材を用いた容器では、シール材1は中栓2から手で容易に剥がすことができ、キャップ3の開栓時にシール材1が中栓2から剥離して脱落していることはなかった。
実施例と比較するための比較例5では、密着強度の判定は×であった。比較例5の蓋材を用いた容器では、シール材1は中栓2から手で容易に剥がすことができたが、キャップ3の開栓時にシール材1は中栓2から剥離して脱落していることがあった。
[再現率]
密着強度を満たす蓋材であっても、その再現率が小さく不確定性が大きい場合は実用に耐えない。ここで再現率とは、検体(容器)数の100個毎に密着強度を測定し、その最大値と最小値を除いた算術平均が、個々の検体の密着強度と有効数字2桁において同じ値である割合(%)を、5%刻みの整数値に示したものである。再現率が大きければ、同一の材料で作られた蓋材は安定した密着強度を有し、製品製造時以降(物流段階も含む)でのシール材の剥がれによる製品劣化を防ぐことができる。
図6は、本発明の実施の形態に係る蓋材6(実施例1、3、4)の再現率と、比較例1〜5の再現率を表す表である。比較例1〜4は、シール材1のプロピレン−エチレン共重合体樹脂の層の代わりにポリプロピレン(融解温度165℃)と高密度ポリエチレン(融解温度135℃)の混合物を用い、中栓に高密度ポリエチレン(厚さ110μm、融解温度130℃)の単層を用いたものである。なお、シール材にポリプロピレンと高密度ポリエチレンの混合物を用い、中栓に高密度ポリエチレンを用いる蓋材は、特許文献2に開示された発明である。また、比較例1〜5と比較するため、密着強度は単位ニュートン(N)で表している。
以下は、例えば実施例1では、シール材1のプロピレン−エチレン共重合体樹脂としてPP(1)を用い、中栓2の表層である高密度ポリエチレン樹脂にはHDPE(1)を用いたことを示している。また、比較例1の「PP/HDPE(9:1)」は、ポリプロピレンと高密度ポリエチレンの混合比が重量比で9:1であることを示している。
実施例1: PP(1)×HDPE(1)
実施例3: PP(3)×HDPE(1)
実施例4: PP(4)×HDPE(1)
比較例1: PP/HDPE(9:1)×HDPE
比較例2: PP/HDPE(8:2)×HDPE
比較例3: PP/HDPE(7:3)×HDPE
比較例4: PP/HDPE(6:4)×HDPE
比較例5: PP(5)×HDPE(1)
なお、上記PP(1)、PP(3)〜(5)の厚さは30μmであり、HDPE(1)を含む中栓2の厚さは110μmである。上記以外の条件は同一とした。
上記実施例1、3、4および比較例1〜5の条件を有する蓋材を備えた容器において、高周波誘導加熱によりシール材の金属薄の層を約400℃に約1秒維持することによってシール材と中栓を溶着した。
得られた容器からキャップをはずし、シール材の一端にフォースゲージ(日本電産シンポ社製、FGC−5)のチャックを取り付け、引張り方向がシール材の表面から90度の角度となるようにフォースゲージを引張ってシール材を剥離し、その際の引張り強度の最大値をシール材と中栓との間の密着強度(剥離強さ)として測定した。なお、この測定方法は、T字型剥離と称する。
上記測定方法では、密着強度は2.9〜9.8Nであることが好ましい事がわかっている(特許文献2、段落0018)。図6をみると、実施例1、3、4、比較例1〜4は、いずれも好ましい密着強度を示している。しかし、実施例1、3、4が90%以上の再現率を示しているのに対し、比較例1〜4は、70%以下の再現率となっている。このことから、シール材にポリプロピレンと高密度ポリエチレンの混合物を用い、中栓に高密度ポリエチレンを用いた蓋材では、安定した密着強度を有する蓋材を製造することは困難であり、大量に生産された容器の中に蓋材の密着強度が弱すぎるまたは強すぎるものが含まれる可能性があることが解る。一方、本発明の実施の形態に係る蓋材では再現率は90%以上であるので、安定した密着強度を有し、大量に生産された容器においても蓋材の密着強度のばらつきが少ないことが解る。さらに、比較例5から、シール材にプロピレン単独重合体を用いた場合は、再現率は満たすが密着強度が不十分であることが解る。
本発明の実施の形態に係る蓋材を構成するシール材と中栓の断面図である。なお、シール材と中栓が多層であることを示すため、各層の厚さは厚さ方向に誇張されている。 本発明の実施の形態に係る容器を構成する、キャップ、シール材、中栓、容器本体の位置関係を示しており、キャップ、シール材、中栓については断面図であり、容器本体については口部の側面図である。 図2に示す中栓を容器本体の口部端に嵌合させ密着させる場合の側面図(一部断面図)である。 図2に示す容器の組立て後の側面図(一部断面図)である。 高周波誘導加熱により、キャップを被せた状態で内容物入り容器の口部端を加熱する場合の斜視図である。 本発明の実施の形態に係る蓋材(実施例1、3、4)の再現率と、比較例1〜5の再現率を表す表である。
符号の説明
1 シール材
2 中栓
3 キャップ
4 容器本体
6 蓋材
7 容器
11 セルロースを形成してなる層
12 金属箔の層
13 ポリエチレンテレフタレートの層
14 プロピレン系樹脂の層、プロピレン−エチレン共重合体樹脂の層
21a 一方の表面
21 高密度ポリエチレン樹脂の層
22 ポリエチレンテレフタレートの層
23 高密度ポリエチレン樹脂の層
24 吐出孔
25 スカート部
26 突起部
31 天板内面
32 ねじ溝
41 口部端
42 口部
43 ねじ山
44 溝
51 固定コイル

Claims (5)

  1. 内容物が充填された容器本体の口部端に取り付けられる、前記内容物を通過させる吐出孔が形成された板状の中栓であって、一方の表面に高密度ポリエチレン樹脂の層を有する中栓と;
    前記吐出孔をふさぐように前記中栓の前記一方の表面に貼付される板状のシール材であって、前記中栓の前記一方の表面に接する面にエチレン含有率が2〜8質量%であるプロピレン−エチレン共重合体樹脂の層を有するシール材とを備え;
    前記プロピレン−エチレン共重合体樹脂および前記高密度ポリエチレン樹脂の融解温度が同じまたは前記温度の差が17℃以下の範囲内で前記プロピレン−エチレン共重合体樹脂の方が高く構成され;
    前記シール材は、前記プロピレン−エチレン共重合体樹脂の層が前記高密度ポリエチレン樹脂の層と接する側とは反対の側に金属箔の層を有し;
    前記高密度ポリエチレン樹脂の層は、高周波誘導加熱により前記金属箔を発熱源として、前記プロピレン−エチレン共重合体樹脂の層に溶着し貼付されることを特徴とする;
    蓋材。
  2. 前記プロピレン−エチレン共重合体は、エチレン含有率が2〜8質量%であるプロピレン−エチレンブロック共重合体である;
    請求項1に記載の蓋材。
  3. 前記プロピレン−エチレン共重合体は、エチレン含有率が2〜8質量%であるプロピレン−エチレンランダム共重合体である;
    請求項1に記載の蓋材。
  4. 内容物が充填される容器本体と;
    前記中栓が前記容器本体の口部端に取り付けられる、請求項1乃至請求項3のいずれか1項に記載の蓋材と;
    前記容器本体の口部および、前記蓋材の前記中栓と前記シール材に被せる、前記口部に螺着させるキャップとを備える;
    容器。
  5. 前記容器本体に充填される内容物と;
    請求項4に記載の容器とを備える;
    内容物入り容器。
JP2008234650A 2008-09-12 2008-09-12 高周波誘導加熱により溶着し貼付される蓋材 Active JP5174593B2 (ja)

Priority Applications (1)

Application Number Priority Date Filing Date Title
JP2008234650A JP5174593B2 (ja) 2008-09-12 2008-09-12 高周波誘導加熱により溶着し貼付される蓋材

Applications Claiming Priority (1)

Application Number Priority Date Filing Date Title
JP2008234650A JP5174593B2 (ja) 2008-09-12 2008-09-12 高周波誘導加熱により溶着し貼付される蓋材

Publications (2)

Publication Number Publication Date
JP2010064779A true JP2010064779A (ja) 2010-03-25
JP5174593B2 JP5174593B2 (ja) 2013-04-03

Family

ID=42190714

Family Applications (1)

Application Number Title Priority Date Filing Date
JP2008234650A Active JP5174593B2 (ja) 2008-09-12 2008-09-12 高周波誘導加熱により溶着し貼付される蓋材

Country Status (1)

Country Link
JP (1) JP5174593B2 (ja)

Cited By (4)

* Cited by examiner, † Cited by third party
Publication number Priority date Publication date Assignee Title
JP2014129125A (ja) * 2012-12-28 2014-07-10 Yoshino Kogyosho Co Ltd 注出容器
JP2015143127A (ja) * 2014-01-31 2015-08-06 株式会社吉野工業所 吐出容器
JP2018138477A (ja) * 2018-06-11 2018-09-06 株式会社吉野工業所 二重容器の製造方法
JP2021181326A (ja) * 2020-05-19 2021-11-25 共同印刷株式会社 シール材付容器

Citations (3)

* Cited by examiner, † Cited by third party
Publication number Priority date Publication date Assignee Title
JP3022647U (ja) * 1995-09-13 1996-03-26 呉羽化学工業株式会社 中栓付き容器
JP2003212265A (ja) * 2002-01-21 2003-07-30 Kureha Chem Ind Co Ltd シール材付き密封容器及びその製造方法
JP2004196356A (ja) * 2002-12-18 2004-07-15 Kao Corp キャップ

Patent Citations (3)

* Cited by examiner, † Cited by third party
Publication number Priority date Publication date Assignee Title
JP3022647U (ja) * 1995-09-13 1996-03-26 呉羽化学工業株式会社 中栓付き容器
JP2003212265A (ja) * 2002-01-21 2003-07-30 Kureha Chem Ind Co Ltd シール材付き密封容器及びその製造方法
JP2004196356A (ja) * 2002-12-18 2004-07-15 Kao Corp キャップ

Cited By (5)

* Cited by examiner, † Cited by third party
Publication number Priority date Publication date Assignee Title
JP2014129125A (ja) * 2012-12-28 2014-07-10 Yoshino Kogyosho Co Ltd 注出容器
JP2015143127A (ja) * 2014-01-31 2015-08-06 株式会社吉野工業所 吐出容器
JP2018138477A (ja) * 2018-06-11 2018-09-06 株式会社吉野工業所 二重容器の製造方法
JP2021181326A (ja) * 2020-05-19 2021-11-25 共同印刷株式会社 シール材付容器
JP7469952B2 (ja) 2020-05-19 2024-04-17 共同印刷株式会社 シール材付容器

Also Published As

Publication number Publication date
JP5174593B2 (ja) 2013-04-03

Similar Documents

Publication Publication Date Title
KR101370239B1 (ko) 탭이 달린 내부 시일
US8201385B2 (en) Multi-purpose covering and method of hygienically covering a container top
EP1472153B2 (en) Container closure
MX2015003014A (es) Miembro de sellado con lengüeta a prueba de manipulacion teniendo una capa polimerica espumada.
JP5174593B2 (ja) 高周波誘導加熱により溶着し貼付される蓋材
US12377630B2 (en) Dispensing liner
JP2014198576A (ja) シール盤、シール方法、および容器
JP6051576B2 (ja) ラミネートチューブ容器、及びその製造方法
JP2024048346A (ja) 包装体およびその製造方法
JP4938213B2 (ja) 共押出多層フィルムおよびラミネートフィルム
AU2020392113B2 (en) Inverted tabbed induction liner
JP4079123B2 (ja) 分岐した小室を設けたパウチ
JP4449964B2 (ja) 分岐した小室を設けたスタンディングパウチ
JP5915211B2 (ja) 蓋材
US20230094210A1 (en) Heat Sealing Member
JP2023081659A (ja) 口栓、口栓を具えた包装容器、および、その製造方法
JP6304355B2 (ja) ラミネートチューブ容器、及びその製造方法
JP2016022668A (ja) アルミニウム基材積層体及びその製造方法並びにそれを用いた包装体
JP7567553B2 (ja) 容器
JP6051528B2 (ja) 蓋材
JPH02109873A (ja) 易開封性密封容器とその製造方法
JP2006123971A (ja) 粉体容器用の蓋材及び粉体容器
WO2022270157A1 (ja) 成形容器用積層体、成形容器および包装体
JP2000272066A (ja) 積層体及び密封容器
JP2014031187A (ja) 液体用紙容器

Legal Events

Date Code Title Description
A621 Written request for application examination

Free format text: JAPANESE INTERMEDIATE CODE: A621

Effective date: 20110802

A977 Report on retrieval

Free format text: JAPANESE INTERMEDIATE CODE: A971007

Effective date: 20121219

TRDD Decision of grant or rejection written
A01 Written decision to grant a patent or to grant a registration (utility model)

Free format text: JAPANESE INTERMEDIATE CODE: A01

Effective date: 20121225

A61 First payment of annual fees (during grant procedure)

Free format text: JAPANESE INTERMEDIATE CODE: A61

Effective date: 20121228

R150 Certificate of patent or registration of utility model

Ref document number: 5174593

Country of ref document: JP

Free format text: JAPANESE INTERMEDIATE CODE: R150

R250 Receipt of annual fees

Free format text: JAPANESE INTERMEDIATE CODE: R250

R250 Receipt of annual fees

Free format text: JAPANESE INTERMEDIATE CODE: R250

R250 Receipt of annual fees

Free format text: JAPANESE INTERMEDIATE CODE: R250

R250 Receipt of annual fees

Free format text: JAPANESE INTERMEDIATE CODE: R250

S111 Request for change of ownership or part of ownership

Free format text: JAPANESE INTERMEDIATE CODE: R313111

R350 Written notification of registration of transfer

Free format text: JAPANESE INTERMEDIATE CODE: R350

R250 Receipt of annual fees

Free format text: JAPANESE INTERMEDIATE CODE: R250

R250 Receipt of annual fees

Free format text: JAPANESE INTERMEDIATE CODE: R250

R250 Receipt of annual fees

Free format text: JAPANESE INTERMEDIATE CODE: R250

R250 Receipt of annual fees

Free format text: JAPANESE INTERMEDIATE CODE: R250

R250 Receipt of annual fees

Free format text: JAPANESE INTERMEDIATE CODE: R250

R250 Receipt of annual fees

Free format text: JAPANESE INTERMEDIATE CODE: R250

R250 Receipt of annual fees

Free format text: JAPANESE INTERMEDIATE CODE: R250