JP2010063771A - 使い捨て電極及びそれの使用期限自動認識装置 - Google Patents

使い捨て電極及びそれの使用期限自動認識装置 Download PDF

Info

Publication number
JP2010063771A
JP2010063771A JP2008234955A JP2008234955A JP2010063771A JP 2010063771 A JP2010063771 A JP 2010063771A JP 2008234955 A JP2008234955 A JP 2008234955A JP 2008234955 A JP2008234955 A JP 2008234955A JP 2010063771 A JP2010063771 A JP 2010063771A
Authority
JP
Japan
Prior art keywords
electrode
information
connector
disposable
disposable electrode
Prior art date
Legal status (The legal status is an assumption and is not a legal conclusion. Google has not performed a legal analysis and makes no representation as to the accuracy of the status listed.)
Granted
Application number
JP2008234955A
Other languages
English (en)
Other versions
JP5196311B2 (ja
Inventor
Ikuhiro Tsumura
育洋 津村
Hiroyuki Nishiyama
博之 西山
Yasushi Igawa
容士 井川
Yoshiyuki Hamauzu
善之 濱渦
Current Assignee (The listed assignees may be inaccurate. Google has not performed a legal analysis and makes no representation or warranty as to the accuracy of the list.)
Nippon Koden Corp
Original Assignee
Nippon Koden Corp
Priority date (The priority date is an assumption and is not a legal conclusion. Google has not performed a legal analysis and makes no representation as to the accuracy of the date listed.)
Filing date
Publication date
Application filed by Nippon Koden Corp filed Critical Nippon Koden Corp
Priority to JP2008234955A priority Critical patent/JP5196311B2/ja
Priority to US12/558,464 priority patent/US9211399B2/en
Priority to EP09170060.9A priority patent/EP2165732B1/en
Publication of JP2010063771A publication Critical patent/JP2010063771A/ja
Application granted granted Critical
Publication of JP5196311B2 publication Critical patent/JP5196311B2/ja
Active legal-status Critical Current
Anticipated expiration legal-status Critical

Links

Images

Classifications

    • AHUMAN NECESSITIES
    • A61MEDICAL OR VETERINARY SCIENCE; HYGIENE
    • A61NELECTROTHERAPY; MAGNETOTHERAPY; RADIATION THERAPY; ULTRASOUND THERAPY
    • A61N1/00Electrotherapy; Circuits therefor
    • A61N1/02Details
    • A61N1/04Electrodes
    • A61N1/0404Electrodes for external use
    • A61N1/0408Use-related aspects
    • A61N1/046Specially adapted for shock therapy, e.g. defibrillation
    • AHUMAN NECESSITIES
    • A61MEDICAL OR VETERINARY SCIENCE; HYGIENE
    • A61NELECTROTHERAPY; MAGNETOTHERAPY; RADIATION THERAPY; ULTRASOUND THERAPY
    • A61N1/00Electrotherapy; Circuits therefor
    • A61N1/02Details
    • A61N1/04Electrodes
    • A61N1/0404Electrodes for external use
    • A61N1/0472Structure-related aspects
    • A61N1/0492Patch electrodes

Landscapes

  • Health & Medical Sciences (AREA)
  • Engineering & Computer Science (AREA)
  • Biomedical Technology (AREA)
  • Nuclear Medicine, Radiotherapy & Molecular Imaging (AREA)
  • Radiology & Medical Imaging (AREA)
  • Life Sciences & Earth Sciences (AREA)
  • Animal Behavior & Ethology (AREA)
  • General Health & Medical Sciences (AREA)
  • Public Health (AREA)
  • Veterinary Medicine (AREA)
  • Electrotherapy Devices (AREA)

Abstract

【課題】経時変化、温度変化の恐れがなく、大型化やコスト高となり難くする。
【解決手段】電極パッドと、該電極パッドを除細動器本体に接続するコネクタとを備えた使い捨て電極であって、前記コネクタに前記使い捨て電極に係る情報を保持する情報保持部を備え、前記コネクタを前記除細動器本体に接続して前記情報を前記除細動器本体から報知することができるようにした使い捨て電極において、前記情報保持部は、前記コネクタの筐体に複数の透孔または光反射部材を配設可能とされ、それぞれの透孔または光反射部材の有無により、少なくとも使用期限に係る情報を保持するように構成されている。
【選択図】図1

Description

この発明は、除細動器に適用される使い捨て電極の使用期限を認識して報知するための、使い捨て電極及びそれの使用期限自動認識装置に関するものである。
自動体外式除細動器(AED)などの除細動器においては、小型化や可搬性の観点から使い捨て電極が用いられている。使い捨て電極は、 生体との接触部分にゲルを使用しており、乾燥すると使用できないことから、密封容器に入れた状態で保管される。しかしながら、このゲルは経年変化して電極として適切ではない電気的状態に変化する可能性があるため、使用期限が規定され、この使用期限は密封容器などに印刷される。
ユーザは、前記の印刷された使用期限を点検して、使用期限の経過しない使い捨て電極を用意する必要がある。更に、除細動器においては、使用訓練を行って緊急のときに備えるため、トレーニング用の電極が存在する。トレーニング用の電極が接続された場合、危険回避の観点から正規の電極が接続されるまで動作を進めることはしない。
このような除細動器及びその電極に関する現状では、人間が適切な注意を払わない限り、緊急時に使い捨て電極の使用期限が途過していたり、トレーニング用電極が接続されているなどの事態が生じる可能性を排除できない。
上記に対し、従来、除細動器においては、電極コネクタを本体コネクタに接続したときに、電極のタイプを認識する複数の連結点をコネクタに備えたものが知られている。この除細動器にあっては、電極が接続されていないことの検出も行うように構成されている(特許文献1、特に0017〜0020参照)。
また、内用パドル電極と貼着型電極とからなる電極のコネクタに、抵抗器により構成され、体内式電極を表す識別信号を作成する識別信号作成回路を備えた除細動用電極も知られている(特許文献2の図9及び0024参照)。
更に、バイオセンサにおいては、ICタグや記憶素子に使用期限を含む情報を記憶し、読取装置により前記情報を読み出し表示するようにしたもの(特許文献3、4参照)も知られている。
更にまた、電極を除細動器本体に接続する電極側のコネクタに、使用期限や電極の種類を記憶させた記憶素子等の半導体を設けることも考えられる。
特開平8−168536号公報 特開2001−218854号公報 特開2006−275724号公報 特開2006−275923号公報
しかしながら、前記の特許文献1に記載のコネクタにおいては、情報量を多くするためには連結点を増やす必要があり、構成の増加による大型化やコストアップが危惧される。また、特許文献2に記載のものにあっては、抵抗器で構成されることから精度に問題があり、抵抗値の経時変化や温度変化による誤認識が危惧される。
特許文献3や特許文献4に記載のICタグや記憶素子によるものは、比較的高価なため、使い捨て電極に使用するにはふさわしくない。また、読取装置の構成が比較的大掛かりとなる問題がある。
また、コネクタに抵抗器や半導体等を設けるものにあっては、抵抗器や半導体等の電気部品を狭い箇所に設置する必要がある。電気部品の設置にあたっては、他の端子と接触するなどして生体に予期せぬ電圧が加わることは絶対に避けなければならず、そのための構成、コストが大掛かりにならざるを得ない。
本発明は、上記のような従来の除細動器やバイオセンサにおける現状に鑑みなされたもので、その目的は、経時変化、温度変化の恐れがなく、情報量を多くする場合にも大型化やコスト高となり難く、読取装置の構成を比較的小型とすることが可能で、電極側コネクタに電気部品を使用する必要がない使い捨て電極及びそれの使用期限自動認識装置を提供することを目的とする。
本発明に係る使い捨て電極は、電極パッドと、該電極パッドを除細動器本体に接続するコネクタとを備えた使い捨て電極であって、前記コネクタに前記使い捨て電極に係る情報を保持する情報保持部を備え、前記コネクタを前記除細動器本体に接続して前記情報を前記除細動器本体から報知することができるようにした使い捨て電極において、前記情報保持部は、前記コネクタの筐体に複数の透孔または光反射部材を配設可能とされ、それぞれの透孔または光反射部材の有無により、少なくとも使用期限に係る情報を保持するように構成されていることを特徴とする。
本発明に係る使い捨て電極は、前記情報保持部には、更に、前記コネクタが前記除細動器本体に適正に接続されたか否かを示す情報が保持させられていることを特徴とする。
本発明に係る使い捨て電極は、前記情報保持部には、更に、前記使い捨て電極がトレーニング用電極であるか、または正規使用する電極であるかの電極種別を示す情報が保持させられていることを特徴とする。
本発明に係る使い捨て電極の使用期限自動認識装置は、前記使い捨て電極の使用期限自動認識装置であって、前記除細動器本体は、前記コネクタが前記除細動器本体に接続された状態において前記情報保持部の透孔または光反射部材の有無を検出する検出手段と、前記情報を報知する報知手段と、前記検出手段により得られる信号に基づき、前記使い捨て電極の情報を得ると共に、この情報を前記報知手段に報知させる制御手段と、を具備することを特徴とする。
本発明に係る使い捨て電極の使用期限自動認識装置は、前記検出手段は、前記コネクタが前記除細動器本体に適正に接続された状態で前記情報保持部の透孔または光反射部材の有無を検出できるように前記除細動器本体に配置された、光源及び受光素子により構成されることを特徴とする。
本発明に係る使い捨て電極によれば、前記情報保持部が、前記コネクタの筐体に複数の透孔または光反射部材を配設可能とされ、それぞれの透孔または光反射部材の有無により、少なくとも使用期限に係る情報を保持するように構成されているため、経時変化、温度変化の恐れがなく、大型化やコスト高となり難い効果がある。
また、情報保持部に、前記コネクタが前記除細動器本体に適正に接続されたか否かを示す情報が保持させられている構成を採用することにより、使い捨て電極を除細動器本体に接続する場合に、不完全な接続を確実に報知させることが可能となる。
更に、情報保持部に、前記使い捨て電極がトレーニング用電極であるかまたは正規使用する電極であるかの電極種別を示す情報が保持させられている構成を採用することにより、使い捨て電極がトレーニング用電極であるかまたは正規使用する電極であるかについてもモニタ可能であり、誤った種類の使い捨て電極を使用する事態を防ぐことができる。
本発明に係る使い捨て電極の使用期限自動認識装置によれば、前記使い捨て電極のコネクタが前記除細動器本体に接続された状態において前記情報保持部の透孔または光反射部材の有無を検出する検出手段が検出した信号に基づき、前記使い捨て電極の情報を得ると共に、この情報の報知を行うため、経時変化、温度変化の恐れがなく、大型化やコスト高となり難い効果がある。また、前記使い捨て電極を前記除細動器本体と接続しても、前記情報保持部が電気部品を一切使用せずに構成されているため、前記情報保持部の影響で生体に予期せぬ電圧が加わることなどあり得ず、その点においても構成、コストが大掛かりになることはない。
また、前記コネクタが前記除細動器本体に適正に接続された状態で前記情報保持部の透孔または光反射部材の有無を検出できるように前記除細動器本体に配置された、光源及び受光素子により得られる受光・否受光信号に基づき、前記使い捨て電極の情報を得るため、経時変化、温度変化の恐れがなく、情報量を多くする場合にも大型化やコスト高となり難い。また、光源と受光素子としては発光ダイオードやフォトダイオードを用いれば良く、前記検出手段の構成を比較的小型に留めることが可能である。さらに、電気的な接点を持たないため、信頼性が高い。
以下、添付図面の図1〜6を参照して、本発明に係る使い捨て電極及びそれの使用期限自動認識装置を実施するための最良の形態について説明する。各図において同一の構成要素には同一の符号を付して、重複する説明を省略する。除細動器に用いる使い捨て電極は、図1に示されるように、2枚の電極パッド11とコネクタ12との間が2本のケーブル13により接続された構成となっている。2枚の電極パッド11は、2本のケーブルの中間部分までと一緒に密封されて袋詰めされる。袋詰めされた電極パッド11は、蓋39を開けた状態の図2に示される除細動器本体30のコネクタ31にコネクタ12が接続された状態で、蓋39の裏側(内側)の電極収容部38に配置される。
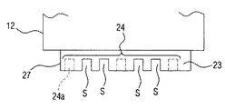
コネクタ12は、直方体状のコネクタ筐体21の、使用状態における底面22に、底面22から垂直に突出していると共に、除細動器本体30に設けられたコネクタ31に接続する方向に、長い板状のフィン27が設けられている。このフィン27は、情報保持部23を備えている。
情報保持部23には、8個の円形の透孔を所定の穿設位置24に穿設することができるようになっており、例えば、透孔が穿設されている場合を「1」とし、透孔が穿設されていない場合を「0」として、8ビットの情報を保持させることができる。本実施の形態においては、情報保持部23に次の3種類の情報を保持させている。すなわち、ケーブル13側から連続して6個の透孔の穿設位置へ使い捨て電極の使用期限を示す情報を保持させ、次の1個の穿設位置へ使い捨て電極がトレーニング用電極であるか、または正規使用する電極であるかを示す電極種別情報を保持させ、次の1個の穿設位置へコネクタ12が除細動器本体30のコネクタ31に適正に接続されたか否かを示す接続情報を保持させている。
なお、本実施の形態においては、情報保持部23に8個の円形の透孔を穿設することができるようにしたが、情報量の多少によって透孔の数を増減することができる。また、透孔は円形に限らず、例えば図6に示すように、スリットSでも良く、これも透孔に含まれるものである。さらに、電極種別情報に1ビットを割り当てたが、トレーニング用電極には使用期限情報は不要なため、トレーニング用電極の識別として、例えば全ての透孔を穿設しないなど、特別なビットパターンとすることもできる。このようにすると、電極種別情報のための透孔は不要となる。
使用期限情報及び電極種別情報それぞれに対応した透孔の穿設位置は、それぞれの情報に応じて透孔が穿設されているか、または穿設されていない状態となっている。接続情報に対応した透孔の穿設位置は、除細動器本体のコネクタ31に接続する方向の最も先端に位置する穿設位置24aとなっており、透孔は穿設されていない。これは、コネクタ12とコネクタ31との接続が不完全な場合、後述する光源と受光素子との間を、遮るものがないためである。
除細動器本体30は、図4に示されるように、光源である8個の発光ダイオード(LED)34及び受光素子である8個のフォトダイオード35を備えており、LED34及びフォトダイオード35はそれぞれ一対ずつ、コネクタ12が除細動器本体30のコネクタ31に適正に接続された状態において、情報保持部23の8個の透孔のそれぞれの穿設位置24を挟むように対向配置されている。なお、LED34などの光源は、射出光が穿設されている透孔を通って、その透孔に対応するフォトダイオード35などの受光素子に十分に受光される光量を有するものであれば、透孔の穿設位置24の数より少なくても良い。
コネクタ12の一対の側壁には、図3に示されるように、コネクタ12と除細動器本体30のコネクタ31との接続状態を維持させる挟持アーム26が備えられ、挟持アーム26の先端には、内側に屈曲した爪部26aが形成されている。一方、除細動器本体30には係止突起32が形成されており、コネクタ12とコネクタ31とが適正に接続されたとき、爪部26aと係止突起32とが係合して両コネクタの接続状態が維持される。この接続状態において、8個のLED34及び8個のフォトダイオード35はそれぞれ対応する透孔の穿設位置24と正対し、透孔の穿設状況に従ってフォトダイオード35で検出される光量に基づいて使い捨て電極の情報を検出することができる。
本実施の形態に係る使い捨て電極の使用期限自動認識装置を含む自動体外式除細動器の回路構成を図5に示す。2枚の電極パッド11にケーブル13を介して接続されたコネクタ12と接続されている除細動器本体30のコネクタ31からは、信号ライン51が心電信号を検出するための心電信号検出部68へ延びていると共に、電極パッド11への高電圧供給ライン52が、電極パッド11に印加する高電圧を発生させるための高圧部67へ延びている。
符号61は、コネクタ12の情報保持部23に保持されている使い捨て電極の情報を検出するための検出部であって、8個のLED34を含む発光部62と、8個のフォトダイオード35を含む受光部63とを有しており、前述のフィン27に形成される情報保持部23が発光部62と受光部63との間に配置されている。発光部62はCPU60からの指示信号によりLED34を発光させ、受光部63からは、情報保持部23に穿設された透孔及び穿設されていない透孔に対応する信号が得られ、A/D変換器64へ送出される。
A/D変換器64はアナログ信号をディジタル化してCPU60へ送出するものである。制御手段としてのCPU60には、上記A/D変換器64の他、除細動のための高電圧を電極パッド11を介して生体に印加するための始動スイッチ71、報知手段としての可視表示器72、音声報知を行うスピーカ73、及び高圧部67が接続されている。心電信号検出部68の出力はA/D変換器64に送出される。また、各部には、電源部66から電源が供給される。
以上のように構成された、本実施の形態に係る使い捨て電極の使用期限自動認識装置を含む自動体外式除細動器の作動を次に説明する。図示しない電源スイッチをオンすると、除細動のための作動が開始される。CPU60は、装置の状態や操作方法の案内を可視表示器72へ表示し、スピーカ73から操作案内等の音声を出力させる。また、A/D変換器64からの心電信号に基づいて、除細動が必要であるか否かを判別し、その判別結果に応じて、可視表示器72やスピーカ73から所要の情報を出力させると共に、除細動が必要と判別された場合は、除細動のための高電圧を発生させるべく、高圧部67を制御する。以上は、従来通りの作動である。
次に、情報保持部23に保持されている使い捨て電極に係る情報の自動認識について説明する。情報保持部23に保持されている情報は、図示しないタイマにより、所定時間毎、或いは1日1回所定の時刻に自動認識に係る回路が起動されて、自動的に検出され、報知される。CPU60は、受光部63により捕らえられた、情報保持部23の穿設位置24に穿設されている透孔及び穿設されていない透孔に対応する信号がA/D変換器64から到来するので、この信号(8ビット)に基づき、コネクタ12が除細動器本体30のコネクタ31に適正に接続されているかを検出し、使用期限を検出し、電極がトレーニング用電極であるかまたは正規使用する電極であるかという電極種別を検出して、可視表示器72やスピーカ73で報知する。
コネクタ12が除細動器本体30のコネクタ31に適正に接続されていないことが検出された場合には、使用期限や電極種別の検出は不可能或いは誤検出となる可能性があるため、使用期限や電極種別の検出は行わない。コネクタ12と除細動器本体30のコネクタ31との接続状態が適切でない場合には、「コネクタが外れています」などの警告が可視表示器72やスピーカ73を介してなされる。
コネクタ12が除細動器本体30のコネクタ31に適正に接続されていることが検出されると、CPU60は、使用期限や電極種別の検出を行い、これらの情報を可視表示器72やスピーカ73へ送り出力する。出力する使用期限情報としては、年と月による使用期限自体であっても良いし、使用期限までの期間を「使用期限まで○年○か月」のように表現したものでも良い。また、電極種別の出力に関しては、トレーニング用の電極が接続されている場合に、「トレーニング用の電極がセットされています」など、注意喚起の情報が可視表示器72やスピーカ73を介してなされる。
このように所定時間毎、或いは1日1回所定の時刻に、自動的に、コネクタ12とコネクタ31との接続状態、使い捨て電極の使用期限、及び電極種別を点検することができる。また、透孔の有無を光により検出する構成を採用しているので、接点などのような経時変化がなく、安定した精度の良い点検が可能である。
以上の説明においては、タイマにより、所定時間毎、或いは1日1回所定の時刻に点検を行うものとしたが、別途点検スイッチを設け、任意のタイミングで点検を行えるようにしても良く、また、除細動器本体30の蓋39を開けたときなどの所要のタイミングを捕らえて点検を行うようにしても良い。更に、これらの点検方法を組み合わせても良い。
次に、本発明を実施するための第2の形態について、図7を用いて説明する。前述した本発明を実施するための最良の形態に対して、透孔の有無を検出する検出手段が異なるのみであるので、同一構成部分には同一符号を付して、重複する説明を省略する。透孔の有無を検出する検出手段は、図7に示すように、フィン27を挟んで、バネ83により突出する接点82を備える可動部81と、突出した接点82と接触する固定接点92を備える検出部91とを透孔の穿設位置24を挟んで対向配置し、可動部81と検出部91との接触を電流を流して検出する構成とする。透孔が穿設されていれば、接点82は固定接点92と接触し、透孔が穿設されていなければ、接点82は固定接点92と接触しない。
次に、本発明を実施するための第3の形態について、図8、図9を用いて説明する。前述した本発明を実施するための最良の形態に対して、使い捨て電極の情報を保持する情報保持部と情報保持部の情報を検出する検出手段とが異なるのみであるので、同一構成部分には同一符号を付して、重複する説明を省略する。図8は、使い捨て電極のコネクタ112の斜視図であり、図9は、図8におけるB−B断面図である。情報保持部123は、使い捨て電極のコネクタ112の底面122に備えられており、光反射部材としての反射シール129を貼付位置124に8個貼付することができるようになっている。情報保持部123及びその周辺は、例えば黒色の反射しにくい構造となっており、一方、反射シール129は、表面がなめらかで、白色、銀色等の反射しやすい色を用いた円形の薄いシールで、粘着剤や接着剤で反射シール貼付位置124に貼付可能となっている。例えば、反射シール129が貼付されている場合を「1」、反射シール129が貼付されていない場合を「0」として、8ビットの情報を保持させることができる。なお、反射シール129を貼付する代わりに、保持させる情報に応じて反射・非反射のパターンが予め印刷された一枚のシールを、貼付位置124に合わせて貼付しても良い。
本実施の形態における情報保持部123に保持させる情報及びその位置は、前述の最良の形態と同様に、ケーブル13側から、使用期限情報、電極種別情報、及び接続情報である。なお、接続情報は、反射シール129を貼付している。これは、コネクタ112とコネクタ31との接続が不完全な場合、後述する、光源からの光を受光素子が受光することがないためである。
除細動器本体30には、図9に示されるように、8個の反射型フォトインタラプタ136が備えられている。反射型フォトインタラプタ136は、光源であるLED134と受光素子であるフォトトランジスタ135とが一体化されているものであり、LED134で発光した光の反射光をフォトトランジスタ135で受光し、物体を検知するものである。それぞれの反射型フォトインタラプタ136は、コネクタ112が除細動器本体30のコネクタ31に適正に接続された状態において、情報保持部123の8個の反射シール貼付位置124それぞれに対応するように配置されている。反射シール129が貼付位置124に貼付されていると、LED134で発光した光が反射シール129で反射され、フォトトランジスタ135で受光する。
本実施の形態における情報保持部123に保持されている使い捨て電極に係る情報の自動認識は、前述の最良の形態と同様に実行される。
本発明に係る使い捨て電極を実施するための最良の形態における要部であるコネクタを中心とした構成の斜視図。 本発明に係る使い捨て電極を実施するための最良の形態における要部であるコネクタが除細動器本体に組み込まれた状態を示す平面図。 本発明に係る使い捨て電極を実施するための最良の形態における要部を拡大して示す平面図。 図3のA−A断面図。 本発明に係る使い捨て電極の使用期限自動認識装置を実施するための最良の形態における回路ブロック図。 本発明に係る使い捨て電極を実施するための最良の形態における情報保持部に穿設された透孔の一例を示す平面図。 本発明に係る使い捨て電極及びそれの使用期限自動認識装置を実施するための第2の形態における検出手段の構成を示す断面図。 本発明に係る使い捨て電極及びそれの使用期限自動認識装置を実施するための第3の形態におけるコネクタの斜視図。 図8のB−B断面図。
符号の説明
11 電極パッド 12、112 コネクタ
21、121 コネクタ筐体 23、123 情報保持部
24 穿設位置 24a 穿設位置
27 フィン 30 除細動器本体
31 除細動器本体のコネクタ 34、134 LED
35 フォトダイオード 61 検出部
62 発光部 63 受光部
64 A/D変換器 66 電源部
67 高圧部 68 心電信号検出部
71 始動スイッチ 72 可視表示器
73 スピーカ 124 貼付位置
129 反射シール 135 フォトトランジスタ
136 反射型フォトインタラプタ

Claims (5)

  1. 電極パッドと、該電極パッドを除細動器本体に接続するコネクタとを備えた使い捨て電極であって、前記コネクタに前記使い捨て電極に係る情報を保持する情報保持部を備え、前記コネクタを前記除細動器本体に接続して前記情報を前記除細動器本体から報知することができるようにした使い捨て電極において、
    前記情報保持部は、前記コネクタの筐体に複数の透孔または光反射部材を配設可能とされ、それぞれの透孔または光反射部材の有無により、少なくとも使用期限に係る情報を保持するように構成されていることを特徴とする使い捨て電極。
  2. 前記情報保持部には、更に、前記コネクタが前記除細動器本体に適正に接続されたか否かを示す情報が保持させられていることを特徴とする請求項1に記載の使い捨て電極。
  3. 前記情報保持部には、更に、前記使い捨て電極がトレーニング用電極であるか、または正規使用する電極であるかの電極種別を示す情報が保持させられていることを特徴とする請求項1または2に記載の使い捨て電極。
  4. 請求項1乃至3のいずれか1項に記載の使い捨て電極の使用期限自動認識装置であって、
    前記除細動器本体は、
    前記コネクタが前記除細動器本体に接続された状態において前記情報保持部の透孔または光反射部材の有無を検出する検出手段と、
    前記情報を報知する報知手段と、
    前記検出手段により得られる信号に基づき、前記使い捨て電極の情報を得ると共に、この情報を前記報知手段に報知させる制御手段と、
    を具備することを特徴とする使い捨て電極の使用期限自動認識装置。
  5. 前記検出手段は、前記コネクタが前記除細動器本体に適正に接続された状態で前記情報保持部の透孔または光反射部材の有無を検出できるように前記除細動器本体に配置された、光源及び受光素子により構成されることを特徴とする請求項4に記載の使い捨て電極の使用期限自動認識装置。
JP2008234955A 2008-09-12 2008-09-12 使い捨て電極及びそれの使用期限自動認識装置 Active JP5196311B2 (ja)

Priority Applications (3)

Application Number Priority Date Filing Date Title
JP2008234955A JP5196311B2 (ja) 2008-09-12 2008-09-12 使い捨て電極及びそれの使用期限自動認識装置
US12/558,464 US9211399B2 (en) 2008-09-12 2009-09-11 Disposable electrode and automatic information recognition apparatus
EP09170060.9A EP2165732B1 (en) 2008-09-12 2009-09-11 Disposable electrode and automatic information recognition apparatus

Applications Claiming Priority (1)

Application Number Priority Date Filing Date Title
JP2008234955A JP5196311B2 (ja) 2008-09-12 2008-09-12 使い捨て電極及びそれの使用期限自動認識装置

Publications (2)

Publication Number Publication Date
JP2010063771A true JP2010063771A (ja) 2010-03-25
JP5196311B2 JP5196311B2 (ja) 2013-05-15

Family

ID=41172339

Family Applications (1)

Application Number Title Priority Date Filing Date
JP2008234955A Active JP5196311B2 (ja) 2008-09-12 2008-09-12 使い捨て電極及びそれの使用期限自動認識装置

Country Status (3)

Country Link
US (1) US9211399B2 (ja)
EP (1) EP2165732B1 (ja)
JP (1) JP5196311B2 (ja)

Cited By (4)

* Cited by examiner, † Cited by third party
Publication number Priority date Publication date Assignee Title
JP2010099427A (ja) * 2008-10-21 2010-05-06 Minato Ikagaku Kk 電極識別機能付き電気刺激装置
JP2014155793A (ja) * 2013-02-14 2014-08-28 Heart Sign Technologies Ltd 除細動器電極識別システム
JP2015150182A (ja) * 2014-02-14 2015-08-24 オージー技研株式会社 電気刺激装置
JP2024007673A (ja) * 2022-07-06 2024-01-19 日本光電工業株式会社 刺激システム、刺激電極ユニット、中継ケーブル、および刺激制御装置

Families Citing this family (7)

* Cited by examiner, † Cited by third party
Publication number Priority date Publication date Assignee Title
WO2016007887A1 (en) 2014-07-10 2016-01-14 Chen Eric Ye Wireless electrical stimulation system
US9415217B2 (en) * 2014-07-10 2016-08-16 Eric Ye Chen Wireless electrical stimulation system
US10668282B2 (en) 2014-07-10 2020-06-02 Eric Ye Chen Wireless electrical stimulation system
JP6289303B2 (ja) 2014-08-08 2018-03-07 日本光電工業株式会社 除細動器
USD816227S1 (en) 2016-03-29 2018-04-24 Sanofi Electrical stimulation device
CN111375133A (zh) * 2018-12-29 2020-07-07 深圳迈瑞生物医疗电子股份有限公司 体外除颤器
USD991467S1 (en) * 2020-12-04 2023-07-04 Rehabtronics Inc. Electrode assembly for electrical stimulation

Citations (5)

* Cited by examiner, † Cited by third party
Publication number Priority date Publication date Assignee Title
JPS58111163A (ja) * 1981-12-22 1983-07-02 Matsushita Electric Ind Co Ltd テ−プカセツトの情報検出方法およびテ−プカセツト
JPS58215747A (ja) * 1982-06-08 1983-12-15 Matsushita Electric Ind Co Ltd 磁気記録再生装置
JPH03204713A (ja) * 1990-01-08 1991-09-06 Hitachi Ltd 入出力インタフェースの電力制御回路
WO2006102420A2 (en) * 2005-03-21 2006-09-28 Defibtech, Llc Pcb blade connector system and method
JP2008523878A (ja) * 2004-12-20 2008-07-10 コーニンクレッカ フィリップス エレクトロニクス エヌ ヴィ 成人及び小児患者用自動体外式除細動装置

Family Cites Families (7)

* Cited by examiner, † Cited by third party
Publication number Priority date Publication date Assignee Title
FR2720947B1 (fr) 1994-06-09 1996-08-09 Odam Off Distri App Medicaux Appareil défibrillateur muni d'une pluralité d'ensembles connecteur/électrodes de types différents.
JP4103101B2 (ja) 2000-02-10 2008-06-18 日本光電工業株式会社 除細動用電極および除細動システム
US6694193B2 (en) * 2001-09-14 2004-02-17 Koninklijke Philips Electronics N.V. Medical electrode and release liner configurations facilitating packaged electrode characterization
US20100023074A1 (en) * 2004-12-27 2010-01-28 Koninklijke Philips Electronics N.V. Method and Apparatus for Contacting an Over-the-Counter Automatic External Defibrillator
US7590456B2 (en) * 2005-02-10 2009-09-15 Zoll Medical Corporation Triangular or crescent shaped defibrillation electrode
JP4631027B2 (ja) 2005-03-29 2011-02-16 独立行政法人産業技術総合研究所 Icタグ搭載型バイオセンサーおよびその包装体
JP2006275923A (ja) 2005-03-30 2006-10-12 Terumo Corp 電極式バイオセンサ

Patent Citations (5)

* Cited by examiner, † Cited by third party
Publication number Priority date Publication date Assignee Title
JPS58111163A (ja) * 1981-12-22 1983-07-02 Matsushita Electric Ind Co Ltd テ−プカセツトの情報検出方法およびテ−プカセツト
JPS58215747A (ja) * 1982-06-08 1983-12-15 Matsushita Electric Ind Co Ltd 磁気記録再生装置
JPH03204713A (ja) * 1990-01-08 1991-09-06 Hitachi Ltd 入出力インタフェースの電力制御回路
JP2008523878A (ja) * 2004-12-20 2008-07-10 コーニンクレッカ フィリップス エレクトロニクス エヌ ヴィ 成人及び小児患者用自動体外式除細動装置
WO2006102420A2 (en) * 2005-03-21 2006-09-28 Defibtech, Llc Pcb blade connector system and method

Cited By (4)

* Cited by examiner, † Cited by third party
Publication number Priority date Publication date Assignee Title
JP2010099427A (ja) * 2008-10-21 2010-05-06 Minato Ikagaku Kk 電極識別機能付き電気刺激装置
JP2014155793A (ja) * 2013-02-14 2014-08-28 Heart Sign Technologies Ltd 除細動器電極識別システム
JP2015150182A (ja) * 2014-02-14 2015-08-24 オージー技研株式会社 電気刺激装置
JP2024007673A (ja) * 2022-07-06 2024-01-19 日本光電工業株式会社 刺激システム、刺激電極ユニット、中継ケーブル、および刺激制御装置

Also Published As

Publication number Publication date
US20100070011A1 (en) 2010-03-18
EP2165732A1 (en) 2010-03-24
US9211399B2 (en) 2015-12-15
JP5196311B2 (ja) 2013-05-15
EP2165732B1 (en) 2013-04-10

Similar Documents

Publication Publication Date Title
JP5196311B2 (ja) 使い捨て電極及びそれの使用期限自動認識装置
US8771233B2 (en) Medication administering device
ES2358728T3 (es) Dispositivo de alarma temporizado para el uso junto con un dispositivo de protección de fuga a tierra.
JP3186753U (ja) 音声制御モジュールを備えた省電力照明装置
EP2159765A1 (en) Position and operation signalling apparatus for fire extinguishers and fire extinguishing system comprising such an apparatus
JP2007129568A5 (ja)
CN104519947B (zh) 止痛剂产品的自测
JP2017508558A5 (ja)
RU2005129846A (ru) Система и способ устройства отображения с эффектами конца жизни
ES2308005T3 (es) Aparato y metodo para detectar simultaneamente el estado de energia de una pluralidad de conmutadores disyuntores.
US7652590B2 (en) Thin emergency exit indication and warning device
EP4161632B1 (en) Automated external defibrillator and method for displaying state of automated external defibrillator
JP2007507274A (ja) 除細動器電極パッケージの識別システム
CN103837474A (zh) 试纸盘读取器及诊断装置
WO2023171441A1 (ja) 心電計
JP6418485B2 (ja) スイッチ装置
JP4521216B2 (ja) 表示システム
WO2018151069A1 (ja) 充電システム、電子機器及び充電装置
EP4129175A1 (en) Biosensor
KR102737313B1 (ko) 자동심장충격기 모니터링 장치 및 이를 이용한 IoT 기반 자동심장충격기 관리 시스템
JP4910813B2 (ja) 電線接続器、照明装置
CN221730577U (zh) 持续葡萄糖监测系统的发射器
JP5258689B2 (ja) 商品盗難検出器及び商品盗難監視装置
JP2008235112A (ja) 照明監視装置及び照明装置
CN214475380U (zh) 警报器

Legal Events

Date Code Title Description
A621 Written request for application examination

Free format text: JAPANESE INTERMEDIATE CODE: A621

Effective date: 20101215

A131 Notification of reasons for refusal

Free format text: JAPANESE INTERMEDIATE CODE: A131

Effective date: 20120710

A977 Report on retrieval

Free format text: JAPANESE INTERMEDIATE CODE: A971007

Effective date: 20120712

A521 Request for written amendment filed

Free format text: JAPANESE INTERMEDIATE CODE: A523

Effective date: 20120907

A131 Notification of reasons for refusal

Free format text: JAPANESE INTERMEDIATE CODE: A131

Effective date: 20121002

A521 Request for written amendment filed

Free format text: JAPANESE INTERMEDIATE CODE: A523

Effective date: 20121129

TRDD Decision of grant or rejection written
A01 Written decision to grant a patent or to grant a registration (utility model)

Free format text: JAPANESE INTERMEDIATE CODE: A01

Effective date: 20130108

A61 First payment of annual fees (during grant procedure)

Free format text: JAPANESE INTERMEDIATE CODE: A61

Effective date: 20130124

FPAY Renewal fee payment (event date is renewal date of database)

Free format text: PAYMENT UNTIL: 20160215

Year of fee payment: 3

R150 Certificate of patent or registration of utility model

Ref document number: 5196311

Country of ref document: JP

Free format text: JAPANESE INTERMEDIATE CODE: R150

Free format text: JAPANESE INTERMEDIATE CODE: R150

R250 Receipt of annual fees

Free format text: JAPANESE INTERMEDIATE CODE: R250

R250 Receipt of annual fees

Free format text: JAPANESE INTERMEDIATE CODE: R250

R250 Receipt of annual fees

Free format text: JAPANESE INTERMEDIATE CODE: R250

R250 Receipt of annual fees

Free format text: JAPANESE INTERMEDIATE CODE: R250

R250 Receipt of annual fees

Free format text: JAPANESE INTERMEDIATE CODE: R250

R250 Receipt of annual fees

Free format text: JAPANESE INTERMEDIATE CODE: R250