JP2010063174A - オーディオビジュアル信号の伝送システム及び伝送方法 - Google Patents

オーディオビジュアル信号の伝送システム及び伝送方法 Download PDF

Info

Publication number
JP2010063174A
JP2010063174A JP2009283377A JP2009283377A JP2010063174A JP 2010063174 A JP2010063174 A JP 2010063174A JP 2009283377 A JP2009283377 A JP 2009283377A JP 2009283377 A JP2009283377 A JP 2009283377A JP 2010063174 A JP2010063174 A JP 2010063174A
Authority
JP
Japan
Prior art keywords
signal
composite video
audio visual
macrovision
video signal
Prior art date
Legal status (The legal status is an assumption and is not a legal conclusion. Google has not performed a legal analysis and makes no representation as to the accuracy of the status listed.)
Granted
Application number
JP2009283377A
Other languages
English (en)
Other versions
JP4600589B2 (ja
Inventor
Teruhiko Kori
照彦 郡
Current Assignee (The listed assignees may be inaccurate. Google has not performed a legal analysis and makes no representation or warranty as to the accuracy of the list.)
Sony Corp
Original Assignee
Sony Corp
Priority date (The priority date is an assumption and is not a legal conclusion. Google has not performed a legal analysis and makes no representation as to the accuracy of the date listed.)
Filing date
Publication date
Application filed by Sony Corp filed Critical Sony Corp
Priority to JP2009283377A priority Critical patent/JP4600589B2/ja
Publication of JP2010063174A publication Critical patent/JP2010063174A/ja
Application granted granted Critical
Publication of JP4600589B2 publication Critical patent/JP4600589B2/ja
Anticipated expiration legal-status Critical
Expired - Lifetime legal-status Critical Current

Links

Images

Landscapes

  • Television Signal Processing For Recording (AREA)
  • Two-Way Televisions, Distribution Of Moving Picture Or The Like (AREA)

Abstract

【課題】 デジタル機器のアナログ入力に対する世代制限を実現し、従来のコンポジットビデオ信号との変換を可能とする。
【解決手段】
他の機器10から送信されてくるオーディオビジュアル信号及び、上記オーディオビジュアル信号について複製可能か否か或いは複製世代管理情報を示す著作権情報を受信し、上記受信したオーディオビジュアル信号を信号処理部31によりコンポジットビデオ信号に変換し、通信制御部32aにより、上記他の機器12の要求に基づき、上記著作権情報により複製禁止又は複製世代制限があるときには、上記オーディオビジュアル信号の送信可否を判断するための認証情報を上記他の機器12へ送信する制御を行い、マクロビジョンエンコーダ35により上記著作権情報に基づきマクロビジョン信号を生成して上記コンポジットビデオ信号に重畳し、上記マクロビジョン信号が重畳されたコンポジットビデオ信号を出力する。
【選択図】 図7

Description

本発明は、例えば記録媒体に記録された映像情報の著作権の保護のため、これらの情報を不正に複製することを防止するオーディオビジュアル信号の受信装置及び受信方法に関する。
従来、映像信号の著作権保護の目的から、例えば、コンポジットビデオ信号に対してマクロビジョン(Macrovision)信号やカラーストライプ方式のコピープロテクト信号を付加して、映像信号の複製を防止することが知られている。
特開2006−186975号公報 特開平10−224752号公報
ところが、これらのマクロビジョン信号やカラーストライプ方式のコピープロテクト信号等のように、コンポジットビデオ信号にコピープロテクト信号を付加しても、RGB信号のようなベースバンド信号には応用できない。
また、コピープロテクト信号を付加しても、物理的に機器の接続をすれば、接続先の機器の種類や機能に無関係に映像信号は出力されてしまう。
本発明は、このような実情を鑑みてなされたものであり、デジタル機器のアナログ入力に対する世代制限を実現し、従来のコンポジットビデオ信号との変換を可能としたオーディオビジュアル信号の受信装置及び受信方法を提供することを目的とする。
本発明に係るオーディオビジュアル信号の受信装置は、他の機器から送信されてくるオーディオビジュアル信号及び、上記オーディオビジュアル信号について複製可能か否か或いは複製世代管理情報を示す著作権情報を受信する受信手段と、上記他の機器の要求に基づき、上記著作権情報により複製禁止又は複製世代制限があるときには、上記オーディオビジュアル信号の送信可否を判断するための認証情報を上記他の機器へ送信する送信手段と、上記オーディオビジュアル信号をコンポジットビデオ信号に変換する信号処理部と、上記著作権情報に基づきマクロビジョン信号を生成して上記コンポジットビデオ信号に重畳するマクロビジョンエンコーダと、上記マクロビジョン信号が重畳されたコンポジットビデオ信号を出力する出力端子とを有することを特徴とする。
また、本発明に係るオーディオビジュアル信号の受信装置は、他の機器から送信されてくるオーディオビジュアル信号及び、上記オーディオビジュアル信号について複製可能か否か或いは複製世代管理情報を示す著作権情報を受信する受信手段と、上記他の機器の要求に基づき、上記著作権情報により複製禁止又は複製世代制限があるときには、上記オーディオビジュアル信号の送信可否を判断するための認証情報を上記他の機器へ送信する送信手段と、上記オーディオビジュアル信号をコンポジットビデオ信号に変換する信号処理部と、上記著作権情報に基づきCGMS信号を生成して上記コンポジットビデオ信号に重畳するCGMSエンコーダーを有し、上記CGMS信号が重畳されたコンポジットビデオ信号を出力する出力端子とを有することを特徴とする。
また、本発明に係るオーディオビジュアル信号の受信方法は、他の機器から送信されてくるオーディオビジュアル信号及び、上記オーディオビジュアル信号について複製可能か否か或いは複製世代管理情報を示す著作権情報を受信する受信ステップと、上記他の機器の要求に基づき、上記著作権情報により複製禁止又は複製世代制限があるときには、上記オーディオビジュアル信号の送信可否を判断するための認証情報を上記他の機器へ送信する送信ステップと、上記オーディオビジュアル信号をコンポジットビデオ信号に変換する信号処理ステップと、上記著作権情報に基づきマクロビジョン信号を生成して上記コンポジットビデオ信号に重畳するマクロビジョン処理ステップと、上記マクロビジョン信号が重畳されたコンポジットビデオ信号を出力する出力ステップとを有することを特徴とする。
さらに、本発明に係るオーディオビジュアル信号の受信方法は、他の機器から送信されてくるオーディオビジュアル信号及び、上記オーディオビジュアル信号について複製可能か否か或いは複製世代管理情報を示す著作権情報を受信する受信ステップと、上記他の機器の要求に基づき、上記著作権情報により複製禁止又は複製世代制限があるときには、上記オーディオビジュアル信号の送信可否を判断するための認証情報を上記他の機器へ送信する送信ステップと、上記オーディオビジュアル信号をコンポジットビデオ信号に変換する信号処理ステップと、上記著作権情報に基づきCGMS信号を生成して上記コンポジットビデオ信号に重畳するCGMS信号ステップと、上記CGMS信号が重畳されたコンポジットビデオ信号を出力する出力ステップとを有することを特徴とする。
本発明によれば、他の機器から送信されてくるオーディオビジュアル信号及び、上記オーディオビジュアル信号について複製可能か否か或いは複製世代管理情報を示す著作権情報を上記他の機器から受信し、上記他の機器の要求に基づき、上記著作権情報により複製禁止又は複製世代制限があるときには、上記オーディオビジュアル信号の送信可否を判断するための認証情報を上記他の機器へ送信し、上記オーディオビジュアル信号をコンポジットビデオ信号に変換し、上記著作権情報に基づきマクロビジョン信号やCGMS信号を生成して上記コンポジットビデオ信号に重畳し、上記マクロビジョン信号やCGMS信号が重畳されたコンポジットビデオ信号を出力することにより、従来のコンポジットビデオ信号との変換を可能にして、デジタル機器のアナログ入力に対する世代制限を実現することができる。
本発明を適用した通信システムのブロック構成図である。 本発明を適用した通信システムでの通信処理の内容を説明するフローチャートである。 本発明を適用した通信システムのブロック構成図である。 本発明を適用した通信システムのブロック構成図である。 本発明を適用した通信システムのブロック構成図である。 本発明を適用した通信システムのブロック構成図である。 本発明を適用した通信システムのブロック構成図である。 本発明を適用した通信システムのブロック構成図である。
以下、本発明の実施の形態について、図面を参照しながら説明する。
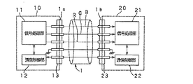
図1は、機器10から再生したオーディオビジュアル信号(以下、単にAV信号という。)を機器20によって不正に複製ができないようにした機器10及び機器20間の第1の実施の形態の通信システムを説明するものである。機器10と機器20とは、複合ケーブル1を介して接続されている。
機器10は、記録媒体に記録されたAV信号を再生する再生装置である。機器10は、信号処理部11と、この機器10に接続される機器20と通信を行う通信制御部12と、機器20と複合ケーブル1とを接続する集合出力端子13とを備えている。
信号処理部11は、記録媒体に記録されたAV信号を再生する再生回路と、このAV信号を外部に送信する送信回路とを有している。信号処理部11の再生回路は、記録媒体、例えば光ディスク,磁気ディスク,磁気テープ等からAV信号を再生して送信回路に供給する。信号処理部11の送信回路は、このAV信号を複合ケーブル1を介して機器20に送信する。
ここで、機器10から機器20に送信されるAV信号は、RGB信号,Y色差信号,コンポジットビデオ信号+オーディオ信号,Y+C信号等のアナログの映像信号及び音声信号である。
また、信号処理部11は、記録媒体からAV信号とともに著作権情報を再生し、この著作権情報を通信制御部12に供給する。
この著作権情報とは、記録媒体に記録された映像及び音声が複製可能かどうか等を示すものであり、これらの映像及び音声の著作権の保護を目的として設けられている。この著作権情報により、記録媒体に記録された映像及び音声が複製可能であるか否か、或いは、複製世代の管理情報等がわかる。
通信制御部12は、制御機能をもつ制御回路と双方向の通信機能をもつ通信回路を有している。通信制御部12は、信号処理部11から供給される著作権情報と後述する機器20の通信制御部22から送信される認証情報に基づき、AV信号の送信の禁止及び送信の許可の制御を行う。
機器20は、機器10から送信されたAV信号を受信してそのAV信号を表示するモニタ装置や、このAV信号を磁気テープや光ディスク等に記録する記録装置である。機器20は、信号処理部21と、この機器20に接続される機器10と通信を行う通信制御部22と、機器10と複合ケーブル1とを接続する集合入力端子23とを備えている。
信号処理部21は、送信されたAV信号を受信する受信回路と、この受信したAV信号の信号処理を行う信号処理回路とを有している。また、信号処理部21の信号処理内容は、機器20の装置の種類により異なる。例えば、機器20がモニタ装置であれば、受信したAV信号を画面上に表示する処理を行い、また、記録装置であれば光ディスク,磁気ディスク,磁気テープ等にAV信号を記録する処理を行う。
通信制御部22は、制御機能をもつ制御回路と双方向の通信機能をもつ通信回路とを有している。通信制御部22は、機器20の固有の認証情報を管理し、また、機器20の動作状態、すなわち、信号処理部21の信号処理内容を管理する。
ここで、認証情報とは、機器の種類や機能、機器を特定するアドレス情報、機器の動作状態等を示す情報である。すなわち、機器が記録装置であれば、記録可能な機器であることを示す情報や、記録装置が動作してデータを記録している状態を示す情報等である。
通信制御部22は、機器10の通信制御部12と双方向通信を行い、これらの認証情報のやりとりを行う。
機器10と機器20とを接続する複合ケーブル1は、機器間どうしで信号の伝送或いは通信を行う信号線が複合して1本のケーブルとなったものである。すなわち、この複合ケーブル1には、AV信号の信号線、例えば、RGB信号の信号線,コンポジットビデオ信号+オーディオ信号の信号線,Y+C信号等のアナログの映像信号及び音声信号の信号線と、通信制御部12及び通信制御部22の間で双方向通信をするための通信線とが内蔵されている。
また、この複合ケーブル1の両端には、それぞれ集合コネクタ1a,1bが設けられている。さらに、機器10および機器20には、この集合コネクタ1a,1bに対応するように、集合出力端子13,集合出力端子23が設けられている。
これらの集合端子13,23は、例えば、市販のAV機器等に設けられているS(セパレート)映像端子のように、すべての信号線が1本のケーブルにより伝送でき、取り外しや接続の場合も複数のケーブルを取り扱う必要がないものである。すなわち、AV信号の信号線を接続すると同時に通信制御部12,22が双方向通信を行うための通信線が接続されるものである。
つぎに、この通信システムにおいて、機器10が記録媒体を再生した場合について図2に示すフローチャートを用いて説明する。
機器10は、信号処理部11が記録媒体に記録されたAV信号を再生して、集合出力端子13からアナログのAV信号を送信する。このとき、信号処理部11は、このAV信号の著作権情報も同時に再生し、この著作権情報を通信制御部12に供給する。
通信制御部12は、再生が開始されて著作権情報が供給されると、この著作権情報の確認を行う。すなわち、通信制御部12は、この著作権情報から記録媒体から再生されるAV信号が自由に複写のできるものであるか、複写が禁止されているものであるか、或いは、複写が一世代のみ可能なものであるかを判断する(ステップS1)。
通信制御部12が著作権情報から再生するAV信号の複写が可能であると判断する場合は、このAV信号の出力を許可して、信号処理部11からAV信号が送信される(ステップS2)。
また、通信制御部12が著作権情報から再生するAV信号の複写が禁止であると判断した場合及び1世代のみの複写が可能であると判断する場合は、機器20からの認証情報から接続される機器が正しいものかどうかを判断する(ステップS3)。正しい機器であると判断する場合にはAV信号の出力を許可する(ステップS2)。また、正しい機器でないと判断する場合には、AV信号の出力を停止して(ステップS4)、AV信号の出力停止のメッセージを出力する(ステップS5)。
機器20が正しい機種であるかの判断は具体的には、再生するAV信号が複写禁止であるときは、認証情報からAV信号の送信先の機器20が非記録装置、例えばモニタ装置であるかどうかを判断する。機器20が非記録装置であればAV信号の出力を許可して、信号処理部11からAV信号が送信される。さらに、機器20が記録装置、例えば録画機器であってもその記録装置が記録状態に無いときはAV信号の出力を許可する。これは、例えば、再生装置とモニタ装置を接続する際に、この再生装置とモニタ装置の間に記録装置を介して接続しているいわゆる縦列接続をしている場合があるからであり、この場合には記録装置が記録状態になければAV信号の出力が許可される。なお、このような、縦列接続がされる場合については、詳しくは後述する。
また、再生するAV信号が一世代のみ複写が可能なものであるときは、AV信号の出力が許可される。このとき、通信制御部12は、一世代のみ複写が可能であるというAV信号の著作権情報を機器20の通信制御部22に送信する。通信制御部22は、機器20が記録装置でありかつ記録状態にあるときは、記録媒体に複写禁止の著作権情報をAV信号とともに記録する。このことにより、一世代のみ複写が可能なAV信号が記録された記録媒体から、他の記録媒体に複写をしたときは、この複写をした記録媒体からさらに次の記録媒体に再複写をすることができない。
以上のようなステップS1からステップS5までの処理は、機器10と機器20とが接続されて電源が投入されてから一定時間毎に行われる。このため、例えば、機器20が記録状態にないところから記録状態に入れば、その状態を検出して送信を禁止できる。また、再生される記録媒体に記録されているAV信号の一部が複写禁止であれば、その部分を再生するときのみ送信を禁止できる。なお、その際には、機器の故障ではないため、著作権保護により出力が停止された旨のメッセージを出力する。
以上のように、第1の実施の形態の通信システムでは、機器10が機器20にAV信号を送信する際に、認証情報に基づき機器20が正しい接続相手であると判断する場合のみ信号を送出し、正しい接続相手で無い場合には機器10からの送出を禁止する。そのため、音声信号及び映像信号を劣化させることなく、これらの信号を不正複製の防止をすることができる。また、接続機器に対して妨害を与えることなく、不正複製の防止を図ることができる。
また、信号線が1本のケーブルである複合ケーブル1を機器10と機器20との接続に用いることで、上述した機器間の認証情報のやりとりが確実にでき、また、他のコネクタとの互換性をもたせないことで他機種に接続して複製される危険性を回避することができる。
なお、上述の実施の形態において説明した通信制御部12では、認証情報および著作権情報の他に付加情報も通信できる。この場合、付加情報とは、機器の種類,製造番号,機器固有のアドレス等の機器情報や、機器の設定情報、通信情報等であり、機器に、シリアル番号やアドレスをもたせることにより、所定の機器のみによって記録ができるといった制御も行うことができる。
図3は、機器10に機器20と機器30を縦列接続した場合の第2の実施の形態の通信システムを説明するものである。この第2の実施の形態の通信システムを説明するにあたり、上述した第1の実施の形態と同一の機能を有する構成要素については、図面中に同一の符号を付け、その詳細な説明を省略する。なお、以下の第3の実施の形態についても同様にする。機器10と機器20とは、複合ケーブル1を介して接続されている。また、機器20と機器30とは、複合ケーブル1を介して接続されている。
機器30は、機器10から送信されたAV信号を受信してそのAV信号を表示するモニタ装置や、このAV信号を磁気テープや光ディスク等に記録する記録装置等である。機器30は、信号処理部31と、この機器30に接続される機器10及び機器20と通信を行う通信制御部32と、機器10と複合ケーブル1とを接続する集合入力端子33と、機器20と複合ケーブル1とを接続する集合入力端子34とを備える。機器30は、入出力端子の両者を有していることにおいて機器10及び機器20と異なり、また、信号処理部31には、AV信号の信号処理を行う信号処理回路と、AV信号の受信回路と送信回路を有していることにおいて異なる。すなわち、この機器30は、例えば、入出力端子を有するモニタ装置や、AV信号を磁気テープや光ディスク等に記録する記録装置である。
この機器30の通信制御部32は、制御機能をもつ制御回路と機器10と機器20との両者と双方向の通信機能をもつ通信回路を有している。通信制御部12から供給される著作権情報と機器20の通信制御部22から送信される認証情報とに基づき、機器30から機器20に送信するAV信号の送信の禁止及び送信の許可の制御を行う。また、通信制御部32は、機器30の固有の認証情報を管理し、また、機器30の動作状態、信号処理部31の信号処理の内容を管理する。通信制御部32は、機器10の通信制御部12と双方向通信を行い、認証情報のやりとりを行う。すなわち、通信制御部32は、信号処理部31の処理内容等に基づき、認証情報を機器10の通信制御部12に供給する。
具体的には、機器20が記録装置であり機器30がモニタ装置である場合は、機器10から機器30にはAV信号が常に送信される。ところが、機器30から機器20には、AV信号が機器20の動作状態やAV信号に著作権情報の内容により送信が禁止される。また、機器20がモニタ装置であり機器30が記録装置である場合は、機器30が記録状態に無いときにはAV信号が機器10から機器30を介して機器20にまで送信される。ところが、機器30が記録状態のときは、機器10から機器30には著作権情報の内容によりAV信号の送信が禁止される。
すなわち、機器30の通信制御部32は、上述した機器10の通信制御部12と、機器20の通信制御部22との両者の機能を持ち合わせたものである。
なお、機器30の通信制御部32は、機器30の認証情報を機器10の通信制御部12に供給するのみならず、機器20の認証情報を供給するようにしてもよい。この場合には、機器30がモニタ装置である場合であっても機器10からAV信号の送信を禁止できる。
このような第2の実施の形態の通信システムでは、複数の縦列接続をした機器間どうしであっても確実なコピー制御をすることができる。
なお、上述の第2の実施の形態においては、3つの機種を縦列に接続する場合を示したが、この縦列する機種数はこれより多いものであっても良い。
図4は、機器10aに複数の機器20を並列接続した場合の第3の実施の形態の通信システムを説明するものである。機器10aと各機器20とは、複合ケーブル1を介して接続されている。機器20は、上述した第1の実施の形態と同様のものである。
機器10aは、信号処理部11と、この機器10aに接続される各機器20と通信を行う通信制御部12aと、機器20と複合ケーブル1とを接続する集合入力端子13a,13bとを備える。機器10aは、上述した第1の実施の形態の機器10と比較して、複数の集合出力端子を有していることにおいて異なる。この機器10aは、例えば、複数の出力端子を有する1の機器から複数の外部機器に接続する場合、例えば、光ディスク再生装置からモニタ装置と記録装置とに接続することのできるものである。
通信制御部12aは、各機器20の通信制御部22と認証情報等のやりとりをおこなう。この通信制御部12aは、各通信制御部22と個別に通信を行うことができることにおいて、上述した第1の実施の形態の通信制御部12と異なるものである。
このような第3の実施の形態の通信システムでは、例えば、記録媒体に記録されたAV信号を大量に複写するような接続をした場合に、送信を禁止することができる。なお、この第3の実施の形態では各集合出力端子に個別に送信手段を設けることにより、出力端子毎に送信を禁止することができる。
図5は、認証情報等を暗号化して通信をする場合の第3の実施の形態の通信システムを説明するものである。機器10bと機器20bは、上述した第1の実施の形態の機器10と機器20と暗号化/復号化器14,24を備えることが異なる。機器10bと機器20とは、複合ケーブル1を介して接続されている。
機器10bの通信制御部12と機器20bの通信制御部22は、それぞれ暗号化/復号化器14,24を介して通信を行う。このことにより、認証情報や著作権情報を通信する際の通信データの安全性を高めることができる。
なお、この暗号化/復号化は、マイクロコンピュータがソフトウエアにより行うこともできる。
図6は、認証情報等をAV信号の信号線を介して通信をする場合の第4の実施の形態の通信システムを説明するものである。機器10cと機器20cは、上述した第1の実施の形態の機器10と機器20と変復調器15,25を備えることが異なる。機器10cと機器20cとは、複合ケーブル1を介して接続されている。
機器10cの通信制御部12と機器20cの通信制御部22は、それぞれ変復調器15,25を介して通信を行う。この変復調器15,25は、AV信号の信号線の1つ、例えばR信号の信号線やオーディオ用の信号線に重畳して通信を行う。変復調器15,25は、信号を重畳するAV信号等に妨害を与えない周波数帯域で変復調する必要がある。例えば、オーディオ信号に重畳する場合は、AMラジオの中間周波数である455kHzで変調することができる。このように、AV信号に認証情報等を重畳して上述した集合ケーブル1を使用すれば、例えば、通信制御部12,22が通信を確立できなければ不正な機器と判断してAV信号の出力を禁止するので、不正使用に対して確実な保護をすることができる。
図7は、記録媒体から再生されたAV信号であるYUVの信号を、コンポジットビデオ信号に変換して出力する場合の第5の実施の形態の通信システムを説明するものである。機器30aは、機器10から送信されたYUVの信号をコンポジットビデオ信号に変換する信号処理部31と、機器10と著作権情報及び認証情報の通信を行う通信制御部32aと、コンポジットビデオ信号に重畳するマクロビジョン信号を生成するマクロビジョンエンコーダ35とを備える。機器10は、上述した第1の実施の形態と同様のものである。また、機器10と機器30aとは、複合ケーブル1を介して接続されている。
機器30aから出力されるコンポジットビデオ出力は、一般的なコネクタ端子を介して接続機器に送信される。そのため、機器10により再生されるAV信号の著作権情報に複製禁止或いは1世代のみ複製が可能であることが示されている場合は、通信制御部32aがマクロビジョンエンコーダ35を制御してコンポジットビデオ信号にマクロビジョン信号を重畳するようにしている。なお、CGMSエンコーダーをマクロビジョンエンコーダ36に並列に内蔵することにより、デジタル機器のアナログ入力に対する世代制限を実現することができる。
このような第5の実施の形態の通信システムでは、従来のコンポジットビデオ信号との変換が可能となる。
図8は、入力されるコンポジットビデオ信号を集合コネクタから出力されるAV信号に変換する場合の第6の実施の形態の通信システムを説明するものである。機器30bは、入力されるコンポジットビデオ信号をAV信号に変換する信号処理部31と、機器20と著作権情報及び認証情報の通信を行う通信制御部32bと、コンポジットビデオ信号に重畳されたマクロビジョン信号及びCGMS信号を検出するマクロビジョン/CGMS検出部36とを備える。機器20は、上述した第1の実施の形態と同様のものである。また、機器20と機器30bとは、複合ケーブル1を介して接続されている。
機器30bに入力されるコンポジットビデオ信号は、一般的なコネクタ端子を介して受信される。マクロビジョン/CGMS検出部36は、コンポジットビデオ信号に重畳されるマクロビジョン信号及びCGMS信号を検出し、この検出情報を通信制御部32bに供給する。そのため、このコンポジットビデオ信号にマクロビジョン信号が重畳されている場合は、通信制御部32bがAV信号の著作権情報として記録を禁止するものとして扱い、機器20が記録状態等にあれば、送信を禁止する。また、コンポジットビデオ信号にCGMS信号が重畳していればこのCGMS信号の情報に基づき機器20にAV信号の世代情報を供給する。このような第6の実施の形態の通信システムでは、従来のコンポジットビデオ信号との変換が可能となる。
1 複合ケーブル、10,10a,10b,10c,20,20b,30,30a,30b 機器、11,21,31 信号処理部、12,22,32 通信制御部、13,24 集合出力端子、23,33 集合入力端子、14,24暗号化/復号化器、15,25 変復調器

Claims (8)

  1. 他の機器から送信されてくるオーディオビジュアル信号及び、上記オーディオビジュアル信号について複製可能か否か或いは複製世代管理情報を示す著作権情報を受信する受信手段と、
    上記他の機器の要求に基づき、上記著作権情報により複製禁止又は複製世代制限があるときには、上記オーディオビジュアル信号の送信可否を判断するための認証情報を上記他の機器へ送信する送信手段と、
    上記オーディオビジュアル信号をコンポジットビデオ信号に変換する信号処理部と、
    上記著作権情報に基づきマクロビジョン信号を生成して上記コンポジットビデオ信号に重畳するマクロビジョンエンコーダと、
    上記マクロビジョン信号が重畳されたコンポジットビデオ信号を出力する出力端子と
    を有することを特徴とするオーディオビジュアル信号の受信装置。
  2. 上記コンポジットビデオ信号に重畳するCGMS信号を生成するCGMSエンコーダーを有し、
    上記出力端子から上記マクロビジョン信号とCGMS信号が重畳されたコンポジットビデオ信号を出力することを特徴とする請求項1に記載のオーディオビジュアル信号の受信装置。
  3. 他の機器から送信されてくるオーディオビジュアル信号及び、上記オーディオビジュアル信号について複製可能か否か或いは複製世代管理情報を示す著作権情報を受信する受信手段と、
    上記他の機器の要求に基づき、上記著作権情報により複製禁止又は複製世代制限があるときには、上記オーディオビジュアル信号の送信可否を判断するための認証情報を上記他の機器へ送信する送信手段と、
    上記オーディオビジュアル信号をコンポジットビデオ信号に変換する信号処理部と、
    上記著作権情報に基づきCGMS信号を生成して上記コンポジットビデオ信号に重畳するCGMSエンコーダーを有し、
    上記CGMS信号が重畳されたコンポジットビデオ信号を出力する出力端子と
    を有することを特徴とするオーディオビジュアル信号の受信装置。
  4. 上記著作権情報に基づきマクロビジョン信号を生成するマクロビジョンエンコーダを有し、
    上記出力端子から上記CGMS信号とマクロビジョン信号が重畳されたコンポジットビデオ信号を出力することを特徴とする請求項3に記載のオーディオビジュアル信号の受信装置。
  5. 他の機器から送信されてくるオーディオビジュアル信号及び、上記オーディオビジュアル信号について複製可能か否か或いは複製世代管理情報を示す著作権情報を受信する受信ステップと、
    上記他の機器の要求に基づき、上記著作権情報により複製禁止又は複製世代制限があるときには、上記オーディオビジュアル信号の送信可否を判断するための認証情報を上記他の機器へ送信する送信ステップと、
    上記オーディオビジュアル信号をコンポジットビデオ信号に変換する信号処理ステップと、
    上記著作権情報に基づきマクロビジョン信号を生成して上記コンポジットビデオ信号に重畳するマクロビジョン処理ステップと、
    上記マクロビジョン信号が重畳されたコンポジットビデオ信号を出力する出力ステップと
    を有することを特徴とするオーディオビジュアル信号の受信方法。
  6. さらに、上記コンポジットビデオ信号に重畳するCGMS信号を生成するCGMS信号生成ステップを有し、
    上記出力ステップでは、上記マクロビジョン信号とCGMS信号が重畳されたコンポジットビデオ信号を出力することを特徴とする請求項5に記載のオーディオビジュアル信号の受信方法。
  7. 他の機器から送信されてくるオーディオビジュアル信号及び、上記オーディオビジュアル信号について複製可能か否か或いは複製世代管理情報を示す著作権情報を受信する受信ステップと、
    上記他の機器の要求に基づき、上記著作権情報により複製禁止又は複製世代制限があるときには、上記オーディオビジュアル信号の送信可否を判断するための認証情報を上記他の機器へ送信する送信ステップと、
    上記オーディオビジュアル信号をコンポジットビデオ信号に変換する信号処理ステップと、
    上記著作権情報に基づきCGMS信号を生成して上記コンポジットビデオ信号に重畳するCGMS信号ステップと、
    上記CGMS信号が重畳されたコンポジットビデオ信号を出力する出力ステップと
    を有することを特徴とするオーディオビジュアル信号の受信方法。
  8. さらに、上記コンポジットビデオ信号に重畳するマクロビジョン信号を生成するマクロビジョン処理ステップを有し、
    上記出力ステップでは、上記CGMS信号とマクロビジョン信号が重畳されたコンポジットビデオ信号を出力することを特徴とする請求項7に記載のオーディオビジュアル信号の受信方法。
JP2009283377A 2009-12-14 2009-12-14 オーディオビジュアル信号の伝送システム及び伝送方法 Expired - Lifetime JP4600589B2 (ja)

Priority Applications (1)

Application Number Priority Date Filing Date Title
JP2009283377A JP4600589B2 (ja) 2009-12-14 2009-12-14 オーディオビジュアル信号の伝送システム及び伝送方法

Applications Claiming Priority (1)

Application Number Priority Date Filing Date Title
JP2009283377A JP4600589B2 (ja) 2009-12-14 2009-12-14 オーディオビジュアル信号の伝送システム及び伝送方法

Related Parent Applications (1)

Application Number Title Priority Date Filing Date
JP2008000670A Division JP4535132B2 (ja) 2008-01-07 2008-01-07 オーディオビジュアル信号の受信装置及び受信方法

Related Child Applications (1)

Application Number Title Priority Date Filing Date
JP2010004995A Division JP4600595B2 (ja) 2010-01-13 2010-01-13 オーディオビジュアル信号の送信装置及び送信方法

Publications (2)

Publication Number Publication Date
JP2010063174A true JP2010063174A (ja) 2010-03-18
JP4600589B2 JP4600589B2 (ja) 2010-12-15

Family

ID=42189377

Family Applications (1)

Application Number Title Priority Date Filing Date
JP2009283377A Expired - Lifetime JP4600589B2 (ja) 2009-12-14 2009-12-14 オーディオビジュアル信号の伝送システム及び伝送方法

Country Status (1)

Country Link
JP (1) JP4600589B2 (ja)

Citations (4)

* Cited by examiner, † Cited by third party
Publication number Priority date Publication date Assignee Title
JPH06124539A (ja) * 1992-10-08 1994-05-06 Sony Corp ディジタルvtr
JPH07274115A (ja) * 1994-03-29 1995-10-20 Sony Corp 再生装置
JPH0846948A (ja) * 1994-05-24 1996-02-16 Sony Corp 映像機器のデータ送受信方法
JPH08275127A (ja) * 1995-03-31 1996-10-18 Sony Corp ビデオ信号処理装置

Patent Citations (4)

* Cited by examiner, † Cited by third party
Publication number Priority date Publication date Assignee Title
JPH06124539A (ja) * 1992-10-08 1994-05-06 Sony Corp ディジタルvtr
JPH07274115A (ja) * 1994-03-29 1995-10-20 Sony Corp 再生装置
JPH0846948A (ja) * 1994-05-24 1996-02-16 Sony Corp 映像機器のデータ送受信方法
JPH08275127A (ja) * 1995-03-31 1996-10-18 Sony Corp ビデオ信号処理装置

Also Published As

Publication number Publication date
JP4600589B2 (ja) 2010-12-15

Similar Documents

Publication Publication Date Title
JP4842510B2 (ja) ディジタル権利管理の互換性を設けるシステム及び方法
CN100397896C (zh) 根据每个内容控制对接收器装置的输出的源装置和方法
US7227953B2 (en) MPEG data recorder having IEEE 1394 interface
US7043645B2 (en) Reproducing apparatus, recording apparatus and display apparatus
JP3383127B2 (ja) 通信方法
US7395431B2 (en) Data encryption method, recording medium, data transfer apparatus, and encrypted data decryption method
JP2000023088A (ja) 複製制限機能を備えた記録再生システム、記録装置および再生装置
KR20050097994A (ko) 컨텐트의 임포트 제어
KR20000029125A (ko) 신호 변환장치 및 신호 변환방법
JPWO2005020234A1 (ja) 情報処理装置システム、情報処理方法及び情報処理システムにおいて実行されるコンピュータープログラム
JP3855341B2 (ja) 映像信号の送信装置、受信装置及び伝送装置、並びに、映像信号の送信方法及び受信方法
US7684569B2 (en) Electronic device control system and method and electronic device, and control apparatus
JP4099599B2 (ja) オーディオビジュアル信号の記録装置及び記録方法
JP4535132B2 (ja) オーディオビジュアル信号の受信装置及び受信方法
JP4600589B2 (ja) オーディオビジュアル信号の伝送システム及び伝送方法
JP4404142B2 (ja) オーディオビジュアル信号の送信装置及び送信方法
JP4600599B2 (ja) オーディオビジュアル信号の送受信装置及び送受信方法
JP4600598B2 (ja) オーディオビジュアル信号の記録装置及び記録方法
JP4600595B2 (ja) オーディオビジュアル信号の送信装置及び送信方法
JP4049180B2 (ja) オーディオビジュアル信号の送信装置及び送信方法
JP3998031B2 (ja) オーディオビジュアル信号の送受信装置及び送受信方法
JP2002196983A (ja) 暗号化デジタル情報と暗号鍵の伝送装置およびデジタルメディア機器ならびに暗号鍵媒体装置
JP4343287B2 (ja) 記録装置
JP2001069583A (ja) 情報信号伝送方法、情報信号伝送システム、情報信号送信装置および情報信号受信装置
JP2003196161A (ja) 情報記録装置及び情報記録方法、並びにコンピュータプログラム及び記録媒体

Legal Events

Date Code Title Description
A521 Request for written amendment filed

Free format text: JAPANESE INTERMEDIATE CODE: A523

Effective date: 20100113

A621 Written request for application examination

Free format text: JAPANESE INTERMEDIATE CODE: A621

Effective date: 20100113

TRDD Decision of grant or rejection written
A01 Written decision to grant a patent or to grant a registration (utility model)

Free format text: JAPANESE INTERMEDIATE CODE: A01

Effective date: 20100831

A01 Written decision to grant a patent or to grant a registration (utility model)

Free format text: JAPANESE INTERMEDIATE CODE: A01

A61 First payment of annual fees (during grant procedure)

Free format text: JAPANESE INTERMEDIATE CODE: A61

Effective date: 20100913

FPAY Renewal fee payment (event date is renewal date of database)

Free format text: PAYMENT UNTIL: 20131008

Year of fee payment: 3

FPAY Renewal fee payment (event date is renewal date of database)

Free format text: PAYMENT UNTIL: 20131008

Year of fee payment: 3

R250 Receipt of annual fees

Free format text: JAPANESE INTERMEDIATE CODE: R250

R250 Receipt of annual fees

Free format text: JAPANESE INTERMEDIATE CODE: R250

R250 Receipt of annual fees

Free format text: JAPANESE INTERMEDIATE CODE: R250

R250 Receipt of annual fees

Free format text: JAPANESE INTERMEDIATE CODE: R250

EXPY Cancellation because of completion of term