JP2010062953A - フレームレート変換装置、フレームレート変換方法及びフレームレート変換プログラム - Google Patents
フレームレート変換装置、フレームレート変換方法及びフレームレート変換プログラム Download PDFInfo
- Publication number
- JP2010062953A JP2010062953A JP2008227626A JP2008227626A JP2010062953A JP 2010062953 A JP2010062953 A JP 2010062953A JP 2008227626 A JP2008227626 A JP 2008227626A JP 2008227626 A JP2008227626 A JP 2008227626A JP 2010062953 A JP2010062953 A JP 2010062953A
- Authority
- JP
- Japan
- Prior art keywords
- frame
- corresponding point
- function
- interpolation
- value
- Prior art date
- Legal status (The legal status is an assumption and is not a legal conclusion. Google has not performed a legal analysis and makes no representation as to the accuracy of the status listed.)
- Granted
Links
Images
Landscapes
- Television Systems (AREA)
Abstract
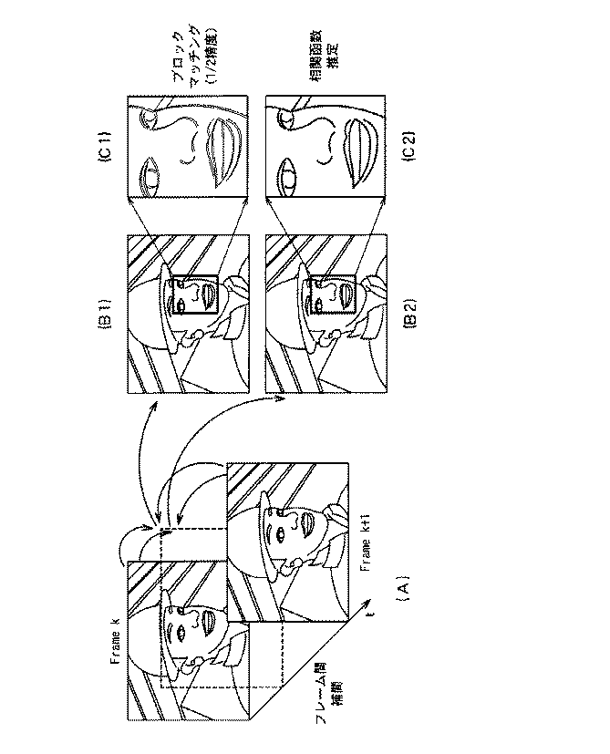
【解決手段】 基準フレームにおける複数個の画素について、時間を異にする複数の画像フレームにおける各対応点を推定する対応点推定処理部2と、推定した各画像フレームにおける各対応点について、それぞれ近傍の画素の濃淡を示す階調値から各階調値を求める第1の階調値生成処理部3と、上記基準フレームにおける複数個の画素に対して、上記推定した各画像フレームにおける各対応点の階調値から対応点軌跡上の濃淡をフルーエンシ函数で近似し、その函数から補間フレームにおける対応点の各階調値を求める第2の階調値生成処理部4と、上記補間フレームにおける各対応点の階調値から、上記補間フレームにおける各画素の階調値を生成する第3の階調値生成処理部5を備える。
【選択図】 図1
Description
(m=3)クラスの標本化関数ψ(x) は、1回のみ連続微分可能な2次の区分多項式の線形結合により次の式(14)で表される。
として表されることができる。
Claims (6)
- 基準フレームにおける複数個の画素について、時間を異にする複数の画像フレームにおける各対応点を推定する対応点推定処理部と、
推定した各画像フレームにおける各対応点について、それぞれ近傍の画素の濃淡を示す階調値から各階調値を求める第1の階調値生成処理部と、
上記基準フレームにおける複数個の画素に対して、上記推定した各画像フレームにおける各対応点の階調値から対応点軌跡上の濃淡をフルーエンシ函数で近似し、その函数から補間フレームにおける対応点の各階調値を求める第2の階調値生成処理部と、
上記補間フレームにおける各対応点の階調値から、上記補間フレームにおける各画素の階調値を生成する第3の階調値生成処理部と
を備えることを特徴とするフレームレート変換装置。 - 基準フレームにおける複数個の画素について、時間を異にする複数の画像フレームにおける各対応点を推定する対応点推定処理ステップと、
推定した各画像フレームにおける各対応点について、それぞれ近傍の画素の濃淡を示す階調値から各階調値を求める第1の階調値生成処理ステップと、
上記基準フレームにおける複数個の画素に対して、上記推定した各画像フレームにおける各対応点の階調値に基づいて対応点軌跡上の濃淡をフルーエンシ函数で近似し、その函数から補間フレームにおける対応点の各階調値を求める第2の階調値生成処理ステップと、
上記補間フレームにおける各対応点の階調値から、上記補間フレームにおける各画素の階調値を生成する第3の階調値生成処理ステップと
を有することを特徴とするフレームレート変換方法。 - フレームレート変換装置に備えられるコンピュータにより実行されるフレームレート変換プログラムであって、
基準フレームにおける複数個の画素について、時間を異にする複数の画像フレームにおける各対応点を推定する対応点推定処理部と、
推定した各画像フレームにおける各対応点について、それぞれ近傍の画素の濃淡を示す階調値から各階調値を求める第1の階調値生成処理部と、
上記基準フレームにおける複数個の画素に対して、上記推定した各画像フレームにおける各対応点の階調値に基づいて対応点軌跡上の濃淡をフルーエンシ函数で近似し、その函数から補間フレームにおける対応点の各階調値を求める第2の階調値生成処理と、
上記補間フレームにおける各対応点の階調値から、上記補間フレームにおける各画素の階調値を生成する第3の階調値生成処理部として、
上記コンピュータを機能させることを特徴とするフレームレート変換プログラム。 - 基準フレームにおける複数個の画素について、その濃淡分布を函数近似する第1の函数近似手段と、
上記第1の函数近似手段により近似された時間を異にする複数の上記基準フレームにおける上記濃淡分布の函数で相関演算を行い、その最大値を与えるそれぞれの位置を上記複数の基準フレームにおいて対応する対応点位置とする対応点推定手段と、
上記対応点推定手段により推定された各基準フレームにおける対応点位置を基準フレームの原点からの水平方向、垂直方向の距離で座標化し、上記時間を異にする複数の基準フレームにおける該座標点の水平方向位置、及び垂直方向位置のそれぞれの変化を時系列信号に変換し、各基準フレームの時系列信号を函数近似する第2の函数近似手段と、
上記第2の函数近似手段で近似された函数により、上記複数の基準フレーム間の任意の時間における補間フレームについて、上記基準フレームの対応点位置に該当する補間フレーム内の対応する位置を対応点位置とし、該補間フレームの対応点位置における濃淡値を、上記基準フレームの対応点における濃淡値で補間して求め、該補間フレームの対応点の濃淡値に合わせて上記第1の函数近似を当てはめて、該対応点近傍の濃淡分布を求め、該対応点近傍の濃淡値を補間フレームにおける画素点の濃淡値に変換する第3の函数近似手段と
を備えることを特徴とするフレームレート変換装置。 - 基準フレームにおける複数個の画素について、その濃淡分布を函数近似する第1の函数近似ステップと、
上記第1の函数近似ステップで近似された時間を異にする複数の上記基準フレームにおける上記濃淡分布の函数で相関演算を行い、その最大値を与えるそれぞれの位置を上記複数の基準フレームにおいて対応する対応点位置とする対応点推定ステップと、
上記対応点推定ステップで推定された各基準フレームにおける対応点位置を基準フレームの原点からの水平方向、垂直方向の距離で座標化し、上記時間を異にする複数の基準フレームにおける該座標点の水平方向位置、及び垂直方向位置のそれぞれの変化を時系列信号に変換し、各基準フレームの時系列信号を函数近似する第2の函数近似ステップと、
上記第2の函数近似ステップで近似された函数により、上記複数の基準フレーム間の任意の時間における補間フレームについて、上記基準フレームの対応点位置に該当する補間フレーム内の対応する位置を対応点位置とし、該補間フレームの対応点位置における濃淡値を、上記基準フレームの対応点における濃淡値で補間して求め、該補間フレームの対応点の濃淡値に合わせて上記第1の函数近似を当てはめて、該対応点近傍の濃淡分布を求め、該対応点近傍の濃淡値を補間フレームにおける画素点の濃淡値に変換する第3の函数近似ステップと
を有することを特徴とするフレームレート変換方法。 - フレームレート変換装置に備えられるコンピュータにより実行されるフレームレート変換プログラムであって、
基準フレームにおける複数個の画素について、その濃淡分布を函数近似する第1の函数近似手段と、
上記第1の函数近似手段により近似された時間を異にする複数の上記基準フレームにおける上記濃淡分布の函数で相関演算を行い、その最大値を与えるそれぞれの位置を上記複数の基準フレームにおいて対応する対応点位置とする対応点推定手段と、
上記対応点推定手段により推定された各基準フレームにおける対応点位置を基準フレームの原点からの水平方向、垂直方向の距離で座標化し、上記時間を異にする複数の基準フレームにおける該座標点の水平方向位置、及び垂直方向位置のそれぞれの変化を時系列信号に変換し、各基準フレームの時系列信号を函数近似する第2の函数近似手段と、
上記第2の函数近似手段で近似された函数により、上記複数の基準フレーム間の任意の時間における補間フレームについて、上記基準フレームの対応点位置に該当する補間フレーム内の対応する位置を対応点位置とし、該補間フレームの対応点位置における濃淡値を、上記基準フレームの対応点における濃淡値で補間して求め、該補間フレームの対応点の濃淡値に合わせて上記第1の函数近似を当てはめて、該対応点近傍の濃淡分布を求め、該対応点近傍の濃淡値を補間フレームにおける画素点の濃淡値に変換する第3の函数近似手段と
して上記コンピュータを機能させることを特徴とするフレームレート変換プログラム。
Priority Applications (5)
| Application Number | Priority Date | Filing Date | Title |
|---|---|---|---|
| JP2008227626A JP4931884B2 (ja) | 2008-09-04 | 2008-09-04 | フレームレート変換装置、フレームレート変換方法及びフレームレート変換プログラム |
| CN2009801415165A CN102187665A (zh) | 2008-09-04 | 2009-07-17 | 帧频变换装置、及其对应点推测装置、对应点推测方法及对应点推测程序 |
| EP09811367.3A EP2330818A4 (en) | 2008-09-04 | 2009-07-17 | BILDFREQUENZVERWANDLUNGSVÄRICHTUNG AND APPROPRIATE PUNKBAETZUNGSVÄRICHTUNG, CORRESPONDING PUNKSCHÄTZUNGS PROCESS AND CORRESPONDING PARTICULAR RANKING PROGRAM |
| PCT/JP2009/062948 WO2010026838A1 (ja) | 2008-09-04 | 2009-07-17 | フレームレート変換装置、並びに、その対応点推定装置、対応点推定方法及び対応点推定プログラム |
| US13/061,924 US20110187924A1 (en) | 2008-09-04 | 2009-07-17 | Frame rate conversion device, corresponding point estimation device, corresponding point estimation method and corresponding point estimation program |
Applications Claiming Priority (1)
| Application Number | Priority Date | Filing Date | Title |
|---|---|---|---|
| JP2008227626A JP4931884B2 (ja) | 2008-09-04 | 2008-09-04 | フレームレート変換装置、フレームレート変換方法及びフレームレート変換プログラム |
Publications (2)
| Publication Number | Publication Date |
|---|---|
| JP2010062953A true JP2010062953A (ja) | 2010-03-18 |
| JP4931884B2 JP4931884B2 (ja) | 2012-05-16 |
Family
ID=42189245
Family Applications (1)
| Application Number | Title | Priority Date | Filing Date |
|---|---|---|---|
| JP2008227626A Expired - Fee Related JP4931884B2 (ja) | 2008-09-04 | 2008-09-04 | フレームレート変換装置、フレームレート変換方法及びフレームレート変換プログラム |
Country Status (1)
| Country | Link |
|---|---|
| JP (1) | JP4931884B2 (ja) |
Cited By (4)
| Publication number | Priority date | Publication date | Assignee | Title |
|---|---|---|---|---|
| JP2021010109A (ja) * | 2019-07-01 | 2021-01-28 | 日本放送協会 | フレームレート変換モデル学習装置およびフレームレート変換装置、ならびに、それらのプログラム |
| CN114025202A (zh) * | 2021-11-03 | 2022-02-08 | 北京字节跳动网络技术有限公司 | 视频处理方法、装置及存储介质 |
| CN114740965A (zh) * | 2022-05-05 | 2022-07-12 | Oppo广东移动通信有限公司 | 降低终端功耗的处理方法及其装置、终端和可读存储介质 |
| CN114820647A (zh) * | 2022-03-29 | 2022-07-29 | 中国科学院上海技术物理研究所 | 一种天基红外空中目标检测方法、存储介质及计算机设备 |
Citations (7)
| Publication number | Priority date | Publication date | Assignee | Title |
|---|---|---|---|---|
| JPH07177514A (ja) * | 1993-12-17 | 1995-07-14 | Casio Comput Co Ltd | 動画像圧縮装置 |
| JPH1168515A (ja) * | 1997-08-19 | 1999-03-09 | Kazuo Toraichi | データ補間方法 |
| JPH11112939A (ja) * | 1997-10-07 | 1999-04-23 | Hitachi Ltd | 画像信号の方式変換方法および装置 |
| JP2001326902A (ja) * | 2000-05-18 | 2001-11-22 | Olympus Optical Co Ltd | 電子カメラ |
| JP2005141614A (ja) * | 2003-11-10 | 2005-06-02 | Seiko Epson Corp | 低解像度の複数の画像に基づく高解像度の画像生成における処理時間の短縮化 |
| JP3732978B2 (ja) * | 1999-08-23 | 2006-01-11 | ペンタックス株式会社 | 画像圧縮および伸張装置とその方法 |
| JP2006109250A (ja) * | 2004-10-07 | 2006-04-20 | Sony Corp | 画像処理装置および方法、記録媒体、並びにプログラム |
-
2008
- 2008-09-04 JP JP2008227626A patent/JP4931884B2/ja not_active Expired - Fee Related
Patent Citations (7)
| Publication number | Priority date | Publication date | Assignee | Title |
|---|---|---|---|---|
| JPH07177514A (ja) * | 1993-12-17 | 1995-07-14 | Casio Comput Co Ltd | 動画像圧縮装置 |
| JPH1168515A (ja) * | 1997-08-19 | 1999-03-09 | Kazuo Toraichi | データ補間方法 |
| JPH11112939A (ja) * | 1997-10-07 | 1999-04-23 | Hitachi Ltd | 画像信号の方式変換方法および装置 |
| JP3732978B2 (ja) * | 1999-08-23 | 2006-01-11 | ペンタックス株式会社 | 画像圧縮および伸張装置とその方法 |
| JP2001326902A (ja) * | 2000-05-18 | 2001-11-22 | Olympus Optical Co Ltd | 電子カメラ |
| JP2005141614A (ja) * | 2003-11-10 | 2005-06-02 | Seiko Epson Corp | 低解像度の複数の画像に基づく高解像度の画像生成における処理時間の短縮化 |
| JP2006109250A (ja) * | 2004-10-07 | 2006-04-20 | Sony Corp | 画像処理装置および方法、記録媒体、並びにプログラム |
Cited By (7)
| Publication number | Priority date | Publication date | Assignee | Title |
|---|---|---|---|---|
| JP2021010109A (ja) * | 2019-07-01 | 2021-01-28 | 日本放送協会 | フレームレート変換モデル学習装置およびフレームレート変換装置、ならびに、それらのプログラム |
| JP7274367B2 (ja) | 2019-07-01 | 2023-05-16 | 日本放送協会 | フレームレート変換モデル学習装置およびフレームレート変換装置、ならびに、それらのプログラム |
| CN114025202A (zh) * | 2021-11-03 | 2022-02-08 | 北京字节跳动网络技术有限公司 | 视频处理方法、装置及存储介质 |
| CN114025202B (zh) * | 2021-11-03 | 2024-05-07 | 抖音视界有限公司 | 视频处理方法、装置及存储介质 |
| CN114820647A (zh) * | 2022-03-29 | 2022-07-29 | 中国科学院上海技术物理研究所 | 一种天基红外空中目标检测方法、存储介质及计算机设备 |
| CN114740965A (zh) * | 2022-05-05 | 2022-07-12 | Oppo广东移动通信有限公司 | 降低终端功耗的处理方法及其装置、终端和可读存储介质 |
| CN114740965B (zh) * | 2022-05-05 | 2023-12-08 | Oppo广东移动通信有限公司 | 降低终端功耗的处理方法及其装置、终端和可读存储介质 |
Also Published As
| Publication number | Publication date |
|---|---|
| JP4931884B2 (ja) | 2012-05-16 |
Similar Documents
| Publication | Publication Date | Title |
|---|---|---|
| CN102187664B (zh) | 影像信号变换系统 | |
| WO2010026838A1 (ja) | フレームレート変換装置、並びに、その対応点推定装置、対応点推定方法及び対応点推定プログラム | |
| Song et al. | Video super-resolution algorithm using bi-directional overlapped block motion compensation and on-the-fly dictionary training | |
| CN102282851B (zh) | 图像处理装置、解码方法、帧内解码装置、帧内解码方法以及帧内编码装置 | |
| JP2005176381A (ja) | 適応的動き補償の補間方法及び装置 | |
| JP4931884B2 (ja) | フレームレート変換装置、フレームレート変換方法及びフレームレート変換プログラム | |
| JP2007053767A (ja) | 画像または画像シーケンスについて、各画像を分割したブロックに割り当てられる動きベクトルからグローバル動きパラメータの集合を反復的に計算する方法および装置 | |
| JP5081109B2 (ja) | 映像信号変換システム | |
| JP2007512750A (ja) | ビデオ信号における局所的な画像空間−時間細部の検出 | |
| JP5042171B2 (ja) | フィルタリング処理装置及びフィルタリング処理方法 | |
| KR100816593B1 (ko) | 화상 처리 장치, 화상 처리 방법, 및 기록 매체 | |
| JP2001285881A (ja) | ディジタル情報変換装置および方法、並びに画像情報変換装置および方法 | |
| Zhao et al. | Video stabilization based on local trajectories and robust mesh transformation | |
| JP4743449B2 (ja) | 対応点推定装置、対応点推定方法及び対応点推定プログラム | |
| JP5042172B2 (ja) | 動画処理装置及び動画処理方法 | |
| JP4552262B2 (ja) | ノイズ低減装置および方法 | |
| JP3896635B2 (ja) | 画像データ変換装置及び方法、予測係数生成装置及び方法 | |
| US12413719B2 (en) | Adaptive interpolation filter search | |
| US20120300848A1 (en) | Apparatus and method for generating an inter-prediction frame, and apparatus and method for interpolating a reference frame used therein | |
| JP2000512827A (ja) | 像間動き評価方法 | |
| JP4552263B2 (ja) | ディジタル信号処理装置および方法、並びにディジタル画像信号処理装置および方法 | |
| JP4768011B2 (ja) | 動画像符号化装置、及び、動画像復号装置 | |
| JP4552264B2 (ja) | エラー修整装置および方法 | |
| Yang | Video noise reduction based on motion complexity classification | |
| JP3922286B2 (ja) | 係数学習装置および方法 |
Legal Events
| Date | Code | Title | Description |
|---|---|---|---|
| A131 | Notification of reasons for refusal |
Free format text: JAPANESE INTERMEDIATE CODE: A131 Effective date: 20110329 |
|
| A521 | Written amendment |
Free format text: JAPANESE INTERMEDIATE CODE: A523 Effective date: 20110524 |
|
| A131 | Notification of reasons for refusal |
Free format text: JAPANESE INTERMEDIATE CODE: A131 Effective date: 20110830 |
|
| A521 | Written amendment |
Free format text: JAPANESE INTERMEDIATE CODE: A523 Effective date: 20111024 |
|
| TRDD | Decision of grant or rejection written | ||
| A01 | Written decision to grant a patent or to grant a registration (utility model) |
Free format text: JAPANESE INTERMEDIATE CODE: A01 Effective date: 20120117 |
|
| A01 | Written decision to grant a patent or to grant a registration (utility model) |
Free format text: JAPANESE INTERMEDIATE CODE: A01 |
|
| A61 | First payment of annual fees (during grant procedure) |
Free format text: JAPANESE INTERMEDIATE CODE: A61 Effective date: 20120214 |
|
| R150 | Certificate of patent or registration of utility model |
Free format text: JAPANESE INTERMEDIATE CODE: R150 |
|
| FPAY | Renewal fee payment (event date is renewal date of database) |
Free format text: PAYMENT UNTIL: 20150224 Year of fee payment: 3 |
|
| R250 | Receipt of annual fees |
Free format text: JAPANESE INTERMEDIATE CODE: R250 |
|
| S533 | Written request for registration of change of name |
Free format text: JAPANESE INTERMEDIATE CODE: R313533 |
|
| R350 | Written notification of registration of transfer |
Free format text: JAPANESE INTERMEDIATE CODE: R350 |
|
| R250 | Receipt of annual fees |
Free format text: JAPANESE INTERMEDIATE CODE: R250 |
|
| LAPS | Cancellation because of no payment of annual fees |
