JP2010056386A - 発光モジュール - Google Patents

発光モジュール Download PDF

Info

Publication number
JP2010056386A
JP2010056386A JP2008221353A JP2008221353A JP2010056386A JP 2010056386 A JP2010056386 A JP 2010056386A JP 2008221353 A JP2008221353 A JP 2008221353A JP 2008221353 A JP2008221353 A JP 2008221353A JP 2010056386 A JP2010056386 A JP 2010056386A
Authority
JP
Japan
Prior art keywords
light emitting
opening
region
conductor
emitting element
Prior art date
Legal status (The legal status is an assumption and is not a legal conclusion. Google has not performed a legal analysis and makes no representation as to the accuracy of the status listed.)
Granted
Application number
JP2008221353A
Other languages
English (en)
Other versions
JP5227116B2 (ja
JP2010056386A5 (ja
Inventor
Takanari Kusabe
隆也 草部
Sadamichi Takakusaki
貞道 高草木
Haruhiko Mori
晴彦 森
Masahiko Mizutani
雅彦 水谷
Current Assignee (The listed assignees may be inaccurate. Google has not performed a legal analysis and makes no representation or warranty as to the accuracy of the list.)
Sanyo Electric Co Ltd
System Solutions Co Ltd
Original Assignee
Sanyo Electric Co Ltd
Sanyo Semiconductor Co Ltd
Priority date (The priority date is an assumption and is not a legal conclusion. Google has not performed a legal analysis and makes no representation as to the accuracy of the date listed.)
Filing date
Publication date
Application filed by Sanyo Electric Co Ltd, Sanyo Semiconductor Co Ltd filed Critical Sanyo Electric Co Ltd
Priority to JP2008221353A priority Critical patent/JP5227116B2/ja
Publication of JP2010056386A publication Critical patent/JP2010056386A/ja
Publication of JP2010056386A5 publication Critical patent/JP2010056386A5/ja
Application granted granted Critical
Publication of JP5227116B2 publication Critical patent/JP5227116B2/ja
Active legal-status Critical Current
Anticipated expiration legal-status Critical

Links

Images

Classifications

    • H10W72/536
    • H10W72/5363

Landscapes

  • Led Device Packages (AREA)

Abstract

【課題】従来の発光モジュールでは、発光モジュールの小型化、薄型化が実現し難いという問題があった。
【解決手段】本発明の発光モジュール1では、金属基板2上に銅箔、銅フレーム等から成る導電体3が接着される。導電体3には、エッチング加工等により、配線層4、開口部5A〜5Cが形成される。そして、開口部5A〜5C内には、発光素子10等が配置され、蛍光樹脂体20が、開口部5A〜5Cを埋設する。この構造により、導電体3が、配線層としての機能と、ダム部としての機能とを有し、発光モジュールの小型化や薄型化が実現される。
【選択図】図1

Description

本発明は、配線パターンによるダム部を有する発光モジュールに関する。
従来の一実施例として、下記の発光モジュール51が知られている。図5は、従来の発光モジュールを説明するための断面図である。
図示の如く、アルミニウムから成る金属基板52上面に絶縁性樹脂53が被覆され、絶縁性樹脂53上面に導電パターン54が形成される。導電パターン54上面には、それぞれ複数の発光素子55(LED素子)が固着され、発光素子55の電極は金属細線56を介して導電パターン54と電気的に接続する。そして、個々のユニット毎に、発光素子55と金属細線56は、光透過性の樹脂57により被覆される。金属基板52の周辺には接続部58が接続し、接続部58上面には透明基板59が配置される。そして、金属基板52、接続部58及び透明基板59から成る空間部にはガスが封入され、発光素子55等の劣化が防止される(例えば、特許文献1参照。)。
また、従来の一実施例として、下記の発光モジュール61が知られている。図6は、従来の発光モジュールを説明するための断面図である。
図示の如く、金属製リードフレーム62が、LED発光素子63の固着領域部64、リフレクター部65、リード端子部66等に加工される。そして、リードフレーム62を封止するように、樹脂性のケース本体67が形成される。樹脂性のケース本体67は、例えば、ポリエステル系やポリフェニレンスルフィド等の熱可塑性樹脂等からなる。そして、リードフレーム62のリフレクター部65により囲まれ、LED発光素子63が配置された領域は、エポキシ樹脂、シリコーン樹脂等の封止樹脂68により埋設される(例えば、特許文献2参照。)。
特開2006−100753号公報(第4−5頁、第1図) 特開2003−152228号公報(第5−6頁、第1−3図)
従来の発光モジュールでは、TVのバックライト等の照明機器に使用される際には、一つのLED素子のみでは明るさが不十分なため、1つの照明機器に多数個のLED素子が実装される。そして、LED素子は照射時に多量の熱を放出し、その熱が発光モジュール外部に良好に放出されない場合には、LED素子の性能が早期に低下し、また、LED素子を封止する樹脂が劣化してしまう問題がある。
例えば、図5に示すように、金属基板52上面が絶縁性樹脂53により被覆されることで、発光素子55(LED素子)から放出される熱が、効率的に金属基板52へと伝わり難く、上記放出熱により発光素子55の輝度の低下等が問題となる。同様に、上記放出熱が、良好に発光モジュール51外部に放出されないことで、上記放出熱により樹脂57が劣化してしまう問題がある。
また、図6に示す発光モジュール61では、樹脂性のケース本体67からは、主に、リードフレーム62のリード端子部66のみが露出する。そして、LED発光素子63が固着され、伝熱性に優れたリードフレーム62の固着領域部64では、その表裏面が樹脂により被覆される。そのため、LED発光素子63からの放出熱が、樹脂性のケース本体67外部へ放出され難く、上記問題と同様に、LED発光素子63の劣化、封止樹脂68の劣化等の問題が発生する。
また、発光モジュール61では、リードフレーム62が加工され、固着領域部64、リフレクター部65、リード端子部66等が一体に形成される。そして、そのリードフレーム62を封止するように、樹脂性のケース本体67が形成される。そのため、複数のLED発光素子63が、一枚のリードフレーム62上に直列接続する構造が実現され難く、個々の発光モジュール61としては発光量に限界がある。そして、複数のLED発光素子が一体に配置された発光モジュールとして、TVのバックライト等の照明機器に使用し難いという問題がある。更に、TVのバックライト等の照明機器に使用する場合には、所望の発光量に応じた数の発光モジュール61を準備し、実装基板上に固着する必要があり、TV等の照明機器の小型化、薄型化に適さないという問題がある。
また、発光モジュール61では、リードフレーム62が所望の形状に加工された後、リードフレーム62はその周囲を樹脂性のケース本体67により封止される。そのため、加工精度が要求され、製造工程が煩雑となり、製造コストが低減し難く、リードタイムも低減し難いという問題がある。
本発明の発光モジュールでは、金属基板と、少なくとも前記金属基板の一主面側を被覆する絶縁層と、前記絶縁層上に設けられる導電体と、前記導電体上面に対し窪んだ領域となる開口部と、前記開口部を含むように前記導電体を横断し、前記導電体を少なくとも2つの領域に区分する分離溝と、前記開口部の内側に設けられる発光素子と、前記発光素子の一方の電極と記分離溝により区分された前記導電体の一方の領域とを電気的に接続し、且つ前記発光素子の他方の電極と前記分離溝により区分された前記導電体の他方の領域とを電気的に接続する金属細線と、前記開口部内側の前記発光素子と前記金属細線とを被覆するように、前記開口部を埋設する樹脂体とを有することを特長とする。従って、本発明では、金属基板上に接着される導電体が、配線層としての機能と、樹脂体を溜めるダム部としての機能を有することで、発光モジュールの小型化や薄型化が実現される。
本発明では、金属基板上に導電体が接着される。導電体は、配線層としての機能と、樹脂体を溜めるダム部としての機能とを有する。この構造により、発光モジュールの小型化や薄型化が実現される。
また、本発明では、配線層としての導電体を電気的に区分するための分離溝が形成され、分離溝にはクランク領域が配置される。この構造により、分離溝からの樹脂体の漏れが防止され、樹脂体が開口部内を埋設する。
また、本発明では、分離溝の端部には樹脂流出防止壁が配置される。この構造により、分離溝からの樹脂体の漏れが防止される。
また、本発明では、金属基板上面を被覆する絶縁層に開口領域が形成され、その開口領域から露出する金属基板上に発光素子が固着される。この構造により、発光素子から放出される熱の放熱性が向上される。
また、本発明では、導電体の一主面上にはメッキ層が形成される。この構造により、メッキ層がリフレクターとしての機能を有し、発光素子からの照射光の反射効率が向上される。
また、本発明では、金属基板上に低弾性樹脂体が被着し、低弾性樹脂体には複数の開口部が形成される。そして、開口部内には発光素子が配置され、樹脂体にて埋設される。この構造により、発光モジュールの小型化や薄型化が実現される。
以下に、本発明の第1の実施の形態である発光モジュールについて、図1〜図3を参照して説明する。図1は、発光モジュールを説明するための平面図である。図2は、図1に示すA−A線方向の断面図である。図3(A)は、図1に示すB−B線方向の断面図である。図3(B)は、図1に示すC−C線方向の断面図である。図3(C)は、図1に示すD−D線方向の断面図である。
図1に示す如く、発光モジュール1は、主に、金属基板2上に、例えば、銅箔、銅フレーム等から成る導電体3が接着される。導電体3は、エッチング加工等によりパターニングされ、配線層4としての機能を有する。更に、導電体3には、エッチング加工により開口部5A〜5Cが形成され、蛍光樹脂体20(図2参照)を溜めるためのダム部としての機能も有する。開口部5A〜5Cは、導電体3の表面に対して窪んだ領域となる。
具体的には、導電体3は、例えば、1枚の板状(箔状)で準備され、エッチング加工される。そして、斜線のハッチングで示す領域は、エッチング加工されない導電体3の領域を示す。砂状のハッチングで示す領域は、ハーフエッチング加工された導電体3の領域を示す。ハッチングされていない領域は、エッチング加工等により、導電体3が完全に除去された領域を示す。つまり、開口部5A〜5Cは、砂状のハッチングで示すハーフエッチング領域12の中に、導電体3を貫通した貫通領域11を有する構成となる。尚、砂状のハッチングで示す領域は、用途に応じてそのエッチング深さは任意の設計変更が可能である。
図示したように、導電体3には、紙面X軸方向(金属基板2の長手方向)に複数のユニット6〜8が形成される。ユニット6〜8とは、発光モジュール1の発光部を構成する個々の領域である。個々のユニット6〜8は、それぞれ開口部5A〜5Cを有し、開口部5A〜5Cの周囲は斜線で示すエッチングされない領域で囲れ、例えば、楕円形状となる。ユニット6〜8の中心部には、上記開口部5A〜5Cが形成され、主に、蛍光樹脂体20(図2参照)を溜めるダム部として用いられる。そして、ユニット6〜8同士は、配線層4としての導電体3により連結される。
次に、ユニット6〜8は、導電体3を分離する分離溝9A〜9Fにより、上記X軸方向に電気的に分離される。図示したように、ユニット6では、紙面Y軸方向(金属基板2の短手方向)に分離溝9A、9Bが配置され、分離溝9A、9Bは開口部5A内の導電体3も2つの領域(2つの電極領域)へと区分する。具体的には、開口部5Aは、砂状のハッチングで示すハーフエッチング領域12と、導電体3を貫通する貫通領域11とから成る。そして、分離溝9A、9Bは、ハーフエッチング領域12を上記2つの領域に区分し、貫通領域11へと繋がる。この構造により、ユニット6では、分離領域9A、9B及び貫通領域11により、紙面左側の領域(例えば、アノード領域)と紙面右側の領域(例えば、カソード領域)とが、ショートすることなく、区分される。
尚、本実施の形態では、開口部5A内に貫通領域11が形成される構造について説明したが、この構造の場合に限定するものではない。例えば、開口部5A内に貫通領域11が形成されない構造の場合には、分離溝9A、9Bが連続して形成されることで、ユニット6内の上記アノード領域とカソード領域とが、ショートすることなく、区分される。また、ユニット7、8においても、同様に、分離溝9C〜9F及び開口部5B、5Cを貫通する貫通領域により、紙面左側の領域(例えば、アノード領域)と紙面右側の領域(例えば、カソード領域)とが、ショートすることなく、区分される。
そして、例えば、ユニット6の上記カソード領域とユニット7の上記アノード領域とは、配線層4としての導電体3により電気的に接続する。この構造により、各ユニット6〜8の開口部5A〜5Cの内側に配置される発光素子10は、金属基板2上にて上記X軸方向に直列接続される。そして、発光モジュール1として所定の光量が確保され、TVのバックライト等の照明器具として用いられる。
次に、図示したように、開口部5A〜5Cは、導電体3が完全に除去された貫通領域11と、導電体3の一部が除去されたハーフエッチング領域12とから構成される。詳細は後述するが、貫通領域11は、発光素子10が固着される領域である。ハーフエッチング領域12は、貫通領域11の周囲に形成される領域であり、金属細線13が接続される領域である。
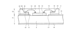
図2に示す如く、金属基板2は、銅(Cu)やアルミニウム(Al)等の金属から成る基板であり、例えば、厚さT1は0.5mm〜2.0mm程度であり、幅W1(図1参照)は5mm〜20mm程度であり、長さL1(図1参照)は、10cm〜50cm程度である。そして、金属基板2がアルミニウムから成る場合、金属基板2の上面および下面は、アルミニウムを陽極酸化させた酸化膜14、15(アルマイト膜:Al(SO)により被覆される。酸化膜14、15の厚みは、例えば1μm〜10μm程度である。
尚、金属基板2は、エポキシ樹脂等の絶縁層により被膜される場合でもよい。また、図示していないが、金属基板2の上記X軸方向の両端には、外部の電源と接続される外部接続端子が形成される。この端子は、差込型のコネクタでも良いし、配線を導電パターンに半田付けするものでも良い。
次に、導電体3は、接着シート16を介して金属基板2上に貼り合わされる。そして、導電体3の厚みT2は、発光素子10の厚み及び金属細線13のループ高さに応じて、例えば、0.8mmに設定される。また、上述したように、導電体3には開口部5Aが形成され、開口部5A内の酸化膜15には、発光素子10の固着領域に対応し、開口領域17が形成される。開口領域17は、発光素子10よりも、若干、広い面積を有する。そして、金属基板2が、酸化膜15が除去された開口領域17から、直接、露出する。一方、ハーフエッチング領域12では、図1の砂状のハッチングで示す領域に対応して、金メッキ層18が形成され、金属細線13との接着性が向上される。
次に、発光素子10は、上面に2つの電極(アノード電極、カソード電極)を有し、所定の色の光を照射する素子である。発光素子10の構成は、ガリウムヒ素(GaAs)等から成る半導体基板の上面にN型の半導体層と、P型の半導体層が積層される。そして、発光素子10の側面上部および上面からは所定の色の光が周囲に照射される。尚、発光素子10は、LED素子やレーザー素子等である。
具体的には、発光素子10の大きさは、例えば、縦×横×厚み=0.3mm×0.3mm×0.1〜0.3mm程度である。また、発光素子10の厚みは、照射する光の色により異なり、例えば、赤色の光を照射する発光素子10の厚みは0.15mm程度であり、緑色の光を照射する発光素子10の厚みは0.28mm程度であり、青色の光を照射する発光素子10の厚みは0.15μm程度である。
そして、発光素子10は、接合材19を介して露出する金属基板2上に固着される。発光素子10の実装面側には電極が配置されてなく、接合材19は、絶縁性の樹脂から成るものでも良いし、放熱性向上のために半田等の金属から成るものでも良い。この構造により、発光素子10から放出される熱は、金属基板2を介して効率的に発光モジュール1外部へと放熱される。つまり、上記放出構造により、発光素子10の温度上昇が抑制され、発光素子10の輝度低下や性能低下が防止される。また、上記放出熱による温度上昇が抑制され、発光素子10を被覆する蛍光樹脂体20の劣化も防止される。
更に、金属細線13は、ハーフエッチング領域12上の金メッキ層18と接続する。この構造により、発光素子10の電極の高さと金メッキ層18の高さとが近似し、金属細線13のループ形状が低くなる。そして、金属細線13のループ頂部が、金属基板2表面から低くなることで、発光モジュール1全体の薄型化が実現される。具体的には、発光素子10の厚みと、金属細線13のループ高さとの合計高さは、0.6〜0.8mmとなる。そして、この合計高さが、上記導電体3の厚みT2内に収まればよい。
次に、蛍光樹脂体20が、導電体3の各ユニット6〜8毎の開口部5A〜5C内を埋設する。そして、開口部5Aの深さが、発光素子10と金属細線13の合計高さ以上であり、発光素子10と金属細線13は、蛍光樹脂体20内に完全に埋設される。
具体的には、蛍光樹脂体20は、耐熱性に優れたシリコーン樹脂に蛍光体が混入された構成となる。そして、発光素子10の側面上部および上面から照射された光は、蛍光樹脂体20内の蛍光体により乱反射しながら、蛍光樹脂体20外部へと照射される。例えば、発光素子10から青色の光が照射される場合には、蛍光樹脂体20内に黄色の蛍光体を混入することで、蛍光樹脂体20を透過した光は白色となる。従って、発光素子10の発光色と混入される蛍光体との組み合わせにより、発光モジュール1からは種々の光が照射される。そして、上記組み合わせとし白色光を照射することで、TVのバックライト等の照明器具として利用することができる。尚、蛍光樹脂体20の上部や下部には、透明なシリコーン樹脂が配置され、開口部5A〜5C内に蛍光樹脂体20と透明なシリコーン樹脂とが積層される構造の場合でもよい。
この構造により、金属基板2上に貼り合わされる導電体3が、複数の発光素子10を直列接続するための配線層として機能するだけでなく、蛍光樹脂体20を溜めるダム部としても機能することで、発光モジュール1自体の厚みを薄くすることができる。
次に、導電体3の表面には、銀メッキ層21が形成される。銀メッキ層21はリフレクターとしての機能を有し、図1の斜線で示すハッチング領域に対応して形成される。そして、銀メッキ層21がリフレクターとして機能することで、発光素子10から照射される光が効率的に反射され、照射光の輝度がより一層向上される。また、発光素子10の温度上昇に伴う輝度の低下や発光素子10の性能低下による輝度の低下も、上記反射効率により補うことができる。
尚、開口部5Aにおいて、ハーフエッチング領域12の側面は、エッチング加工により傾斜面となる。そして、その傾斜面に対し、上記銀メッキ層21が形成される構造でもよく、この構造の場合には、更なるリフレクターとしての効果が得られる。また、リフレクターとして用いるメッキ層は、上記銀メッキ層21に限定するものではなく、金メッキ層、ニッケルメッキ層等の光の反射率の高いメッキ層が施される場合でも良い。
次に、図1、図3(A)〜図3(C)を用いて、開口部5A〜5C内に充填される蛍光樹脂体20が、分離溝9A〜9F内にて留まる構造を説明する。尚、分離溝9Aを用いて説明するが、分離溝9B〜9Fについても同様である。また、図3(A)〜図3(C)の点線にて示す領域は、実際にはその切断面には存在しない導電体であるが、説明の都合上図示するものとする。
図1の丸印22にて示すように、分離溝9Aには、その中間部に、少なくとも1つ以上のクランク領域が形成される。そして、分離溝9Aにクランク領域が形成されることで、分離溝9Aの全長は長くなり、蛍光樹脂体20が、分離溝9A内に留まり易い構造となる。更に、クランク領域では、開口部5Aから分離溝9Aへと流出した蛍光樹脂体20の流出方向が変わるため、蛍光樹脂体20の流速も遅くなり、蛍光樹脂体20が、分離溝9A内に留まり易い構造となる。そして、蛍光樹脂体20は、シリコーン樹脂に蛍光体が混入されることで、粘性が高くなり、流動性が低くなることで、分離溝9A内に留まり易くなる。
具体的には、図3(A)に示すように、点線23は、開口部5Aを構成する導電体3の側面を示し、点線24及び実線25は、分離溝9Aを構成する導電体3の側面を示す。図3(A)に示す領域は、クランク領域へ差し掛かる前段領域であり、開口部5Aから直線的に延在する領域である。この領域では、分離溝9Aの幅W2と蛍光樹脂体20自体の粘性、流動性等の条件に応じて、蛍光樹脂体20が分離溝9A内に留まるか、否かが決まる。図示したように、本実施の形態では、例えば、図3(A)に示す領域の分離溝9Aは、蛍光樹脂体20により充填される。尚、分離溝9Aの幅W2は、電極同士がショートしない幅であり、蛍光樹脂体20が留まるように狭く設計される。
次に、図3(B)に示す実線26と図3(A)に示す点線24が対応し、図3(B)に示す点線27と図3(A)に示す実線25が対応する。そして、図3(B)及び図3(C)に示す分離溝9Aには、図3(A)に示す領域の分離溝9Aから蛍光樹脂体20が流れ込む。このとき、蛍光樹脂体20は、図3(A)の実線25にて示す分離溝9Aの側壁により一度流れを塞き止められた後、その流出方向が変わることで、蛍光樹脂体20の流速も遅くなる。更に、上述したように、分離溝9Aの幅W2は狭く設計されることで、蛍光樹脂体20は、図3(B)及び図3(C)に示す分離溝9Aにて留まり易くなる。
本実施の形態では、例えば、図3(B)及び(C)に示す領域の分離溝9Aにて、蛍光樹脂体20は留まり、硬化する。そして、蛍光樹脂体20が、開口部5Aから分離溝9Aへと流出することが止まることで、開口部5Aは、導電体3の表面と実質同等な高さまで蛍光樹脂体20にて充填される。尚、図3(C)の実線28にて示す分離溝9Aの側壁においても、図3(A)の実線25にて示す分離溝9Aの側壁と同様な現象が起こる。
尚、上述したように、本実施の形態では、図1の丸印22にて示すように、分離溝9Aにクランク領域を2箇所配置する構造について説明したが、この構造に限定するものではない。例えば、導電体3の外周端部に向けて、分離溝9Aに上記クランク領域を階段上に複数配置する構造の場合でもよい。この構造により、開口部5Aから流れ込んだ蛍光樹脂体20が、複数のクランクを通過することで、その流速も確実に遅くなり、蛍光樹脂体20は、分離溝9Aのいずれかの領域にて確実に留まることとなる。
また、本実施の形態では、分離溝9A〜9Fのクランク領域での曲がり角度が90度となる構造について説明したが、この構造に限定するものではない。分離溝9A〜9Fのクランク領域での曲がり角度は、90度よりも鋭角となる場合でも、鈍角となる場合でも任意の設計変更が可能である。例えば、分離溝9A〜9Fのクランク領域での曲がり角度が、90度よりも鋭角となる構造では、更に、蛍光樹脂体20の流出方向が変わり、その流速も落ちることで、蛍光樹脂体20が、分離溝9A〜9Fに留まり易い構造となる。
また、本実施の形態では、開口部5A〜5Cから分離溝9A〜9Fへと流れ込む蛍光樹脂体20が、分離溝9A〜9Fの上記クランク領域を用いて、分離溝9A〜9Fに留まる構造について説明したが、この構造に限定するものではない。例えば、分離溝9A〜9Fの外端部にシリコン系の樹脂による流出防止壁を配置し、その流出防止壁により蛍光樹脂体20を塞き止める構造の場合でもよい。また、上記クランク領域と上記流出防止壁を組み合わせ、蛍光樹脂体20が、分離溝9A〜9Fから流出することを塞き止める構造の場合でもよい。
また、本実施の形態では、各ユニット6〜8毎に、蛍光樹脂体20、銀メッキ層21上面に、例えば、熱可塑性樹脂やシリコーン樹脂等の熱硬化性樹脂より成るレンズが配置される構造の場合でもよい。その他、本発明の要旨を逸脱しない範囲で、種々の変更が可能である。
次に、本発明の第2の実施の形態である発光モジュールについて、図4を参照して説明する。図4(A)は、発光モジュールを説明するための平面図である。図4(B)は、図4(A)に示すE−E線方向の断面図である。
図4(A)に示す如く、発光モジュール31は、主に、金属基板32(図4(B)参照)に、例えば、ポリイミド樹脂等の低弾性樹脂体33が被着する。詳細は後述するが、低弾性樹脂体33には、紙面X軸方向(低弾性樹脂体33の長手方向)に対し、点線で示すように開口部34A〜34Cが形成される。そして、開口部34A〜34Cは、主に、蛍光樹脂体46(図4(B)参照)を溜めるダム部として用いられる。
配線層35が、低弾性樹脂体33の表面に形成される。配線層35は、例えば、銅箔等の導電箔が選択的にウェットエッチングされ、パターニングされる。そして、配線層35は、上記X軸方向に対して、複数のユニット36〜38を構成する。ユニット36〜38とは、発光モジュール31の発光部を構成する個々の領域であり、ユニット36〜38の開口部34A〜34Cには、発光素子39が配置される。
また、配線層35は、各ユニット36〜38において、紙面Y軸方向(低弾性樹脂体33の短手方向)に沿って電気的に分離される。例えば、ユニット36のカソード領域(ユニット36の紙面右側の領域)とユニット37のアノード領域(ユニット37の紙面左側の領域)とは、配線層35により電気的に接続する。この構造により、各ユニット36〜38の開口部34A〜34C内に配置される発光素子39は、上記X軸方向に直列接続される。そして、発光モジュール31として所定の光量が確保され、TVのバックライト等の照明器具として用いられる。
図4(B)に示す如く、金属基板32は、銅(Cu)やアルミニウム(Al)等の金属から成る基板であり、例えば、厚さT3は0.5mm〜2.0mm程度であり、幅W3(図4(A)参照)は5mm〜20mm程度であり、長さL2(図4(A)参照)は、10cm〜50cm程度である。そして、金属基板32がアルミニウムから成る場合、金属基板32の上面および下面は、アルミニウムを陽極酸化させた酸化膜40、41(アルマイト膜:Al(SO)により被覆される。酸化膜40、41の厚みは、例えば1μm〜10μm程度である。尚、金属基板32は、第1の実施の形態にて説明した金属基板2と同じであり、その説明を参酌する。
次に、低弾性樹脂体33が、金属基板32上面に被着する。低弾性樹脂体33は、例えば、ポリイミド、エポキシ樹脂等のように、低弾性、柔軟性、可撓性、可塑性を有する樹脂から成る。そして、発光素子39の厚み及び金属細線42のループ高さに応じて、例えば、低弾性樹脂体33の厚みT4は、0.8mmに設定される。
次に、開口部34Aが、低弾性樹脂体33に形成され、開口部34A内には、低弾性樹脂体を貫通する貫通領域43が形成される。そして、例えば、開口部34Aの形状に合わせた金型(図示せず)を準備し、平板状態の低弾性樹脂体33の一主面側からプレス加工することで、開口部34Aが形成される。尚、貫通領域43は、上記プレス加工を行う前に形成される場合でも、上記プレス加工を行った後に形成される場合でもよい。
開口部34A内の酸化膜41には、発光素子39の固着領域に対応し、開口領域44が形成される。開口領域44は、発光素子39よりも、若干、広い面積を有する。金属基板32が、酸化膜41が除去された開口領域44から直接、露出する。一方、開口部34A内の側面には、その形状に合わせて配線層35が形成される。そして、配線層35の一部上面には、金メッキ層44が形成され、金属細線42との接着性が向上される。
次に、発光素子39は、上面に2つの電極(アノード電極、カソード電極)を有し、所定の色の光を照射させる素子である。発光素子39の側面上部および上面からは所定の色の光が周囲に照射される。そして、発光素子39は、接合材45を介して露出する金属基板32上に固着される。尚、発光素子39及び接合材45は、第1の実施の形態で説明した発光素子10及び接合材19と同じであり、その説明を参酌する。
この構造により、第2の実施の形態においても、第1の実施の形態と同様に、発光モジュール31の放熱性が向上し、発光素子39の輝度低下や性能低下、蛍光樹脂体46の劣化が防止される。更に、金属細線42のループ頂部の高さが、金属基板32表面から低くなることで、発光モジュール31全体の薄型化が実現される。
次に、蛍光樹脂体46が、各ユニット36〜38毎の開口部34A〜34C内を埋設する。そして、開口部34Aの深さが、発光素子39と金属細線42の合計高さ以上であり、発光素子39と金属細線42は、蛍光樹脂体46内に完全に埋設される。尚、蛍光樹脂体46は、第1の実施の形態で説明した蛍光樹脂体20と同じであり、その説明を参酌する。
次に、銀メッキ層47が、低弾性樹脂体33の表面に配置された配線層35上に形成される。銀メッキ層47はリフレクターとしての機能を有する。図4(A)に示すように、配線層35が、低弾性樹脂体33表面の広い領域に渡り形成されることで、リフレクターとしての機能が向上される。そして、銀メッキ層47がリフレクターとして機能することで、発光素子39から照射される光が効率的に反射され、照射光の輝度がより一層向上される。また、発光素子39の温度上昇に伴う輝度の低下や発光素子39の性能低下による輝度の低下も、上記反射効率により補うことができる。
尚、図4(A)及び(B)に示すように、開口部34A内の側面の傾斜面には、広い領域に渡り配線層35が形成される。そして、その傾斜面に配置される配線層35の表面に銀メッキ層47が形成される構造でもよく、この構造の場合には、更に、発光素子39からの光の反射効率が向上される。また、リフレクターとして用いるメッキ層は、上記銀メッキ層47に限定するものではなく、金メッキ層、ニッケルメッキ層等の光の反射率の高いメッキ層が施される場合でも良い。
また、本実施の形態では、低弾性樹脂体33の上の配線層35上面に銀メッキ層47を形成し、銀メッキ層47をリフレクターとして用いる構造について説明したが、この構造に限定するものではない。例えば、低弾性樹脂体33の上面に、金属板上面に白色樹脂が被覆されたリフレクターや白色のアクリル板からなるリフレクターを貼り合わせる構造の場合でもよい。
また、本実施の形態では、各ユニット36〜38毎に、蛍光樹脂体46、銀メッキ層47上面に、例えば、熱可塑性樹脂やシリコーン樹脂等の熱硬化性樹脂より成るレンズが配置される構造の場合でもよい。その他、本発明の要旨を逸脱しない範囲で、種々の変更が可能である。
本発明の第1の実施の形態における発光モジュールの構成を説明するための平面図である。 本発明の第1の実施の形態における発光モジュールの構成を説明するための断面図である。 本発明の第1の実施の形態における発光モジュールの構成を説明するための(A)断面図(B)断面図、(C)断面図である。 本発明の第2の実施の形態における発光モジュールの構成を説明するための(A)平面図、(B)断面図である。 従来の実施の形態における発光モジュールの構成を説明するための断面図である。 従来の実施の形態における発光モジュールの構成を説明するための断面図である。
符号の説明
1 発光モジュール
2 金属基板
3 導電体
4 配線層
5A 開口部
9A 分離溝
10 発光素子
20 蛍光樹脂体
31 発光モジュール
32 金属基板
33 低弾性樹脂体
34A 開口部
35 配線層
39 発光素子
46 蛍光樹脂体

Claims (10)

  1. 金属基板と、
    少なくとも前記金属基板の一主面側を被覆する絶縁層と、
    前記絶縁層上に設けられる導電体と、
    前記導電体上面に対し窪んだ領域となる開口部と、
    前記開口部を含むように前記導電体を横断し、前記導電体を少なくとも2つの領域に区分する分離溝と、
    前記開口部の内側に設けられる発光素子と、
    前記発光素子の一方の電極と前記分離溝により区分された前記導電体の一方の領域とを電気的に接続し、且つ前記発光素子の他方の電極と前記分離溝により区分された前記導電体の他方の領域とを電気的に接続する金属細線と、
    前記開口部内側の前記発光素子と前記金属細線とを被覆するように、前記開口部を埋設する樹脂体とを有することを特長とする発光モジュール。
  2. 前記分離溝には、少なくとも1箇所以上のクランク領域が形成され、前記樹脂体は、前記開口部及び前記分離溝内にて硬化することを特徴とする請求項1に記載の発光モジュール。
  3. 前記分離溝の一端は前記開口部側に位置し、前記分離溝の他端は前記導電体の外周端部側に位置し、
    前記分離溝の他端には、樹脂流出防止壁が配置されることを特徴とする請求項2に記載の発光モジュール。
  4. 前記開口部には前記導電体を貫通する領域が形成され、
    前記開口部の貫通領域に位置する前記絶縁層には、前記金属基板が露出する開口領域が形成され、前記開口領域から露出する前記金属基板には、前記発光素子が固着されることを特徴とする請求項2または請求項3に記載の発光モジュール。
  5. 前記導電体には前記金属基板の長手方向に複数の前記開口部が形成され、
    前記開口部内に配置された前記発光素子は、それぞれ前記金属細線により前記導電体と接続し、
    前記金属基板上の複数の前記発光素子は、前記導電体を介して直列接続することを特徴とする請求項2から請求項4のいずれか1項に記載の発光モジュール。
  6. 少なくとも前記導電体の一主面側には、メッキ層が形成されることを特徴とする請求項2から請求項5のいずれか1項に記載の発光モジュール。
  7. 金属基板と、
    少なくとも前記金属基板の一主面側を被覆する絶縁層と、
    前記絶縁層上に設けられる絶縁性樹脂体と、
    前記絶縁性樹脂体上面に対し窪んだ領域となる開口部と、
    前記開口部の内側及び前記絶縁性樹脂体の一主面上に形成された配線層と、
    前記開口部の内側に設けられる発光素子と、
    前記発光素子の電極と前記開口部内の前記配線層と電気的に接続する金属細線と、
    前記開口部の内側の前記発光素子と前記金属細線とを被覆するように、前記開口部を埋設する樹脂体とを有することを特長とする発光モジュール。
  8. 前記開口部には前記絶縁性樹脂体を貫通する領域が形成され、
    前記開口部の貫通領域に位置する前記絶縁層には、前記金属基板が露出する開口領域が形成され、前記開口領域から露出する前記金属基板には、前記発光素子が固着されることを特徴とする請求項7に記載の発光モジュール。
  9. 前記絶縁性樹脂体は、ポリイミド樹脂またはエポキシ樹脂から成ることを特徴とする請求項8に記載の発光モジュール。
  10. 前記配線層の表面には、メッキ層が形成されることを特徴とする請求項8または請求項9に記載の発光モジュール。
JP2008221353A 2008-08-29 2008-08-29 発光モジュール Active JP5227116B2 (ja)

Priority Applications (1)

Application Number Priority Date Filing Date Title
JP2008221353A JP5227116B2 (ja) 2008-08-29 2008-08-29 発光モジュール

Applications Claiming Priority (1)

Application Number Priority Date Filing Date Title
JP2008221353A JP5227116B2 (ja) 2008-08-29 2008-08-29 発光モジュール

Publications (3)

Publication Number Publication Date
JP2010056386A true JP2010056386A (ja) 2010-03-11
JP2010056386A5 JP2010056386A5 (ja) 2011-10-06
JP5227116B2 JP5227116B2 (ja) 2013-07-03

Family

ID=42071972

Family Applications (1)

Application Number Title Priority Date Filing Date
JP2008221353A Active JP5227116B2 (ja) 2008-08-29 2008-08-29 発光モジュール

Country Status (1)

Country Link
JP (1) JP5227116B2 (ja)

Cited By (1)

* Cited by examiner, † Cited by third party
Publication number Priority date Publication date Assignee Title
US8827493B2 (en) 2010-12-20 2014-09-09 Toyoda Gosei Co., Ltd. LED module for lighting

Citations (3)

* Cited by examiner, † Cited by third party
Publication number Priority date Publication date Assignee Title
JP2003243719A (ja) * 2002-02-14 2003-08-29 Citizen Electronics Co Ltd 発光ダイオードとその製造方法
JP2006172167A (ja) * 2004-12-16 2006-06-29 Fujitsu Ltd 解析装置及びプログラム
JP2006245032A (ja) * 2005-02-28 2006-09-14 Toyoda Gosei Co Ltd 発光装置およびledランプ

Patent Citations (3)

* Cited by examiner, † Cited by third party
Publication number Priority date Publication date Assignee Title
JP2003243719A (ja) * 2002-02-14 2003-08-29 Citizen Electronics Co Ltd 発光ダイオードとその製造方法
JP2006172167A (ja) * 2004-12-16 2006-06-29 Fujitsu Ltd 解析装置及びプログラム
JP2006245032A (ja) * 2005-02-28 2006-09-14 Toyoda Gosei Co Ltd 発光装置およびledランプ

Cited By (1)

* Cited by examiner, † Cited by third party
Publication number Priority date Publication date Assignee Title
US8827493B2 (en) 2010-12-20 2014-09-09 Toyoda Gosei Co., Ltd. LED module for lighting

Also Published As

Publication number Publication date
JP5227116B2 (ja) 2013-07-03

Similar Documents

Publication Publication Date Title
CN101404276B (zh) 发光模块及其制造方法
JP5279225B2 (ja) 発光モジュールおよびその製造方法
CN101939851B (zh) 发光组件以及其制造方法
JP5132234B2 (ja) 発光モジュール
CN204391155U (zh) Led模块
JP6542227B2 (ja) Led蛍光体パッケージ用の反射性はんだマスク層
CN104078551A (zh) 发光装置及其制造方法
JP6681139B2 (ja) 発光装置
JP2002368286A (ja) 発光ダイオード及びその製造方法
JP3991624B2 (ja) 表面実装型発光装置及びその製造方法
JP2015035592A (ja) 発光装置
JP2010109119A (ja) 発光モジュール及びその製造方法
CN103579466A (zh) 发光装置
CN204375793U (zh) Led发光装置
CN102054924A (zh) 用于光学元件的封装基板及其制造方法
JP2009054801A (ja) 放熱部材及びそれを備えた発光モジュール
JPWO2018105448A1 (ja) 発光装置
JP2010212352A (ja) 発光装置用基板及び発光装置並びにそれらの製造方法、並びに、発光モジュール
CN104488096B (zh) 发光装置
JP5812845B2 (ja) 発光素子搭載用パッケージ及び発光素子パッケージ並びにそれらの製造方法
JP5401025B2 (ja) 発光モジュールおよびその製造方法
JP2009038125A (ja) 発光モジュールおよびその製造方法
JP5227116B2 (ja) 発光モジュール
CN100570910C (zh) 表面安装型led
JP2010073724A (ja) 発光モジュール

Legal Events

Date Code Title Description
A521 Request for written amendment filed

Free format text: JAPANESE INTERMEDIATE CODE: A523

Effective date: 20110822

A621 Written request for application examination

Free format text: JAPANESE INTERMEDIATE CODE: A621

Effective date: 20110822

A131 Notification of reasons for refusal

Free format text: JAPANESE INTERMEDIATE CODE: A131

Effective date: 20120904

A977 Report on retrieval

Free format text: JAPANESE INTERMEDIATE CODE: A971007

Effective date: 20120905

A521 Request for written amendment filed

Free format text: JAPANESE INTERMEDIATE CODE: A523

Effective date: 20121101

TRDD Decision of grant or rejection written
A01 Written decision to grant a patent or to grant a registration (utility model)

Free format text: JAPANESE INTERMEDIATE CODE: A01

Effective date: 20130226

A61 First payment of annual fees (during grant procedure)

Free format text: JAPANESE INTERMEDIATE CODE: A61

Effective date: 20130315

R150 Certificate of patent or registration of utility model

Ref document number: 5227116

Country of ref document: JP

Free format text: JAPANESE INTERMEDIATE CODE: R150

Free format text: JAPANESE INTERMEDIATE CODE: R150

FPAY Renewal fee payment (event date is renewal date of database)

Free format text: PAYMENT UNTIL: 20160322

Year of fee payment: 3

R250 Receipt of annual fees

Free format text: JAPANESE INTERMEDIATE CODE: R250

R250 Receipt of annual fees

Free format text: JAPANESE INTERMEDIATE CODE: R250

R250 Receipt of annual fees

Free format text: JAPANESE INTERMEDIATE CODE: R250

R250 Receipt of annual fees

Free format text: JAPANESE INTERMEDIATE CODE: R250

R250 Receipt of annual fees

Free format text: JAPANESE INTERMEDIATE CODE: R250

R250 Receipt of annual fees

Free format text: JAPANESE INTERMEDIATE CODE: R250

R250 Receipt of annual fees

Free format text: JAPANESE INTERMEDIATE CODE: R250

R250 Receipt of annual fees

Free format text: JAPANESE INTERMEDIATE CODE: R250

R250 Receipt of annual fees

Free format text: JAPANESE INTERMEDIATE CODE: R250

R250 Receipt of annual fees

Free format text: JAPANESE INTERMEDIATE CODE: R250