JP2010053665A - コンクリート建築物における手摺の芯材及びこの芯材を取付けた手摺 - Google Patents
コンクリート建築物における手摺の芯材及びこの芯材を取付けた手摺 Download PDFInfo
- Publication number
- JP2010053665A JP2010053665A JP2008222623A JP2008222623A JP2010053665A JP 2010053665 A JP2010053665 A JP 2010053665A JP 2008222623 A JP2008222623 A JP 2008222623A JP 2008222623 A JP2008222623 A JP 2008222623A JP 2010053665 A JP2010053665 A JP 2010053665A
- Authority
- JP
- Japan
- Prior art keywords
- handrail
- core material
- embedded
- fixed
- pipe
- Prior art date
- Legal status (The legal status is an assumption and is not a legal conclusion. Google has not performed a legal analysis and makes no representation as to the accuracy of the status listed.)
- Granted
Links
- 239000011162 core material Substances 0.000 title claims abstract description 125
- 239000004567 concrete Substances 0.000 title claims abstract description 29
- 229910000831 Steel Inorganic materials 0.000 claims abstract description 36
- 239000010959 steel Substances 0.000 claims abstract description 36
- 238000003754 machining Methods 0.000 claims abstract description 16
- 229910052751 metal Inorganic materials 0.000 claims abstract description 13
- 239000002184 metal Substances 0.000 claims abstract description 13
- 239000000463 material Substances 0.000 claims description 37
- 238000003825 pressing Methods 0.000 description 9
- 230000000694 effects Effects 0.000 description 4
- 239000011150 reinforced concrete Substances 0.000 description 4
- 229910052782 aluminium Inorganic materials 0.000 description 3
- XAGFODPZIPBFFR-UHFFFAOYSA-N aluminium Chemical compound [Al] XAGFODPZIPBFFR-UHFFFAOYSA-N 0.000 description 3
- 238000005452 bending Methods 0.000 description 3
- 238000010276 construction Methods 0.000 description 3
- 238000005520 cutting process Methods 0.000 description 3
- 239000000853 adhesive Substances 0.000 description 2
- 230000001070 adhesive effect Effects 0.000 description 2
- 230000010485 coping Effects 0.000 description 2
- 238000002788 crimping Methods 0.000 description 2
- 238000005553 drilling Methods 0.000 description 2
- 238000000034 method Methods 0.000 description 2
- 238000007747 plating Methods 0.000 description 2
- 238000003466 welding Methods 0.000 description 2
- 208000019901 Anxiety disease Diseases 0.000 description 1
- 230000036506 anxiety Effects 0.000 description 1
- 239000000428 dust Substances 0.000 description 1
- 239000003822 epoxy resin Substances 0.000 description 1
- 238000007730 finishing process Methods 0.000 description 1
- 238000004519 manufacturing process Methods 0.000 description 1
- 239000004570 mortar (masonry) Substances 0.000 description 1
- 238000000465 moulding Methods 0.000 description 1
- 229920000647 polyepoxide Polymers 0.000 description 1
- 238000003672 processing method Methods 0.000 description 1
- 238000009420 retrofitting Methods 0.000 description 1
- 229910001220 stainless steel Inorganic materials 0.000 description 1
- 239000010935 stainless steel Substances 0.000 description 1
- XLYOFNOQVPJJNP-UHFFFAOYSA-N water Substances O XLYOFNOQVPJJNP-UHFFFAOYSA-N 0.000 description 1
Images
Landscapes
- Steps, Ramps, And Handrails (AREA)
Abstract
【課題】 金属パイプ、チャンネル材の一端を機械加工により絞ることで、手摺支柱の中空部に固定される固定部と躯体側の穴に埋没される、肉厚の埋没部とが一体成形される手摺の芯材及びこの芯材を取付けた手摺を提供すること。
【解決手段】 芯材1Aは、スチールパイプとして角バイプ10Aを用い、且つ、手摺2を構成する支柱20の中空部21側に固定される固定部11と、コンクリート建築物の躯体3側の穴30に埋没される埋没部12を備えると共に、前記埋没部12は、前記角パイプ10Aの一端13が機械加工としてのプレス加工により、前記穴30に埋没可能なように単一の円柱状に変形加工されている。
【選択図】 図1
【解決手段】 芯材1Aは、スチールパイプとして角バイプ10Aを用い、且つ、手摺2を構成する支柱20の中空部21側に固定される固定部11と、コンクリート建築物の躯体3側の穴30に埋没される埋没部12を備えると共に、前記埋没部12は、前記角パイプ10Aの一端13が機械加工としてのプレス加工により、前記穴30に埋没可能なように単一の円柱状に変形加工されている。
【選択図】 図1
Description
本物品は、コンクリート建築物に取付けられる手摺の芯材及びこの芯材を用いた手摺に関する。
従来の芯材及び手摺 その1
手摺のアルミ支柱内にスチール角パイプを固定して芯材とし、その芯材の先端をコンクリート躯体に設けた孔に挿入し、無伸縮モルタル等で固定していた。
この場合、RC構造のコンクリート躯体に設ける穴は、「コア抜き」によりスチール角パイプの口形状の先端を埋没させることができる、径の大きな丸穴を開ける必要があった。
しかし、この「コア抜き」作業では、水が必要となり、このため施工場所が汚れること、専用機の施工場所への搬入、固定、移動の手間等がかかり、そのコストが高くなっていた。
手摺のアルミ支柱内にスチール角パイプを固定して芯材とし、その芯材の先端をコンクリート躯体に設けた孔に挿入し、無伸縮モルタル等で固定していた。
この場合、RC構造のコンクリート躯体に設ける穴は、「コア抜き」によりスチール角パイプの口形状の先端を埋没させることができる、径の大きな丸穴を開ける必要があった。
しかし、この「コア抜き」作業では、水が必要となり、このため施工場所が汚れること、専用機の施工場所への搬入、固定、移動の手間等がかかり、そのコストが高くなっていた。
従来の芯材及び手摺 その2
このような不都合のため、前記スチール角パイプの内側面に2本の丸棒スチール材を溶接し(ツイン型)、また前記スチール角パイプの代わりにCチャンネルを用い、その内側面に1本の丸棒スチール材を溶接して、その丸棒スチール材を振動ドリルで設けたコンクリート躯体の孔に挿入して接着剤等で固定していた。
このような従来例では、振動ドリルで簡単に比較的径が小さい穴を開けることができるため、「コア抜き」のような穴あけに伴うデメリットは解消される。
しかし、内側面に丸棒スチール材を溶接しているため、溶接面の面積が小さくなり強度が弱くなっていた。
また、後メッキを施すため、耐候性が落ちていた。
また、加工工程が多いことは、品質のムラの発生のみならず、コストアップに繋がっていた。
さらに、ツイン型の場合、各丸棒スチール材間に構造的な繋がりがなく隙間があることから、水平荷重(例えば200kg以上)が加えられると、躯体の天場面で芯材が曲がる危険性があること、手摺の初期強度が悪く揺れるため、入居者等に不安感を与えるおそれがある等の問題点があった。
このような不都合のため、前記スチール角パイプの内側面に2本の丸棒スチール材を溶接し(ツイン型)、また前記スチール角パイプの代わりにCチャンネルを用い、その内側面に1本の丸棒スチール材を溶接して、その丸棒スチール材を振動ドリルで設けたコンクリート躯体の孔に挿入して接着剤等で固定していた。
このような従来例では、振動ドリルで簡単に比較的径が小さい穴を開けることができるため、「コア抜き」のような穴あけに伴うデメリットは解消される。
しかし、内側面に丸棒スチール材を溶接しているため、溶接面の面積が小さくなり強度が弱くなっていた。
また、後メッキを施すため、耐候性が落ちていた。
また、加工工程が多いことは、品質のムラの発生のみならず、コストアップに繋がっていた。
さらに、ツイン型の場合、各丸棒スチール材間に構造的な繋がりがなく隙間があることから、水平荷重(例えば200kg以上)が加えられると、躯体の天場面で芯材が曲がる危険性があること、手摺の初期強度が悪く揺れるため、入居者等に不安感を与えるおそれがある等の問題点があった。
従来の芯材及び手摺 その3
一方、上記従来例2のスチール角パイプやCチャンネルに別部材の丸棒スチール材を溶接する場合のデメリットを解消ため、特許文献1では、芯材全体を一体に成形した「手摺の支柱用芯材」が開示されている。
特開2008−127882号公報
一方、上記従来例2のスチール角パイプやCチャンネルに別部材の丸棒スチール材を溶接する場合のデメリットを解消ため、特許文献1では、芯材全体を一体に成形した「手摺の支柱用芯材」が開示されている。
しかし、かかる芯材は、押し出し成形品であって、これを取り付けことができる手摺支柱が限定されて汎用性に欠ける芯材であった。
また、この芯材は芯材全体が一体成形されているものの、躯体の取付穴に固定される一対の脚部の間には隙間が存在し、上述のような「手摺に水平荷重が加えられると、各丸棒スチール材間に構造的な繋がりがなく隙間があることから、躯体の天場面で芯材が曲がる危険性があること」と同様な問題点を指摘することができる。
また、この芯材は芯材全体が一体成形されているものの、躯体の取付穴に固定される一対の脚部の間には隙間が存在し、上述のような「手摺に水平荷重が加えられると、各丸棒スチール材間に構造的な繋がりがなく隙間があることから、躯体の天場面で芯材が曲がる危険性があること」と同様な問題点を指摘することができる。
そこで、本発明は、上記従来例1〜3のデメリットを解消することができるコンクリート建築物における手摺の芯材及びこの芯材を取付けた手摺を提供することを目的とする。
上記課題を解決するため、本発明は、コンクリート建築物の躯体と手摺支柱間に介在させる芯材であって、該芯材はスチールパイプからなり、且つ、前記支柱の中空部側に固定される固定部と、前記躯体側の穴に埋没される埋没部を備えると共に、前記埋没部は、前記パイプの一端が機械加工により、単一の円柱状に形状加工されていることを特徴とする芯材とした(請求項1の発明)。
本発明及び以下の各発明において、「スチールパイプ」は、角パイプ、丸パイブ等の形に限定されない。
同様に本発明及び以下の各発明において、「躯体側の穴」は、RC構造(鉄筋コンクリート建築)、PC構造(プレキャスト建築)、SRC構造(鉄骨鉄筋コンクリート建築)において、予め、或いは手摺の後付け用に設けられるものをいい、その形状は、丸穴に限定されない。
同様に本発明及び以下の発明において、「機械加工」は、スチールパイプ等の被加工材料に、物理的な力を加えて変形させて、目的とする形状に加工することである。典型的には「プレス加工」或いは「絞り加工」に代表される加工である。
本発明及び以下の各発明において、「スチールパイプ」は、角パイプ、丸パイブ等の形に限定されない。
同様に本発明及び以下の各発明において、「躯体側の穴」は、RC構造(鉄筋コンクリート建築)、PC構造(プレキャスト建築)、SRC構造(鉄骨鉄筋コンクリート建築)において、予め、或いは手摺の後付け用に設けられるものをいい、その形状は、丸穴に限定されない。
同様に本発明及び以下の発明において、「機械加工」は、スチールパイプ等の被加工材料に、物理的な力を加えて変形させて、目的とする形状に加工することである。典型的には「プレス加工」或いは「絞り加工」に代表される加工である。
上記課題を解決するため、本発明は、コンクリート建築物の躯体と手摺支柱間に介在させる芯材であって、該芯材はスチールパイプからなり、且つ、前記支柱の中空部側に固定される固定部と、前記躯体側の穴に埋没される埋没部を備えると共に、前記埋没部は、前記パイプの一端が機械加工により、一対の円柱状に形状加工されていることを特徴とする芯材とした(請求項2の発明)。
上記課題を解決するため、本発明は、コンクリート建築物の躯体と手摺支柱間に介在させる芯材であって、該芯材は金属パイプからなり、且つ、前記支柱の中空部側に固定される固定部と、前記躯体側の穴に埋没される埋没部を備えると共に、前記埋没部は、前記パイプの一端が機械加工により前記穴に埋没可能に形状加工されていることを特徴とする芯材とした(請求項3の発明)。
本発明及び以下の発明において、「金属パイプ」の材質、形状は限定されず、スチールパイプのみならず、ステンレスパイプ、アルミパイプでもよく、またそれらの角パイプ、丸パイプでもよい。
同様に。本発明及び以下の発明において、「埋没可能に形状加工」されればよく、その形は限定されない。
本発明及び以下の発明において、「金属パイプ」の材質、形状は限定されず、スチールパイプのみならず、ステンレスパイプ、アルミパイプでもよく、またそれらの角パイプ、丸パイプでもよい。
同様に。本発明及び以下の発明において、「埋没可能に形状加工」されればよく、その形は限定されない。
上記課題を解決するため、本発明は、コンクリート建築物の躯体と手摺支柱間に介在させる芯材であって、該芯材はチャンネル材からなり、且つ、前記支柱の中空部側に固定される固定部と、前記躯体側の穴に埋没される埋没部を備えると共に、前記埋没部は、前記チャンネル材の一端が機械加工により前記穴に埋没可能に形状加工されていることを特徴とする芯材とした(請求項4の発明)。
本発明及び以下の発明において、「チャンネル材」は、典型的にはCチャンネルと称されるもので、断面形状が「C」字状或いは「コ」字状であって、鋼材より形成される。但し、その材質は、鋼材には限定されない。
本発明及び以下の発明において、「チャンネル材」は、典型的にはCチャンネルと称されるもので、断面形状が「C」字状或いは「コ」字状であって、鋼材より形成される。但し、その材質は、鋼材には限定されない。
上記課題を解決するため、本発明は、コンクリート建築物の躯体に取付けられる手摺支柱を備えた手摺において、前記手摺支柱は、その中空部に芯材を取付けると共に、その芯材は金属パイプからなり、且つ、前記支柱の中空部側に固定される固定部と、前記躯体側の穴に埋没される埋没部を備えると共に、
前記埋没部は、前記パイプの一端が機械加工により、単一の円柱状に形状加工されていることを特徴とする手摺とした(請求項5の発明)。
本発明及び以下の発明において、「手摺」は、コンクリート建築物の躯体に取付けられる手摺支柱を備えたものであれば良く、その具体的な構成は、どのようなものでもよい。
前記埋没部は、前記パイプの一端が機械加工により、単一の円柱状に形状加工されていることを特徴とする手摺とした(請求項5の発明)。
本発明及び以下の発明において、「手摺」は、コンクリート建築物の躯体に取付けられる手摺支柱を備えたものであれば良く、その具体的な構成は、どのようなものでもよい。
上記課題を解決するため、本発明は、コンクリート建築物の躯体に取付けられる手摺支柱を備えた手摺において、前記手摺支柱は、その中空部に芯材を取付けると共に、その芯材は金属パイプからなり、且つ、前記支柱の中空部側に固定される固定部と、前記躯体側の穴に埋没される埋没部を備えると共に、前記埋没部は、前記パイプの一端が機械加工により、一対の円柱状に形状加工されていることを特徴とする手摺とした(請求項6の発明)。
上記各発明によれば、スチールパイプをはじめ金属パイプ、チャンネル材の一端を機械加工により埋没部を絞ることで、手摺支柱の中空部に固定される固定部と肉厚の埋没部とが一体成形され、振動ドリルにより空けられる穴に対応できる芯材となり、また手摺の仮設の際にも安定的な手摺となる。また、芯材の固定部と肉厚の埋没部とが一体成形されて強度が強まる芯材となる。さらに、スチールパイプをはじめ金属パイプ、チャンネル材の一端を機械加工により埋没部を絞ることで、規格性が高く、汎用性がある芯材となっていて、従来例1〜3のデメリットを解消することができるコンクリート建築物における手摺の芯材及びこの芯材を取付けた手摺を提供することができる。
以下に、本発明に係る芯材の実施形態を図面に基づき説明する。
図1乃至図3は第1の実施形態に係る芯材の斜視図、正面図及び底面図、図4は同芯材の加工説明図、図5乃至図7は第2の実施形態に係る芯材の斜視図、正面図及び底面図、図8乃至図10は第3の実施形態に係る芯材の斜視図、正面図及び底面図、図11乃至図13は、第4の実施形態に係る芯材の斜視図、正面図及び底面図である。
なお、以下において、同名称の構成又は同一の符号は同一の構成を示すものとし、重複した説明は避けることとする。
図1乃至図3は第1の実施形態に係る芯材の斜視図、正面図及び底面図、図4は同芯材の加工説明図、図5乃至図7は第2の実施形態に係る芯材の斜視図、正面図及び底面図、図8乃至図10は第3の実施形態に係る芯材の斜視図、正面図及び底面図、図11乃至図13は、第4の実施形態に係る芯材の斜視図、正面図及び底面図である。
なお、以下において、同名称の構成又は同一の符号は同一の構成を示すものとし、重複した説明は避けることとする。
第1の実施形態に係る芯材1Aは、図1に示したようにスチールパイプとして角バイプ10Aを用い、且つ、手摺2を構成する支柱20の中空部21側に固定される固定部11と、コンクリート建築物の躯体3側の穴30に埋没される埋没部12を備えると共に、前記埋没部12は、前記角パイプ10Aの一端13が機械加工としてのプレス加工により、前記穴30に埋没可能なように単一の円柱状に変形加工されている。
前記芯材1Aは、コンクリート建築物の躯体3と手摺支柱20間に介在され、手摺2の躯体3に対する固定を強固にするもので、その固定部11が支柱20の中空部21にネジ26等を介して取り付けられている(図15等参照)。
前記角パイプ10Aはメッキ付きのもの、例えば表面処理鋼管としてのペンタイト材を用いる。その断面寸法は、厚さ約2.0mm×縦幅約30mm×横幅約50mmであり、長さ寸法は約1,000mm〜約950mmのものを使用する。
前記芯材1Aの固定部11は長さ寸法が約1,000mm、埋没部12は長さ寸法が約56mmである。
ここに埋没部12の長さは、コンクリート躯体3の横筋の切断を避けることができる深さに対応させたものである。
前記埋没部12は、前記角パイプ10Aの一端13がプレス加工により、圧縮されて直径約20mm程度の中空の円柱に形成される。
図2及び図3に示したように、かかる埋没部12の円柱内円の中心14は、前記パイプ10Aの中心線15に略沿ったセンター芯材として形成される。
なお、前記芯材1A、角パイプ10A等の各寸法は、上記数値に限定されるものではなく、芯材を取付ける手摺のサイズに対応させればよい。
前記角パイプ10Aはメッキ付きのもの、例えば表面処理鋼管としてのペンタイト材を用いる。その断面寸法は、厚さ約2.0mm×縦幅約30mm×横幅約50mmであり、長さ寸法は約1,000mm〜約950mmのものを使用する。
前記芯材1Aの固定部11は長さ寸法が約1,000mm、埋没部12は長さ寸法が約56mmである。
ここに埋没部12の長さは、コンクリート躯体3の横筋の切断を避けることができる深さに対応させたものである。
前記埋没部12は、前記角パイプ10Aの一端13がプレス加工により、圧縮されて直径約20mm程度の中空の円柱に形成される。
図2及び図3に示したように、かかる埋没部12の円柱内円の中心14は、前記パイプ10Aの中心線15に略沿ったセンター芯材として形成される。
なお、前記芯材1A、角パイプ10A等の各寸法は、上記数値に限定されるものではなく、芯材を取付ける手摺のサイズに対応させればよい。
上記芯材1Aは、例えば、図4に示したように長尺の角パイプを所定長さに切断し、この所定長さの角パイプ10Aの一端13を上下の型40、40でプレス曲げ加工し、円柱状の埋没部12を肉厚に成形し、両切断面16の錆び止めを施して製造される。
なお、前記穴30は、例えば振動ドリルで開けられる丸穴で、直径が約20mm程度のものである。
なお、前記穴30は、例えば振動ドリルで開けられる丸穴で、直径が約20mm程度のものである。
第2の実施形態に係る芯材1Bは、図5に示したようにスチールパイプとして角バイプ10Bを用い、且つ、手摺2を構成する支柱20の中空部21に固定される固定部11と、コンクリート躯体3側の穴30Bに埋没される埋没部12Bを備えると共に、前記埋没部12Bは、前記角パイプ10Bの一端13がプレス加工により、1対の円柱状に変形加工されている。
この芯材1Bが前記芯材1Aと異なる主な構成は埋没部12Bであり、前記芯材1Aが単一の円柱であるのに対し、この芯材1Bは1対の円柱に変形加工されている点である。
その他、角バイプ10Bはその断面寸法が厚さ約1.6mm×縦幅約20mm×横幅約40mmのものを用いる。
図6及び図7のように、前記埋没部12Bは、1対の円柱間にカシメ部17が形成され、前記パイプの中心線15に沿ったカシメ部17と、その両端の一対の円柱18、18からなるセンター芯材となっている。
前記埋没部12Bは、プレス加工により圧縮されて各外径が直径約16mm程度の中空の円柱に形成される。
この芯材1Bにおいては、1対の円柱間にカシメ部17が形成されているので、各円柱の強度が増大するようになっている。
この芯材1Bが前記芯材1Aと異なる主な構成は埋没部12Bであり、前記芯材1Aが単一の円柱であるのに対し、この芯材1Bは1対の円柱に変形加工されている点である。
その他、角バイプ10Bはその断面寸法が厚さ約1.6mm×縦幅約20mm×横幅約40mmのものを用いる。
図6及び図7のように、前記埋没部12Bは、1対の円柱間にカシメ部17が形成され、前記パイプの中心線15に沿ったカシメ部17と、その両端の一対の円柱18、18からなるセンター芯材となっている。
前記埋没部12Bは、プレス加工により圧縮されて各外径が直径約16mm程度の中空の円柱に形成される。
この芯材1Bにおいては、1対の円柱間にカシメ部17が形成されているので、各円柱の強度が増大するようになっている。
上記埋没部12Bに対応させるため、躯体3の穴30Bは、振動ドリルにより、径が約20mm程度の2穴を躯体3の延在方向に交差するように、かつ、各外径が隣接するように空ける。そして、その隣接部分をざぐり、1対の筒状に形成させている。
その他の構成は、前記芯材1Aと同一であるので、詳細な説明は省略した。
その他の構成は、前記芯材1Aと同一であるので、詳細な説明は省略した。
第3の実施形態に係る芯材1Cは、図8乃至図10に示したように、金属パイプとしてのスチールの丸パイプ10Cからなり、手摺2の支柱20の中空部21に固定される固定部11と、コンクリート躯体3側の丸穴30に埋没される埋没部12を備えると共に、前記埋没部12は、前記パイプ10Cの一端13がプレス加工により中空の円柱状に形状加工されている。
この芯材1Cが上記芯材1Aと異なる構成は、芯材の材質、形状についてスチールの丸パイプ10Cを用いたことである。
この丸パイプ1Cの径は、約40mmのもので、表面処理鋼管としてのペンタイト材を用いる。
この芯材1Cにおいては、円柱状や略正立方体の手摺支柱に対応できる芯材となっている。
その他の構成は、前記芯材1Aと同一であるので、詳細な説明は省略する。
この芯材1Cが上記芯材1Aと異なる構成は、芯材の材質、形状についてスチールの丸パイプ10Cを用いたことである。
この丸パイプ1Cの径は、約40mmのもので、表面処理鋼管としてのペンタイト材を用いる。
この芯材1Cにおいては、円柱状や略正立方体の手摺支柱に対応できる芯材となっている。
その他の構成は、前記芯材1Aと同一であるので、詳細な説明は省略する。
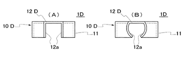
第4の実施形態に係る芯材1Dは、図11乃至図13(A)に示したように、チャンネル材としてCチャンネル10Dの鋼材を用い、手摺2の支柱20の中空部21に固定される固定部11と、コンクリート躯体3側の丸穴30に埋没される埋没部12Dを備えると共に、前記埋没部12Dは、前記Cチャンネル10Dの一端13がプレス加工により前記丸穴30に埋没可能に、圧縮されたコ字状に形状加工されている。
この芯材1Dが上記芯材1Aと異なる構成は、Cチャンネル10Dを用いたこと、埋没部12Dも、プレス加工により肉厚のコ字状に形成されている点である。
前記Cチャンネルは、例えば本体11a幅が約40mm、その両端の両鍔部12aの幅が約20mmのものを用いる。
この芯材1Dにおいては、埋没部12Dの成形が比較的簡単な芯材となっている。
なお、埋没部12Dはその端面形状(断面形状)が肉厚のコ字状に形成されているが、図13(B)に示したように、両鍔部12aをラウンド状に、全体的に略円筒状に肉厚に成形してもよい。
その他の構成は、前記芯材1Aと同一であるので、詳細な説明は省略した。
この芯材1Dが上記芯材1Aと異なる構成は、Cチャンネル10Dを用いたこと、埋没部12Dも、プレス加工により肉厚のコ字状に形成されている点である。
前記Cチャンネルは、例えば本体11a幅が約40mm、その両端の両鍔部12aの幅が約20mmのものを用いる。
この芯材1Dにおいては、埋没部12Dの成形が比較的簡単な芯材となっている。
なお、埋没部12Dはその端面形状(断面形状)が肉厚のコ字状に形成されているが、図13(B)に示したように、両鍔部12aをラウンド状に、全体的に略円筒状に肉厚に成形してもよい。
その他の構成は、前記芯材1Aと同一であるので、詳細な説明は省略した。
以上のように構成された芯材を用いた手摺の実施形態を図面に基づいて説明する。
図14は手摺の正面図、図15は同手摺の支柱の要部横断面図、図16は同要部縦断面図である。
図14〜図16に示したように、該手摺2は、支柱20と上枠22と下枠23と笠木24と格子25等からなり、前記手摺支柱20は、その中空部21に前記芯材1Aの固定部11がネジ26等で固定され、前記埋没部12が中空部21の端部21Aから突出して構成されている。
かかる手摺2は、予め工場で組み立てられ、建築現場に搬入される。
上記芯材1Aに代わり、図17及び図18のように、芯材1Bを用いてもよい。
図14は手摺の正面図、図15は同手摺の支柱の要部横断面図、図16は同要部縦断面図である。
図14〜図16に示したように、該手摺2は、支柱20と上枠22と下枠23と笠木24と格子25等からなり、前記手摺支柱20は、その中空部21に前記芯材1Aの固定部11がネジ26等で固定され、前記埋没部12が中空部21の端部21Aから突出して構成されている。
かかる手摺2は、予め工場で組み立てられ、建築現場に搬入される。
上記芯材1Aに代わり、図17及び図18のように、芯材1Bを用いてもよい。
前記手摺2をコンクリート躯体3に取り付けるには、まず、躯体3の設置箇所の墨だしに沿って、所定間隔毎に振動ドリルにより穴30を空け、その穴30の粉じん等を取除く。手摺2の設置個所のベランダに搬入した前記手摺2の各支柱20の芯材1Aを穴30に挿入して、手摺2の高さ、水平度等の位置の調整を行う。そして手摺2を一旦穴30から外した後、各穴30にエポキシ樹脂27等の接着剤を充填し、足元キャップ28等を支柱20にセットした後、各穴30に手摺の芯材1Aを差し込んで、手摺2を躯体3に固定する。
以上のように構成された芯材1A〜1D及び手摺2によれば、次のような作用効果を奏する。
1. (従来例1との対比による作用効果)
(a) 各芯材1A〜1Dは、プレス加工により固定部と埋没部を一体成形すると共に、埋没部の板厚が増し、且つ、埋没部が縮小され、小さく絞られているので、振動ドリルでの穴空けによって対応できる。よって、手摺の取付けの施工効率もあがる。
(b) また、小さく絞られている埋没部の芯材1A〜1Dを備えた手摺2は、躯体3の穴にフィットするので、手摺の仮設の段階でも本取付の段階でも安定して安全である。
1. (従来例1との対比による作用効果)
(a) 各芯材1A〜1Dは、プレス加工により固定部と埋没部を一体成形すると共に、埋没部の板厚が増し、且つ、埋没部が縮小され、小さく絞られているので、振動ドリルでの穴空けによって対応できる。よって、手摺の取付けの施工効率もあがる。
(b) また、小さく絞られている埋没部の芯材1A〜1Dを備えた手摺2は、躯体3の穴にフィットするので、手摺の仮設の段階でも本取付の段階でも安定して安全である。
2. (従来例2との対比による作用効果)
(c) 各芯材1A〜1Dは、プレス加工により固定部と埋没部を一体成形すると共に、埋没部が縮小されてその埋没部の板厚が増すことで、強度も上がる。
(d) また、各芯材1A〜1Dの埋没部は、機械加工により形成されるので、溶接工程、仕上工程等が不要である。芯材1A〜1Dの材料としてペインタイト材を用いれば、切断した両端を除き後付けメッキも不要となり、加工工程が減少し、コストを押えることができ、耐候性を向上させる。
(e) 各芯材1A〜1Dは、機械加工であることから商品として品質が安定し、均一化させることかできると共に、量産に最適である。
(f) 各芯材1A〜1Dの固定部と埋没部とを一体成形であることから、手摺2の初期揺れが防止され、水平荷重強度を300kg以上とすることができる。即ち、ベランダ等の手摺は、ベランダの内側から人物が寄りかかるなど、手摺りの延設方向に対して略垂直(水平方向)に荷重が加えられるので、その荷重に対する強度が重要となるが、手摺2の水平荷重強度を300kg以上とすることができ、手摺の倒れ等によるベランダからの転落事故などを防ぐことができる。
(g) 従来例2のツイン型との対比では、芯材1Bの場合、各円柱18、18がカシメ部17で連続しており、芯材1Bの折れ曲がりを防止することができる。
(h) その他、従来例2の丸棒などが不要であって、環境に対して負荷を軽減させることができる。
(i) また、板厚の薄いチャンネル材、金属パイプ、スチールパイプの固定部と埋没部とを一体成形することで、板厚が上がり強度を上げることができ、しかも、板厚の薄いチャンネル材、金属パイプ、スチールパイプであるから重量が嵩張らず、取扱いが容易である。
(j) 機械加工のため、固定部と埋没部の寸法精度が上がり、この芯材1A〜1Dを取り付ける手摺2の強度、耐久性等の品質の均一化、手摺2の取付の容易化が可能であり、また、手摺2の取替、補修も容易である。
(c) 各芯材1A〜1Dは、プレス加工により固定部と埋没部を一体成形すると共に、埋没部が縮小されてその埋没部の板厚が増すことで、強度も上がる。
(d) また、各芯材1A〜1Dの埋没部は、機械加工により形成されるので、溶接工程、仕上工程等が不要である。芯材1A〜1Dの材料としてペインタイト材を用いれば、切断した両端を除き後付けメッキも不要となり、加工工程が減少し、コストを押えることができ、耐候性を向上させる。
(e) 各芯材1A〜1Dは、機械加工であることから商品として品質が安定し、均一化させることかできると共に、量産に最適である。
(f) 各芯材1A〜1Dの固定部と埋没部とを一体成形であることから、手摺2の初期揺れが防止され、水平荷重強度を300kg以上とすることができる。即ち、ベランダ等の手摺は、ベランダの内側から人物が寄りかかるなど、手摺りの延設方向に対して略垂直(水平方向)に荷重が加えられるので、その荷重に対する強度が重要となるが、手摺2の水平荷重強度を300kg以上とすることができ、手摺の倒れ等によるベランダからの転落事故などを防ぐことができる。
(g) 従来例2のツイン型との対比では、芯材1Bの場合、各円柱18、18がカシメ部17で連続しており、芯材1Bの折れ曲がりを防止することができる。
(h) その他、従来例2の丸棒などが不要であって、環境に対して負荷を軽減させることができる。
(i) また、板厚の薄いチャンネル材、金属パイプ、スチールパイプの固定部と埋没部とを一体成形することで、板厚が上がり強度を上げることができ、しかも、板厚の薄いチャンネル材、金属パイプ、スチールパイプであるから重量が嵩張らず、取扱いが容易である。
(j) 機械加工のため、固定部と埋没部の寸法精度が上がり、この芯材1A〜1Dを取り付ける手摺2の強度、耐久性等の品質の均一化、手摺2の取付の容易化が可能であり、また、手摺2の取替、補修も容易である。
3. (従来例3との対比による作用効果)
(k) RC構造(鉄筋コンクリート建築)、PC構造(プレキャスト建築)、SRC構造(鉄骨鉄筋コンクリート建築)を問わず、全てのコンクリート建築物に後付けで施工することができる。
(l) 芯材1A〜1Dの規格性が高く、全ての手摺メーカーに供給可能である。
(m) 従来例3のツイン型との対比では、芯材1Bの場合、各円柱18、18がカシメ部17で連続しており、芯材1Bの折れ曲がりを防止することができる。
(k) RC構造(鉄筋コンクリート建築)、PC構造(プレキャスト建築)、SRC構造(鉄骨鉄筋コンクリート建築)を問わず、全てのコンクリート建築物に後付けで施工することができる。
(l) 芯材1A〜1Dの規格性が高く、全ての手摺メーカーに供給可能である。
(m) 従来例3のツイン型との対比では、芯材1Bの場合、各円柱18、18がカシメ部17で連続しており、芯材1Bの折れ曲がりを防止することができる。
芯材1A〜1Dはアルミ手摺2のほか、スチール手摺等の他の材質の手摺、フェンス、門扉の芯材にも使用してもよい。
1A〜1D 芯材 10A 10B 角バイプ
10C 丸パイプ 10D Cチャンネル
11 固定部 12 12B 12D 埋没部
13 一端 14 円柱内円の中心
15 中心線 16 切断面
17 カシメ部 18 18 円柱
2 手摺 20 支柱
21 中空部 22 上枠
21A 端部
23 下枠 24 笠木
25 格子 26 ネジ
27 足元キャップ
3 躯体 30 30B 穴
40 40 上下の型
10C 丸パイプ 10D Cチャンネル
11 固定部 12 12B 12D 埋没部
13 一端 14 円柱内円の中心
15 中心線 16 切断面
17 カシメ部 18 18 円柱
2 手摺 20 支柱
21 中空部 22 上枠
21A 端部
23 下枠 24 笠木
25 格子 26 ネジ
27 足元キャップ
3 躯体 30 30B 穴
40 40 上下の型
Claims (6)
- コンクリート建築物の躯体と手摺支柱間に介在させる芯材であって、
該芯材はスチールパイプからなり、且つ、前記支柱の中空部側に固定される固定部と、前記躯体側の穴に埋没される埋没部を備えると共に、
前記埋没部は、前記パイプの一端が機械加工により、単一の円柱状に形状加工されていることを特徴とする芯材。 - コンクリート建築物の躯体と手摺支柱間に介在させる芯材であって、
該芯材はスチールパイプからなり、且つ、前記支柱の中空部側に固定される固定部と、前記躯体側の穴に埋没される埋没部を備えると共に、
前記埋没部は、前記パイプの一端が機械加工により、一対の円柱状に形状加工されていることを特徴とする芯材。 - コンクリート建築物の躯体と手摺支柱間に介在させる芯材であって、
該芯材は金属パイプからなり、且つ、前記支柱の中空部側に固定される固定部と、前記躯体側の穴に埋没される埋没部を備えると共に、
前記埋没部は、前記パイプの一端が機械加工により前記穴に埋没可能に形状加工されていることを特徴とする芯材。 - コンクリート建築物の躯体と手摺支柱間に介在させる芯材であって、
該芯材はチャンネル材からなり、且つ、前記支柱の中空部側に固定される固定部と、前記躯体側の穴に埋没される埋没部を備えると共に、
前記埋没部は、前記チャンネル材の一端が機械加工により前記穴に埋没可能に形状加工されていることを特徴とする芯材。 - コンクリート建築物の躯体に取付けられる手摺支柱を備えた手摺において、
前記手摺支柱は、その中空部に芯材を取付けると共に、
その芯材は金属パイプからなり、且つ、前記支柱の中空部側に固定される固定部と、前記躯体側の穴に埋没される埋没部を備えると共に、
前記埋没部は、前記パイプの一端が機械加工により、単一の円柱状に形状加工されていることを特徴とする手摺。 - コンクリート建築物の躯体に取付けられる手摺支柱を備えた手摺において、
前記手摺支柱は、その中空部に芯材を取付けると共に、
その芯材は金属パイプからなり、且つ、前記支柱の中空部側に固定される固定部と、前記躯体側の穴に埋没される埋没部を備えると共に、
前記埋没部は、前記パイプの一端が機械加工により、一対の円柱状に形状加工されていることを特徴とする手摺。
Priority Applications (1)
| Application Number | Priority Date | Filing Date | Title |
|---|---|---|---|
| JP2008222623A JP4267059B1 (ja) | 2008-08-29 | 2008-08-29 | コンクリート建築物における手摺の芯材及びこの芯材を取付けた手摺 |
Applications Claiming Priority (1)
| Application Number | Priority Date | Filing Date | Title |
|---|---|---|---|
| JP2008222623A JP4267059B1 (ja) | 2008-08-29 | 2008-08-29 | コンクリート建築物における手摺の芯材及びこの芯材を取付けた手摺 |
Publications (2)
| Publication Number | Publication Date |
|---|---|
| JP4267059B1 JP4267059B1 (ja) | 2009-05-27 |
| JP2010053665A true JP2010053665A (ja) | 2010-03-11 |
Family
ID=40785236
Family Applications (1)
| Application Number | Title | Priority Date | Filing Date |
|---|---|---|---|
| JP2008222623A Expired - Fee Related JP4267059B1 (ja) | 2008-08-29 | 2008-08-29 | コンクリート建築物における手摺の芯材及びこの芯材を取付けた手摺 |
Country Status (1)
| Country | Link |
|---|---|
| JP (1) | JP4267059B1 (ja) |
Families Citing this family (1)
| Publication number | Priority date | Publication date | Assignee | Title |
|---|---|---|---|---|
| JP5463101B2 (ja) * | 2009-08-28 | 2014-04-09 | 文化シヤッター株式会社 | 手摺り用支柱のアンカー部品の製造方法 |
-
2008
- 2008-08-29 JP JP2008222623A patent/JP4267059B1/ja not_active Expired - Fee Related
Also Published As
| Publication number | Publication date |
|---|---|
| JP4267059B1 (ja) | 2009-05-27 |
Similar Documents
| Publication | Publication Date | Title |
|---|---|---|
| CN102359273A (zh) | 一种剪力墙结构变形缝模板固定板加固方法 | |
| CN106592456A (zh) | 一种铁路线附属设施及其安装方法 | |
| JP4267059B1 (ja) | コンクリート建築物における手摺の芯材及びこの芯材を取付けた手摺 | |
| AU2002364828A1 (en) | Prefabricated composite post for constructing a building vertical support structure consisting of at least a hollow cylindrical steel section | |
| CN216406201U (zh) | 一种用于建筑工程施工中梁柱高低标号设备 | |
| JP2005126973A (ja) | 鉄筋コンクリート柱と鉄骨梁の接合部の構造 | |
| CN105133848A (zh) | 抗震加强施工方法 | |
| CN103114731B (zh) | 钢结构厂房地脚螺栓的快速安装方法 | |
| CN107675871A (zh) | 一种在建高层大跨度外架连墙件施工方法 | |
| JP2005200928A (ja) | 柱状構造物の補強構造 | |
| CN119221715A (zh) | 一种新型精密钢合金幕墙安装方法 | |
| CN206512623U (zh) | 一种铁路线附属设施 | |
| CN213573338U (zh) | 一种装配式混凝土栏杆 | |
| CN215802233U (zh) | 一种装配整体式框架结构 | |
| JP5033334B2 (ja) | タワークレーンの支持方法 | |
| CN107152161A (zh) | 外脚手架与墙体内连接件的拉结施工方法 | |
| CN106320662A (zh) | 建筑外墙装饰超宽混凝土线条施工方法 | |
| CN112211384A (zh) | 一种建筑工地用脚手架 | |
| CN220377695U (zh) | 一种树脂装饰墙体结构 | |
| KR200201260Y1 (ko) | 3중벽 파이프패널 구조물 | |
| JP6928475B2 (ja) | 捨型枠、束柱の形成方法、及び建物の解体方法 | |
| CN112627510A (zh) | 结构变形缝同步施工模板加固装置及施工方法 | |
| JP4091500B2 (ja) | 耐震補強部材 | |
| JP5555396B2 (ja) | 無塗装・無溶接の鋼製土台胴縁 | |
| CN118563986B (zh) | 一种内填料石的方钢管混凝土组合柱及施工方法 |
Legal Events
| Date | Code | Title | Description |
|---|---|---|---|
| TRDD | Decision of grant or rejection written | ||
| A01 | Written decision to grant a patent or to grant a registration (utility model) |
Free format text: JAPANESE INTERMEDIATE CODE: A01 |
|
| A61 | First payment of annual fees (during grant procedure) |
Free format text: JAPANESE INTERMEDIATE CODE: A61 Effective date: 20090217 |
|
| R150 | Certificate of patent (=grant) or registration of utility model |
Free format text: JAPANESE INTERMEDIATE CODE: R150 |
|
| FPAY | Renewal fee payment (prs date is renewal date of database) |
Free format text: PAYMENT UNTIL: 20120227 Year of fee payment: 3 |
|
| LAPS | Cancellation because of no payment of annual fees |