JP2010051999A - レーザ照射装置 - Google Patents

レーザ照射装置 Download PDF

Info

Publication number
JP2010051999A
JP2010051999A JP2008218556A JP2008218556A JP2010051999A JP 2010051999 A JP2010051999 A JP 2010051999A JP 2008218556 A JP2008218556 A JP 2008218556A JP 2008218556 A JP2008218556 A JP 2008218556A JP 2010051999 A JP2010051999 A JP 2010051999A
Authority
JP
Japan
Prior art keywords
laser
laser light
optical element
condensing
irradiation
Prior art date
Legal status (The legal status is an assumption and is not a legal conclusion. Google has not performed a legal analysis and makes no representation as to the accuracy of the status listed.)
Granted
Application number
JP2008218556A
Other languages
English (en)
Other versions
JP5159516B2 (ja
Inventor
Takuya Uehara
拓也 上原
Shigehiko Mukai
成彦 向井
Keiichi Hirota
圭一 廣田
Itaru Senda
格 千田
Masaki Yoda
正樹 依田
Ayaichi Saeki
綾一 佐伯
Current Assignee (The listed assignees may be inaccurate. Google has not performed a legal analysis and makes no representation or warranty as to the accuracy of the list.)
Toshiba Corp
Original Assignee
Toshiba Corp
Priority date (The priority date is an assumption and is not a legal conclusion. Google has not performed a legal analysis and makes no representation as to the accuracy of the date listed.)
Filing date
Publication date
Application filed by Toshiba Corp filed Critical Toshiba Corp
Priority to JP2008218556A priority Critical patent/JP5159516B2/ja
Publication of JP2010051999A publication Critical patent/JP2010051999A/ja
Application granted granted Critical
Publication of JP5159516B2 publication Critical patent/JP5159516B2/ja
Expired - Fee Related legal-status Critical Current
Anticipated expiration legal-status Critical

Links

Images

Landscapes

  • Laser Beam Processing (AREA)

Abstract

【課題】ブレークダンウンを抑制し、レーザピーニングの効果を得るために必要なエネルギ密度範囲となるレーザ光の光軸上の処理可能範囲を拡大する。
【解決手段】レーザ光源1と、このレーザ光源から出射されるレーザ光を伝送するレーザ光伝送手段19と、固体材料に対するレーザ光の照射位置を任意に移動させる照射位置移動手段5と、照射されるレーザ光を集光する集光手段12と、レーザ光を固体材料の表面に投影した際のレーザ投影面積を任意に調整する投影面積調整手段とを備える。
【選択図】 図1

Description

本発明はレーザピーニング用のレーザ照射装置に係り、特に複雑形状の処理対象に対してもレーザピーニング処理を可能とすることができるレーザ照射装置に関する。
構造物の損傷は、腐食や亀裂の発生など、表面を起点とする場合が殆どであり、構造物の寿命は表面の特性に左右される傾向が高い。このため、従来から、各種の表面処理技術を適用して材料表面の機械的あるいは化学的な性質を改善し、疲労強度、耐腐食性、耐摩耗性などを向上させることにより、構造物の寿命延長を図る試みが行われている。
ショットピーニングは代表的な表面処理技術であり、部材表面層の硬さの上昇と、表面層への圧縮残留応力の導入が可能である。このため、自動車、航空機などの産業分野ではショットピーニングが多く利用されている(例えば、特許文献1参照)。
一方、レーザはエネルギ密度や、照射位置の精密かつ高速な制御が容易であり、他の方法では困難な高速処理、超急熱急冷処理などを行うことができるため、種々の技術が開発され、材料の加工処理への応用が拡大している。
その一つとして、液体を介して材料の表面にパルス状のレーザビームを照射するレーザ衝撃硬化処理が知られており、ショットピーニングと同様に部材表面層の硬さの上昇と、表面層への圧縮残留応力の導入を行うことが可能である。
レーザ衝撃硬化処理はショットピーニングと比較して処理効果が高く、非接触作業が可能であり、反力がなく、レーザ照射の条件や部位を精密に制御できる等、ショットピーニングでは実現できない優れた利点があり、開発および実用化が進められている(例えば、特許文献2〜特許文献4および非特許文献1参照)。
特開平07−246483号公報 特開平08−112681号公報 特開平08−326502号公報 特開2003−504212号公報 ショットピーニング技術協会編「金属疲労とショットピーニング」現代工学社
時間的エネルギ密度の高いパルスレーザを用い、材料表面に照射した際に発生するプラズマの圧力により材料の機械的強度を改善させるレーザピーニング技術において、レーザの空間的エネルギ密度も改善効果に影響を及ぼす処理条件の一つである。
このため、照射されるレーザパルスのエネルギ(J/パルス)を一定としたとき、材料表面に照射されるレーザ光の像の面積によって定まる空間的エネルギ密度(J/mm)が条件を満たすべく集光レンズの位置を調整する必要がある。
波長λ、ビーム径Dのレーザを焦点距離fのレンズで集光する場合、理想的なレーザ光の焦点径dは以下の回折限界の式によって定義される。
[数1]
d=2.44×λ×f/D
実際のレーザ発振器を用いたときのレーザ光のビーム品質や使用するレンズの持つ球面収差などのさまざまな収差により、実際の焦点径は回折限界よりも大きくなる。これらを考慮すれば、レンズなどの光学素子とその配置、伝送空間の屈折率、およびレンズと照射する材料表面との相対距離から材料表面に投影される像の面積を求めることができる。レーザ光は最小径まで集光された後は集光角度と同じ角度で拡大されるので、ある投影面積の像は最小径となる位置の前後に存在することになる。
一方、集光されてエネルギ密度が高くなると、それにつれて非線形なエネルギロス(ブレークダウン)が発生する確率が高くなる。照射するレーザのパルスエネルギが大きく、水中でレーザを照射するレーザピーニングでは、光路を清浄に保っても水分子の存在により大気中よりもブレークダウンは発生し易い。
このためレーザピーニングでは像面積の制限として、レーザピーニングの効果を得るために必要なエネルギ密度以上となる上限面積と、ブレークダウンが生じるエネルギ密度以上となる下限の面積が処理条件として設定され、照射対象材料の表面での像面積がこの条件を満たすように焦点位置を調整してレーザピーにグ装置を配置しなければならない。レーザの像が上限面積となる焦点位置と下限面積となる焦点位置の幅は、処理の際に要求される装置設置精度に関わるため、照射装置の設計や装置動作制御方法を複雑化させる要因となり、処理対象の形状に対しても制限を与えていた。
本発明は、従来技術に伴うこれらの課題を解決することを目的としてなされたものであり、被処理材料表面の機械的強度の改善が可能な像面積をなす、レーザ光軸方向の範囲の広いレーザ照射装置を提供することを目的とする。
本発明では、パルス発振のレーザ光を集光して空間的エネルギ密度が高い状態とし、このレーザ光を表面が液体に接している固体材料に照射することにより発生するプラズマの圧力で当該固体材料の機械的強度を向上させるレーザ照射装置であって、レーザ光源と、このレーザ光源から出射されるレーザ光を伝送するレーザ光伝送手段と、前記固体材料に対するレーザ光の照射位置を任意に移動させる照射位置移動手段と、照射される前記レーザ光を集光する集光手段と、前記レーザ光を前記固体材料の表面に投影した際のレーザ投影面積を任意に調整する投影面積調整手段とを備えたことを特徴とするレーザ照射装置を提供する。
本発明によれば、ブレークダンウンを抑制し、レーザピーニングの効果を得るために必要なエネルギ密度範囲となるレーザ光の光軸上の処理可能範囲を拡大したレーザピーニング用のレーザ照射装置を供給することができる。これにより焦点調整のための制御が単純化できるとともに、複雑形状の処理対象にもレーザピーニング処理が可能となる。
以下、本発明に係るレーザ照射装置の実施形態について、図面を参照して説明する。
[第1実施形態](図1〜図6)
図1は、本実施形態によるレーザ照射装置Aの一部を断面として示す全体構成図である。図1に示すように、レーザ照射装置Aは大別して、レーザビームLを下向きに発振するレーザ光源としてのレーザ発振器1と、このレーザ発振器1の下端部に設けられレーザビームLを制御するためのビーム制御ユニット2と、このビーム制御ユニット2から下方に伸び、その下端が略水平な方向に折曲したレーザ光伝送手段としてのレーザビーム導光用の導光管3と、この導光管3の下端部を被覆してその内部に液体、例えば水wを収容する水槽4と、導光管3の側方に略平行な配置で設けられた照射位置決め装置5とを備えている。
ビーム制御ユニット2は、レーザ発振器1から発振されたレーザビームLの出力を調整する出力調整装置6を備えている。この出力調整装置6は、レーザビームLの一部をサンプリングビームSBとして抽出する部分反射ミラー7と、抽出されるサンプリングビームSBの出力を検出するパワーメータ8と、レーザビームLが出射される下方を開閉するシャッタ9とを備えた構成とされている。
導光管3の下部には鉛直線に対して45°傾斜した反射ミラー10が設けてあり、この反射ミラー10により下向きに発振されたレーザビームLを水平方向に反射して水平ビームとした後、導光管3の先端に設けた照射ヘッド11内の多面体集光素子12により収束して収束レーザ光L1とし、この収束レーザ光L1を固体材料である被処理部材13に照射するようになっている。
また、照射位置決め装置5は、図1の紙面厚さ方向に沿って水平方向(矢印a方向)にレーザビームLを走査するための駆動を行う水平駆動機構15と、垂直に立上る支柱14に沿って上下方向(矢印b方向)に昇降駆動を行う垂直駆動機構16と、水平駆動機構15により水平方向(矢印c方向)に移動してレーザビームLの焦点を調整する焦点調整機構17とを備えている。
このように、照射位置決め装置5は水槽4内に水wに浸されて設置されている被処理部材13の任意の領域にレーザ照射をするために、水平方向(紙面に対して垂直)にレーザビームLを走査するための水平駆動機構15と、垂直方向(紙面上方向)に走査するための垂直駆動機構16とを搭載している。
そして、焦点調整機構17は集光されたレーザ光Lが被処理部材13の表面で所望の投影面積を持つべく、レーザ光を被処理部材13の表面に投影した際のレーザ投影面積を調整する投影面積調整手段として用いる。
すなわち、本実施形態では、レーザ光源としてのレーザ発振器1と、このレーザ光源から出射されるレーザ光を伝送するレーザ光伝送手段としての導光管3および水槽4と、固体材料である被処理部材13に対するレーザ光の照射位置を任意に移動させる照射位置移動手段としての照射位置決め装置5と、照射されるレーザ光を集光する集光手段としての多面体集光素子12と、レーザ光Lを固体材料の表面に投影した際のレーザ投影面積を任意に調整する投影面積調整手段として光学素子駆動機構26とを備えている。
以上の構成により、レーザ発振器1から照射されたレーザビームLはビーム制御ユニット2内の出力調整装置6によって出力調整される。また、出力調整のためのレーザ出力計測には、部分反射ミラー7でレーザビームLの一部(全出力の1%以下)をサンプリングして、サンプリングビームSBをパワーメータ8に入射することによって行う。
また、ビーム制御ユニット2内のシャッタ9を「開」とすることによってレーザビームLは導光管3を伝送し、導光管3内の反射ミラー10で光軸方向を変え、照射ヘッド11から被処理部材13に照射される。
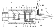
図2は、図1に示した照射ヘッド11を詳細に示す拡大断面図である。この図2に示すように、照射ヘッド11と導光管3の一部は水中に設置されるため、これらの照射ヘッド11および導光管3には内部への浸水を防止するため、Oリングやガスケット、接着剤、溶接その他の手段により、防水構造が形成されている。導光管3と照射ヘッド11は防水ウインドウ18で仕切られ、導光管3または照射ヘッド11のいずれかが浸水した際に、光路を経由して相互に浸水の影響を及ぼさないようにしてある。
照射ヘッド11に入射したレーザビームLは、拡大鏡19によってビーム径を拡大した後に、多面体集光素子12によって集光される。拡大鏡19は、レーザビームLの光軸方向に沿って配置された凹面鏡20および凸面鏡21を備えた構成としてある。
また、多面体集光素子12は光学素子マウント22に固定保持されて、光学素子駆動機構26により光軸方向dに移動可能となっている。すなわち、光学素子駆動機構26は、照射ヘッド11内に設けたモータ23と、このモータ23に連結されたボールねじ24と、これらを支持するリニアガイド25とを備えている。そして、光学素子駆動機構26によって光学素子マウント22をレーザビームLの光軸方向(矢印d方向)に移動させることにより、照射ヘッド11から見た焦点位置を直線的に移動させることができる。
このように、多面体集光素子12を介してレーザビームLは集光され、出口側防水ウインドウ27を通過して水wの環境に放出され、図1に示した被処理部材13に照射される。出口側ウインドウ27の周囲部には噴射ノズル28が突設してあり、この噴射ノズル28の基端側の周壁には浄化水供給チューブ29が連結されている。そして、図示省略のフィルタでろ過された水eが、浄化水供給チューブ29から噴射ノズル28に供給され、この噴射ノズル28から出た後の噴流30の効果により、光路中の微粒子や気泡などによる散乱、吸収が抑制されるようになっている。
次に、図3〜図6を参照して、多面体集光素子12の構成および作用について説明する。
図3(a)は、多面体集光素子12の形状を光軸と直交する方向から示す正面図であり、図3(b)は縦断面図である。
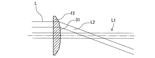
図3(a),(b)に示すように、多面体集光素子12は六角形をした複数の小集光領域31が集合した多面体となっており、それぞれの小集光領域31がプリズムの役割を果たす。
なお、図3に示した小集光領域31の平面の法線は、全て1点で交わるように面が形成されている。このため、小集光領域31の面積を極限まで小さくすると、多面体集光素子12は球面レンズとなる。この法線が交わる点が複数、または交わらない場合には、小集光領域31の面積を極限まで小さくしたときの多面体集光素子12が非球面レンズとなり、このような形状の光学素子を用いてもよい。
図4および図5は、ビーム軌跡を示す説明図である。図4に示すように、本実施形態においては、レーザビームLが小集光領域31によって切り取られるため、集光後のレーザ光Lは図5に示すように、分割ビームL2の集合となり、その断面積が最小となるビームウエストL3でのレーザ光の断面積は小集光領域31の形状によって設定することができる。
図6は、レーザ光のプロファイルを示す説明図である。図6に示すように、プロファイル32および33は位置aに多面体集光素子12を配置した場合と、同じ位置aに球面レンズを配置した場合のレーザ光の断面積を示している。
多面体集光素子12からビームウエストL3の位置までの見かけの焦点距離とすると、球面レンズの焦点距離はこれに等しいものとする。ブレークダウンが生じるエネルギ密度となる断面積をs1、レーザピーニングの効果を得るために必要なエネルギ密度となる断面積をs2としたとき、s1からs2の範囲となるレーザ光Lの光軸方向の処理可能範囲は、球面レンズではL´1、多面体集光素子12ではL´2となる。多面体集光素子12では上記ビームウエストL3の断面積がs1に達しないため、ビームウエストL3以降でもレーザピーニング処理が可能となり、L´2はL´1よりも長い。
被処理部材13の表面での投影面積は、焦点調整機構17または光学素子駆動機構26によって制御することができる。被処理部材13の表面の処理位置や、処理面積は照射位置決め装置5のもつ駆動機構によって制御することができ、被処理部材13の表面形状がレーザビームLの光軸に対して垂直な平面でない場合、または平面でない場合にも、その形状に合わせて照射ヘッド11を動作させることによって所望のレーザ投影面積を保ちつつレーザピーニング処理を行うことができる。
図1に示された照射位置決め装置5が持つ駆動機構は、焦点調整機構17を含めて直動3軸であるが、これに加えて1つないし複数の回転機構を搭載することによって、より多彩な処理動作を実現することができる。これにより、装置と処理対象との干渉が懸念される狭隘部位でのレーザピーニング処理も可能となる。
水槽4が本実施形態のレーザ照射装置に比べて大きい場合には、レーザ発振器1および照射位置決め装置5は導光管3や照射ヘッド11とともに水中に設置してもよい。その際にはレーザ発振器1、ビーム制御ユニット2、照射位置決め装置5についても水密構造とし、レーザ発振器1、ビーム制御ユニット2および導光管3の接続部についても、それぞれ水密構造とする。この場合、レーザ発振器1とビーム制御ユニット2および導光管3の接続部に、照射ヘッド11における防水ウインドウ18と同様のウインドウを配置することにより、隣接する機器からの浸水を相互に防ぐこともできる。
なお、図3に示した小集光領域31は全て平面であるが、それぞれ球面の集合体としてもよい。
また、本実施形態において被処理材料が浸漬されている液体は水wであるが、この液体は水に限らず、水溶液やシリコンオイル、有機系液体、無機系液体、液体金属などを適用してもよい。この場合には噴射ノズル28に供給される液体は水ではなく、浸漬環境と同じ組成のものとなる。水槽4からポンプで汲み上げた液体をフィルタでろ過して清浄化し、噴射ノズル28に供給することにより、環境の液体の組成に関わらず処理を行うことができる。
また、拡大鏡19のビーム径を拡大し、多面体集光素子12や出口側防水ウインドウ27の表面におけるエネルギ密度を下げることにより、これらの損傷を抑える効果がある。さらに、拡大鏡19に代えて拡散板、レンズアレイ、回折光学素子(DOE:Diffractive Optical Elements)、カレイドスコープなどを用いてもよい。
また、図2に示した屈折系の拡大鏡ではなく、折り返しミラーを用いた光路を形成して、その内部に凹面鏡を配置してレーザビームLを拡大してもよい。
このように、本実施形態のレーザ照射装置においては、レーザ光を集光する集光手段は、光学素子のうち少なくとも1つの光学素子がレーザ光を空間的に分割するための不連続な複数の面の組合せによって構成される領域を持ち、それぞれの面は分割したレーザ光が屈折、回折または反射によって集光する構成とされている。
以上の実施形態によれば、ブレークダンウンを抑制し、レーザピーニングの効果を得るために必要なエネルギ密度範囲となるレーザ光の光軸上の処理可能範囲を拡大したレーザピーニング用のレーザ照射装置を供給することができる。これにより焦点調整のための制御が単純化できるとともに、複雑形状の処理対象にもレーザピーニング処理が可能となる。
[第2実施形態](図7〜図9)
本実施形態では、光学素子中の不連続な面を周方向に連続させ、半径方向には不連続な同心円状面の集合としたレーザ照射装置について説明する。
図7は本発明の第2実施形態による同心円プリズム形状を示す説明図であり、図8は図7に示した実施形態のビーム軌跡を示す説明図である。図9は図7に示した実施形態のビームウエストを示す説明図である。
なお、以下の説明において、第1実施形態と同一の構成部分には図1〜図6と同一の符号を付し、重複する説明は省略する。
図7(a),(b)に示した同心円形状光学素子36は、図1の多面体集光素子12の代わりに用い、半径方向に不連続で、周方向に連続な複数の同心円集光領域37で構成される。この同心円集光領域37は三角錐の2箇所をその底面と平行な面で切り取ったときの傾斜面の形状であり、それぞれがプリズムの役割を果たす。二つの平面で切断する幅を極限まで小さくすると同心円形状光学素子36は球面収差のないレンズとなる。
このように構成された本実施形態においては、図7に示すように、同心円集光領域37で屈折したレーザビームが光軸上で円形に結像する。
また、本実施形態では図8に示すように、異なる同心円集光領域37が同じ位置で結像するように、それぞれの傾斜が調整されている。
このため、図8および図9に示すように、全ての同心円集光領域37の像を合成するビームウエスト38を持つ。ビームウエスト38の位置でのレーザ光の断面積は同心円集光領域37の幅によって設定することができる。レーザ光の断面積は第1実施形態と同様に図6で表すことができる。
なお、同心円集光領域37は三角錐ではなく、球の2箇所をそれぞれ平行な2つの面で切り取ったときの部分球面形状としてもよい。
本実施形態によれば、ブレークダンウンを抑制し、レーザピーニングの効果を得るために必要なエネルギ密度範囲となるレーザ光の光軸上の処理可能範囲を拡大したレーザピーニング用のレーザ照射装置を供給することができる。これにより焦点調整のための制御が単純化できるとともに、複雑形状の処理対象にもレーザピーニング処理が可能となる。
[第3実施形態](図10〜図15)
次に、本発明に係るレーザ照射装置の第3実施形態について図10〜図15を参照して説明する。以下の実施形態では、レーザ光の光軸とこの光軸に垂直な第1の軸とを含む面に対して対称にレーザ光を屈折または回折または反射させる第一の光学素子と、第1の軸に垂直な第2の軸とを含む面に対して対称にレーザ光を屈折、回折または反射させる第二の光学素子とを備え、これらの光学素子によりレーザ光を集光する構成としたレーザ照射装置について説明する。また、第一の光学素子と前記第二の光学素子のうち、少なくとも1つがシリンドリカルレンズであり、第一の光学素子と前記第二の光学素子とが平行光を集光する距離をそれぞれ異ならせたレーザ照射装置について説明する。また、第一の光学素子と第二の光学素子の間隔を変えるための水平駆動機構を備えたレーザ照射装置について説明する。また、第一の光学素子と前記第二の光学素子のうち、少なくとも1つの素子を光軸を中心に回転させるための回転機構を備えたレーザ照射装置について説明する。
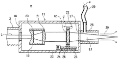
図10は、照射ヘッド11を詳細に示す拡大断面図であり、図11はレンズ構成を示す説明図である。図10に示すように、本実施形態では、第1実施形態で示した図2の照射ヘッド11内の多面体集光素子12に代えて、垂直円筒レンズ41および水平円筒レンズ42の組合せ光学素子を用いる。垂直円筒レンズ41および水平円筒レンズ42はともにシリンドリカルレンズであるが、図11に示すように、円筒面の元となる円筒の中心軸が、互いに垂直となるように構成されている。
また、垂直円筒レンズ41によってレーザビームLが集光された楕円が最も小さくなる位置と、水平円筒レンズ42によってレーザビームLが集光された楕円が最も小さくなる位置とが一致しないように、シリンドリカルレンズの焦点距離およびレンズ間距離が設定されている。他の構成は第1実施形態と略同様であるから、説明を省略する。
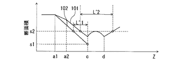
図12および図13は、垂直円筒レンズ41および水平円筒レンズ42の曲率が等しい場合のレーザビームLの軌跡と断面積を示している。
このように構成された本実施形態においては、図12に示すように、位置a1に配意された垂直円筒レンズ42はレーザビームLをビーム軸直交方向(x方向)に集光し、x方向焦点位置cで垂直な楕円に像を結ぶ。
同様に、図12における位置a2に配意された水平円筒レンズ42はレーザビームLをビーム軸直交方向(y方向)に集光し、y方向焦点位置dで水平な楕円に像を結ぶ。この2種類の円筒レンズの組合せにより、図13にレーザビームの断面積101を示すように、垂直円筒レンズ41と同じ曲率の球面レンズをa1の位置に配置した場合の球面レンズビーム断面積102よりも常に大きくなる。
断面積102がブレークダウンを生じるエネルギ密度となる断面積101以下になっても、断面積101はこれに達しないためブレークダウンを生じることがないため、垂直円筒レンズ41および水平円筒レンズ42の焦点位置cおよびd以降でもレーザピーニング処理が可能となり、L´2はL´1よりも長い。
図14は、本実施形態におけるビーム断面積を示している。この図14に示すように、垂直円筒レンズ41と水平円筒レンズ42との間隔を広げると、それぞれの焦点位置cおよびdの間隔が広がる。a1、a2の間隔はcとdの間で断面積101がレーザピーニングの効果を得るために必要なエネルギ密度となる断面積をs2よりも大きくならない範囲まで広げることが可能である。
図15は水平円筒レンズ42の焦点距離を垂直円筒レンズ41よりも長くした例を示している。ここで、水平円筒レンズ42の焦点距離はcとdの間で断面積101がレーザピーニングの効果を得るために必要なエネルギ密度となる断面積をs2よりも大きくならない範囲で長くすることができる。
水平円筒レンズ42の焦点距離を垂直円筒レンズ41の焦点距離より短くすることも可能である。これらはピーニング処理可能な範囲の中心位置を変える効果があり、球面レンズにおいて焦点距離を変えることと同等の効果が得られる。
なお、垂直円筒レンズ41と水平円筒レンズ42はその円筒面を多角錐の外面と置き換えた多面体プリズムに置き換えてもよい。
本実施形態によれば、ブレークダンウンを抑制し、レーザピーニングの効果を得るために必要なエネルギ密度範囲となるレーザ光Lの光軸上の処理可能範囲を拡大したレーザピーニング用のレーザ照射装置を供給することができる。これにより焦点調整のための制御が単純化できるとともに、複雑形状の処理対象にもレーザピーニング処理が可能となる。また、被処理部材表面でのレーザ光の像として縦楕円と横楕円の条件を焦点調整機構によって選択できることにより、被処理部材表面形状に応じたレーザピーニング処理が可能となる。
[第4実施形態](図16および図17)
次に、本発明に係るレーザ照射装置の第4実施形態について図16および図17を参照して説明する。図16は照射ヘッド詳細図であり、図17は非直交配置シリンドリカル構成図である。なお第1実施形態と同一の構成には同一の符号を付し、重複する説明は省略する。
図16に示すように、照射ヘッド11に搭載された垂直円筒レンズ41と水平円筒レンズ42はそれぞれ円筒中心軸をレーザビームLの光軸中心に回転させる中空超音波モータ45に組み込まれ、更に光学素子駆動機構26によってレーザビームLの光軸方向に直線移動する。
このように構成された本実施形態において、二つの中空超音波モータ45は互いに独立に動作することができるため、図17に示すように垂直円筒レンズ41と水平円筒レンズ42の円筒中心軸がなす角θは任意の角度に設定することができる。レーザビームLは紙面に対して表から裏に向かって進むものとする。また、二つの光学素子駆動機構26も同様に互いに独立に動作することができるため、2枚のシリンドリカルレンズの間隔を任意に変えることができる。なす角θが0でない限り、レーザ光Lは水平楕円焦点、垂直楕円焦点の二つの焦点位置をもつ。
これらの間隔はなす角θによって決定されるため、中空超音波モータ45の回転角制御によってピーニング処理可能な範囲の中心位置を変える効果があり、球面レンズにおいて焦点距離を変えることと同等の効果が得られる。また、なす角θが0となるように制御することにより、レーザ光Lは光軸上の1箇所で一方向のみが集光され、その垂直方向には集光されない長楕円(ライン状)の像を得る。
光学素子駆動機構26によってレンズ間隔を変えることにより2枚組み合わせた組合せシリンドリカルレンズの焦点距離を可変にすることができ、ライン角度も中空超音波モータ45の回転角制御によって制御することができる。
本実施形態によれば、ブレークダンウンを抑制し、レーザピーニングの効果を得るために必要なエネルギ密度範囲となるレーザ光の光軸上の処理可能範囲を拡大したレーザピーニング用のレーザ照射装置を供給することができる。
また、レンズを交換することなく処理可能範囲を変えることができる。
さらに、被処理部材13の表面でのレーザ光の像を楕円状とライン状の像を遠隔で切り替えることが可能となり、処理条件に応じたレーザピーニング処理を遠隔で選択することが可能となる。
本発明の第1実施形態によるレーザ照射装置の全体構成図。 図1に示したレーザ照射装置の照射ヘッドを拡大して示す詳細図。 (a)は図2の多面体集光素子を示す正面図、(b)は(a)の縦断面図。 図3に示した多面体集光素子のビーム軌跡を示す説明図。 図3に示した多面体集光素子のビームウエストを示す説明図。 図3に示した多面体集光素子のビーム断面積を示す説明図。 (a),(b)は本発明の第2実施形態によるプリズム形状を示す説明図。 図7に示した実施形態のビーム軌跡を示す説明図。 図7に示した実施形態のビームウエストを示す説明図。 本発明の第3実施形態による照射ヘッドを示す詳細図。 第3実施形態におけるレンズ構成を示す説明図。 上記第3実施形態におけるビーム形状を示す説明図。 上記第3実施形態におけるビーム断面積1を示す説明図。 上記第3実施形態におけるビーム断面積2を示す説明図。 上記第3実施形態におけるビーム断面積3を示す説明図。 本発明の第4実施形態における照射ヘッド詳細図。 上記第4実施形態における非直交配置シリンドリカル構成図。
符号の説明
1‥レーザ発振器、2‥ビーム制御ユニット、3‥導光管、4‥水槽、5‥照射位置決め装置、6‥出力調整装置、7‥部分反射ミラー、8‥パワーメータ、9‥シャッタ、10‥反射ミラー、11‥照射ヘッド、12‥多面体集光素子、13‥被処理部材、14‥支柱、15‥水平駆動機構、16‥垂直駆動機構、17‥焦点調整機構、18‥防水ウインドウ、19‥拡大鏡、20‥凹面鏡、21‥凸面鏡、22‥光学素子マウント、23‥モータ、24‥ボールねじ、25‥リニアガイド、26‥光学素子駆動機構、27‥出口側防水ウインドウ、28‥噴射ノズル、30‥噴流、31‥小集光領域、32,33‥プロファイル、34‥浄化水供給チューブ、36‥同心円形状光学素子、37‥同心円集光領域、38‥ビームウエスト、41‥垂直円筒レンズ、42‥水平円筒レンズ、45‥中空超音波モータ、45A‥レーザ照射装置、L‥レーザビーム、L‥収束レーザ光、w‥水、SB‥サンプリングビーム。

Claims (7)

  1. パルス発振のレーザ光を集光して空間的エネルギ密度が高い状態とし、このレーザ光を表面が液体に接している固体材料に照射することにより発生するプラズマの圧力で当該固体材料の機械的強度を向上させるレーザ照射装置であって、レーザ光源と、このレーザ光源から出射されるレーザ光を伝送するレーザ光伝送手段と、前記固体材料に対するレーザ光の照射位置を任意に移動させる照射位置移動手段と、照射される前記レーザ光を集光する集光手段と、前記レーザ光を前記固体材料の表面に投影した際のレーザ投影面積を任意に調整する投影面積調整手段とを備えたことを特徴とするレーザ照射装置。
  2. レーザ光を集光する前記集光手段は、光学素子のうち少なくとも1つの光学素子がレーザ光を空間的に分割するための不連続な複数の面の組合せによって構成される領域を持ち、それぞれの面は分割したレーザ光が屈折、回折または反射によって集光する構成とされている請求項1記載のレーザ照射装置。
  3. 前記光学素子中の不連続な面は、周方向に連続し、半径方向には不連続な同心円状面の集合である請求項2記載のレーザ照射装置。
  4. 前記レーザ光の光軸とこの光軸に垂直な第1の軸とを含む面に対して対称にレーザ光を屈折または回折または反射させる第一の光学素子と、前記第1の軸に垂直な第2の軸とを含む面に対して対称にレーザ光を屈折、回折または反射させる第二の光学素子とを備え、これらの光学素子によりレーザ光を集光する構成とした請求項1ないし請求項3のいずれか1項に記載のレーザ照射装置。
  5. 前記第一の光学素子と前記第二の光学素子のうち、少なくとも1つがシリンドリカルレンズであり、前記第一の光学素子と前記第二の光学素子とが平行光を集光する距離をそれぞれ異ならせた請求項4記載のレーザ照射装置。
  6. 前記第一の光学素子と前記第二の光学素子の間隔を変えるための水平駆動機構を備えた請求項4または5記載のレーザ照射装置。
  7. 前記第一の光学素子と前記第二の光学素子のうち、少なくとも1つの素子を光軸を中心に回転させるための回転機構を備えた請求項4ないし請求項6のいずれか1項記載のレーザ照射装置。
JP2008218556A 2008-08-27 2008-08-27 レーザ照射装置 Expired - Fee Related JP5159516B2 (ja)

Priority Applications (1)

Application Number Priority Date Filing Date Title
JP2008218556A JP5159516B2 (ja) 2008-08-27 2008-08-27 レーザ照射装置

Applications Claiming Priority (1)

Application Number Priority Date Filing Date Title
JP2008218556A JP5159516B2 (ja) 2008-08-27 2008-08-27 レーザ照射装置

Publications (2)

Publication Number Publication Date
JP2010051999A true JP2010051999A (ja) 2010-03-11
JP5159516B2 JP5159516B2 (ja) 2013-03-06

Family

ID=42068479

Family Applications (1)

Application Number Title Priority Date Filing Date
JP2008218556A Expired - Fee Related JP5159516B2 (ja) 2008-08-27 2008-08-27 レーザ照射装置

Country Status (1)

Country Link
JP (1) JP5159516B2 (ja)

Cited By (10)

* Cited by examiner, † Cited by third party
Publication number Priority date Publication date Assignee Title
CN102179630A (zh) * 2011-04-01 2011-09-14 江苏大学 发动机气缸表面激光微加工装置及加工方法
CN102198564A (zh) * 2011-06-10 2011-09-28 重庆长安汽车股份有限公司 一种用于表面微造型的旋转激光头系统
JP2013525113A (ja) * 2010-04-16 2013-06-20 メタル インプルーブメント カンパニー エルエルシー 高出力レーザシステムの為のフレキシブルビーム供給システム
WO2016084875A1 (ja) * 2014-11-28 2016-06-02 株式会社トヨコー レーザ照射装置及び表面処理方法
JP2017001097A (ja) * 2016-08-03 2017-01-05 株式会社アマダホールディングス レーザ加工機
JP2017067476A (ja) * 2015-09-28 2017-04-06 株式会社小野測器 液中レーザ計測用補助装置、レーザ計測システム及び液中測定対象物の測定方法
JP2017209689A (ja) * 2016-05-24 2017-11-30 株式会社東芝 レーザーピーニング装置およびレーザーピーニング方法
JP2017209709A (ja) * 2016-05-25 2017-11-30 株式会社東芝 レーザピーニング装置
JP2019211530A (ja) * 2018-05-31 2019-12-12 ウシオ電機株式会社 光源装置、プロジェクタ
CN115710629A (zh) * 2022-10-28 2023-02-24 中国科学院宁波材料技术与工程研究所 一种可用于狭窄结构表面处理的介入式激光冲击强化装置及方法

Families Citing this family (1)

* Cited by examiner, † Cited by third party
Publication number Priority date Publication date Assignee Title
US20240123543A1 (en) * 2021-02-26 2024-04-18 Amada Co., Ltd. Laser processing machine and laser processing method

Citations (4)

* Cited by examiner, † Cited by third party
Publication number Priority date Publication date Assignee Title
JPS6382216U (ja) * 1986-11-19 1988-05-30
JPH01191801A (ja) * 1988-01-28 1989-08-01 Sumitomo Electric Ind Ltd 集光レンズ
JPH0417989A (ja) * 1990-05-14 1992-01-22 Mitsubishi Electric Corp レーザ電線被覆剥離装置
JP2006137998A (ja) * 2004-11-12 2006-06-01 Toshiba Corp レーザ衝撃硬化処理方法および装置

Patent Citations (4)

* Cited by examiner, † Cited by third party
Publication number Priority date Publication date Assignee Title
JPS6382216U (ja) * 1986-11-19 1988-05-30
JPH01191801A (ja) * 1988-01-28 1989-08-01 Sumitomo Electric Ind Ltd 集光レンズ
JPH0417989A (ja) * 1990-05-14 1992-01-22 Mitsubishi Electric Corp レーザ電線被覆剥離装置
JP2006137998A (ja) * 2004-11-12 2006-06-01 Toshiba Corp レーザ衝撃硬化処理方法および装置

Cited By (11)

* Cited by examiner, † Cited by third party
Publication number Priority date Publication date Assignee Title
JP2013525113A (ja) * 2010-04-16 2013-06-20 メタル インプルーブメント カンパニー エルエルシー 高出力レーザシステムの為のフレキシブルビーム供給システム
CN102179630A (zh) * 2011-04-01 2011-09-14 江苏大学 发动机气缸表面激光微加工装置及加工方法
CN102198564A (zh) * 2011-06-10 2011-09-28 重庆长安汽车股份有限公司 一种用于表面微造型的旋转激光头系统
WO2016084875A1 (ja) * 2014-11-28 2016-06-02 株式会社トヨコー レーザ照射装置及び表面処理方法
JP2016101596A (ja) * 2014-11-28 2016-06-02 株式会社トヨコー レーザ照射装置及び表面処理方法
JP2017067476A (ja) * 2015-09-28 2017-04-06 株式会社小野測器 液中レーザ計測用補助装置、レーザ計測システム及び液中測定対象物の測定方法
JP2017209689A (ja) * 2016-05-24 2017-11-30 株式会社東芝 レーザーピーニング装置およびレーザーピーニング方法
JP2017209709A (ja) * 2016-05-25 2017-11-30 株式会社東芝 レーザピーニング装置
JP2017001097A (ja) * 2016-08-03 2017-01-05 株式会社アマダホールディングス レーザ加工機
JP2019211530A (ja) * 2018-05-31 2019-12-12 ウシオ電機株式会社 光源装置、プロジェクタ
CN115710629A (zh) * 2022-10-28 2023-02-24 中国科学院宁波材料技术与工程研究所 一种可用于狭窄结构表面处理的介入式激光冲击强化装置及方法

Also Published As

Publication number Publication date
JP5159516B2 (ja) 2013-03-06

Similar Documents

Publication Publication Date Title
JP5159516B2 (ja) レーザ照射装置
JP5563562B2 (ja) 非平坦材料の罫書き
CN108453097B (zh) 一种用于管道内壁的激光清洗机构
JP2720811B2 (ja) レーザ集光方法及び装置
KR101906189B1 (ko) 레이저광 조사 장치 및 레이저 피닝 처리 방법
JP4977234B2 (ja) レーザ衝撃硬化処理方法および装置
JP4697699B2 (ja) レーザー加工装置
CN106773025A (zh) 调焦镜头及振镜式激光扫描系统
TWI834736B (zh) 雷射加工系統
KR19980032118A (ko) 레이저 광에 의한 배선기판의 가공방법 및 그 장치
KR20110091984A (ko) 레이저 피닝 시스템
CN112342369B (zh) 一种基于反射聚焦镜的激光冲击强化装置
TWI697162B (zh) 用於產生線狀的強度分佈的雷射輻射的裝置
US11835699B2 (en) Focusing device and EUV radiation generating device having same
US11911849B2 (en) Laser peening processing apparatus and laser peening processing method
JP2023520427A (ja) 光学装置及びレーザシステム
JP4868729B2 (ja) レーザ衝撃硬化処理方法および装置
JP3786658B2 (ja) 長距離伝送用光学系
KR20080108219A (ko) Yag 레이저, 파이버 레이저용 렌즈 및 레이저 가공 장치
JP4246981B2 (ja) レーザ加工装置
CN114160965A (zh) 激光成丝切割装置
JP6450038B2 (ja) レーザピーニング加工装置及びレーザピーニング加工方法
JP6497894B2 (ja) 微細周期構造の形成方法および形成装置
KR102383841B1 (ko) 무한 초점 광학계를 이용한 레이저 가공 장치
JP2007216241A (ja) レーザピーニング装置及び方法

Legal Events

Date Code Title Description
RD04 Notification of resignation of power of attorney

Free format text: JAPANESE INTERMEDIATE CODE: A7424

Effective date: 20100424

A621 Written request for application examination

Free format text: JAPANESE INTERMEDIATE CODE: A621

Effective date: 20101013

RD01 Notification of change of attorney

Free format text: JAPANESE INTERMEDIATE CODE: A7421

Effective date: 20111217

A977 Report on retrieval

Free format text: JAPANESE INTERMEDIATE CODE: A971007

Effective date: 20120406

A131 Notification of reasons for refusal

Free format text: JAPANESE INTERMEDIATE CODE: A131

Effective date: 20120417

A521 Written amendment

Free format text: JAPANESE INTERMEDIATE CODE: A523

Effective date: 20120615

A131 Notification of reasons for refusal

Free format text: JAPANESE INTERMEDIATE CODE: A131

Effective date: 20120717

A521 Written amendment

Free format text: JAPANESE INTERMEDIATE CODE: A523

Effective date: 20120906

TRDD Decision of grant or rejection written
A01 Written decision to grant a patent or to grant a registration (utility model)

Free format text: JAPANESE INTERMEDIATE CODE: A01

Effective date: 20121113

A61 First payment of annual fees (during grant procedure)

Free format text: JAPANESE INTERMEDIATE CODE: A61

Effective date: 20121211

R151 Written notification of patent or utility model registration

Ref document number: 5159516

Country of ref document: JP

Free format text: JAPANESE INTERMEDIATE CODE: R151

FPAY Renewal fee payment (event date is renewal date of database)

Free format text: PAYMENT UNTIL: 20151221

Year of fee payment: 3

LAPS Cancellation because of no payment of annual fees