JP2010051065A - 電力潮流制御装置 - Google Patents
電力潮流制御装置 Download PDFInfo
- Publication number
- JP2010051065A JP2010051065A JP2008211047A JP2008211047A JP2010051065A JP 2010051065 A JP2010051065 A JP 2010051065A JP 2008211047 A JP2008211047 A JP 2008211047A JP 2008211047 A JP2008211047 A JP 2008211047A JP 2010051065 A JP2010051065 A JP 2010051065A
- Authority
- JP
- Japan
- Prior art keywords
- phase
- power
- rotor
- power system
- rotary
- Prior art date
- Legal status (The legal status is an assumption and is not a legal conclusion. Google has not performed a legal analysis and makes no representation as to the accuracy of the status listed.)
- Granted
Links
- 230000010363 phase shift Effects 0.000 claims description 55
- RDYMFSUJUZBWLH-UHFFFAOYSA-N endosulfan Chemical compound C12COS(=O)OCC2C2(Cl)C(Cl)=C(Cl)C1(Cl)C2(Cl)Cl RDYMFSUJUZBWLH-UHFFFAOYSA-N 0.000 claims description 5
- 238000004804 winding Methods 0.000 description 75
- 238000004088 simulation Methods 0.000 description 22
- 230000005540 biological transmission Effects 0.000 description 21
- 238000009434 installation Methods 0.000 description 6
- 238000010586 diagram Methods 0.000 description 3
- 239000013585 weight reducing agent Substances 0.000 description 3
- 230000000694 effects Effects 0.000 description 2
- 239000013598 vector Substances 0.000 description 2
- 230000004048 modification Effects 0.000 description 1
- 238000012986 modification Methods 0.000 description 1
- 230000001360 synchronised effect Effects 0.000 description 1
Images
Classifications
-
- Y—GENERAL TAGGING OF NEW TECHNOLOGICAL DEVELOPMENTS; GENERAL TAGGING OF CROSS-SECTIONAL TECHNOLOGIES SPANNING OVER SEVERAL SECTIONS OF THE IPC; TECHNICAL SUBJECTS COVERED BY FORMER USPC CROSS-REFERENCE ART COLLECTIONS [XRACs] AND DIGESTS
- Y02—TECHNOLOGIES OR APPLICATIONS FOR MITIGATION OR ADAPTATION AGAINST CLIMATE CHANGE
- Y02E—REDUCTION OF GREENHOUSE GAS [GHG] EMISSIONS, RELATED TO ENERGY GENERATION, TRANSMISSION OR DISTRIBUTION
- Y02E40/00—Technologies for an efficient electrical power generation, transmission or distribution
- Y02E40/10—Flexible AC transmission systems [FACTS]
Landscapes
- Supply And Distribution Of Alternating Current (AREA)
- Ac-Ac Conversion (AREA)
Abstract
【解決手段】電力潮流制御装置1では、第1の交流電力系統αと第2の交流電力系統βの間に設置された回転型の位相器2〜4を複数(3台)含み、前記各位相器2〜4は、回転子と固定子とを備え、前記各回転子が、前記第1の交流電力系統αと前記第2の交流電力系統βの間に(直列に)挿入され、前記各固定子が、前記第1の交流電力系統αに(並列に)接続されており(位相器3,4は第1の交流電力系統には接続されていない)、前記各位相器2〜4は、互いに直列に接続されている。
【選択図】図3
Description
各前記位相器は、互いに直列に接続されていることを特徴とするものである。
[構成等]
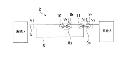
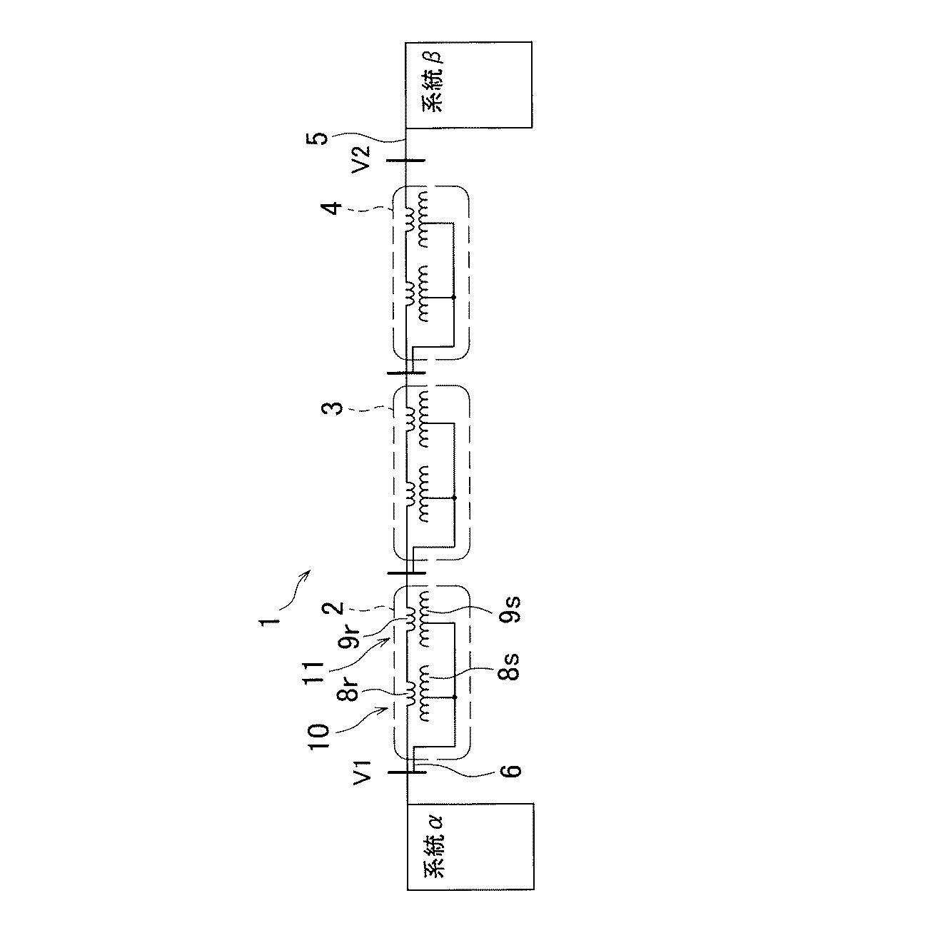
図1は第1形態に係る電力潮流制御装置1の説明図であって、電力潮流制御装置1は、回転型の位相器を複数台(ここでは3台の位相器2〜4)備えている。位相器2〜4は、直列に接続されている。そして、電力潮流制御装置1は、二つの電力系統(系統α,系統β)を結ぶ送電線5に挿入されている。送電線5は、ここでは三相交流を送電する。
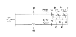
図3は、電力潮流制御装置1を、2本の所定の送電線5の末端ループ側に設けた場合のシミュレーション系統の例を示す。各送電線5のリアクタンスは、一般の配電線10kmに相当する11.55mHとする(図3のコイルd1,d2参照)。
図3に基づくシミュレーションに先立ち、各位相器2〜4の特性を調べるため、図3と同様の系統において電力潮流制御装置1の代わりに位相器2のみを配置した場合のシミュレーションを行う(図4参照)。このシミュレーションにおいて、回転型移相変圧器10における固定子の巻線8sと回転子の巻線8rの巻数比を、1:0.1とし、回転型移相変圧器11における巻線9s,9rについても同様とする。更に、位相器2外部の配電側(入力側、調整前の側)の電圧をV1、有効電力をP1、無効電力をQ1とし、戻り側(出力側、調整後の側)の電圧をV2、有効電力をP2、無効電力をQ2とする。又、位相器2における巻線8rの電圧をVr1とし、巻線9rの電圧をVr2とし、それぞれの位相に相当する、電圧Vr1の電圧V1に対する角度を∠Vr1とし、電圧Vr2の電圧V2に対する角度を∠Vr2とする。
そこで、図3に戻り、位相器2〜4を直列に接続することを考える。ここで、電力潮流制御装置1全体によって電圧位相差θを発生させるとすると、電力潮流制御装置1を通過する電力Pは、送電線のインダクタンスをXLとして、下記[数1]で表される。即ち、電力潮流制御装置1から発生させるべき電圧位相差は、インダクタンスXLによって異なることになる。又、[数1]を電圧位相差θについて解くと、次の[数2]となる。
そして、図3で示すように、電力潮流制御装置1は3台の位相器2〜4を直列に接続して成るから、各位相器2〜4で発生させる電圧位相差は、θ/3で良いのである。
以上に基づき、図3に戻り、回転型移相変圧器10,11を有する位相器2に、同様の位相器3,4を直列に接続した電力潮流制御装置1に関するシミュレーションを行う。このシミュレーションにおいては、各回転型移相変圧器10,11の容量は33kVAとし、固定子の巻線8sと回転子の巻線8rの巻数比を1:0.033とし、巻線9s,9rについても同様とする。回転型移相変圧器10,11の各回転子は、電圧の振幅を変化させずに位相のみを変化させる目的で、互いに逆回転させており、より詳しくは、∠Vr1を90度から−90度まで変化させると共に、∠Vr2を90度から270度まで変化させる(図5参照)。なお、各位相器2〜4の回転型移相変圧器10の回転子は、共にそろって∠Vr1につき90度から−90度まで変化させる。
以上の電力潮流制御装置1では、第1の交流電力系統αと第2の交流電力系統βの間に設置された回転型の位相器2〜4を複数(3台)含み、前記各位相器2〜4は、回転子と固定子とを備え、前記各回転子が、前記第1の交流電力系統αと前記第2の交流電力系統βの間に(直列に)挿入され、前記各固定子が、前記第1の交流電力系統αに(並列に)接続されており(位相器3,4は第1の交流電力系統には接続されていない)、前記各位相器2〜4は、互いに直列に接続されているので、各位相器2〜4が必要とする容量を大幅に低減することができ、電力潮流制御装置1全体としても装置重量を大幅に低減することができる。更に、回転子の巻線8r,9rの巻数を相対的に少なくすることができ、このことも又装置の一層の軽量化に寄与する。又、各位相器2〜4を別個の柱上に設置して互いに接続することで電力潮流制御装置1全体として柱上設置可能とすることができる。そして、以上のことから、電力潮流制御装置1では、設置コストを低減し、又機動的に配置し易くすることができる。又、このように軽量化等を図りつつも、位相器2〜4の組合せにより交流電力の位相を必要十分に調整可能であり、十分な性能を有する。
[構成等]
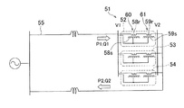
図12は第2形態に係る電力潮流制御装置51の説明図であって、電力潮流制御装置51は、回転型の位相器を複数台(ここでは3台の位相器52〜54)備えている。位相器52〜54は、並列に接続されている。そして、電力潮流制御装置51は、二つの電力系統を結ぶ送電線55に挿入されている。送電線55は、ここでは三相交流(6.6kV)を送電し、第1形態と同様に、往復の各配電線(11.55mH、10km相当)でループを形成しており、電力潮流制御装置51は、当該ループに配置されている。
図12に係るシミュレーション例(第1形態の図3に係るものと同様の装置全体のシミュレーション)の結果を図13に示す。
以上の電力潮流制御装置51では、第1の交流電力系統と第2の交流電力系統の間に設置された回転型の位相器52〜54を複数(3台)含み、前記各位相器52〜54は、回転子と固定子とを備え、前記各回転子が、前記第1の交流電力系統と前記第2の交流電力系統の間に(互いに並列に、電力潮流制御装置51の入力側及び出力側のノードに対してはそれぞれ直列に)挿入され、前記各固定子が、前記第1の交流電力系統に(並列に)接続されており、前記各位相器52〜54は、互いに並列に接続されているので、各位相器52〜54を同一ノード内に配置する必要があって位相器52〜54ごとに分離することができず柱上設置の点で比較的に不利ではあるものの、各位相器52〜54が必要とする容量を大幅に低減することができ、電力潮流制御装置51全体としても装置重量を大幅に低減し、設置コストを低減して設置を容易にすることができる。更に、回転子の巻線58r,59rの巻数を相対的に少なくすることができ、このことも又装置の一層の低コスト化や設置の容易化、軽量化に寄与する。そして、このように軽量化等を図りつつも、位相器52〜54の組合せにより交流電力の位相を必要十分に調整可能であり、十分な性能を有する。又、電力潮流制御装置51では、位相器52〜54が並列に接続されているため、位相器52〜54の一部が故障したとしても、残りの位相器で縮退運転による潮流制御を実行することができる。
なお、主に上記形態を変更して成る、本発明の他の形態を例示する。各位相器が、複数台(3台以上)の回転型移相変圧器を有するようにする。位相器を2台あるいは4台以上、送電線に対し直列又は並列に接続する。固定子と回転子の巻線の巻数比を1:0.1以外にする。
2〜4,52〜54 位相器
8r,9r,58r,59r (回転子の)巻線
8s,9s,58s,59s (固定子の)巻線
10,11,60,61 回転型移相変圧器
α 第1の交流系統
β 第2の交流系統
Claims (3)
- 第1の交流電力系統と第2の交流電力系統の間に設置された回転型の位相器を複数含み、
各前記位相器は、回転子と固定子とを備え、
前記回転子が、前記第1の交流電力系統と前記第2の交流電力系統の間に直列に挿入され、
前記固定子が、前記第1の交流電力系統に接続されており、
各前記位相器は、互いに直列に接続されている
ことを特徴とする電力潮流制御装置。 - 第1の交流電力系統と第2の交流電力系統の間に設置された回転型の位相器を複数含み、
各前記位相器は、回転子と固定子とを備え、
前記回転子が、前記第1の交流電力系統と前記第2の交流電力系統の間に直列に挿入され、
前記固定子が、前記第1の交流電力系統に接続されており、
各前記位相器は、互いに並列に接続されている
ことを特徴とする電力潮流制御装置。 - 各前記位相器は、2台の回転型移相変圧器を含み、
各前記回転型移相変圧器は、回転子と固定子とを備え、
前記回転子が、前記第1の交流電力系統と前記第2の交流電力系統の間に直列に挿入され、
前記固定子が、前記第1の交流電力系統に接続されており、
各前記回転型移相変圧器は、互いに直列に接続されていて、
各前記回転型移相変圧器の前記回転子が、各前記位相器の前記回転子を構成し、
各前記回転型移相変圧器の前記固定子が、各前記位相器の前記固定子を構成する
ことを特徴とする請求項1又は請求項2に記載の電力潮流制御装置。
Priority Applications (1)
| Application Number | Priority Date | Filing Date | Title |
|---|---|---|---|
| JP2008211047A JP5485524B2 (ja) | 2008-08-19 | 2008-08-19 | 電力潮流制御装置 |
Applications Claiming Priority (1)
| Application Number | Priority Date | Filing Date | Title |
|---|---|---|---|
| JP2008211047A JP5485524B2 (ja) | 2008-08-19 | 2008-08-19 | 電力潮流制御装置 |
Publications (2)
| Publication Number | Publication Date |
|---|---|
| JP2010051065A true JP2010051065A (ja) | 2010-03-04 |
| JP5485524B2 JP5485524B2 (ja) | 2014-05-07 |
Family
ID=42067680
Family Applications (1)
| Application Number | Title | Priority Date | Filing Date |
|---|---|---|---|
| JP2008211047A Active JP5485524B2 (ja) | 2008-08-19 | 2008-08-19 | 電力潮流制御装置 |
Country Status (1)
| Country | Link |
|---|---|
| JP (1) | JP5485524B2 (ja) |
Cited By (1)
| Publication number | Priority date | Publication date | Assignee | Title |
|---|---|---|---|---|
| CN111308908A (zh) * | 2019-12-24 | 2020-06-19 | 武汉理工大学 | 一种基于dSPACE的分布式潮流控制器并联侧闭环仿真试验方法 |
Citations (5)
| Publication number | Priority date | Publication date | Assignee | Title |
|---|---|---|---|---|
| JPH04295233A (ja) * | 1991-03-25 | 1992-10-20 | Toshiba Corp | 回転形系統連系装置 |
| JPH10322910A (ja) * | 1997-03-11 | 1998-12-04 | General Electric Co <Ge> | 電力潮流制御装置および調整方法 |
| JP2001157365A (ja) * | 1999-11-18 | 2001-06-08 | Chubu Electric Power Co Inc | 電力潮流制御装置及び電力潮流調整方法 |
| JP2001169462A (ja) * | 1999-12-01 | 2001-06-22 | Rikogaku Shinkokai | 電力連係制御装置の電圧制御方法 |
| JP2005223986A (ja) * | 2004-02-04 | 2005-08-18 | Toshiba Corp | 電力系統の連系システムと電力制御方法 |
-
2008
- 2008-08-19 JP JP2008211047A patent/JP5485524B2/ja active Active
Patent Citations (5)
| Publication number | Priority date | Publication date | Assignee | Title |
|---|---|---|---|---|
| JPH04295233A (ja) * | 1991-03-25 | 1992-10-20 | Toshiba Corp | 回転形系統連系装置 |
| JPH10322910A (ja) * | 1997-03-11 | 1998-12-04 | General Electric Co <Ge> | 電力潮流制御装置および調整方法 |
| JP2001157365A (ja) * | 1999-11-18 | 2001-06-08 | Chubu Electric Power Co Inc | 電力潮流制御装置及び電力潮流調整方法 |
| JP2001169462A (ja) * | 1999-12-01 | 2001-06-22 | Rikogaku Shinkokai | 電力連係制御装置の電圧制御方法 |
| JP2005223986A (ja) * | 2004-02-04 | 2005-08-18 | Toshiba Corp | 電力系統の連系システムと電力制御方法 |
Cited By (1)
| Publication number | Priority date | Publication date | Assignee | Title |
|---|---|---|---|---|
| CN111308908A (zh) * | 2019-12-24 | 2020-06-19 | 武汉理工大学 | 一种基于dSPACE的分布式潮流控制器并联侧闭环仿真试验方法 |
Also Published As
| Publication number | Publication date |
|---|---|
| JP5485524B2 (ja) | 2014-05-07 |
Similar Documents
| Publication | Publication Date | Title |
|---|---|---|
| CN110366810B (zh) | 电机及电机的操作方法 | |
| US8928199B2 (en) | Wound rotor brushless doubly-fed motor | |
| US8878471B2 (en) | Control apparatus for electric rotary machine | |
| JP3824279B2 (ja) | 電気相互接続システム | |
| US20100013343A1 (en) | Constant frequency and locked phase generator adaptable to variable torque | |
| JP3982784B2 (ja) | 電力伝送システム | |
| NO163588B (no) | Flerfaset elektrisk maskin med regulert magnetisk flukstetthet. | |
| CN103843234A (zh) | 多相电动马达 | |
| Cheng et al. | Control strategy for permanent magnet synchronous motor with contra‐rotating rotors under unbalanced loads condition | |
| US9455660B2 (en) | Method for controlling the electromagnetic torque of a high-speed-synchronous machine | |
| TWI533565B (zh) | 發電機及具有該發電機的發電系統、配電網路、機動引擎及船舶 | |
| CN103715798B (zh) | Ipm型旋转电动机 | |
| US20120319661A1 (en) | Electrical generation system | |
| JP5485524B2 (ja) | 電力潮流制御装置 | |
| KR101715296B1 (ko) | 전압조정 기능을 갖는 위상조정 변압기 권선회로 | |
| US7859200B2 (en) | Mutually cross-interlocked multiple asynchronous AC induction electrical machines | |
| CN103746611B (zh) | 一种双定子型磁悬浮开关磁阻双通道全周期发电机 | |
| JP2005117893A (ja) | ハイブリッド同期/誘導発電機発電プラント | |
| JP3830753B2 (ja) | 電力潮流制御装置及び電力潮流調整方法 | |
| CN101388634A (zh) | 步进电机的控制装置 | |
| KR20140084410A (ko) | 이중 회전자를 갖는 동기 발전기 시스템 | |
| CN112332424A (zh) | 基于双轴励磁调相机进行电力系统暂态控制的方法及系统 | |
| CA2947435C (en) | Motor with stator winding tap and methods for starting a motor with a variable speed drive | |
| WO2022113405A1 (ja) | 回転電機、並びにそれを用いる電動車両用回転電機システム | |
| TWI905287B (zh) | 電力系統及用於擴增型匯流排阻抗及瞬變擾動控制之方法 |
Legal Events
| Date | Code | Title | Description |
|---|---|---|---|
| A621 | Written request for application examination |
Free format text: JAPANESE INTERMEDIATE CODE: A621 Effective date: 20110613 |
|
| A131 | Notification of reasons for refusal |
Free format text: JAPANESE INTERMEDIATE CODE: A131 Effective date: 20130521 |
|
| A521 | Request for written amendment filed |
Free format text: JAPANESE INTERMEDIATE CODE: A523 Effective date: 20130722 |
|
| TRDD | Decision of grant or rejection written | ||
| A01 | Written decision to grant a patent or to grant a registration (utility model) |
Free format text: JAPANESE INTERMEDIATE CODE: A01 Effective date: 20140128 |
|
| A61 | First payment of annual fees (during grant procedure) |
Free format text: JAPANESE INTERMEDIATE CODE: A61 Effective date: 20140220 |
|
| R150 | Certificate of patent or registration of utility model |
Ref document number: 5485524 Country of ref document: JP Free format text: JAPANESE INTERMEDIATE CODE: R150 |
|
| R250 | Receipt of annual fees |
Free format text: JAPANESE INTERMEDIATE CODE: R250 |
|
| R250 | Receipt of annual fees |
Free format text: JAPANESE INTERMEDIATE CODE: R250 |
|
| R250 | Receipt of annual fees |
Free format text: JAPANESE INTERMEDIATE CODE: R250 |
|
| R250 | Receipt of annual fees |
Free format text: JAPANESE INTERMEDIATE CODE: R250 |
|
| R250 | Receipt of annual fees |
Free format text: JAPANESE INTERMEDIATE CODE: R250 |
