JP2010049949A - 微差圧スイッチ装置 - Google Patents

微差圧スイッチ装置 Download PDF

Info

Publication number
JP2010049949A
JP2010049949A JP2008213489A JP2008213489A JP2010049949A JP 2010049949 A JP2010049949 A JP 2010049949A JP 2008213489 A JP2008213489 A JP 2008213489A JP 2008213489 A JP2008213489 A JP 2008213489A JP 2010049949 A JP2010049949 A JP 2010049949A
Authority
JP
Japan
Prior art keywords
case
differential pressure
diaphragm
wiring board
pressure
Prior art date
Legal status (The legal status is an assumption and is not a legal conclusion. Google has not performed a legal analysis and makes no representation as to the accuracy of the status listed.)
Granted
Application number
JP2008213489A
Other languages
English (en)
Other versions
JP5191836B2 (ja
Inventor
Mitsuru Anpo
充 安保
Current Assignee (The listed assignees may be inaccurate. Google has not performed a legal analysis and makes no representation or warranty as to the accuracy of the list.)
YAMAMOTO DENKI SEISAKUSHO KK
Original Assignee
YAMAMOTO DENKI SEISAKUSHO KK
Priority date (The priority date is an assumption and is not a legal conclusion. Google has not performed a legal analysis and makes no representation as to the accuracy of the date listed.)
Filing date
Publication date
Application filed by YAMAMOTO DENKI SEISAKUSHO KK filed Critical YAMAMOTO DENKI SEISAKUSHO KK
Priority to JP2008213489A priority Critical patent/JP5191836B2/ja
Publication of JP2010049949A publication Critical patent/JP2010049949A/ja
Application granted granted Critical
Publication of JP5191836B2 publication Critical patent/JP5191836B2/ja
Expired - Fee Related legal-status Critical Current
Anticipated expiration legal-status Critical

Links

Images

Landscapes

  • Switches Operated By Changes In Physical Conditions (AREA)

Abstract

【課題】装置内部でのスイッチング動作信号を装置の気密性を確保しつつ簡単な構成で装置外に導出でき、外部配線との断接を容易、簡単にでき、装置のコンパクト化、低コスト化が図れる微差圧スイッチ装置の提供を課題とする。
【解決手段】ケース10内に設けられた第1圧力室11と第2圧力室12での圧力差をダイヤフラム40の変位でとらえてスイッチング動作を行う微差圧スイッチ装置であって、スイッチング動作信号を伝達するための配線を表裏面間に気密に貫通して設けた配線基板20を用い、この配線基板20をケース10の開口に被着することでケース10内を密閉すると共にスイッチング動作信号をケース10外へ導出可能とし、ケース蓋30若しくはケース10の一部にコネクタ端子を収容して配置させるコネクタ受部31を形成することで、装置外部からの配線のコネクタ端子をコネクタ受部31で装置側のコネクタ端子と接続自在とした。
【選択図】 図1

Description

本発明は微差圧スイッチ装置に関する。
比較される2つの領域での気圧等の差圧をとらえてスイッチング動作を行わせる装置として差圧スイッチが提供されている。そのうち微差圧を検出してスイッチングを行う微差圧スイッチ装置としては、例えば本体ケースの内部に設けられた2つの圧力室での差圧をダイヤフラムの変位でとらえて、スイッチング動作を行わせるものが多い。
特開2007−280812号公報には、カバー(2)で密閉されたハウジング(3)内に高圧室(2c)と低圧室(3c)が設けられ、ダイヤフラム(4)の変位によってスイッチングがなされる圧力スイッチが開示されている(特許文献1)。
また特開2004−327401号公報には、ダイヤフラム(2)で仕切られた2つの室間の差圧によってスイッチングを行うスイッチ手段としてマイクロスイッチ(70)を用い、これをプリント基板(5)に半田付けした圧力スイッチが開示されている。
特開2007−280812号公報 特開2004−327401号公報
しかしながら上記特許文献1に示す圧力スイッチでは、ハウジング(3)内部でのスイッチング動作信号をカバー(2)の外に引き出す手段として、ネジ端子を用いている。しかしこのネジ端子では、装置と外部配線とをコネクタ等を用いた簡単な接続構造にすることができない問題があった。そしてコネクタ等の断接構造をカバー(2)に直接構成しようとする場合には、ハウジング(3)内部に要求される気密性をカバー(2)で確保することが非常に困難となる問題があった。このため従来は、この種の差圧スイッチにコネクタ接続部を備えたものは見られなかった。
また上記特許文献2に示す圧力スイッチの場合、マイクロスイッチ(70)を用いてプリント基板(5)に取り付けることで配線をそれなりに簡素化できる効果を奏するものの、プリント基板(5)と平面部(113)とを2重構造状に設けるなど、気密性を確保するための構造が複雑になる欠点がある。またスイッチング動作信号の外部への取り出しは、やはりねじ端子部(11)を用いて行っており、外部配線との気密を確保した簡単な接続構造を得ることができない問題があった。
そこで本発明は上記従来技術の問題を解消し、装置内に配置されるスイッチ手段や配線構造を十分に簡素化することができ、装置内部でのスイッチング動作信号を装置の気密性を確保しつつ且つ複雑とならない構成で装置外に導出することができると共に、外部配線との断接を容易、簡単に行うことができる微差圧スイッチ装置の提供を課題とする。また装置のコンパクト化、低コスト化を図ることができる微差圧スイッチ装置の提供を課題とする。
上記課題を達成するため本発明の微差圧スイッチ装置は、ケース内にダイヤフラムで仕切られる第1圧力室と第2圧力室とを設け、該第1圧力室と第2圧力室での圧力差をダイヤフラムの変位でとらえて、スイッチ手段によるスイッチング動作を行わせるようにした微差圧スイッチ装置であって、
スイッチング動作信号を伝達するための配線を表裏面間に気密に貫通して設けた配線基板を用い、この配線基板を前記ケースの開口に被着することでケース内を密閉すると共に前記スイッチ手段によるスイッチング動作信号をケース外へ導出可能とし、且つケース蓋若しくはケースの一部にコネクタ端子を収容して配置させるコネクタ受部を形成することで、装置外部からの配線のコネクタ端子をコネクタ受部で装置側のコネクタ端子と接続自在としたことを第1の特徴としている。
また本発明の微差圧スイッチ装置は、上記第1の特徴に加えて、配線基板はプリント配線基板とし、配線基板の裏面側にスイッチ手段を取り付けると共に配線基板の表面側にはコネクタ受部に収容されるコネクタ端子を取り付けてあることを第2の特徴としている。
また本発明の微差圧スイッチ装置は、上記第1又は第2の特徴に加えて、スイッチ手段はマイクロスイッチとし、そのマイクロスイッチの端子を配線基板の裏面側から表面側に気密に貫通させて取り付けることで表面側の配線と電気接続してあることを第3特徴としている。
また本発明の微差圧スイッチ装置は、上記第1〜第3の何れかの特徴に加えて、コネクタ受部を形成したケース蓋を用い、ケースの開口にパッキンを介して配線基板の周縁部を重合させ更にその上から前記ケース蓋の周縁部を重合させて固定することによりケース蓋をケースに取り付け、これによってケース蓋の内側に配線基板を保護すると共に配線基板によりケース内を密閉するようにしてあることを第4特徴としている。
また本発明の微差圧スイッチ装置は、上記第1〜第3の何れかの特徴に加えて、コネクタ受部をケースの開口の周囲に該開口を囲繞する筒状受部として構成し、該筒状受部の下端にパッキンを介して配線基板を重合させて固定し、これによってケース内を密閉するようにすると共に前記筒状受部からなるコネクタ受部にコネクタ端子を収容して配置させるようにしてあることを第5の特徴としている。
また本発明の微差圧スイッチ装置は、ケースにダイヤフラムで仕切られる第1圧力室と第2圧力室とを設け、該第1圧力室と第2圧力室での圧力差をダイヤフラムの変位を介してとらえ、コイルバネを用いた差圧設定手段で予め設定した差圧になるとスイッチ手段によるスイッチング動作がなされるようにした微差圧スイッチ装置であって、
前記コイルバネとダイヤフラムとを圧力伝達レバーを介して相互に連結し、該圧力伝達レバーに生じる位置変位によってスイッチ手段のスイッチング動作を行わせるようにしたことを第6の特徴としている。
また本発明の微差圧スイッチ装置は、上記第6の特徴に加えて、圧力伝達レバーを略L字形状とし、これによって圧力伝達レバーを介して連結されるコイルバネとダイヤフラムとを略平行に配置するようにしたことを第7特徴としている。
また本発明の微差圧スイッチ装置は、上記第6又は第7の特徴に加えて、圧力伝達レバーとダイヤフラムとの連結は、圧力伝達レバーによる円周方向への回動によるもダイヤフラムの中心軸が常に垂直方向を向くようにした連結姿勢保持手段を用いて行っていることを第8特徴としている。
請求項1に記載の微差圧スイッチ装置によれば、ケース内にダイヤフラムで仕切られる第1圧力室と第2圧力室とを設け、該第1圧力室と第2圧力室での圧力差をダイヤフラムの変位でとらえて、スイッチ手段によるスイッチング動作を行わせるようにした微差圧スイッチ装置であって、スイッチング動作信号を伝達するための配線を表裏面間に気密に貫通して設けた配線基板を用い、この配線基板を前記ケースの開口に被着することでケース内を密閉すると共に前記スイッチ手段によるスイッチング動作信号をケース外へ導出可能とし、且つケース蓋若しくはケースの一部にコネクタ端子を収容して配置させるコネクタ受部を形成することで、装置外部からの配線のコネクタ端子をコネクタ受部で装置側のコネクタ端子と接続自在としたので、
装置内の配線を集積して簡素化することができる配線基板を兼用してケース内を密閉するようにしているので、ケース内に配線基板を配置するような場合に比べて、内部構造や内部配線構造を大幅に簡素化することができる。そしてケース蓋には機密性保持の要請がなくなるので、外部配線との接続をコネクタで行うためのコネクタ受部をケース蓋に構成しても、気密性の保持に必要な厳密で複雑な構成とすることなく、簡単な構成でコネクタ受部を構成することができ、コネクタによる外部配線との簡単で容易な接続を行うことができる。勿論、コネクタ受部をケースに構成しても、そのコネクタ受部においてケースに厳密な気密性、密閉性保持の複雑な構成を必要としないので、ケースの構造が複雑とならない。
しかも配線基板には、スイッチング動作信号を伝達するための配線を表裏面間に気密に貫通して設けているので、ケース内におけるスイッチング動作信号を配線基板を介して簡単に且つ機密性を保持してケース外へ導出することができる。勿論、このような配線基板を予め構成しておくことで、装置組立ての際には単に配線基板を装置本体の開口に被着して密閉するだけでよく、装置組立ての際に配線を気密に貫通させる作業等は全く必要としなくなる。
また請求項2に記載の微差圧スイッチ装置によれば、上記請求項1に記載の構成による作用効果に加えて、配線基板はプリント配線基板とし、配線基板の裏面側にスイッチ手段を取り付けると共に配線基板の表面側にはコネクタ受部に収容されるコネクタ端子を取り付けてあるので、
装置本体内に配置されるべきスイッチ手段と装置本体外の外部配線のコネクタ端子に対して接続するために必要なコネクタ端子とを1つのプリント配線基板の裏面側と表面側に集約した状態で構成することができ、これらの部材を予め備えた基板を用いることで、装置の組立てが非常に簡単、容易となる。勿論、スイッチ手段から外部配線との接続端子(コネクタ端子)までの全配線をプリント配線基板に集約することができ、実質的に配線作業を必要とすることなく装置を組立てることができる。よってまた装置内での配線構造を十分にシンプルにした、低コストの装置とすることができる。
勿論、装置組立て時にプリント配線基板に構成したコネクタ端子をケース蓋やケースのコネクタ受部に収容することで、外部配線のコネクタ端子に対する接続の受口をもつ装置を簡単に構成することができる。
また請求項3に記載の微差圧スイッチ装置によれば、上記請求項1又は2に記載の構成による作用効果に加えて、スイッチ手段はマイクロスイッチとし、そのマイクロスイッチの端子を配線基板の裏面側から表面側に気密に貫通させて取り付けることで表面側の配線と電気接続してあるので、
ケース内に設けられるスイッチ手段としてマイクロスイッチを用いることで、スイッチング部分を自製することなく、市販のものを用いて簡単に作成することができる。そしてマイクロスイッチの端子そのものを配線基板の裏面側から表面側に貫通して気密に取り付けた配線基板を用いることで、装置本体内でのスイッチチング動作信号を非常に簡単に、そのまま装置本体外に導出することができる。よって装置本体の表側(配線基板の表面側)に導出されたスイッチング動作信号を表側の配線を介して、外部配線とのコネクタ端子に簡単に配線することができる。
また請求項4に記載の微差圧スイッチ装置によれば、上記請求項1〜3の何れかに記載の構成による作用効果に加えて、コネクタ受部を形成したケース蓋を用い、ケースの開口にパッキンを介して配線基板の周縁部を重合させ更にその上から前記ケース蓋の周縁部を重合させて固定することによりケース蓋をケースに取り付け、これによってケース蓋の内側に配線基板を保護すると共に配線基板によりケース内を密閉するようにしてあるので、
フラットな配線基板の周縁部を利用して、パッキンにより十分確実にケースの開口に気密に被着することができ、ケース内を気密に密閉することができる。その際、配線基板の上からケース蓋の周縁部を重合して、一緒に固定しているので、ケース蓋の重合による補強、補充効果が発揮されて、より確実な密閉を確保することができる。しかも配線基板はケース蓋によって覆われるので、外部に晒されることがなく、保護される。
また請求項5に記載の微差圧スイッチ装置によれば、上記請求項1〜3の何れかに記載の構成による作用効果に加えて、コネクタ受部をケースの開口の周囲に該開口を囲繞する筒状受部として構成し、該筒状受部の下端にパッキンを介して配線基板を重合させて固定し、これによってケース内を密閉するようにすると共に前記筒状受部からなるコネクタ受部にコネクタ端子を収容して配置させるようにしてあるので、
フラットな配線基板の周縁部を利用して、パッキンにより十分確実にケースの開口に気密に被着することができ、ケース内を気密に密閉することができる。その際、ケース蓋の重合による保護はないが、コネクタ受部をケースの開口を囲繞する筒状受部の下端にパッキンを介して配線基板を重合させて固定しているので、配線基板は実質的にケース内に保護された状態となり、ケース蓋がなくても保護ができる。
また請求項6に記載の微差圧スイッチ装置によれば、ケースにダイヤフラムで仕切られる第1圧力室と第2圧力室とを設け、該第1圧力室と第2圧力室での圧力差をダイヤフラムの変位を介してとらえ、コイルバネを用いた差圧設定手段で予め設定した差圧になるとスイッチ手段によるスイッチング動作がなされるようにした微差圧スイッチ装置であって、前記コイルバネとダイヤフラムとを圧力伝達レバーを介して相互に連結し、該圧力伝達レバーに生じる位置変位によってスイッチ手段のスイッチング動作を行わせるようにしたので、
差圧設定手段のコイルバネとダイヤフラムとを直接的に連結する必要がないので、両者の配置位置や配置姿勢を、相互に拘束されることなく自由に配置することができる。よってケース内のスペースを考慮した配置が可能となる。
また圧力伝達レバーを介在させることで、コイルバネの変位及びダイヤフラムの変位を圧力伝達レバーを介してより増長して或いは縮小してスイッチ手段に伝達することが可能となる。よってより安定した適切なスイッチング動作をさせることが可能となる。
また請求項7に記載の微差圧スイッチ装置によれば、上記請求項6に記載の構成による作用効果に加えて、圧力伝達レバーを略L字形状とし、これによって圧力伝達レバーを介して連結されるコイルバネとダイヤフラムとを略平行に配置するようにしたので、
ダイヤフラムの広がり方向と略平行にコイルバネを配置させることができる。よって装置をよりコンパクトに構成することが可能となると共に、より小さい微差圧でのスイッチング動作を正確、確実に行うことができる。またスイッチング動作を行うことができる範囲(圧力レンジ)を広くすることができる。
即ち、従来のこの種の微差圧スイッチ装置の場合は、一般に水平方向におかれるダイヤフラムの中心においてコイルバネが垂直方向にて連結されている。このため、垂直方向に配置されたコイルバネの長さを短くすると、装置の高さ方向を低く抑えることができるが、コイルバネのバネ定数が大きくなって小さな差圧に対応できなくなる。これを解消するには、水平方向に配置されるダイヤフラムの径を大きくしなければならない。一方、水平方向に配置されるダイヤフラムの径を小さくすると、小さな差圧に対応するためには垂直方向に配置されるコイルバネの長さを長くしてバネ定数を小さくする必要が生じる。結局、従来の装置の場合には、装置のコンパクト化がうまくできなかった。本発明では、ダイヤフラムとコイルバネとを略平行に配置することが可能になったので、ダイヤフラムの径とコイルバネの長さを適当に揃えることで、小さい差圧でのスイッチング動作を広範囲の圧力レンジにわたって確保できる性能を備えつつ且つコンパクトな装置の実現が可能となった。
また請求項8に記載の微差圧スイッチ装置によれば、上記請求項6又は7に記載の構成による作用効果に加えて、圧力伝達レバーとダイヤフラムとの連結は、圧力伝達レバーによる円周方向への回動によるもダイヤフラムの中心軸が常に垂直方向を向くようにした連結姿勢保持手段を用いて行っているので、
垂直方向への膨縮がなされるダイヤフラムと円周方向への回動がなされる圧力伝達レバーとの連結における連結部分でのダイヤフラムに生じる軸のぶれや摩擦などの悪影響が解消され、より正確で安定したスイッチング動作を確保することができる。
以下の図面を参照して、本発明の実施形態に係る微差圧スイッチ装置について説明する。
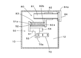
図1は本発明の実施形態に係る微差圧スイッチ装置の分解斜視図、図2は本発明の実施形態に係る微差圧スイッチ装置の縦断面図、図3は圧力伝達レバー等を示す分解斜視図、図4はダイヤフラムと圧力伝達レバーとの連結部分を示す拡大側面図、図5はダイヤフラムと圧力伝達レバーとの連結部分を示す拡大正面図、図6はダイヤフラムを介した両圧力室間に差圧がない場合の圧力伝達レバーとマイクロスイッチの状態を説明する簡略縦断面図、図7はダイヤフラムを介した両圧力室間に差圧がある場合の圧力伝達レバーとマイクロスイッチの状態を説明する簡略縦断面図、図8は差圧設定手段による差圧の上限位置を説明する簡略水平断面図、図9は差圧設定手段による差圧の下限位置を説明する簡略水平断面図である。図10は他の実施形態を示す簡略縦断面図である。
図1、図2を参照して、本発明の微差圧スイッチ装置は、ケース10と、配線基板20と、ケース蓋30とを有する。
前記ケース10の内部は、ダイヤフラム40によって仕切られる第1圧力室11と第2圧力室12とからなる。またケース10内にはダイヤフラム40の他、圧力伝達レバー50、連結姿勢保持手段60、マイクロスイッチ70、差圧設定手段80等が設けられている。
前記ケース10は、例えば樹脂で構成され、底部が、それより上の部分に対して、前記ダイヤフラム40を挟んだ形で結合されている。一方、ケース10の上部には開口が設けられている。
ケース10の上部の開口を構成する上部開口縁10aにゴム等のパッキン10bが取り付けられている。このパッキン10bは、例えば前記上部開口縁10aの肉厚内に設けた取付溝10cに装着して取り付けることができる。
また前記上部開口縁10aには、前記配線基板20とケース蓋30とをネジ固定するための取付ネジ孔10dが構成されている。なお、固定はネジ固定に限られない。
前記パッキン10bにより、前記上部開口縁10aの上面に配線基板20やケース蓋30を重合して被着した際に、ケース10内の密閉を確保するようにしている。
前記ケース10内は、前記ダイヤフラム40で仕切られた下方の室を第1圧力室11とし、ダイヤフラム40で仕切られた上方の室を第2圧力室12としている。下方の第1圧力室11は低圧室とされ、上方の第2圧力室12は高圧室とされている。
第1圧力室11及び第2圧力室12に対して、外部からの圧力(圧力媒体)を導入するための低圧導入口11a及び高圧導入口12aがそれぞれケース10に形成されている。
前記配線基板20は、例えばプリント配線基板として構成され、前記第1圧力室11と第2圧力室12での圧力差によるダイヤフラム40の変位によって行われるスイッチング動作の信号を伝達するための配線がプリント配線21として集約されて設けられている。そして配線基板20にその表裏面間を貫通するスルーホール21aを設けることで、配線基板20の裏面側と表面側との間で配線が電気接続された配線基板20になるようにしている。勿論、配線がなされ、配線基板20が部品として完成した時点では、前記スルーホール21aは導電性物質等で気密状態に充填された状態となっており、表裏面間での気密性は確保されている。
配線基板20は、ケース10の上部開口に被着される。このため、少なくとも配線基板20の周縁部はケース10の上部開口縁10aに丁度重合する寸法とフラットな形状とされる。実際には全面がフラットで、且つ剛性の樹脂性基板として構成されている。通孔20dが前記ケース10のネジ孔10dに対応して設けられている。
前記配線基板20の表面側には、前記プリント配線21と電気接続された形で、コネクタ雌端子22を一体に取り付けている。このコネクタ雌端子22は、装置外に配線される外部配線の図示しないコネクタ雄端子に対して、断接自在に接続されるものである。コネクタ雌端子22はコネクタ雄端子であってもよい。この場合は、外部配線のコネクタ雌端子と対になって接続が可能となる。
一方、配線基板20の裏面側には、スイッチ手段として上記マイクロスイッチ70を取り付けている。
本実施形態では、このマイクロスイッチ70の端子70cを、配線基板20の裏面側から前記スルーホール21aを利用して直接的に表面側に気密貫通させ、表面側のプリント配線21に直接的に電気接続させた状態に構成している。勿論、マイクロスイッチ70は、その端子を配線基板20の裏面側に取り付けて、裏面側に設けたプリント配線21からスルーホール21aを介して気密に表面側のプリント配線21に電気接続するようにしてもよい。
前記ケース蓋30は、例えばケース10と同じ樹脂で構成することができる。該ケース蓋30はケース10の上部の開口に被着するものであるが、ケース10内を気密に保持する要請はない。従ってケース蓋30の形状や構造に対する自由度は高い。ケース蓋30の周辺には、前記配線基板20の周縁部に重合し且つケース10の上部開口縁10aに外嵌する被着段部30aが設けられている。ケース蓋30の前記被着段部30aを除く中央部分は、少し凸状に膨出しており、配線基板20の表面には接しないようにされている。
またケース蓋30には、前記ケース10の上部開口縁10aに設けた取付ネジ孔10dに対応する通孔30dが設けられている。
ケース蓋30にはコネクタ受部31を形成している。該コネクタ受部31は、装置外の配線をコネクタを介して装置内の配線と接続できるようにするためのものである。該コネクタ受部31は、ケース蓋30の周縁部の一部を上方に突出させて形成すると共に、側方に向けて受口31aを開口している。
コネクタ受部31には、装置組立て時に前記配線基板20に構成したコネクタ雌端子22が収容されることになる。そして組立てが完成した装置においては、前記コネクタ受部31の受口31aから外部配線のコネクタ雄端子が差し込まれて、コネクタ雌端子22に接続される構成となる。
ケース10と配線基板20とケース蓋30とによる装置の組立ては次のようにしてなされる。即ち、上部開口縁10aにパッキン10bを取り付けたケース10に対して、コネクタ雌端子22を表面(上面)側にマイクロスイッチ70を裏面(下面)側に取り付けた配線基板20を、前記上部開口縁10aに重合し、更にその上からケース蓋30を重合する。その際、配線基板20のコネクタ雌端子22をケース蓋30のコネクタ受部31に収容して組み込む。配線基板20とケース蓋30が重合されたケース10に対して、図示しないネジを通孔30d、20dを通して前記取付ネジ孔10dに螺着して、全体を一体に結合する。この結合によって、ケース10の上部開口が密閉される。また前記密閉により第2圧力室12が気密状態に形成される。
このようにして装置が組立てられることで、ケース10内が気密状態に密閉されると共に、ケース10内に生じたスイッチング動作信号が配線基板20を介して配線基板20の表面側に容易に導出され、コネクタ雌端子22に達する。このコネクタ雌端子22及び配線基板20は、それらを覆うケース蓋30によって保護される。
前記第1圧力室11と第2圧力室12とを上下に仕切るダイヤフラム40は、例えば材質としてゴムを用いた隔離膜であって、第1圧力室11と第2圧力室12の室内圧力によって第1圧力室11側へ膨出したり第2圧力室側へ膨出したりする。
ダイヤフラム40の中央部分は、挟着円盤41を装着している。この挟着円盤41は、例えば円盤状の金属製の板とすることができる。挟着円盤41を取り付けることで、ダイヤフラム40に連結具等を取り付けるのが容易となり、またダイヤフラム40をバランスよく上下方向に変位させることができる。
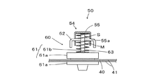
前記圧力伝達レバー50は前記差圧設定手段80のコイルバネ83と前記ダイヤフラム40とを連結するものであって、全体として略L字形状に構成されている。この圧力伝達レバー50は、コイルバネ83が有するバネ付勢力をダイヤフラム40側へ伝え、またダイヤフラム40に発生する力をコイルバネ83に伝える役割をする。そして圧力伝達レバー50の位置の変位によって前記マイクロスイッチ70によるスイッチング動作が行われるようにされている。
図3も参照して、圧力伝達レバー50は、例えば金属製とすることができるが、第1レバー部51と、第2レバー部54と、第3レバー部57とで構成される。
第1レバー部51は、全体として略L字形状とされており、垂直部51aと水平部51bとを有している。
前記垂直部51aには、差圧設定手段80のコイルバネ83を受け止めるバネ受部52が水平方向に突出して設けられている。バネ受部52は、前記コイルバネ83を受け止め易い楕円形突起に形成されている。
前記水平部51bには、その先部を側方に突出させてスイッチ片受部53を形成している。また水平部51bに結合用のネジ孔51cが設けられている。
第2レバー部54は、その主要部を下向溝型片部55で構成し、その下向溝型片部55の基部の両側に一対の軸受片部56、56を形成している。
前記下向溝型片部55には、下向溝Mが構成されている。この下向溝Mを構成する下向溝型片部55の途中位置の両側壁間にピン孔55aが設けられている。このピン孔55aには後述する連結ピン62が差し込まれる。また下向溝型片部55の上壁には前記第1レバー部51のネジ孔51cに対応してネジ孔55cが設けられている。
前記軸受片部56、56には、第3レバー部57に枢支されるための枢軸孔56bが設けられている。この枢軸孔56bには第3レバー部57の枢軸ピン57cが差し込まれる。
第3レバー部57は、第1レバー部51と結合される第2レバー部54を回動自在に枢支する機能を果たす。コ字型支持枠部57aに、枢軸ピン57cを通すための枢軸受孔57bが設けられている。またコ字型支持枠部57aの前部上縁に、折曲げ形成された取付片部57dが設けられている。取付片部57dには結合用孔57eが設けられ、ケース10内に構成された図示しない固定枠部にネジ等で固定されるようにしている。
圧力伝達レバー50の組立ては、第1レバー部51と第2レバー部54とを両者のネジ孔51c、55cを用いてネジ等で結合し、結合したものを更に枢軸孔56bを用いて、枢軸ピン57cで、第3レバー部57の枢軸受孔57bに枢支することにより行う。完成された圧力伝達レバー50は、結合用孔57eを用いてケース10内に結合固定される。
ケース10内に取り付けられた圧力伝達レバー50は、略L字形状の屈曲部を中心に回動動作することになる。
前記ダイヤフラム40と圧力伝達レバー50との連結は、連結姿勢保持手段60を用いて行われる。
図4、図5も参照して、連結姿勢保持手段60は、連結軸部材61と、連結ピン62と、制動コイルバネ63とからなり、前記圧力伝達レバー50の下向溝型片部55の溝Mを利用して、ダイヤフラム40と圧力伝達レバー50との連結を行う。
前記連結軸部材61は、ダイヤフラム40の中心軸X上に取り付けられる部材で、取付基部61aと突出軸部61bとからなる。
前記取付基部61aは2つの部材からなり、ダイヤフラム40の中心部分に表裏両側から挟着する状態で結合されている。
前記突出軸部61bは、例えば扁平な形状をした突出部とし、前記中心軸Xを通って直角方向に交差する連結ピン孔61cを設けている。また突出軸部61bには制動コイルバネ63が装着されている。
前記ダイヤフラム40と圧力伝達レバー50の連結は、前記連結軸部材61の連結ピン孔61cに前記連結ピン62を貫通させ、更に連結ピン62を圧力伝達レバー50の下向溝型片部55の一対のピン孔55aに貫通させて取り付けることで行われる。
このようにしてダイヤフラム40と圧力伝達レバー50とは、ダイヤフラム40の中心軸X上で連結される。そしてその連結が連結ピン62を用いて行われることで、圧力伝達レバー50の回動による変位とダイヤフラム40の中心軸Xの方向での変位とが相互にスムーズに行われるようにしている。即ち、ダイヤフラム40が水平に配置される場合は、その中心軸Xが常に垂直方向を向く状態で連結され、圧力伝達レバー50が回動変位されてもダイヤフラム40の変位は常に垂直方向に行われるようにしている。
特に、制動コイルバネ63を突出軸部61bに装着して、制動コイルバネ63と前記溝Mの両壁(下向溝型片部55の両壁)との間に僅かな隙間Sだけを構成することで、ダイヤフラム40の中心軸Xが連結ピン62の軸方向にブレを生じるのを防止することができる。即ち、ダイヤフラム40の中心軸X上の突出軸部61bの連結ピン孔61cが連結ピン62上をその中心位置からズレようとすると、制動コイルバネ63が溝Mの内壁に当接し、それ以上の動きを制止する。このとき制動コイルバネ63はコイルで且つバネであることから、溝Mの壁面との接触面積を最小に抑えつつ且つ壁面に対して広範囲で接触することを可能として、良好な制動動作を確保することができる。
前記スイッチ手段を構成するマイクロスイッチ70は、回路がケース内に収められ、ケース外にはスイッチレバー70aと従動ボタン70bと端子70cとが現れた部品として構成されている。前記マイクロスイッチ70は市販のものを利用することができる。
前記スイッチレバー70aの変位により従動ボタン70bが従動し、内部回路におけるスイッチング動作が行われる。
マイクロスイッチ70は、既述したように、配線基板20の裏面側に取り付けられる。そして前記スイッチレバー70aが圧力伝達レバー50のスイッチ片受部53上に当接するように構成して、圧力伝達レバー50の変位に応じてスイッチレバー70aが従動するようになされている。
端子70cは、既述したように、前記配線基板20の裏面側からスルーホール21aを介して直接的に表面側まで貫通させ、表面側のプリント配線21と電気接続している。
本実施形態では、スイッチレバー70aの圧力伝達レバー50への当接点は、ダイヤフラム40と圧力伝達レバー50との連結点よりも、圧力伝達レバー50の枢軸(枢軸ピン57c)に近い位置に設けられているが、逆に遠い位置に設けても、前記スイッチレバー70aの当接点は、差圧検出を正確に行うのに適した位置が選ばれることになる。
図8、図9も参照して、前記差圧設定手段80は、スイッチング動作が行われる差圧を設定するものである。送りネジ81と、該送りネジ81の回転によって進退されるバネ伸縮調節部82と、コイルバネ83と、調節ダイヤル84とで構成されている。
前記調節ダイヤル84には、差圧を設定する設定目盛り84aが設けられている。該調節ダイヤル84はケース10の側方に突出して設けられて、設定操作ができるようになされている。調節ダイヤル84を回すと、前記送りネジ81が回転し、この回転により前記バネ伸縮調節部82が進退される。
バネ伸縮調節部82は前記送りネジ81に噛合った本体に対して、該本体から側方に出っ張った腕部82aを有し、該腕部82aにバネ受部82bを設けている。該バネ受部82bは上記した圧力伝達レバー50のバネ受部52に対応するもので、コイルバネ83の一方の端部に嵌まり合っている。
本実施形態では、圧力伝達レバー50を介在させることで、コイルバネ83の配置を、ダイヤフラム40と平行にすることが可能となった。即ち、コイルバネ83の軸芯がダイヤフラム40の広がり方向と同方向にすることができる。よって、コイルバネ83とダイヤフラム40とが90度の角度をもって配置される場合に比べて、装置を十分にコンパクトにすることが可能となる。即ち、通常、コイルバネ83の長さを短くするとダイヤフラム40を大きくする必要が生じ、ダイヤフラム40を小さくするとコイルバネ83を長くする必要が生じる。このためダイヤフラム40とコイルバネ83とを相互に垂直に配したものでは、装置の高さ方向と幅方向の両方を短い寸法にしてコンパクト化を図ることができなかった。本発明ではダイヤフラム40とコイルバネ83とを平行に配することができたので、ダイヤフラム40とコイルバネ83の長さを適当に整えることで、微差圧を検出でき且つ広範囲での調整が可能なものをコンパクトな形状で構成することが可能となる。
図8は差圧の設定が上限値(最大設定差圧)とされたときのコイルバネ83の状態を示し、また図9は差圧の設定が下限値(最小設定差圧)とされたときのコイルバネ83の状態を示している。
コイルバネ83は、本実施形態では、いわゆる圧縮方式或いは圧縮バネ方式で使用している。即ち、差圧の設定をコイルバネ83の寸法を圧縮する方向で設定している。
コイルバネ83は、その一端が差圧設定手段80のバネ伸縮調節部82の腕部82aのバネ受部82bで支持され、他の一端が圧力伝達レバー50の第1レバー部51の垂直部51aのバネ受部52で支持されている。
今、調節ダイヤル84を回して所定の差圧を設定すると、送りネジ81、バネ伸縮調節部82を介してコイルバネ83が圧縮される方向に押される。これにより圧力伝達レバー50が枢軸(枢軸ピン57c)を中心に回動し、マイクロスイッチ70のスイッチレバー70aを持ち上げた状態にして初期の位置が定まる。このときダイヤフラム40も圧力伝達レバー50によって持ち上げられた状態に初期の位置が定まる。
図6は、差圧設定をした状態で、未だ第1圧力室11と第2圧力室12との間に圧力差が生じていない状態を示す。
そして図7に示すように、第2圧力室12に高圧が導入され、第1圧力室11との間に圧力差(差圧)が生じると、ダイヤフラム40が第2圧力室12から第1圧力室11側に押され、下方に下がる。これにより連結姿勢保持手段60を介して圧力伝達レバー50がコイルバネ83の付勢力に抗して下方に回動(図面上において右回転)する。そしてマイクロスイッチ70のスイッチレバー70aが下動し、従動ボタン70bが従動する。このようにして第2圧力室12と第1圧力室11との差圧が設定した差圧になると、マイクロスイッチ70内でのスイッチング動作が行われる。
前記設定目盛り84aは、例えば前記調節ダイヤル84の周縁に差圧設定の気圧を20〜200Paまで目盛りが印刷されている。その気圧範囲で差圧設定を目盛りに合わせて0.5Pa毎の調節を行うことができる。このような小さい差圧間隔で、且つ広範囲にわたるスイッチング動作ができるのは、圧力伝達レバー50を設けることによりコイルバネ83とダイヤフラム40とを平行(略平行を含む)に配することで、ダイヤフラム40の大きさに対してコイルバネ83の長さをダイヤフラムの幅を超えない程度に十分に長くすることが可能となったことによるものである。勿論、コイルバネ83を圧縮バネ方式で用いることも他の理由の1つである。
なお上記実施形態では、送りネジ81に嵌り合うバネ伸縮調節部82に側方に出っ張った腕部82aを設け、この腕部82aに設けたバネ受部82bでコイルバネ83を受けるようにした。このようにすることで、コイルバネ83に十分なストロークを確保することを可能にすると共に、その方向での装置のコンパクト化を実現している。即ち、従来の装置では、一般にコイルバネと該コイルバネを送る送りネジとが同軸上に配置されていたため、その方向に大きなスペースをとり、またコイルバネの寸法を長くできない問題があった。しかし本発明の微差圧装置を用いることにより、このような問題を解消できる。
図10に示す他の実施形態は、以上の実施形態の場合ではコネクタ受部31をケース蓋30に設けたのに対し、コネクタ受部91をケース10に直接的に設けたものである。
ケース10の天壁の一部に形成した開口の周囲を垂下させることで、開口を囲繞する筒状受部とし、これをコネクタ受部91としている。そしてこのコネクタ受部91の筒状受部の下端面に対して、取付溝10eに取り付けたパッキン10bを介して配線基板20を重合させて固定し、これによって開口を密閉し、ケース10内を気密に密閉している。配線基板20の表面側にコネクタ雌端子22を取り付け、裏面側にスイッチ手段としてのマイクロスイッチ70を設けている。そして前記コネクタ雌端子22をケース10のコネクタ受部91の受口91a内に収容して配置し、固定している。本実施形態では、既述した実施形態におけるケース蓋30は設けられていない。
他の構成は既述したものと同様であり、同様の機能、作用を果たす部材、要素には図10において同様の符号を示す。
本発明の実施形態に係る微差圧スイッチ装置の分解斜視図である。 本発明の実施形態に係る微差圧スイッチ装置の縦断面図である。 圧力伝達レバー等を示す分解斜視図である。 ダイヤフラムと圧力伝達レバーとの連結部分を示す拡大側面図である。 ダイヤフラムと圧力伝達レバーとの連結部分を示す拡大正面図である。 ダイヤフラムを介した両圧力室間に差圧がない場合の圧力伝達レバーとマイクロスイッチの状態を説明する簡略縦断面図である。 ダイヤフラムを介した両圧力室間に差圧がある場合の圧力伝達レバーとマイクロスイッチの状態を説明する簡略縦断面図である。 差圧設定手段による差圧の上限位置を説明する簡略水平断面図である。 差圧設定手段による差圧の下限位置を説明する簡略水平断面図である。 本発明の他の実施形態に係る微差圧スイッチ装置を示す簡略縦断面図である。
符号の説明
10 ケース
10a 上部開口縁
10b パッキン
10c 取付溝
10d 取付ネジ孔
10e 取付溝
11 第1圧力室
11a 低圧導入口
12 第2圧力室
12a 高圧導入口
20 配線基板
20d 通孔
21 プリント配線
21a スルーホール
22 コネクタ雌端子
30 ケース蓋
30a 被着段部
30d 通孔
31 コネクタ受部
31a 受口
40 ダイヤフラム
41 挟着円盤
50 圧力伝達レバー
51 第1レバー部
51a 垂直部
51b 水平部
51c ネジ孔
52 バネ受部
53 スイッチ片受部
54 第2レバー部
55 下向溝型片部
55a ピン孔
55c ネジ孔
56 軸受片部
56b 枢軸孔
57 第3レバー部
57a コ字型支持枠部
57b 枢軸受孔
57c 枢軸ピン
57d 取付片部
57e 結合用孔
60 連結姿勢保持手段
61 連結軸部材
61a 取付基部
61b 突出軸部
61c 連結ピン孔
62 連結ピン
63 制動コイルバネ
70 マイクロスイッチ
70a スイッチレバー
70b 従動ボタン
70c 端子
80 差圧設定手段
81 送りネジ
82 バネ伸縮調節部
82a 腕部
82b バネ受部
83 コイルバネ
84 調節ダイヤル
84a 設定目盛り
91 コネクタ受部
91a 受口
M 溝
S 隙間
X 中心軸

Claims (8)

  1. ケース内にダイヤフラムで仕切られる第1圧力室と第2圧力室とを設け、該第1圧力室と第2圧力室での圧力差をダイヤフラムの変位でとらえて、スイッチ手段によるスイッチング動作を行わせるようにした微差圧スイッチ装置であって、
    スイッチング動作信号を伝達するための配線を表裏面間に気密に貫通して設けた配線基板を用い、この配線基板を前記ケースの開口に被着することでケース内を密閉すると共に前記スイッチ手段によるスイッチング動作信号をケース外へ導出可能とし、且つケース蓋若しくはケースの一部にコネクタ端子を収容して配置させるコネクタ受部を形成することで、装置外部からの配線のコネクタ端子をコネクタ受部で装置側のコネクタ端子と接続自在としたことを特徴とする微差圧スイッチ装置。
  2. 配線基板はプリント配線基板とし、配線基板の裏面側にスイッチ手段を取り付けると共に配線基板の表面側にはコネクタ受部に収容されるコネクタ端子を取り付けてあることを特徴とする請求項1に記載の微差圧スイッチ装置。
  3. スイッチ手段はマイクロスイッチとし、そのマイクロスイッチの端子を配線基板の裏面側から表面側に気密に貫通させて取り付けることで表面側の配線と電気接続してあることを特徴とする請求項1又は2に記載の微差圧スイッチ装置。
  4. コネクタ受部を形成したケース蓋を用い、ケースの開口にパッキンを介して配線基板の周縁部を重合させ更にその上から前記ケース蓋の周縁部を重合させて固定することによりケース蓋をケースに取り付け、これによってケース蓋の内側に配線基板を保護すると共に配線基板によりケース内を密閉するようにしてあることを特徴とする請求項1〜3の何れかに記載の微差圧スイッチ装置。
  5. コネクタ受部をケースの開口の周囲に該開口を囲繞する筒状受部として構成し、該筒状受部の下端にパッキンを介して配線基板を重合させて固定し、これによってケース内を密閉するようにすると共に前記筒状受部からなるコネクタ受部にコネクタ端子を収容して配置させるようにしてあることを特徴とする請求項1〜3の何れかに記載の微差圧スイッチ装置。
  6. ケースにダイヤフラムで仕切られる第1圧力室と第2圧力室とを設け、該第1圧力室と第2圧力室での圧力差をダイヤフラムの変位を介してとらえ、コイルバネを用いた差圧設定手段で予め設定した差圧になるとスイッチ手段によるスイッチング動作がなされるようにした微差圧スイッチ装置であって、
    前記コイルバネとダイヤフラムとを圧力伝達レバーを介して相互に連結し、該圧力伝達レバーに生じる位置変位によってスイッチ手段のスイッチング動作を行わせるようにしたことを特徴とする微差圧スイッチ装置。
  7. 圧力伝達レバーを略L字形状とし、これによって圧力伝達レバーを介して連結されるコイルバネとダイヤフラムとを略平行に配置するようにしたことを特徴とする請求項6に記載の微差圧スイッチ装置。
  8. 圧力伝達レバーとダイヤフラムとの連結は、圧力伝達レバーによる円周方向への回動によるもダイヤフラムの中心軸が常に垂直方向を向くようにした連結姿勢保持手段を用いて行っていることを特徴とする請求項6又は7に記載の微差圧スイッチ装置。
JP2008213489A 2008-08-22 2008-08-22 微差圧スイッチ装置 Expired - Fee Related JP5191836B2 (ja)

Priority Applications (1)

Application Number Priority Date Filing Date Title
JP2008213489A JP5191836B2 (ja) 2008-08-22 2008-08-22 微差圧スイッチ装置

Applications Claiming Priority (1)

Application Number Priority Date Filing Date Title
JP2008213489A JP5191836B2 (ja) 2008-08-22 2008-08-22 微差圧スイッチ装置

Publications (2)

Publication Number Publication Date
JP2010049949A true JP2010049949A (ja) 2010-03-04
JP5191836B2 JP5191836B2 (ja) 2013-05-08

Family

ID=42066858

Family Applications (1)

Application Number Title Priority Date Filing Date
JP2008213489A Expired - Fee Related JP5191836B2 (ja) 2008-08-22 2008-08-22 微差圧スイッチ装置

Country Status (1)

Country Link
JP (1) JP5191836B2 (ja)

Cited By (1)

* Cited by examiner, † Cited by third party
Publication number Priority date Publication date Assignee Title
CN104037015A (zh) * 2013-03-08 2014-09-10 上海骏颉自动化设备有限公司 一种风动开关

Citations (5)

* Cited by examiner, † Cited by third party
Publication number Priority date Publication date Assignee Title
JPH032537U (ja) * 1981-07-17 1991-01-11
JP2003018689A (ja) * 2001-06-29 2003-01-17 Matsushita Electric Ind Co Ltd 音響再生装置
JP2004327401A (ja) * 2003-04-28 2004-11-18 Nagano Keiki Co Ltd 圧力スイッチ
JP3133580U (ja) * 2007-03-23 2007-07-19 株式会社山本電機製作所 マイクロスイッチ装置
JP2008004347A (ja) * 2006-06-21 2008-01-10 Fuji Electric Retail Systems Co Ltd 押釦装置

Patent Citations (5)

* Cited by examiner, † Cited by third party
Publication number Priority date Publication date Assignee Title
JPH032537U (ja) * 1981-07-17 1991-01-11
JP2003018689A (ja) * 2001-06-29 2003-01-17 Matsushita Electric Ind Co Ltd 音響再生装置
JP2004327401A (ja) * 2003-04-28 2004-11-18 Nagano Keiki Co Ltd 圧力スイッチ
JP2008004347A (ja) * 2006-06-21 2008-01-10 Fuji Electric Retail Systems Co Ltd 押釦装置
JP3133580U (ja) * 2007-03-23 2007-07-19 株式会社山本電機製作所 マイクロスイッチ装置

Cited By (1)

* Cited by examiner, † Cited by third party
Publication number Priority date Publication date Assignee Title
CN104037015A (zh) * 2013-03-08 2014-09-10 上海骏颉自动化设备有限公司 一种风动开关

Also Published As

Publication number Publication date
JP5191836B2 (ja) 2013-05-08

Similar Documents

Publication Publication Date Title
CN104246228B (zh) 阀、流体控制装置
US20110077063A1 (en) Mobile terminal device and waterproof case structure
JP2010074665A (ja) 電子機器および撮像機能付き電子機器
CN108370464A (zh) 麦克风
US9083870B2 (en) Drive device, image acquisition device, and electronic apparatus
WO2020192489A1 (zh) 一种移动终端
JP6838461B2 (ja) 油圧センサ取付構造
CN101504084A (zh) 阀装置及多层基板
US8567254B2 (en) Pressure sensor assembly
JP5191836B2 (ja) 微差圧スイッチ装置
CN101422023A (zh) 操作装置、包括操作装置的信息处理终端和用于操作装置和信息处理终端的组装方法
CN111586268B (zh) 成像装置及电子设备
CA2165376C (en) Piezoelectric type acceleration sensor with metallic case and resin package
WO2013065540A1 (ja) 圧力センサ装置
WO2018025471A1 (ja) 羽根駆動装置
WO2019210699A1 (zh) 发声装置
JP2019091017A (ja) レンズ駆動装置、カメラ装置及び電子機器
US12513468B2 (en) MEMS microphone chip
CN113130227B (zh) 开关、光学单元及操作装置
CN221575561U (zh) 密封结构及电子设备
WO2018121651A1 (zh) 一种声学装置及电子设备
JP7530851B2 (ja) 電子機器
CN220554094U (zh) 麦克风组件、麦克风集成结构及电子设备
JP2004309448A (ja) 磁気センサ
JP4835180B2 (ja) 圧力センサ

Legal Events

Date Code Title Description
A621 Written request for application examination

Free format text: JAPANESE INTERMEDIATE CODE: A621

Effective date: 20110801

A977 Report on retrieval

Free format text: JAPANESE INTERMEDIATE CODE: A971007

Effective date: 20121012

A131 Notification of reasons for refusal

Free format text: JAPANESE INTERMEDIATE CODE: A131

Effective date: 20121023

A521 Request for written amendment filed

Free format text: JAPANESE INTERMEDIATE CODE: A523

Effective date: 20121214

TRDD Decision of grant or rejection written
A01 Written decision to grant a patent or to grant a registration (utility model)

Free format text: JAPANESE INTERMEDIATE CODE: A01

Effective date: 20130115

A61 First payment of annual fees (during grant procedure)

Free format text: JAPANESE INTERMEDIATE CODE: A61

Effective date: 20130130

R150 Certificate of patent or registration of utility model

Ref document number: 5191836

Country of ref document: JP

Free format text: JAPANESE INTERMEDIATE CODE: R150

Free format text: JAPANESE INTERMEDIATE CODE: R150

FPAY Renewal fee payment (event date is renewal date of database)

Free format text: PAYMENT UNTIL: 20160208

Year of fee payment: 3

R250 Receipt of annual fees

Free format text: JAPANESE INTERMEDIATE CODE: R250

R250 Receipt of annual fees

Free format text: JAPANESE INTERMEDIATE CODE: R250

R250 Receipt of annual fees

Free format text: JAPANESE INTERMEDIATE CODE: R250

LAPS Cancellation because of no payment of annual fees