JP2010049539A - 部品購入単価低減支援システム - Google Patents

部品購入単価低減支援システム Download PDF

Info

Publication number
JP2010049539A
JP2010049539A JP2008213966A JP2008213966A JP2010049539A JP 2010049539 A JP2010049539 A JP 2010049539A JP 2008213966 A JP2008213966 A JP 2008213966A JP 2008213966 A JP2008213966 A JP 2008213966A JP 2010049539 A JP2010049539 A JP 2010049539A
Authority
JP
Japan
Prior art keywords
cost reduction
viewpoint
parts
purchase
rating
Prior art date
Legal status (The legal status is an assumption and is not a legal conclusion. Google has not performed a legal analysis and makes no representation as to the accuracy of the status listed.)
Granted
Application number
JP2008213966A
Other languages
English (en)
Other versions
JP5157746B2 (ja
Inventor
Yuji Noge
勇二 野毛
Current Assignee (The listed assignees may be inaccurate. Google has not performed a legal analysis and makes no representation or warranty as to the accuracy of the list.)
Ricoh Co Ltd
Original Assignee
Ricoh Co Ltd
Priority date (The priority date is an assumption and is not a legal conclusion. Google has not performed a legal analysis and makes no representation as to the accuracy of the date listed.)
Filing date
Publication date
Application filed by Ricoh Co Ltd filed Critical Ricoh Co Ltd
Priority to JP2008213966A priority Critical patent/JP5157746B2/ja
Publication of JP2010049539A publication Critical patent/JP2010049539A/ja
Application granted granted Critical
Publication of JP5157746B2 publication Critical patent/JP5157746B2/ja
Expired - Fee Related legal-status Critical Current
Anticipated expiration legal-status Critical

Links

Images

Landscapes

  • Management, Administration, Business Operations System, And Electronic Commerce (AREA)

Abstract

【課題】購入単価を低減するにはどの様な視点でコストダウン活動を行えば効率的なのかを明確するためのシステムを提供する。
【解決手段】製品に用いられる各部品について、少なくとも購入単価、使用個数からなる部品情報を格納するデータベースを管理する部品情報データベースサーバ1と、部品情報データベース1にネットワークを介して接続可能な端末装置20と、から構成し、端末20は、部品情報データベースサーバ1から取得した部品情報について、コストダウン可能性を格付けするための格付け評価項目と、各格付け評価項目に対して付けられた点数と、コストダウンの視点を明確にする視点評価項目と、各視点評価項目に対して付けられた点数と、を格納し、各部品について格付け評価項目の点数の総和を演算し、総和が相対的に大きな部品について、さらに、点数の最も大きな視点評価項目をコストダウンの視点として抽出するようにした。
【選択図】図1

Description

本発明は、製品に使用する部品の購入単価を低減するために必要な技術課題を明確にするスキームを支援するためのシステムに関する。
従来、製品に使用する部品を購入するコストを抑制するために、購入部品のコスト情報を集め最安値の部品を探すシステムが存在している(例えば特許文献1)。
しかしながら、実際の製品の要求仕様により最安値部品が使用できない場合もあり、最終的に製品システム評価の結果が良好なものを採用しているのが現状である。
そこで、製品への搭載が決定した部品に対しての継続的なコストダウン活動を行ってはいるものの、その活動は漠然としており、有効なコストダウンを行うにはどのようにすればよいかは不明確であり、課題も漠然としていた。
特開2003−296598公報
本発明は、かかる現状を鑑みてなされたものであり、現流機に搭載している部品の購入コスト(単価)を低減する為に必要な技術課題を明確し、課題抽出をシステマチックにするものである。
すなわち、設計生産委託している部品を購入している際、その購入単価を低減する手法を、所定の指標にて定量的に表し、効率的かつ効果的にコストダウン対象の部品を決め、技術課題抽出フローを用いて具体的な技術活動の抽出を支援する。
本発明は、購入単価を低減するにはどの様な視点でコストダウン活動を行えば効率的なのかを明確するためのシステムを提供すること目的とする。
かかる課題を解決するために、請求項1の発明は、製品に用いられる各部品について、少なくとも購入単価及び該製品に用いられる使用個数からなる部品情報を部品番号に関連づけて格納するデータベースを管理する部品情報データベースサーバと、該部品情報データベースにネットワークを介して接続可能である端末装置と、から構成され、前記端末装置は、前記部品情報データベースサーバから取得した部品情報について、コストダウン可能性を格付けするための複数の格付け評価項目と、各格付け評価項目に対し所定の規則に基づいて付けられた点数と、コストダウンの視点を明確にするための複数の視点評価項目と、各視点評価項目に対して所定の規則に基づいて付けられた点数と、を格納する機種部品データベースと、各部品について前記格付け評価項目の点数の総和を演算し、演算した総和の値が相対的に大きな部品について、さらに、点数の最も大きな前記視点評価項目をコストダウンの視点として抽出する演算手段と、を備えたことを特徴とする。
また、請求項2の発明は、前記各付け評価項目及び前記視点評価項目は、コスト低減効果の程度、購入価格、又はコスト低減活動のしやすい程度を指標化したものである請求項1に記載の部品購入単価低減支援システムを特徴とする。
また、請求項3の発明は、前前記コストダウンの視点は、少なくとも「2社購買」、「最適工程設定」、「部品のモジュール化」、「使用の最適化」の4つの視点からなる請求項1又は2に記載の部品購入単価低減支援システムを特徴とする。
また、請求項4の発明は、前記端末装置は、使用者に情報を提示するための表示手段を有し、前記機種部品データベースは、前記4つに分類した視点ごとにコストダウンを行うための手順を示すフローを有し、前記演算手段によってコストダウンの視点が抽出されると、抽出されたコストダウンの視点に該当するフローを前記表示手段に表示する請求項1乃至3の何れか一項に記載の部品購入単価低減支援システムを特徴とする。
本発明よれば、購入単価低減の目的を達成するために必要な各部品の情報を各データベースより、ネットワークにて接続している端末で容易に取得することができ、同時に各判断基準の自動演算を端末にて行うことで、コストダウンのし易さとしての格付け及びどの様な視点でコストダウンした方が効率的かを短時間で抽出することが可能である。
以下、図面を参照して本発明のシステムの好適な形態を詳細に説明する。
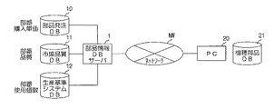
図1は、本発明のシステム構成の一例を示す図である。
本システムは、ネットワークNWを介して接続されている部品情報データベースサーバ1と端末装置20から主に構成されている。
部品情報データベースサーバ1は、製品ごとに用いられる部品についての情報を格納・管理するものであり、部品ごとに割り当てられた部品番号(部番)と各部品の購入単価を関連付けて管理する部品発注データベース10、部番と部品の品質を関連付けて管理する市場品質データベース11、部番と製品における使用個数、取引メーカを関連付けて管理する生産準備システムデータ12から構成される。
端末装置20は、PC(Personal Computer)等であり、ネットワークNWを介して各データベースに接続して格納されるデータを取得することができる。
図2は、図1の端末装置20の構成を示す機能ブロック図である。
図2に示すように、端末装置20は、主に、製品で使用する部品を機種毎にリスト付けした機種部品データベース21、必要な情報をユーザに入力させるキーボード等の入力手段22、使用するユーザに、必要な情報を入力させるための画面を表示したり、情報を提示したりするための表示手段としてのディスプレイ装置(表示装置)23、上記データベースから取得した情報やユーザによる入力をもとに演算を行う演算手段24、ネットワークNWに接続するためのネットワークインターフェイス25から構成されている。
端末装置20は、ネットワークを介して部品情報データベースサーバ1から、部品の購入単価、品質、製品における使用個数、取引メーカを取得して、機種部品データベース21に格納し、各部品について、コストダウンの可能性の格付けを行う。
すなわち、部品ごとにコストダウン可能性を格付けするための項目ごとに、後述する所定のルールに基づいた点数をつけ、機種部品データベース21にその情報を入力・格納する。
図3は機種部品データベース21に格納する項目の一覧を示す図である。
機種部品データベース21には、部品番号、部品リスト、仕入先等、単価の情報とともに、部品のコストダウン可能性(コストダウンのしやすさ)を格付けするための「格付け項目(格付け評価項目)」、コストダウンの着眼点を明確にし、実際に部品のコストダウンを行うための切り口(視点)を決定するための「コストダウン切り口(視点評価項目)」の項目を含んでいる。
詳しくは、「格付け項目」は「コスト比率」、「コスト総額」、「コスト差額」、「新機能部品」、「製品から見た部品の汎用性」、「部品製造工程から見た部品の汎用性」、「評価技術の有無」、「製品仕様の明確化」、「市場品質」等の項目からなる共通項目、コストダウン切り口は、「2社購買」、「部品のモジュール化」、「仕様の最適化」、「最適工程設定」の各項目から構成される。
さらに「コストダウン切り口」において、「2社購買」は、仕入れ先数、「部品のモジュール化」は、部品使用の明確化、部品全体から見た製品の汎用性の項目からなり、「仕様の最適化」は、部品仕様の明確化、部品製造工程から見た部品の汎用性、「最適工程設定」は、仕入れ先の協力度の項目等から構成される。
なお、「2社購買」は、仕入先の競合による購入価格の低減、「最適工程設定」は、無駄な工程の低減による購入価格の低減、部品のモジュール化は、集約化による購入価格の低減、仕様の最適化は、余剰機能の低減を図ることにより、コストダウンを図るための指標である。
図3に示すように、各項目には、下記に示す所定の規則に基づいた配点ルールに基づいた得点がつけられている。
図4は、「共通項目」に含まれる項目の詳細と指標(配点)を示す図であり、図5は、「コストダウン切り口」に含まれる項目の詳細と指標(配点)を示す図である。
ここで、項目ごとの配点は、
1.コストダウン効果が大きい
2.コストが高い
3.コストダウンがしやすい(難易度が低い)
の3つの視点から決定し、指標化したものである。ポイント数が大きい部品がコストダウンをしやすい部品と考える。
図4において、例えば、共通項目である「コスト総額」は購入単価に使用個数を掛け合わせたものであり、使用数量に対するコスト(製品1台あたりのコスト)である。例えば、1000円以上のものをポイント10、500円から1000円未満のものをポイント5、100円から500円未満のものをポイント3、100円未満のものポイント0とする。
また、「新規機能部品か?」の項目は、今まで製品に搭載されたことのない新規の機能、機構の部品であればポイント10、共通仕様でなくシリーズ機種で2度目の搭載であれば、ポイント7、新規機能あるいは機構の部品でなければポイント0とする。
これらのポイントが高い部品は、コストアップの要因であることが考えられるので、コストダウンの対象とするべきものであり、コストダウンの余地のある部品であるといえる。
また、図5に示す「コストダウン切り口」項目では、2社購買の項目の仕入れ先数の項目は、部品の仕入れ先が1社の寡占状態にあるか、2社以上が競合状態であるかを評価の視点としており、1社のみであれば、値段が下がらずコストアップの原因となるためポイント20、2社のみであればポイント3、3社以上であればポイント0とする。
図6は本システムにおける処理の流れを示すフローチャートである。
まず、端末装置20が起動され、部品情報データベースサーバ1に接続を行う(S100)。
端末装置20は、表示装置23に、図7に示すような、パスワードを入力させるための入力画面を表示し、入力手段22によってパスワードを入力させ、入力されたパスワードを部品情報データベースサーバ1に送信する(S101)。
部品情報データベースサーバ1は、送信されたパスワードを認証し、パスワードが正しく、正常に認証されると(S102でYes)、コストダウンの判断に供する部品の部品番号を入力させるための入力画面の表示に必要な情報を端末装置20に送信する。端末装置20は、この情報をもとに部品番号を入力させるための、図8に示すような入力画面を表示装置23に表示する(S105)。
パスワードが認証されない場合は(S102でNo)、端末装置20の表示装置23にアクセスが拒否された旨の表示がされて(S103)処理は終了される(S104)。
認証終了後、端末装置20に備えた入力手段22によって、部番が入力され(S106)、入力が完了されると(S107でYes)、端末装置20は、部番を部品情報データベースサーバ1に送信する(S108)。
部品情報データベースサーバ1は、送信された部番を基に各データベース10、11、12に対して検索を行い(S109)、該当する部番に関連付けられている購入単価、市場品質、使用個数、取引メーカなどの情報を検索結果として端末装置20に返す。
検索結果は、端末装置20に受信され(S110)、端末装置20は、検索結果を表示装置23に表示し、入力手段22によって、機種部品データベース21に予め入力してあった部品ごとの「格付けポイント」、「コストダウン切り口ポイント」を演算装置に入力する(S111)。
なお、購入単価、使用個数の情報は、図3のリストにおける「コスト総額(購入単価×使用個数)」の点数に影響を与えるため、これらの情報によって図3のリストを更新し、点数に変化が生じる場合は、点数も適宜変更するようにすればよい。
なお、図3のリストにおける点数は、予め入力しておくのではなく、部品情報データベースサーバ1から購入単価、市場品質、取引メーカ等のデータを受信した後で、表示装置23に入力のための画面を表示して、上記した配点に従って使用者に入力させるようにしてもよい。
次に、端末装置20の演算手段24は、各部品について、入力された「格付けポイント(共通項目)」の総和、「コストダウン切り口ポイント」の総和を演算する(S112)。
演算を終えると、演算手段24は、総和した格付けポイント、及びコストダウン切り口ポイントを表示装置23に表示する(S113)。
続いて、演算手段24は、格付けポイントの総和の値を順位付け、相対的に大きな部品をコストダウンのし易い部品(コストダウン対象の部品)として抽出する(S114)。
この際、コストダウンの対象部品とするポイントの値は、予め基準値を決めておき、格付けポイントの総和が、その値よりも大きければ、コストダウンの対象の部品とすればよい。
例えば基準値を30ポイントとすれば、共通項目の総和が28ポイントと低い部品番号CCの部品GHIについては、コストダウンの余地は少ないとして除外する。
こうして、部品毎に重み付けを行ってコストダウンを行う際に、どの部品から行うのが効果的かを算出することができ、闇雲にコストダウンを考えるのではなく、段階的に対象部品を絞ることが出来る。
次に、演算手段24は、抽出した部品について、ポイントの値が高いコストダウン切り口を抽出する(S115)。
そして、演算手段24は、コストダウン対象の部品について、ポイントの最も高いコストダウン切り口ポイントを機種部品データベース21に送信する(S116)。
例えば、図3中、部品番号DDの部品JKLは、共通項目のポイント合計が45と最も大きいことから最もコストダウンのし易い部品であり、さらにJKLについて、コストダウン切り口ポイントは「部品のモジュール化」のポイントが20と最も大きい。
従って、部品番号DDの部品JKLのコストダウン切り口として、「部品のモジュール化」がもっとも効果的な切り口として抽出される。
また、部品番号AAの部品ABCは、共通項目のポイント合計が42と大きいから、コストダウンのし易い部品とされ、さらに部品ABCについて、コストダウン切り口ポイントは「2社購買」が20であり一番大きい。
従って、部品ABCのコストダウン切り口として、「2社購買」が最も効果的な切り口として抽出される。
このようにして、部品ごとに、最も効果的で効率的とみなされるコストダウンのカテゴリを抽出することが本発明の特徴である。
なお、コストダウンのカテゴリが抽出した後で、コストダウンのためには実際にどのような技術的活動をすればよいかを提示する必要がある。
そこで、機種部品データベース21には、コストダウンのカテゴリごとに、具体的に行う技術的活動のフローを格納しておき、適宜使用者に提示可能にしておく。
演算手段は、抽出されたコストダウン切り口によるコストダウン活動の流れを示すフローチャートを機種部品データベースサーバ21から呼び出して(S117)、表示装置23に表示する(S118)。
使用者は、かかるフローに従って、コストダウン活動を行っていく。
図9は、具体的なコストダウン活動の手順を示すフローの一例を示す図である。
図9は、コストダウン切り口として、例えば「2社購買」が抽出された場合に表示するフローである。
使用者は、このフローチャートに基づいて、最終的に技術課題を明確にして活動を行い、コストダウンをおこなっていくことになる。
以上説明したように、本発明のシステムにおいては、購入単価低減の目的を達成するために必要な各部品の情報を各データベースより、ネットワークに接続している端末で容易に取得することができ、同時に各判断基準の自動演算を端末にて行うことで、コストダウンのし易さとしての格付け、及びどの様な視点でコストダウンするのが効率的かを短時間で抽出する事が可能である。
また、対象部品を絞った後、その部品はどの様な視点(現在4つの視点)でコストダウンできる可能性が有るのかを明確にする事が出来る。
さらに、コストダウンの可能性がある視点を絞った後、コストダウンをする為の具体的な技術活動を抽出して使用者に提示することが出来る。
本発明のシステム構成の一例を示す図。 図1の端末装置の構成を示す機能ブロック図 機種部品データベース21に格納する項目の一覧を示す図。 「共通項目」に含まれる項目の詳細と指標(配点)を示す図。 「コストダウン切り口」に含まれる項目の詳細と指標(配点)を示す図。 本システムにおける処理の流れを示すフローチャート。 パスワードを入力させるための入力画面を示す図。 部品番号を入力させるための入力画面を示す図。 具体的なコストダウン活動の手順を示すフローの一例を示す図。
符号の説明
1 部品情報データベースサーバ、10 部品発注データベース、11 市場品質データベース、12 生産準備システムデータ、20 端末装置、21 機種部品データベース、22 入力手段、23 表示装置、24 演算手段、25 ネットワークインターフェイス

Claims (4)

  1. 製品に用いられる各部品について、少なくとも購入単価及び該製品に用いられる使用個数からなる部品情報を部品番号に関連づけて格納するデータベースを管理する部品情報データベースサーバと、
    該部品情報データベースにネットワークを介して接続可能である端末装置と、から構成され、
    前記端末装置は、
    前記部品情報データベースサーバから取得した部品情報について、コストダウン可能性を格付けするための複数の格付け評価項目と、各格付け評価項目に対し所定の規則に基づいて付けられた点数と、コストダウンの視点を明確にするための複数の視点評価項目と、各視点評価項目に対して所定の規則に基づいて付けられた点数と、を格納する機種部品データベースと、
    各部品について前記格付け評価項目の点数の総和を演算し、演算した総和の値が相対的に大きな部品について、さらに、点数の最も大きな前記視点評価項目をコストダウンの視点として抽出する演算手段と、
    を備えたことを特徴とする部品購入単価低減支援システム。
  2. 前記各付け評価項目及び前記視点評価項目は、コスト低減効果の程度、購入価格、又はコスト低減活動のしやすい程度を指標化したものであることを特徴とする請求項1に記載の部品購入単価低減支援システム。
  3. 前記コストダウンの視点は、少なくとも「2社購買」、「最適工程設定」、「部品のモジュール化」、「使用の最適化」の4つの視点からなることを特徴とする請求項1又は2に記載の部品購入単価低減支援システム。
  4. 前記端末装置は、使用者に情報を提示するための表示手段を有し、
    前記機種部品データベースは、前記4つに分類した視点ごとにコストダウンを行うための手順を示すフローを有し、
    前記演算手段によってコストダウンの視点が抽出されると、抽出されたコストダウンの視点に該当するフローを前記表示手段に表示することを特徴とする請求項1乃至3の何れか一項に記載の部品購入単価低減支援システム。
JP2008213966A 2008-08-22 2008-08-22 部品購入単価低減支援システム Expired - Fee Related JP5157746B2 (ja)

Priority Applications (1)

Application Number Priority Date Filing Date Title
JP2008213966A JP5157746B2 (ja) 2008-08-22 2008-08-22 部品購入単価低減支援システム

Applications Claiming Priority (1)

Application Number Priority Date Filing Date Title
JP2008213966A JP5157746B2 (ja) 2008-08-22 2008-08-22 部品購入単価低減支援システム

Publications (2)

Publication Number Publication Date
JP2010049539A true JP2010049539A (ja) 2010-03-04
JP5157746B2 JP5157746B2 (ja) 2013-03-06

Family

ID=42066563

Family Applications (1)

Application Number Title Priority Date Filing Date
JP2008213966A Expired - Fee Related JP5157746B2 (ja) 2008-08-22 2008-08-22 部品購入単価低減支援システム

Country Status (1)

Country Link
JP (1) JP5157746B2 (ja)

Cited By (2)

* Cited by examiner, † Cited by third party
Publication number Priority date Publication date Assignee Title
KR101840771B1 (ko) * 2016-10-28 2018-03-21 한국과학기술정보연구원 RnD cost-down 항목 추천 방법 및 그 장치
KR20180046924A (ko) * 2016-10-28 2018-05-09 한국과학기술정보연구원 RnD cost-down 항목 추천 방법 및 그 장치

Citations (5)

* Cited by examiner, † Cited by third party
Publication number Priority date Publication date Assignee Title
JP2003016313A (ja) * 2001-07-04 2003-01-17 Nikon Gijutsu Kobo:Kk 商品提供システム
JP2003345866A (ja) * 2002-05-27 2003-12-05 Ricoh Co Ltd 部品価値分析検討システムおよびそのプログラム
JP2004287951A (ja) * 2003-03-24 2004-10-14 Fujitsu Ltd 製品評価システム
JP2004355482A (ja) * 2003-05-30 2004-12-16 Denso Corp 組立性評価システム
JP2008159023A (ja) * 2006-11-30 2008-07-10 Hitachi Ltd 部品の採用決定支援システム、部品の採用決定支援方法、および部品の採用決定支援プログラム

Patent Citations (5)

* Cited by examiner, † Cited by third party
Publication number Priority date Publication date Assignee Title
JP2003016313A (ja) * 2001-07-04 2003-01-17 Nikon Gijutsu Kobo:Kk 商品提供システム
JP2003345866A (ja) * 2002-05-27 2003-12-05 Ricoh Co Ltd 部品価値分析検討システムおよびそのプログラム
JP2004287951A (ja) * 2003-03-24 2004-10-14 Fujitsu Ltd 製品評価システム
JP2004355482A (ja) * 2003-05-30 2004-12-16 Denso Corp 組立性評価システム
JP2008159023A (ja) * 2006-11-30 2008-07-10 Hitachi Ltd 部品の採用決定支援システム、部品の採用決定支援方法、および部品の採用決定支援プログラム

Cited By (3)

* Cited by examiner, † Cited by third party
Publication number Priority date Publication date Assignee Title
KR101840771B1 (ko) * 2016-10-28 2018-03-21 한국과학기술정보연구원 RnD cost-down 항목 추천 방법 및 그 장치
KR20180046924A (ko) * 2016-10-28 2018-05-09 한국과학기술정보연구원 RnD cost-down 항목 추천 방법 및 그 장치
KR102330408B1 (ko) 2016-10-28 2021-11-24 한국과학기술정보연구원 RnD cost-down 항목 추천 방법 및 그 장치

Also Published As

Publication number Publication date
JP5157746B2 (ja) 2013-03-06

Similar Documents

Publication Publication Date Title
US7937391B2 (en) Consumer product review system using a comparison chart
US7379922B2 (en) Pricing model system and method
TWI502383B (zh) A retrieval device, a retrieval method, a program and a memory medium
JP4800187B2 (ja) 評価情報管理システム、評価情報管理プログラム、および、評価情報管理方法
US20020032645A1 (en) System and method for score calculation
JP2010073170A (ja) 推薦商品選択装置、推薦商品選択プログラムおよび商品検索装置
JP5047378B1 (ja) 情報処理システム、情報処理方法、プログラム及び情報記録媒体
JP2013031355A (ja) Dr対応策提案装置およびその方法
US20140351094A1 (en) Information processing device, category displaying method, program, and information storage medium
CN103970767A (zh) 一种网络商品交易系统
JP2011159059A (ja) 商品情報提供サーバ装置、端末装置、商品情報表示プログラム、商品情報表示方法及び商品情報表示システム
US20180089711A1 (en) Information processing device, information processing method, and information processing program
JP5157746B2 (ja) 部品購入単価低減支援システム
KR20170114136A (ko) 차량 구매 정보 제공 시스템 및 방법
KR101751737B1 (ko) 주식 거래 프로그램이 탑재된 이동 통신 단말기 및 이의 주식 거래 방법
JP5250088B2 (ja) 広告サーバ及び広告管理方法
JP5578804B2 (ja) 商品情報提供サーバ、及び商品情報提供処理プログラム
JP6524798B2 (ja) 情報管理装置およびプログラム
KR20220153993A (ko) 온라인 투 오프라인(o2o) 기반의 상품 디자인 및 판매를 위한 전자 장치 및 그 동작 방법
JP4825617B2 (ja) 商品情報提供システム、商品情報提供方法、及びサーバシステム
JP5559446B1 (ja) サーバ装置、ネットワークオークションシステム、ネットワークオークション処理方法及びプログラム
CN114461918A (zh) 物品推荐方法、装置、电子设备和存储介质
JP4986539B2 (ja) 履歴情報提供システム
US20040162791A1 (en) Price setting management system for repair parts
KR20160032895A (ko) 홈트레이딩 시스템의 호가 정보를 이용한 종목 제공 방법

Legal Events

Date Code Title Description
A621 Written request for application examination

Free format text: JAPANESE INTERMEDIATE CODE: A621

Effective date: 20110607

A977 Report on retrieval

Free format text: JAPANESE INTERMEDIATE CODE: A971007

Effective date: 20121106

TRDD Decision of grant or rejection written
A01 Written decision to grant a patent or to grant a registration (utility model)

Free format text: JAPANESE INTERMEDIATE CODE: A01

Effective date: 20121113

A61 First payment of annual fees (during grant procedure)

Free format text: JAPANESE INTERMEDIATE CODE: A61

Effective date: 20121126

FPAY Renewal fee payment (event date is renewal date of database)

Free format text: PAYMENT UNTIL: 20151221

Year of fee payment: 3

LAPS Cancellation because of no payment of annual fees