JP2010048382A - 回転軸の回転異常検出方法 - Google Patents

回転軸の回転異常検出方法 Download PDF

Info

Publication number
JP2010048382A
JP2010048382A JP2008214781A JP2008214781A JP2010048382A JP 2010048382 A JP2010048382 A JP 2010048382A JP 2008214781 A JP2008214781 A JP 2008214781A JP 2008214781 A JP2008214781 A JP 2008214781A JP 2010048382 A JP2010048382 A JP 2010048382A
Authority
JP
Japan
Prior art keywords
rotation
connecting pin
rotating shaft
shaft
rotating
Prior art date
Legal status (The legal status is an assumption and is not a legal conclusion. Google has not performed a legal analysis and makes no representation as to the accuracy of the status listed.)
Granted
Application number
JP2008214781A
Other languages
English (en)
Other versions
JP5125882B2 (ja
Inventor
Tatsuro Ono
達朗 小野
Kenichi Danjo
賢一 檀上
Current Assignee (The listed assignees may be inaccurate. Google has not performed a legal analysis and makes no representation or warranty as to the accuracy of the list.)
JFE Steel Corp
Original Assignee
JFE Steel Corp
Priority date (The priority date is an assumption and is not a legal conclusion. Google has not performed a legal analysis and makes no representation as to the accuracy of the date listed.)
Filing date
Publication date
Application filed by JFE Steel Corp filed Critical JFE Steel Corp
Priority to JP2008214781A priority Critical patent/JP5125882B2/ja
Publication of JP2010048382A publication Critical patent/JP2010048382A/ja
Application granted granted Critical
Publication of JP5125882B2 publication Critical patent/JP5125882B2/ja
Expired - Fee Related legal-status Critical Current
Anticipated expiration legal-status Critical

Links

Images

Landscapes

  • Sliding-Contact Bearings (AREA)

Abstract

【課題】ヤード移動機において、ブームの回転軸のかじり検出方法として好適な回転軸の回転異常検出方法を提供する。
【解決手段】回り止めストッパによって被回転物に固定された回転軸と、該回転軸を支持する回転支持体との間の摺動状態の異常を検出する回転軸の回転異常検出方法であって、前記回転軸の前記回り止めストッパとの嵌合部近傍および/または前記回り止めストッパにひずみゲージを取り付け、該ひずみゲージの出力変化により、前記回転軸と前記回転支持体との間の摺動状態の異常を検知する。ヤード移動機に適用する場合、前記回転支持体がヤード移動機の基台上のブラケットであり、前記被回転物がブームであり、前記回転軸が連結ピンである。
【選択図】図2

Description

本発明は、円形断面の回転軸がその回転を支持する部材にかじりつくなどの回転異常を検出する回転軸の回転異常検出方法に関し、特に、鉱石、石炭等の原料を搬送・積付するヤード移動機において、ブームを回転自在に連結する連結ピンのかじり検出方法として好適なものに関する。
図1は、鉱石、石炭等の原料搬送・積付・払出に使用するヤード移動機1の概略図であり、ブーム3の先端に取り付けられた回転シャベル6が、バランスウエイト5でバランスを取りながら連結ピン4を回転中心とする円弧状を移動することにより、積付・払出作業を行う。
連結ピン4とブーム3は、ブーム3に固定された部材が連結ピン4の端部に設けられた切欠部に嵌合することで一体化されている。
連結ピン4への給脂不良などが発生すると、連結ピン4と連結ピン4の回転を支持するブラケットとの間にかじりが発生して、連結ピン4が磨耗したり、過大な応力によりブーム3が折損する危険がある。
特許文献1は、軸受け用給脂時期判別制御装置に関し、給脂不良による連結ピンのかじりを防止する手段として、連結ピンがブッシュを介してブラケットに対し相対回転するときの振動を弾性波センサで検出し、異常振幅が発生した場合に給脂を行なう方法が記載されている。
また、連結ピンにかかる荷重を検出するため、ピン穴もしくは連結ピンのピン穴挿入部にひずみゲージを直接設置し、連結ピンにかかる負荷を検出する方法も提案されている。
特開平10−318261号公報
しかしながら、特許文献1記載の方法は、連結ピンおよびブッシュにキズが発生する等の異常による、検出信号の変化を給脂不良の発生と判定するために、異常信号を検出したときは、すでに連結ピンおよびブッシュに損傷が生じている恐れがある。
また、振動センサーで検出される検出信号を処理して、ヤード移動機の作業中に発生する振動と連結ピン部の給脂不良による振動とを弁別し、連結ピンのかじりつき発生を判定する必要がある。
一方、ピン穴もしくは連結ピンのピン穴挿入部に直接ひずみゲージを設置する方法では、設備稼働後に検出装置を取付ける場合、一度連結ピンを抜き、連結ピン、もしくはピン穴を加工し、ひずみゲージを取付けることが必要で操業への影響が大きい。
そこで、本発明は、既存の設備に簡単に設置が可能な、回転軸の回転異常検出方法を提供することを目的とする。
本発明の課題は以下の手段で達成可能である。
1.回り止めストッパによって被回転物に固定された回転軸と、該回転軸を支持する回転支持体との間の摺動状態の異常を検出する回転軸の回転異常検出方法であって、前記回転軸の前記回り止めストッパとの嵌合部近傍および/または前記回り止めストッパにひずみゲージを取り付け、該ひずみゲージの出力変化により、前記回転軸と前記回転支持体との間の摺動状態の異常を検知することを特徴とする回転軸の回転異常検出方法。
2.前記回転支持体がヤード移動機の基台上のブラケットであり、前記被回転物がブームであり、前記回転軸が連結ピンであることを特徴とする上記1.記載の回転軸の回転異常検出方法。
本発明によれば、以下の効果が得られる。
1.無人操作されている移動機の連結ピンにおけるかじり等の回転異常を早期に発見できる。計測には、ひずみゲージ・測定機器を設置するのみであり、連結ピン・ブラケット・ピン穴に特別な改造を実施する必要がない。
2.ブーム回転時の発生応力を測定するため、移動機の作業中の振動等の外乱により、検出能力が影響されることが無い。
3.ブーム回転時における発生応力を常時監視・傾向管理することで、定常時の発生応力よりも応力レベルの変動が大きければ、連結ピンの給脂量が少なくなり、給脂が必要であることを早期に発見することができる。
4.また、連結ピンのブームと連結ピンの嵌合い部よりも外側にひずみゲージを設置するため、設置のために連結ピンを抜く必要が無く、設備稼働後も簡単に検出装置を設置することができる。
本発明は、回転軸とその回転支持部にかじり等の回転異常が発生すると、回転軸と回転軸ストッパに圧縮応力が発生することを利用して、回転軸の回転異常を早期に発見することを特徴とする。以下、ヤード移動機を例として本発明を説明する。
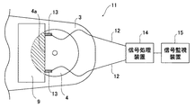
図2は、ヤード移動機の連結ピン取り付け部の模式的断面図で、連結ピン4はブッシュ7を介して、ブラケット8を回転支持体として回転可能に支持されている。
連結ピン4の両端には、被回転物であるブーム3が取り付けられ、連結ピン4とブーム3は、連結ピン4の端部に設けられた切欠部4aに、ブーム3に固定された回り止めストッパ9が嵌合することで一体化されている。
ひずみゲージ10は、連結ピン4の、切欠部4aの近傍となる端面に取り付けられている。
図3は、図2に示した連結ピン取り付け部11の一例を示す外観図で、ひずみゲージ13は、連結ピン4の端面で切欠部4aの近傍となる位置に、外周近くの2箇所に取り付けられている。
ひずみゲージ13からの信号は、信号処理装置14に送られて、発生応力を計測する。そして、かじりの発生による過大応力を検出した場合は、信号監視装置15にかじりの発生を出力する。
連結ピン4の給脂が不足すると、連結ピン4とブッシュ7との間でかじりが発生する。ブーム3が回転しても、連結ピン4はかじりによりブーム3の回転方向に回転できず、連結ピン4と、ブーム3に固定された回り止めストッパ9には圧縮応力が発生する。
図4はひずみゲージ13により検出される、当該応力の発生による応力測定値の変化を示す模式図である。ブーム回転開始時、急激に圧縮応力が発生しており、このような出力が検出されれば、連結ピン4とピン穴間でかじりが発生していると判定する。これにより、ブーム3の折損等の大事故を防止することができる。
また、ひずみゲージ13により検出される発生応力を常時監視し、出力信号を傾向管理することで、給脂不良を早期に発見できる。例えば、図4に示したような急激な出力変化が検出されなくても、定常状態よりも応力変動レベルが大きくなってきたら、給脂が不足ぎみであるとして、連結ピン4に早めの給脂を行うことができる。
なお、以上の説明は、ひずみゲージ10を連結ピン4の切欠部4aの近傍となる端面に取り付けた場合について説明したが、ブーム3に固定された回り止めストッパ9に取り付けてもよいし、連結ピン4と回り止めストッパ9の両方に取り付けてもよい。かじりが発生した場合には、回り止めストッパ9にも圧縮応力が発生するので、連結ピン4にひずみゲージを取り付けた場合と同様に、回転異常を検出することができる。
ヤード移動機を説明する図。 ヤード移動機の連結ピン取り付け部の模式的断面図。 図2に示した連結ピン取り付け部の側外観図。 本発明法による検出信号を模式的に示す図。
符号の説明
1 ヤード移動機
2 テンションバー
3 ブーム
4 連結ピン
5 バランスウエイト
6 回転シャベル
7 ブッシュ
8 ブラケット
9 回り止めストッパ
10、13 ひずみゲージ
11 連結ピン取り付け部
12 信号線
14 信号処理装置
15 信号監視装置

Claims (2)

  1. 回り止めストッパによって被回転物に固定された回転軸と、該回転軸を支持する回転支持体との間の摺動状態の異常を検出する回転軸の回転異常検出方法であって、前記回転軸の前記回り止めストッパとの嵌合部近傍および/または前記回り止めストッパにひずみゲージを取り付け、該ひずみゲージの出力変化により、前記回転軸と前記回転支持体との間の摺動状態の異常を検知することを特徴とする回転軸の回転異常検出方法。
  2. 前記回転支持体がヤード移動機の基台上のブラケットであり、前記被回転物がブームであり、前記回転軸が連結ピンであることを特徴とする請求項1記載の回転軸の回転異常検出方法。
JP2008214781A 2008-08-25 2008-08-25 連結ピンの回転異常検出方法 Expired - Fee Related JP5125882B2 (ja)

Priority Applications (1)

Application Number Priority Date Filing Date Title
JP2008214781A JP5125882B2 (ja) 2008-08-25 2008-08-25 連結ピンの回転異常検出方法

Applications Claiming Priority (1)

Application Number Priority Date Filing Date Title
JP2008214781A JP5125882B2 (ja) 2008-08-25 2008-08-25 連結ピンの回転異常検出方法

Publications (2)

Publication Number Publication Date
JP2010048382A true JP2010048382A (ja) 2010-03-04
JP5125882B2 JP5125882B2 (ja) 2013-01-23

Family

ID=42065626

Family Applications (1)

Application Number Title Priority Date Filing Date
JP2008214781A Expired - Fee Related JP5125882B2 (ja) 2008-08-25 2008-08-25 連結ピンの回転異常検出方法

Country Status (1)

Country Link
JP (1) JP5125882B2 (ja)

Citations (3)

* Cited by examiner, † Cited by third party
Publication number Priority date Publication date Assignee Title
JPS56162033A (en) * 1980-05-19 1981-12-12 Mitsubishi Electric Corp Abnormality monitoring device for bearing load of rotating machine
JP2003176815A (ja) * 2001-12-11 2003-06-27 Komatsu Ltd 軸受装置
JP2005119774A (ja) * 2003-10-15 2005-05-12 Mitsui Miike Mach Co Ltd ブームの接触防止装置

Patent Citations (3)

* Cited by examiner, † Cited by third party
Publication number Priority date Publication date Assignee Title
JPS56162033A (en) * 1980-05-19 1981-12-12 Mitsubishi Electric Corp Abnormality monitoring device for bearing load of rotating machine
JP2003176815A (ja) * 2001-12-11 2003-06-27 Komatsu Ltd 軸受装置
JP2005119774A (ja) * 2003-10-15 2005-05-12 Mitsui Miike Mach Co Ltd ブームの接触防止装置

Also Published As

Publication number Publication date
JP5125882B2 (ja) 2013-01-23

Similar Documents

Publication Publication Date Title
CN101213436B (zh) 用于计算轴承寿命的电机接口模块设备
EP2019926B1 (en) Bearing failure indicator
US7963701B2 (en) System and method for setting roller skew
JP2009109350A (ja) 回転機械装置の監視診断システム
US10605623B1 (en) No-backlash rotation measurement system
WO2017203868A1 (ja) 転がり軸受疲労状態予測装置及び転がり軸受疲労状態予測方法
KR101374840B1 (ko) 해양구조물의 회전체 상태진단 시스템 및 방법
JP2017156151A (ja) トルク計測装置、歯車箱及びトルク計測方法
US20180305187A1 (en) Drum-type conveying installation with cable-monitoring device
CN115397723A (zh) 作业车辆部件
JP5125882B2 (ja) 連結ピンの回転異常検出方法
JP6592061B2 (ja) ベルトの交換判定装置および交換判定方法
WO2018173832A1 (ja) 状態監視装置
WO2012162853A1 (en) Sheave monitor
WO2022264047A1 (en) Wear monitoring system and method for monitoring bearing wear in a roller for an undercarriage track system
JP6939994B2 (ja) 溝摩耗検知装置
CN103407892A (zh) 超起装置张开角度检测系统及方法
JP5981120B2 (ja) 風力発電装置の状態監視システム
US12235184B2 (en) Rotary encoder and a method for monitoring operation of the rotary encoder
JP2000170477A (ja) シールド掘進機のカッタ前面荷重検出方法及び装置並びにシールド掘進機
JP2021183925A (ja) ボルト型センサ装置、ボルト本体、風車用駆動装置、風車および締結構造
JP7425994B2 (ja) シックナーレーキ旋回軸受点検装置
JP2006177774A (ja) 転がり軸受の動トルク測定方法と測定装置及び転がり軸受の異常検知方法及び異常検知装置
CA2890668A1 (en) Self-aligning shaft assembly
EP4667779A1 (en) Strain wave gear device with torque sensor

Legal Events

Date Code Title Description
A621 Written request for application examination

Free format text: JAPANESE INTERMEDIATE CODE: A621

Effective date: 20110128

A977 Report on retrieval

Free format text: JAPANESE INTERMEDIATE CODE: A971007

Effective date: 20120209

A131 Notification of reasons for refusal

Free format text: JAPANESE INTERMEDIATE CODE: A131

Effective date: 20120214

RD03 Notification of appointment of power of attorney

Free format text: JAPANESE INTERMEDIATE CODE: A7423

Effective date: 20120321

RD04 Notification of resignation of power of attorney

Free format text: JAPANESE INTERMEDIATE CODE: A7424

Effective date: 20120327

A521 Request for written amendment filed

Free format text: JAPANESE INTERMEDIATE CODE: A523

Effective date: 20120411

A131 Notification of reasons for refusal

Free format text: JAPANESE INTERMEDIATE CODE: A131

Effective date: 20120724

A521 Request for written amendment filed

Free format text: JAPANESE INTERMEDIATE CODE: A523

Effective date: 20120904

TRDD Decision of grant or rejection written
A01 Written decision to grant a patent or to grant a registration (utility model)

Free format text: JAPANESE INTERMEDIATE CODE: A01

Effective date: 20121002

A01 Written decision to grant a patent or to grant a registration (utility model)

Free format text: JAPANESE INTERMEDIATE CODE: A01

A61 First payment of annual fees (during grant procedure)

Free format text: JAPANESE INTERMEDIATE CODE: A61

Effective date: 20121015

R150 Certificate of patent or registration of utility model

Free format text: JAPANESE INTERMEDIATE CODE: R150

Ref document number: 5125882

Country of ref document: JP

Free format text: JAPANESE INTERMEDIATE CODE: R150

FPAY Renewal fee payment (event date is renewal date of database)

Free format text: PAYMENT UNTIL: 20151109

Year of fee payment: 3

R250 Receipt of annual fees

Free format text: JAPANESE INTERMEDIATE CODE: R250

LAPS Cancellation because of no payment of annual fees