JP2010046841A - クッション材及びその製造法 - Google Patents

クッション材及びその製造法 Download PDF

Info

Publication number
JP2010046841A
JP2010046841A JP2008211369A JP2008211369A JP2010046841A JP 2010046841 A JP2010046841 A JP 2010046841A JP 2008211369 A JP2008211369 A JP 2008211369A JP 2008211369 A JP2008211369 A JP 2008211369A JP 2010046841 A JP2010046841 A JP 2010046841A
Authority
JP
Japan
Prior art keywords
layer
protrusion
protrusions
cushion material
elastic
Prior art date
Legal status (The legal status is an assumption and is not a legal conclusion. Google has not performed a legal analysis and makes no representation as to the accuracy of the status listed.)
Granted
Application number
JP2008211369A
Other languages
English (en)
Other versions
JP5043779B2 (ja
Inventor
Sadao Maeda
貞夫 前田
Current Assignee (The listed assignees may be inaccurate. Google has not performed a legal analysis and makes no representation or warranty as to the accuracy of the list.)
Maeda Shell Service KK
Original Assignee
Maeda Shell Service KK
Priority date (The priority date is an assumption and is not a legal conclusion. Google has not performed a legal analysis and makes no representation as to the accuracy of the date listed.)
Filing date
Publication date
Application filed by Maeda Shell Service KK filed Critical Maeda Shell Service KK
Priority to JP2008211369A priority Critical patent/JP5043779B2/ja
Publication of JP2010046841A publication Critical patent/JP2010046841A/ja
Application granted granted Critical
Publication of JP5043779B2 publication Critical patent/JP5043779B2/ja
Expired - Fee Related legal-status Critical Current
Anticipated expiration legal-status Critical

Links

Images

Landscapes

  • Buffer Packaging (AREA)
  • Wrappers (AREA)
  • Laminated Bodies (AREA)

Abstract

【課題】重量物に対して優れた緩衝作用を発揮し得る、耐圧縮破壊強度や耐突刺し強度等の特性が更に高められたクッション材と、それを有利に製造し得る方法を提供する。
【解決手段】筒状形状の袋状凸起12の多数が配列、形成されたセル層14にフィルム層16を貼り合わせることにより、それら凸起12の内側空間内に気体が封入されて、多数のセル18が形成されてなる構造の緩衝シート10を基材として、かかる緩衝シート10の凸起12が位置する側の面の全面に亘って、弾性体層22を一体的に形成すると共に、凸起12の上面上に形成される弾性体層22部分の厚さが、凸起12の側面に形成される弾性体層22部分の厚さよりも厚くなるように構成した。
【選択図】図4

Description

本発明は、クッション材及びその製造法に係り、特に、重量物を安定的に支持し得る、耐久性に優れたクッション材と、それを有利に製造し得る方法に関するものである。
従来から、梱包用の緩衝材として、シートの一方の面側に、空気等の気体が封入されてなる小包(セル乃至は気室)の多数を設けてなるものが知られており、それは、種々の物品に加えられる外力を低減し、また断熱材として利用される包装材として、使用されて来ている。そして、そのような緩衝材は、例えば、特許文献1〜3等に明らかにされている如く、セル(エアーセル、気室)となる凸起の形成された樹脂フィルムとフラットな樹脂フィルムとを積層して、貼り合わせることにより、複数の密封されたセルが形成されてなる構造のものとして、製造されている。
しかしながら、この種の緩衝材にあっては、そこで用いられる樹脂フィルムが、極めて薄いものであるところから、耐圧縮破壊強度が充分でないことに加えて、突き刺し強度が低く、破れ易いという問題を内在しており、そのために、セルとなる凸起の形成された樹脂フィルムを中間層として、その両面にフラットな樹脂フィルムを積層してなる三層構造のものが提案されたり、また、特許文献4等においては、そのような緩衝材を構成する樹脂フィルムを、特定の物性を有するエチレン(共)重合体等の特定の材質にて形成することが提案されているが、それらの対策は、何れも、充分なものではなく、特に、重量物の支持、緩衝や包装等に有利に用いられ得るものではなかったのである。
すなわち、重量の重い物品が載置されたり、人間がその上に乗ったりしたとき、上述の如き緩衝材にあっては、それに設けられたセルが、作用する大きな荷重によって破壊(破裂)されてしまい、有効な緩衝作用や断熱作用が維持され得なくなる問題が惹起されることとなるのであり、また、緩衝材のセルは、尖鋭な物体にて刺通され易く、そのために、破れ易い問題は、依然として内在していることに加えて、緩衝材上の物品の移動は極めて難しく、敢えてそれを行なうと、物品との摩擦によって、セルの破壊が惹起されてしまう等の問題も内在している。
特公昭37−13782号公報 特公昭38−330号公報 特開平9−123320号公報 特開2005−59891号公報
ここにおいて、本発明は、かくの如き事情を背景にして為されたものであって、その解決課題とするところは、重量物に対して優れた緩衝作用を発揮し得る、耐圧縮破壊強度や耐突き刺し強度等の特性が更に高められたクッション材と、それを有利に製造し得る方法を提供することにある。
そして、本発明は、そのような課題を解決するために、筒状形状の袋状凸起の多数が配列、形成されたセル層にフィルム層を貼り合わせることにより、それら凸起の内側空間内に気体が封入されて、多数のセルが形成されてなる構造の緩衝シートを基材として、かかる緩衝シートの前記凸起が位置する側の面の全面に亘って弾性体層を一体的に形成すると共に、該凸起の上面上に形成される弾性体層部分の厚さが、該凸起の側面に形成される弾性体層部分の厚さよりも厚くなるように構成したことを特徴とするクッション材を、その要旨とするものである。
なお、そのような本発明に従うクッション材にあっては、前記弾性体層は、有利には、ポリウレタンエラストマによって形成されることとなる。
また、本発明に従うクッション材の望ましい態様の一つによれば、前記緩衝シートの前記凸起が設けられていない側の面の全面に亘って、弾性裏打ち層が、所定厚さにおいて一体的に設けられており、そして、そのような弾性裏打ち層は、有利には、ポリウレタンエラストマによって形成されることとなる。
さらに、本発明に従うクッション材においては、前記凸起は、有利には、上部が閉塞されてなる円筒形状において形成されているものである。
更にまた、本発明に従うクッション材にあっては、有利には、前記凸起の上面上に形成される弾性体層部分が、上方に凸なる湾曲面形状の表面を有して形成されることとなる。
そして、本発明にあっては、上述の如きクッション材を有利に製造するために、筒状形状の袋状凸起の多数が配列、形成されたセル層にフィルム層を貼り合わせることにより、それら凸起の内側空間内に気体が封入されて、多数のセルが形成されてなる構造の緩衝シートを用い、この緩衝シートの前記凸起が位置する側の面に対して、ポリウレタンエラストマ原料をスプレーコーティングすることにより、ポリウレタンエラストマからなる弾性体層を一体的に形成すると共に、該凸起の上面上に形成される弾性体層部分の厚さが、該凸起の側面に形成される弾性体層部分の厚さよりも厚くなるように構成したことを特徴とするクッション材の製造法が採用されるのである。
なお、そのような本発明に従うクッション材の製造法にあっては、また、前記緩衝シートの前記凸起が設けられていない側の面に対して、ポリウレタンエラストマ原料をスプレーコーティングすることにより、ポリウレタンエラストマからなる弾性裏打ち層が全面に亘って一体的に形成せしめられることとなる。
このように、本発明のクッション材にあっては、セルを形成してなる従来と同様な緩衝シートを用い、それを基材として、そのセルの上に、所定の弾性体層が、所定厚さにおいて一体的に形成されているところから、かかるセルの強度が著しく高められており、そのため、大荷重の重量物が載置された場合にあっても、緩衝シートのセルの破壊が効果的に抑制され、以て、耐圧縮破壊強度が有利に向上せしめられ得ると共に、尖鋭な物体が接触しても、それによって、刺通されることが効果的に抑制乃至は阻止され得ることとなるのであり、これによって、耐突き刺し強度も有利に高められ得たのである。
しかも、本発明に従うクッション材にあっては、そのセルを構成する緩衝シートにおける凸起の上面上に形成される弾性体層部分の厚さが、かかる凸起の側面に形成される弾性体層部分の厚さよりも厚くなるように構成されていることにより、セルの変形を、その側面(側部)の変形にて有効に行ないつつ、重量物の支持をその上面に設けた厚い弾性体層部分にて効果的に支持せしめ得るのであり、それによって、クッション材上に載置される重量物を安定性良く支持することが出来るのである。
また、そのような本発明に従うクッション材にあっては、載置される物体乃至は物品に接触する面である緩衝シートの凸起の上面に形成される弾性体層が、他の部位よりも厚くされているところから、そのような載置物を移動させて、そこに摩擦や磨耗を生じさせても、セルが簡単に破壊されるようなことがないのであり、このため、そのような載置物を、クッション材上において自由に移動させることが、可能となったのである。
そして、このような特徴を有するクッション材は、上記した本発明に従う製造法によって、ポリウレタンエラストマ原料を、緩衝シートの凸起が位置する側の面に対してスプレーコーティングすることにより、容易に且つ簡単に得ることが出来るのである。
以下、本発明を更に具体的に明らかにするために、本発明の代表的な実施の形態について、図面を参照しつつ、詳細に説明することとする。
先ず、図1及び図2には、本発明に従うクッション材の基材となる緩衝シートの一例が示されており、そこで、図1は、そのような緩衝シートの平面形態を部分的に示し、また図2は、図1におけるA−A断面を拡大して示している。
そして、それらの図において、緩衝シート10は、上部が閉塞されてなる筒状形状、換言すれば有底の円筒形状を呈する袋状凸起12の多数が、従来と同様にしてエンボス加工等によって配列、形成された樹脂フィルムからなるセル層14と、平坦な形状の樹脂フィルムからなるフィルム層16とを用いて、前者に対して、後者を、かかるセル層14の袋状凸起12の開口側の面(下面)に貼り合わせることにより、それら凸起12の内側空間内に、空気等の気体が封入されて、多数のセル18が形成されてなる構造において、形成されている。
なお、このような構造の緩衝シート10は、従来と同様な材質、例えばエチレン(共)重合体等からなる樹脂フィルムを用いて、先の特許文献1〜3等に明らかにされている如き、従来から公知の方法に従って製造されるものであるが、セル層14やフィルム層16を与える樹脂フィルムの厚さとしては、一般に、10〜100μm程度、好ましくは20〜50μm程度の範囲において、適宜に選定されることとなる。また、セル18の高さとしては、一般に、3〜10mm程度、またその直径は、5〜20mm程度、セル間の間隙は、1〜20mm程度とされることとなる。
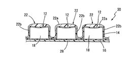
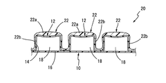
そして、このような構造の緩衝シート10を基材として用いて構成されてなる、本発明に従うクッション材の一例が、図3及び図4に、それぞれ平面形態及び拡大された断面形態において示されている。
すなわち、それらの図において、本発明に従うクッション材20は、緩衝シート10の凸起12(セル18)が位置する側の面(上面)の全面に亘って、所定のエラストマ材料からなる弾性体層22が、一体的に形成されているのである。しかも、そのような弾性体層22は、図4に示されているように、凸起12の上面上に形成される弾性体層部分である頂部層22aの厚さが、凸起12の側面に形成される弾性体層部分である側部層22bの厚さよりも厚くされており、これによって、厚い頂部層22aにて載置荷重を受ける一方、薄い側部層22bにて変形させられることにより、大荷重を支持しつつ、凸起12、ひいてはセル18が容易に変形させられ得るようになっている。特に、ここでは、頂部層22aが、上方に凸なる湾曲した山形形状となる表面を有する形態において形成されて、大荷重の支持に有効に対応し得るように構成されている。
ここで、そのような弾性体層22を与える弾性体(エラストマ)としては、公知の各種のものの中から適宜に選定されることとなるが、特に、本発明にあっては、ポリウレタンエラストマが好適に用いられることとなる。そのようなポリウレタンエラストマ材質の選定により、弾性体層22の形成が容易となるばかりでなく、クッション材としての性能も有利に発揮させることが可能となるのである。
また、そのような弾性体層22における頂部層22aや側部層22bの厚さは、本発明に従って、適宜に規定されることとなるが、一般に、厚さの厚い頂部層22aは、1〜5mm程度の厚さにおいて形成され、また、薄い厚さの側部層22bは、0.1〜1mm程度の厚さにおいて形成されることとなる。そして、本発明においては、頂部層22aにおける最も厚さの厚い部位の厚さが、側部層22bにおける最も厚さの薄い部位の厚さの2倍〜20倍程度、好ましくは3倍〜10倍程度となるように、弾性体層22が構成されることとなる。
従って、かくの如き構造のクッション材20上に、荷重の重い物体である重量物が載置せしめられると、図5に示される如く、重量物24の荷重によって、クッション材20の上面側に位置せしめられる凸起12(セル18)が変形せしめられるようになるが、そこでは、その側面に形成される側部層22bの厚さが薄いところから、かかる側部層22bの形成部位において屈曲乃至は座屈変形され、厚い厚さの頂部層22aが設けられた凸起12(セル18)の上面部位は変形することなく、上下方向に平行移動して、しっかりと重量物24の荷重を支持することとなるのであり、これによって、クッション材20上に載置された重量物24は、緩衝作用を受けつつ、安定性良く支持され得ることとなるのである。
しかも、クッション材20の基材となる緩衝シート10における凸起12(セル18)形成側の全面に亘って、弾性体層22が形成されていることにより、凸起12(セル18)の耐圧縮破壊強度が効果的に高められていることは勿論、尖鋭な物体が当接しても、それが、刺通するようなことが、効果的に阻止され得て、その耐突き刺し強度も、効果的に高められ得ているのであって、これによって、クッション性乃至は緩衝性の耐久度が有利に高められ得ているのである。
また、かかるクッション材20上を物品(24)が移動せしめられても、そのような移動操作によって、凸起12(セル18)が摩擦や磨耗等によって破壊されることが、厚さの厚い頂部層22aの存在によって、効果的に阻止されることとなるところから、そのような載置物の移動に対しても、良好な耐久性を示すものとなるのである。
このため、そのようなクッション材20上を、人間が歩行したり、その上に立ったり、更にはその上で作業等をしたりする、地面の足元マットとしても有効に使用することが出来、これによって、地面からの断熱や緩衝を図り得るマットとして、有利に用いることも可能となるのである。
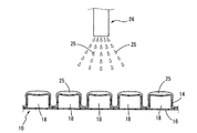
ところで、かくの如き構造のクッション材20は、所定の弾性体層22を、基材としての緩衝シート10の少なくともセル層14側の面に、公知の各種の手法によって形成することによって、得ることが可能であるが、特に、本発明にあっては、図6に示されるように、液状の弾性体材料25を、スプレーノズル26によって、上方から、緩衝シート10上にスプレーして、コーティングを行なうことにより、本発明に従う厚い頂部層22aと薄い側部層22bを有する弾性体層22を有利に形成することが出来るのである。
そして、本発明にあっては、そのようなスプレーコーティングが、ポリウレタンエラストマ原料を用いて、好適に行なわれることとなるのである。尤も、このポリウレタンエラストマ原料としては、公知の各種のものが用いられ得るところであるが、特に、常温硬化型のポリウレタンエラストマ原料が有利に用いられることとなる。なお、そのような常温硬化型のポリウレタンエラストマ原料とは、一般に、ポリイソシアネート成分として、変性ジフェニルメタン−4,4’−ジイソシアネート等のMDI系イソシアネートを用い、またポリオール成分として、ポリエーテルポリオール等を用い、更に、それらポリイソシアネート成分とポリオール成分とを低温下において迅速に反応硬化せしめる触媒として、芳香族一級アミン等の芳香族アミンを用いてなるものであって、それらは、各種の市販品の中から適宜に選択され、例えば、独国:バイエル社から「バイテック(Baytec)」の名称にて市販されているものを用いて、20〜60℃程度の温度下において、スプレーコーティング操作が実施され、反応硬化せしめられるのである。特に、40〜60℃程度の比較的に高目の反応温度を採用することにより、凸起12内に封入された空気が膨張することで、凸起12の天井部の落ち込みが阻止乃至は抑制され、これによって、図4に示される如き上方に円弧状に突出した山形形状が効果的に形成され得ることとなる。なお、その反応は、各成分の混合の後、約1分程度経過すれば、ある程度の固化状態が実現され、そして、室温にて3日程度経過すれば、実質的な反応は終了し、最終物性が実現されるようになるものである。
かくの如きスプレーコーティング操作によって、緩衝シート10のセル層14上に吹き付けられたポリウレタンエラストマ原料は、凸起12の上面上において、上方に凸なる湾曲山形形状で厚く堆積する一方、その側面には、ポリウレタンエラストマ原料の薄い層が形成されることとなるのであり、そして、その状態において、ポリウレタンエラストマ原料の反応硬化が進行することによって、かかる凸起12の上面上には、厚さの厚い頂部層22aが形成され、また凸起12の側面には、薄い厚さの側部層22bが形成され、以て、図3及び図4に示される如き構造のクッション材20が、簡単に且つ容易に形成され得るのである。
特に、かかるスプレーコーティング操作による弾性体層22の形成に際しては、ポリウレタンエラストマ原料を用いることが望ましく、その速い反応硬化速度によって、頂部層22aの厚さと側部層22bの厚さとの差異をより一層拡大せしめることが可能となる利点があり、ポリウレタンエラストマ自体の優れた緩衝特性と合わせて、本発明において、有利に採用される構成である。
ところで、本発明にあっては、上述の如く、セル層14上に、弾性体層22を形成するのみならず、緩衝シート10の凸起12が設けられていない側の面、換言すれば、フィルム層16の下面の全面に亘って、図7に示される如く、弾性裏打ち層28が、所定厚さにおいて一体的に設けられてなる構造において、クッション材30を構成することも、有利に採用され得るところである。このような構造のクッション材30にあっては、所定厚さの弾性裏打ち層28が、一体的に形成されていることによって、セル18が上側の弾性体層22と下側の弾性裏打ち層28により取り囲まれた形態となるところから、その耐圧縮破壊強度や耐突き刺し強度等のセル18の破壊に対する諸物性を、より一層効果的に高め得ると共に、弾性裏打ち層28の存在によって、クッション材30の緩衝特性等も、より一層向上せしめられ得ることとなる。
なお、そのような弾性裏打ち層28の厚さとしては、クッション材30の用途に応じて適宜に選定されることとなるが、一般に、0.5〜10mm程度の一定の厚さとされ、また、その材質としても、公知の弾性体乃至はエラストマ材料の中から、適宜に選択されることとなるが、特に、本発明にあっては、緩衝性や耐久性等の観点から、ポリウレタンエラストマ材料が有利に用いられることとなる。
以上、本発明の代表的な実施の形態について詳述して来たが、それは、文字通りの例示であって、本発明は、そのような実施形態の記載によって、何等限定的に解釈されるものでないことが、理解されるべきである。
例えば、緩衝シート10における凸起12の形状としては、例示の如き円筒形状の他、角筒形状や楕円筒形状等の各種の筒状形状を採用することが可能であり、また、その配列形態にあっても、例示の如き千鳥状配置のみならず、碁盤目状、斜行状等の公知の各種の配列形態が適宜に採用され得るところである。
また、例示の具体例においては、複数の凸起12の高さ、ひいてはそれらの上に弾性体層を形成してなる形態における高さが、何れも、同じ高さとされているが、それら複数の凸起12等の高さを、その形成部位によって変化させることも、可能である。
さらに、弾性体層22や弾性裏打ち層28を形成するためのポリウレタンエラストマ原料に対して、公知の各種の添加剤を配合せしめることも可能であり、特に、それらの層22、28を所望の色に着色するための着色剤を配合せしめることにより、クッション材20、30の意匠効果が高められる利点があり、本発明においては、有利に採用されるところである他、更に、その他の配合剤として、抗菌作用を付与するための抗菌剤、更には光触媒、紫外線吸収剤等の公知の添加剤を配合せしめることも、可能である。
更にまた、図4や図7に示されるクッション材20、30にあっては、一方の側にのみ、弾性体層22を一体的に設けた袋状凸起12が配置されていたが、それを両側に配置してなる構造とすることも可能である。その場合においては、クッション材20又は30同士を、或いはクッション材20とクッション材30とを、それらの裏面を突き合わせて重ね合わせ、接着剤等にて接合せしめてなる構造が、採用されることとなる。
その他、一々列挙はしないが、本発明は、当業者の知識に基づいて種々なる変形、修正、改良等を加えた態様において、実施され得るものであり、また、そのような実施の態様が、本発明の趣旨を逸脱しない限りにおいて、何れも、本発明の範疇に属するものであることが、理解されるべきである。
本発明において用いられる緩衝シートの一例を示す平面形態の部分説明図である。 図1におけるA−A断面拡大説明図である。 本発明に従うクッション材の一例を示す平面形態の部分説明図である。 図3におけるB−B断面拡大説明図である。 図4に示されるクッション材の上に、重量物を載置せしめてなる形態を示す断面説明図である。 本発明に従うクッション材の製造に際して採用されるスプレーコーティング操作の一工程を示す説明図である。 本発明に従うクッション材の他の一例を示す、図4に対応する断面説明図である。
符号の説明
10 緩衝シート 12 袋状凸起
14 セル層 16 フィルム層
18 セル 20 クッション材
22 弾性体層 22a 頂部層
22b 側部層 24 重量物
25 弾性体材料 26 スプレーノズル
28 弾性裏打ち層 30 クッション材

Claims (8)

  1. 筒状形状の袋状凸起の多数が配列、形成されたセル層にフィルム層を貼り合わせることにより、それら凸起の内側空間内に気体が封入されて、多数のセルが形成されてなる構造の緩衝シートを基材として、かかる緩衝シートの前記凸起が位置する側の面の全面に亘って弾性体層を一体的に形成すると共に、該凸起の上面上に形成される弾性体層部分の厚さが、該凸起の側面に形成される弾性体層部分の厚さよりも厚くなるように構成したことを特徴とするクッション材。
  2. 前記弾性体層が、ポリウレタンエラストマによって形成されていることを特徴とする請求項1に記載のクッション材。
  3. 前記緩衝シートの前記凸起が設けられていない側の面の全面に亘って、弾性裏打ち層が、所定厚さにおいて一体的に設けられていることを特徴とする請求項1又は請求項2に記載のクッション材。
  4. 前記弾性裏打ち層が、ポリウレタンエラストマによって形成されていることを特徴とする請求項3に記載のクッション材。
  5. 前記凸起が、上部が閉塞されてなる円筒形状において形成されていることを特徴とする請求項1乃至請求項4の何れか一つに記載のクッション材。
  6. 前記凸起の上面上に形成される弾性体層部分が、上方に凸なる湾曲面形状の表面を有して形成されていることを特徴とする請求項1乃至請求項5の何れか一つに記載のクッション材。
  7. 筒状形状の袋状凸起の多数が配列、形成されたセル層にフィルム層を貼り合わせることにより、それら凸起の内側空間内に気体が封入されて、多数のセルが形成されてなる構造の緩衝シートを用い、この緩衝シートの前記凸起が位置する側の面に対して、ポリウレタンエラストマ原料をスプレーコーティングすることにより、ポリウレタンエラストマからなる弾性体層を一体的に形成すると共に、該凸起の上面上に形成される弾性体層部分の厚さが、該凸起の側面に形成される弾性体層部分の厚さよりも厚くなるように構成したことを特徴とするクッション材の製造法。
  8. 前記緩衝シートの前記凸起が設けられていない側の面に対して、ポリウレタンエラストマ原料をスプレーコーティングすることにより、ポリウレタンエラストマからなる弾性裏打ち層が全面に亘って一体的に形成されていることを特徴とする請求項7に記載のクッション材の製造法。
JP2008211369A 2008-08-20 2008-08-20 クッション材及びその製造法 Expired - Fee Related JP5043779B2 (ja)

Priority Applications (1)

Application Number Priority Date Filing Date Title
JP2008211369A JP5043779B2 (ja) 2008-08-20 2008-08-20 クッション材及びその製造法

Applications Claiming Priority (1)

Application Number Priority Date Filing Date Title
JP2008211369A JP5043779B2 (ja) 2008-08-20 2008-08-20 クッション材及びその製造法

Publications (2)

Publication Number Publication Date
JP2010046841A true JP2010046841A (ja) 2010-03-04
JP5043779B2 JP5043779B2 (ja) 2012-10-10

Family

ID=42064360

Family Applications (1)

Application Number Title Priority Date Filing Date
JP2008211369A Expired - Fee Related JP5043779B2 (ja) 2008-08-20 2008-08-20 クッション材及びその製造法

Country Status (1)

Country Link
JP (1) JP5043779B2 (ja)

Cited By (1)

* Cited by examiner, † Cited by third party
Publication number Priority date Publication date Assignee Title
JP7323233B1 (ja) 2022-12-16 2023-08-08 東和化学株式会社 シート状緩衝構造体及びその製造方法

Families Citing this family (1)

* Cited by examiner, † Cited by third party
Publication number Priority date Publication date Assignee Title
KR102185615B1 (ko) * 2019-07-18 2020-12-02 고영지 포장백 및 이의 제조방법

Cited By (2)

* Cited by examiner, † Cited by third party
Publication number Priority date Publication date Assignee Title
JP7323233B1 (ja) 2022-12-16 2023-08-08 東和化学株式会社 シート状緩衝構造体及びその製造方法
JP2024086446A (ja) * 2022-12-16 2024-06-27 東和化学株式会社 シート状緩衝構造体及びその製造方法

Also Published As

Publication number Publication date
JP5043779B2 (ja) 2012-10-10

Similar Documents

Publication Publication Date Title
CA2855905C (en) Cellular cushion
US20220252124A1 (en) Void cells with outwardly curved surfaces
RU2015122796A (ru) Инкапсулированная частица удобрения, содержащая пестицид
JP6116498B2 (ja) マットレスの製造方法
KR20070101975A (ko) 에어 매트리스
JP5043779B2 (ja) クッション材及びその製造法
CN101918213A (zh) 包括粘合层的用于吸收冲击和密封的片材及制备该片材的方法
KR101116485B1 (ko) 2중 삽입 구조물의 미드솔을 갖는 건강신발 및 제조방법
JP2023514415A (ja) メタマテリアル遮音デバイス
TW201919911A (zh) 由膜、固體黏著劑聚合物及聚胺酯層製得之複合材料的製備
JP2005527400A5 (ja)
KR20100076001A (ko) 접착제 물품
PL1784546T3 (pl) Elementy kompozytowe ze sztywnego poliuretanowego tworzywa piankowego
EP3798464A1 (en) Cushioning structure and method of manufacturing a cushioning structure
JP7288175B2 (ja) 積層構造体及び積層構造体の製造方法
US20130011621A1 (en) Support structures including low tack viscoelastomeric gel material and methods
JP4227074B2 (ja) 吸音材
JP5800379B2 (ja) マットレス
JP2007125099A (ja) マットレスクッション材及びその製造方法
JP2016215003A (ja) マットレス
EP2330946A1 (en) Mattress filling
KR101240684B1 (ko) 차단성이 우수한 포밍 포장재
KR102000782B1 (ko) 우레탄폼과 폴리우레아의 결합을 이용한 기능성 폼 매트리스
JP4801916B2 (ja) 炭入りクッション材
KR200421365Y1 (ko) 에어 매트리스

Legal Events

Date Code Title Description
A621 Written request for application examination

Free format text: JAPANESE INTERMEDIATE CODE: A621

Effective date: 20101104

A977 Report on retrieval

Free format text: JAPANESE INTERMEDIATE CODE: A971007

Effective date: 20120313

TRDD Decision of grant or rejection written
A01 Written decision to grant a patent or to grant a registration (utility model)

Free format text: JAPANESE INTERMEDIATE CODE: A01

Effective date: 20120626

A01 Written decision to grant a patent or to grant a registration (utility model)

Free format text: JAPANESE INTERMEDIATE CODE: A01

A61 First payment of annual fees (during grant procedure)

Free format text: JAPANESE INTERMEDIATE CODE: A61

Effective date: 20120712

R150 Certificate of patent or registration of utility model

Free format text: JAPANESE INTERMEDIATE CODE: R150

Ref document number: 5043779

Country of ref document: JP

Free format text: JAPANESE INTERMEDIATE CODE: R150

FPAY Renewal fee payment (event date is renewal date of database)

Free format text: PAYMENT UNTIL: 20150720

Year of fee payment: 3

R250 Receipt of annual fees

Free format text: JAPANESE INTERMEDIATE CODE: R250

R250 Receipt of annual fees

Free format text: JAPANESE INTERMEDIATE CODE: R250

R250 Receipt of annual fees

Free format text: JAPANESE INTERMEDIATE CODE: R250

R250 Receipt of annual fees

Free format text: JAPANESE INTERMEDIATE CODE: R250

R250 Receipt of annual fees

Free format text: JAPANESE INTERMEDIATE CODE: R250

R250 Receipt of annual fees

Free format text: JAPANESE INTERMEDIATE CODE: R250

R250 Receipt of annual fees

Free format text: JAPANESE INTERMEDIATE CODE: R250

LAPS Cancellation because of no payment of annual fees