JP2010041917A - 負荷に電力を供給するコンバータを制御するシステム及び方法 - Google Patents
負荷に電力を供給するコンバータを制御するシステム及び方法 Download PDFInfo
- Publication number
- JP2010041917A JP2010041917A JP2009178535A JP2009178535A JP2010041917A JP 2010041917 A JP2010041917 A JP 2010041917A JP 2009178535 A JP2009178535 A JP 2009178535A JP 2009178535 A JP2009178535 A JP 2009178535A JP 2010041917 A JP2010041917 A JP 2010041917A
- Authority
- JP
- Japan
- Prior art keywords
- control signal
- gate control
- phase
- switching
- waveform
- Prior art date
- Legal status (The legal status is an assumption and is not a legal conclusion. Google has not performed a legal analysis and makes no representation as to the accuracy of the status listed.)
- Granted
Links
- 238000000034 method Methods 0.000 title claims abstract description 27
- 239000004065 semiconductor Substances 0.000 claims description 44
- 230000007935 neutral effect Effects 0.000 description 17
- 238000010586 diagram Methods 0.000 description 13
- 238000011217 control strategy Methods 0.000 description 11
- 230000010363 phase shift Effects 0.000 description 7
- 239000003990 capacitor Substances 0.000 description 6
- 238000007493 shaping process Methods 0.000 description 4
- 230000000694 effects Effects 0.000 description 2
- 238000000605 extraction Methods 0.000 description 2
- 230000005669 field effect Effects 0.000 description 2
- 229910044991 metal oxide Inorganic materials 0.000 description 2
- 150000004706 metal oxides Chemical class 0.000 description 2
- 238000012986 modification Methods 0.000 description 2
- 230000004048 modification Effects 0.000 description 2
- 230000001360 synchronised effect Effects 0.000 description 2
- 238000013459 approach Methods 0.000 description 1
- 238000009412 basement excavation Methods 0.000 description 1
- 239000010779 crude oil Substances 0.000 description 1
- 230000001771 impaired effect Effects 0.000 description 1
- 238000003780 insertion Methods 0.000 description 1
- 230000037431 insertion Effects 0.000 description 1
- 230000007774 longterm Effects 0.000 description 1
- 238000005065 mining Methods 0.000 description 1
- 239000003921 oil Substances 0.000 description 1
- 238000011084 recovery Methods 0.000 description 1
- 230000003252 repetitive effect Effects 0.000 description 1
- 230000002441 reversible effect Effects 0.000 description 1
- 238000004088 simulation Methods 0.000 description 1
- 238000012360 testing method Methods 0.000 description 1
- XLYOFNOQVPJJNP-UHFFFAOYSA-N water Substances O XLYOFNOQVPJJNP-UHFFFAOYSA-N 0.000 description 1
Images
Classifications
-
- H—ELECTRICITY
- H02—GENERATION; CONVERSION OR DISTRIBUTION OF ELECTRIC POWER
- H02P—CONTROL OR REGULATION OF ELECTRIC MOTORS, ELECTRIC GENERATORS OR DYNAMO-ELECTRIC CONVERTERS; CONTROLLING TRANSFORMERS, REACTORS OR CHOKE COILS
- H02P23/00—Arrangements or methods for the control of AC motors characterised by a control method other than vector control
- H02P23/28—Controlling the motor by varying the switching frequency of switches connected to a DC supply and the motor phases
-
- H—ELECTRICITY
- H02—GENERATION; CONVERSION OR DISTRIBUTION OF ELECTRIC POWER
- H02M—APPARATUS FOR CONVERSION BETWEEN AC AND AC, BETWEEN AC AND DC, OR BETWEEN DC AND DC, AND FOR USE WITH MAINS OR SIMILAR POWER SUPPLY SYSTEMS; CONVERSION OF DC OR AC INPUT POWER INTO SURGE OUTPUT POWER; CONTROL OR REGULATION THEREOF
- H02M7/00—Conversion of AC power input into DC power output; Conversion of DC power input into AC power output
- H02M7/42—Conversion of DC power input into AC power output without possibility of reversal
- H02M7/44—Conversion of DC power input into AC power output without possibility of reversal by static converters
- H02M7/48—Conversion of DC power input into AC power output without possibility of reversal by static converters using discharge tubes with control electrode or semiconductor devices with control electrode
- H02M7/483—Converters with outputs that each can have more than two voltages levels
-
- H—ELECTRICITY
- H02—GENERATION; CONVERSION OR DISTRIBUTION OF ELECTRIC POWER
- H02M—APPARATUS FOR CONVERSION BETWEEN AC AND AC, BETWEEN AC AND DC, OR BETWEEN DC AND DC, AND FOR USE WITH MAINS OR SIMILAR POWER SUPPLY SYSTEMS; CONVERSION OF DC OR AC INPUT POWER INTO SURGE OUTPUT POWER; CONTROL OR REGULATION THEREOF
- H02M1/00—Details of apparatus for conversion
- H02M1/08—Circuits specially adapted for the generation of control voltages for semiconductor devices incorporated in static converters
-
- H—ELECTRICITY
- H02—GENERATION; CONVERSION OR DISTRIBUTION OF ELECTRIC POWER
- H02M—APPARATUS FOR CONVERSION BETWEEN AC AND AC, BETWEEN AC AND DC, OR BETWEEN DC AND DC, AND FOR USE WITH MAINS OR SIMILAR POWER SUPPLY SYSTEMS; CONVERSION OF DC OR AC INPUT POWER INTO SURGE OUTPUT POWER; CONTROL OR REGULATION THEREOF
- H02M5/00—Conversion of AC power input into AC power output, e.g. for change of voltage, for change of frequency, for change of number of phases
- H02M5/40—Conversion of AC power input into AC power output, e.g. for change of voltage, for change of frequency, for change of number of phases with intermediate conversion into DC
- H02M5/42—Conversion of AC power input into AC power output, e.g. for change of voltage, for change of frequency, for change of number of phases with intermediate conversion into DC by static converters
- H02M5/44—Conversion of AC power input into AC power output, e.g. for change of voltage, for change of frequency, for change of number of phases with intermediate conversion into DC by static converters using discharge tubes or semiconductor devices to convert the intermediate DC into AC
- H02M5/453—Conversion of AC power input into AC power output, e.g. for change of voltage, for change of frequency, for change of number of phases with intermediate conversion into DC by static converters using discharge tubes or semiconductor devices to convert the intermediate DC into AC using devices of a triode or transistor type requiring continuous application of a control signal
- H02M5/458—Conversion of AC power input into AC power output, e.g. for change of voltage, for change of frequency, for change of number of phases with intermediate conversion into DC by static converters using discharge tubes or semiconductor devices to convert the intermediate DC into AC using devices of a triode or transistor type requiring continuous application of a control signal using semiconductor devices only
-
- H—ELECTRICITY
- H02—GENERATION; CONVERSION OR DISTRIBUTION OF ELECTRIC POWER
- H02M—APPARATUS FOR CONVERSION BETWEEN AC AND AC, BETWEEN AC AND DC, OR BETWEEN DC AND DC, AND FOR USE WITH MAINS OR SIMILAR POWER SUPPLY SYSTEMS; CONVERSION OF DC OR AC INPUT POWER INTO SURGE OUTPUT POWER; CONTROL OR REGULATION THEREOF
- H02M7/00—Conversion of AC power input into DC power output; Conversion of DC power input into AC power output
- H02M7/42—Conversion of DC power input into AC power output without possibility of reversal
- H02M7/44—Conversion of DC power input into AC power output without possibility of reversal by static converters
- H02M7/48—Conversion of DC power input into AC power output without possibility of reversal by static converters using discharge tubes with control electrode or semiconductor devices with control electrode
-
- H—ELECTRICITY
- H02—GENERATION; CONVERSION OR DISTRIBUTION OF ELECTRIC POWER
- H02M—APPARATUS FOR CONVERSION BETWEEN AC AND AC, BETWEEN AC AND DC, OR BETWEEN DC AND DC, AND FOR USE WITH MAINS OR SIMILAR POWER SUPPLY SYSTEMS; CONVERSION OF DC OR AC INPUT POWER INTO SURGE OUTPUT POWER; CONTROL OR REGULATION THEREOF
- H02M7/00—Conversion of AC power input into DC power output; Conversion of DC power input into AC power output
- H02M7/42—Conversion of DC power input into AC power output without possibility of reversal
- H02M7/44—Conversion of DC power input into AC power output without possibility of reversal by static converters
- H02M7/48—Conversion of DC power input into AC power output without possibility of reversal by static converters using discharge tubes with control electrode or semiconductor devices with control electrode
- H02M7/53—Conversion of DC power input into AC power output without possibility of reversal by static converters using discharge tubes with control electrode or semiconductor devices with control electrode using devices of a triode or transistor type requiring continuous application of a control signal
- H02M7/537—Conversion of DC power input into AC power output without possibility of reversal by static converters using discharge tubes with control electrode or semiconductor devices with control electrode using devices of a triode or transistor type requiring continuous application of a control signal using semiconductor devices only, e.g. single switched pulse inverters
- H02M7/5387—Conversion of DC power input into AC power output without possibility of reversal by static converters using discharge tubes with control electrode or semiconductor devices with control electrode using devices of a triode or transistor type requiring continuous application of a control signal using semiconductor devices only, e.g. single switched pulse inverters in a bridge configuration
- H02M7/53871—Conversion of DC power input into AC power output without possibility of reversal by static converters using discharge tubes with control electrode or semiconductor devices with control electrode using devices of a triode or transistor type requiring continuous application of a control signal using semiconductor devices only, e.g. single switched pulse inverters in a bridge configuration with automatic control of output voltage or current
-
- H—ELECTRICITY
- H02—GENERATION; CONVERSION OR DISTRIBUTION OF ELECTRIC POWER
- H02P—CONTROL OR REGULATION OF ELECTRIC MOTORS, ELECTRIC GENERATORS OR DYNAMO-ELECTRIC CONVERTERS; CONTROLLING TRANSFORMERS, REACTORS OR CHOKE COILS
- H02P23/00—Arrangements or methods for the control of AC motors characterised by a control method other than vector control
- H02P23/0086—Arrangements or methods for the control of AC motors characterised by a control method other than vector control specially adapted for high speeds, e.g. above nominal speed
-
- H—ELECTRICITY
- H02—GENERATION; CONVERSION OR DISTRIBUTION OF ELECTRIC POWER
- H02P—CONTROL OR REGULATION OF ELECTRIC MOTORS, ELECTRIC GENERATORS OR DYNAMO-ELECTRIC CONVERTERS; CONTROLLING TRANSFORMERS, REACTORS OR CHOKE COILS
- H02P27/00—Arrangements or methods for the control of AC motors characterised by the kind of supply voltage
- H02P27/04—Arrangements or methods for the control of AC motors characterised by the kind of supply voltage using variable-frequency supply voltage, e.g. inverter or converter supply voltage
-
- H—ELECTRICITY
- H02—GENERATION; CONVERSION OR DISTRIBUTION OF ELECTRIC POWER
- H02P—CONTROL OR REGULATION OF ELECTRIC MOTORS, ELECTRIC GENERATORS OR DYNAMO-ELECTRIC CONVERTERS; CONTROLLING TRANSFORMERS, REACTORS OR CHOKE COILS
- H02P27/00—Arrangements or methods for the control of AC motors characterised by the kind of supply voltage
- H02P27/04—Arrangements or methods for the control of AC motors characterised by the kind of supply voltage using variable-frequency supply voltage, e.g. inverter or converter supply voltage
- H02P27/06—Arrangements or methods for the control of AC motors characterised by the kind of supply voltage using variable-frequency supply voltage, e.g. inverter or converter supply voltage using DC to AC converters or inverters
- H02P27/08—Arrangements or methods for the control of AC motors characterised by the kind of supply voltage using variable-frequency supply voltage, e.g. inverter or converter supply voltage using DC to AC converters or inverters with pulse width modulation
-
- H—ELECTRICITY
- H02—GENERATION; CONVERSION OR DISTRIBUTION OF ELECTRIC POWER
- H02P—CONTROL OR REGULATION OF ELECTRIC MOTORS, ELECTRIC GENERATORS OR DYNAMO-ELECTRIC CONVERTERS; CONTROLLING TRANSFORMERS, REACTORS OR CHOKE COILS
- H02P27/00—Arrangements or methods for the control of AC motors characterised by the kind of supply voltage
- H02P27/04—Arrangements or methods for the control of AC motors characterised by the kind of supply voltage using variable-frequency supply voltage, e.g. inverter or converter supply voltage
- H02P27/06—Arrangements or methods for the control of AC motors characterised by the kind of supply voltage using variable-frequency supply voltage, e.g. inverter or converter supply voltage using DC to AC converters or inverters
- H02P27/08—Arrangements or methods for the control of AC motors characterised by the kind of supply voltage using variable-frequency supply voltage, e.g. inverter or converter supply voltage using DC to AC converters or inverters with pulse width modulation
- H02P27/12—Arrangements or methods for the control of AC motors characterised by the kind of supply voltage using variable-frequency supply voltage, e.g. inverter or converter supply voltage using DC to AC converters or inverters with pulse width modulation pulsing by guiding the flux vector, current vector or voltage vector on a circle or a closed curve, e.g. for direct torque control
Landscapes
- Engineering & Computer Science (AREA)
- Power Engineering (AREA)
- Inverter Devices (AREA)
Abstract
【解決手段】負荷に電力を供給するコンバータを制御するシステム及び方法(1200)を開示する。この方法では、電力コンバータを用いる。切替パターンを有する少なくとも1つのゲート制御信号が電力コンバータに供給される(1220)。このとき、切替パターンの波形は、切替パターンの基本周波数の等倍を上回りかつ2倍未満の有効切替周波数を有する。供給された少なくとも1つのゲート制御信号に少なくとも部分的に応答して、少なくとも1つの出力電力信号が負荷に出力される(1240)。
【選択図】図12
Description
30 キャパシタ
35 ゲート制御部
36 制御信号
37 制御信号
38 制御信号
40 半導体スイッチ
45 ダイオード
50 Hブリッジ
60 出力脚部
65 ニュートラル脚部
70 位相A
75 位相B
80 位相C
85 中間点
90 Y字ポイント
95 中間点
210 切替出力
220 出力線間電圧
300 パルスパターン1
310 パルスパターン2
320 パルスパターン3
330 パルスパターン1.5
350 ノッチ
360 パルス
410 波形
420 波形
430 出力電圧波形
440 電圧出力波形
510 波形
520 波形
530 出力電圧波形
540 電圧出力波形
550 (線間)出力電圧
560 線間電流
610 波形
620 波形
630 出力電圧波形
640 電圧出力波形
710 波形
720 波形
730 出力電圧波形
740 電圧出力波形
750 (線間)出力電圧
760 線間電流
800 切替波形
810 電圧波形
820 電圧波形
830 電圧波形
840 電圧波形
850 ノッチ
860 ノッチ
900 ニュートラル電圧
910 線間電流
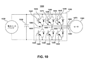
1000 コンバータ
1020 電力ソース/シンク
1030 キャパシタ
1040 半導体スイッチ
1045 制御入力手段
1050 半導体ブリッジ
1060 位相A
1065 脚部
1070 位相B
1075 脚部
1080 位相C
1085 脚部
1095 負荷
1110 切替パターン
1120 ノッチ
1130 ノッチ
1140 基準電圧
1200 負荷に信号を供給する方法
1210 ブロック
1220 ブロック
1230 ブロック
1240 ブロック
Claims (10)
- 負荷を供給する方法であって、
電力コンバータ(1000)に電力を供給するステップ(1210)と、
少なくとも1つのゲート制御信号を前記電力コンバータ(1000)に供給するステップ(1220)であって、前記切替パターン(1110)の周波数が、前記切替パターン(1110)の基本周波数の等倍を上回り、かつ前記切替パターン(1110)の基本周波数の2倍未満である有効切替周波数を含むステップと、
供給された前記少なくとも1つのゲート制御信号に少なくとも部分的に応答して、少なくとも1つの出力電力信号を前記負荷に出力するステップ(1240)とを含む方法。 - 前記少なくとも1つのゲート制御信号を供給するステップ(1220)が、約360度以上かつ約720度未満の角度だけ離隔された少なくとも2つのノッチ(1120、1130)を含む切替パターン(1110)を有する少なくとも1つのゲート制御信号を供給するステップを含む、請求項1に記載の方法。
- 前記少なくとも1つのゲート制御信号を供給するステップ(1220)が、前記切替パターン(1110)の前記基本周波数の約1.5倍の有効切替周波数を有する少なくとも1つのゲート制御信号を供給するステップを含む、請求項1または2に記載の方法。
- 前記少なくとも1つのゲート制御信号を供給するステップ(1220)が、少なくとも第1のノッチ(1130)と第2のノッチ(1120)とを含む切替パターン(1110)を有する少なくとも1つのゲート制御信号を供給するステップを含み、
前記第1のノッチ(1130)は、少なくとも1つのゲート制御信号の基準電圧(1140)の実質的に正の勾配で出現するように位置決めされ、前記第2のノッチ(1120)は、前記基準電圧(1140)の実質的に負の勾配で出現するように位置決めされる、請求項1に記載の方法。 - 前記少なくとも1つのゲート制御信号を供給するステップ(1220)が、複数のノッチ(1120、1130)を含む切替パターン(1110)を有する少なくとも1つのゲート制御信号を供給するステップを含み、
前記複数のノッチ(1120、1130)は、少なくとも1つのゲート制御信号の基準電圧(1140)の実質的に正の勾配と、前記基準電圧(1140)の実質的に負の勾配とにおいて交互に配置される、請求項1に記載の方法。 - 前記少なくとも1つのゲート制御信号を供給するステップ(1220)が、第1のゲート制御信号と第2のゲート制御信号とを前記電力コンバータに供給するステップを含み、
各ゲート制御信号は、少なくとも2つのノッチ(1120、1130)を含む切替パターン(1110)を有し、前記第2のゲート制御信号は、前記第1のゲート制御信号に対して移相される、請求項1に記載の方法。 - 前記電力コンバータ(1000)が、第1の脚部(1065)と第2の脚部(1075)とを備える電気回路を備え、
前記少なくとも1つのゲート制御信号を供給するステップ(1220)が、第1のゲート制御信号を前記第1の脚部(1065)に供給するステップと、第2のゲート制御信号を前記第2の脚部に供給するステップとを含む、請求項1に記載の方法。 - 前記第2のゲート制御信号が、前記第1のゲート制御信号に対して移相される、請求項7に記載の方法。
- 前記第1の脚部(1065)が第1の半導体を備え、前記第2の脚部(1075)が第2の半導体を備え、
(i)前記第1の半導体と前記第2の半導体との間の温度平衡、(ii)前記第1の半導体と前記第2の半導体内の電力損失、又は(iii)前記出力電力信号の調波歪みのうち少なくとも1つを改善するため、各ゲート制御信号の前記ノッチ(1120、1130)の位置を調整するステップを含む、請求項7に記載の方法。 - (i)前記電力コンバータ内の温度平衡、(ii)前記電力コンバータ内の電力損失、又は(iii)前記出力電力信号の調波歪みのうちの少なくとも1つを改善するため、少なくとも1つのゲート制御信号の前記切替パターン(1110)を調整するステップ(1230)をさらに含む、請求項1乃至9のいずれか1項に記載の方法。
Applications Claiming Priority (2)
| Application Number | Priority Date | Filing Date | Title |
|---|---|---|---|
| US12/185,534 | 2008-08-04 | ||
| US12/185,534 US8050063B2 (en) | 2007-05-31 | 2008-08-04 | Systems and methods for controlling a converter for powering a load |
Publications (2)
| Publication Number | Publication Date |
|---|---|
| JP2010041917A true JP2010041917A (ja) | 2010-02-18 |
| JP5508780B2 JP5508780B2 (ja) | 2014-06-04 |
Family
ID=41067061
Family Applications (1)
| Application Number | Title | Priority Date | Filing Date |
|---|---|---|---|
| JP2009178535A Expired - Fee Related JP5508780B2 (ja) | 2008-08-04 | 2009-07-31 | 負荷に出力電力信号を供給する方法 |
Country Status (3)
| Country | Link |
|---|---|
| US (1) | US8050063B2 (ja) |
| JP (1) | JP5508780B2 (ja) |
| GB (1) | GB2462355B (ja) |
Families Citing this family (23)
| Publication number | Priority date | Publication date | Assignee | Title |
|---|---|---|---|---|
| US7994750B2 (en) * | 2008-04-29 | 2011-08-09 | General Electric Company | Systems and methods for controlling a converter for powering a load |
| US7855906B2 (en) * | 2009-10-26 | 2010-12-21 | General Electric Company | DC bus voltage control for two stage solar converter |
| US8050062B2 (en) | 2010-02-24 | 2011-11-01 | General Electric Company | Method and system to allow for high DC source voltage with lower DC link voltage in a two stage power converter |
| DE102011075576A1 (de) * | 2011-05-10 | 2012-11-15 | Siemens Aktiengesellschaft | Umrichteranordnung |
| DE102011076039A1 (de) * | 2011-05-18 | 2012-11-22 | Siemens Aktiengesellschaft | Umrichteranordnung |
| US8791671B2 (en) * | 2012-12-07 | 2014-07-29 | General Electric Company | System and method for optimization of dual bridge doubly fed induction generator (DFIG) |
| US10044232B2 (en) | 2014-04-04 | 2018-08-07 | Apple Inc. | Inductive power transfer using acoustic or haptic devices |
| US10135303B2 (en) | 2014-05-19 | 2018-11-20 | Apple Inc. | Operating a wireless power transfer system at multiple frequencies |
| US10790699B2 (en) | 2015-09-24 | 2020-09-29 | Apple Inc. | Configurable wireless transmitter device |
| EP3338340B1 (en) | 2015-09-24 | 2020-06-17 | Apple Inc. | Configurable wireless transmitter device |
| US10477741B1 (en) | 2015-09-29 | 2019-11-12 | Apple Inc. | Communication enabled EMF shield enclosures |
| US10651685B1 (en) | 2015-09-30 | 2020-05-12 | Apple Inc. | Selective activation of a wireless transmitter device |
| KR102485705B1 (ko) * | 2016-02-18 | 2023-01-05 | 엘에스일렉트릭(주) | 멀티 레벨 인버터의 3상 평형 전압 제어 방법 |
| US10312798B2 (en) | 2016-04-15 | 2019-06-04 | Emerson Electric Co. | Power factor correction circuits and methods including partial power factor correction operation for boost and buck power converters |
| US10763740B2 (en) | 2016-04-15 | 2020-09-01 | Emerson Climate Technologies, Inc. | Switch off time control systems and methods |
| US10284132B2 (en) | 2016-04-15 | 2019-05-07 | Emerson Climate Technologies, Inc. | Driver for high-frequency switching voltage converters |
| US10305373B2 (en) | 2016-04-15 | 2019-05-28 | Emerson Climate Technologies, Inc. | Input reference signal generation systems and methods |
| US10277115B2 (en) | 2016-04-15 | 2019-04-30 | Emerson Climate Technologies, Inc. | Filtering systems and methods for voltage control |
| US10656026B2 (en) | 2016-04-15 | 2020-05-19 | Emerson Climate Technologies, Inc. | Temperature sensing circuit for transmitting data across isolation barrier |
| US9933842B2 (en) | 2016-04-15 | 2018-04-03 | Emerson Climate Technologies, Inc. | Microcontroller architecture for power factor correction converter |
| US10734840B2 (en) | 2016-08-26 | 2020-08-04 | Apple Inc. | Shared power converter for a wireless transmitter device |
| US10594160B2 (en) | 2017-01-11 | 2020-03-17 | Apple Inc. | Noise mitigation in wireless power systems |
| US10186995B2 (en) | 2017-01-13 | 2019-01-22 | General Electric Company | Rotating switching strategy for power converters |
Citations (4)
| Publication number | Priority date | Publication date | Assignee | Title |
|---|---|---|---|---|
| JPH02131370A (ja) * | 1988-11-09 | 1990-05-21 | Toshiba Corp | インバータ回路 |
| JPH07288983A (ja) * | 1994-04-15 | 1995-10-31 | Meidensha Corp | 大容量トランス多重インバータ |
| JP2004248467A (ja) * | 2003-02-17 | 2004-09-02 | Toshiba Corp | 電力変換装置 |
| JP2008048513A (ja) * | 2006-08-11 | 2008-02-28 | Toshiba Corp | 半導体電力変換制御装置 |
Family Cites Families (7)
| Publication number | Priority date | Publication date | Assignee | Title |
|---|---|---|---|---|
| JP2851018B2 (ja) | 1991-06-24 | 1999-01-27 | 東洋電機製造株式会社 | 電気車制御装置 |
| US6803741B2 (en) * | 2002-09-16 | 2004-10-12 | Rockwell Automation Technologies, Inc. | Motor controller |
| US7034501B1 (en) * | 2005-02-28 | 2006-04-25 | Rockwell Automation Technologies, Inc. | Adjusting gate pulse time intervals for reflected wave mitigation |
| JP2008048537A (ja) | 2006-08-17 | 2008-02-28 | Mitsubishi Electric Corp | 交流−交流電力変換装置 |
| US7847507B2 (en) * | 2007-05-31 | 2010-12-07 | General Electric Company | Zero-current notch waveform for control of a three-phase, wye-connected H-bridge converter for powering a high-speed electric motor |
| US7643318B2 (en) * | 2007-06-01 | 2010-01-05 | General Electric Company | Dual voltage wye-connected H-bridge converter topology for powering a high-speed electric motor |
| US7643319B2 (en) * | 2007-06-22 | 2010-01-05 | General Electric Company | 7-level wye-connected H-bridge converter topology for powering a high-speed electric motor |
-
2008
- 2008-08-04 US US12/185,534 patent/US8050063B2/en not_active Expired - Fee Related
-
2009
- 2009-07-30 GB GB0913242.4A patent/GB2462355B/en not_active Expired - Fee Related
- 2009-07-31 JP JP2009178535A patent/JP5508780B2/ja not_active Expired - Fee Related
Patent Citations (4)
| Publication number | Priority date | Publication date | Assignee | Title |
|---|---|---|---|---|
| JPH02131370A (ja) * | 1988-11-09 | 1990-05-21 | Toshiba Corp | インバータ回路 |
| JPH07288983A (ja) * | 1994-04-15 | 1995-10-31 | Meidensha Corp | 大容量トランス多重インバータ |
| JP2004248467A (ja) * | 2003-02-17 | 2004-09-02 | Toshiba Corp | 電力変換装置 |
| JP2008048513A (ja) * | 2006-08-11 | 2008-02-28 | Toshiba Corp | 半導体電力変換制御装置 |
Also Published As
| Publication number | Publication date |
|---|---|
| JP5508780B2 (ja) | 2014-06-04 |
| GB2462355B (en) | 2012-06-06 |
| US20080304302A1 (en) | 2008-12-11 |
| US8050063B2 (en) | 2011-11-01 |
| GB0913242D0 (en) | 2009-09-02 |
| GB2462355A (en) | 2010-02-10 |
Similar Documents
| Publication | Publication Date | Title |
|---|---|---|
| JP5508780B2 (ja) | 負荷に出力電力信号を供給する方法 | |
| US7847507B2 (en) | Zero-current notch waveform for control of a three-phase, wye-connected H-bridge converter for powering a high-speed electric motor | |
| Siami et al. | Simplified finite control set-model predictive control for matrix converter-fed PMSM drives | |
| US7643319B2 (en) | 7-level wye-connected H-bridge converter topology for powering a high-speed electric motor | |
| Soeiro et al. | The new high-efficiency hybrid neutral-point-clamped converter | |
| Schweizer et al. | Comparison and implementation of a 3-level NPC voltage link back-to-back converter with SiC and Si diodes | |
| US9007789B2 (en) | Electric circuit for high voltage power conversion | |
| US7643318B2 (en) | Dual voltage wye-connected H-bridge converter topology for powering a high-speed electric motor | |
| CA2789937A1 (en) | 3-level pulse width modulation inverter with snubber circuit | |
| US7994750B2 (en) | Systems and methods for controlling a converter for powering a load | |
| Xu et al. | A medium voltage AC drive with parallel current source inverters for high power applications | |
| Chiang et al. | DC/DC boost converter functionality in a three-phase indirect matrix converter | |
| JP2014007854A (ja) | 電力変換装置 | |
| Papastergiou et al. | Comparison of losses in multilevel converters for aerospace applications | |
| Baccani et al. | Electric Systems For High Power Compressor Trains In Oil And Gas Applications-System Design, Validation Approach, And Performances. | |
| Najjar et al. | A high power density three-phase three-level hybrid igbt/sic interleaved active neutral point clamped voltage source converter | |
| Hildebrandt et al. | Evaluation of 1.7 kV SiC MOSFETs for a regenerative cascaded H-bridge multilevel converter cell | |
| EP3571757B1 (en) | Energy reset of a modular multilevel converter | |
| Faraji et al. | SiC 99.55%-Efficient Fanless Three-Phase Three-Level Flying Capacitor Converter | |
| Lee et al. | Convenient thermal modeling for loss distribution of 3-level Active NPC using newton's law | |
| JPWO2018179234A1 (ja) | H型ブリッジ変換器およびパワーコンディショナ | |
| Mademlis et al. | Comparative study of the torque ripple and iron losses of a permanent magnet synchronous generator driven by multilevel converters | |
| CN111865098A (zh) | 再生级联h桥电力供应装置 | |
| Dobrucky et al. | Two‐Phase Inverters with Minimum Switching Devices | |
| Barchowsky et al. | A 2kW, High Power-Density (100W/in3), GaN-Based, Modular Multilevel Converter for Variable Speed Drive Applications in DC Systems |
Legal Events
| Date | Code | Title | Description |
|---|---|---|---|
| A621 | Written request for application examination |
Free format text: JAPANESE INTERMEDIATE CODE: A621 Effective date: 20120726 |
|
| A131 | Notification of reasons for refusal |
Free format text: JAPANESE INTERMEDIATE CODE: A131 Effective date: 20131022 |
|
| A977 | Report on retrieval |
Free format text: JAPANESE INTERMEDIATE CODE: A971007 Effective date: 20131023 |
|
| A521 | Request for written amendment filed |
Free format text: JAPANESE INTERMEDIATE CODE: A523 Effective date: 20131213 |
|
| TRDD | Decision of grant or rejection written | ||
| A01 | Written decision to grant a patent or to grant a registration (utility model) |
Free format text: JAPANESE INTERMEDIATE CODE: A01 Effective date: 20140304 |
|
| A61 | First payment of annual fees (during grant procedure) |
Free format text: JAPANESE INTERMEDIATE CODE: A61 Effective date: 20140324 |
|
| R150 | Certificate of patent or registration of utility model |
Ref document number: 5508780 Country of ref document: JP Free format text: JAPANESE INTERMEDIATE CODE: R150 |
|
| R250 | Receipt of annual fees |
Free format text: JAPANESE INTERMEDIATE CODE: R250 |
|
| R250 | Receipt of annual fees |
Free format text: JAPANESE INTERMEDIATE CODE: R250 |
|
| R250 | Receipt of annual fees |
Free format text: JAPANESE INTERMEDIATE CODE: R250 |
|
| R250 | Receipt of annual fees |
Free format text: JAPANESE INTERMEDIATE CODE: R250 |
|
| R250 | Receipt of annual fees |
Free format text: JAPANESE INTERMEDIATE CODE: R250 |
|
| R250 | Receipt of annual fees |
Free format text: JAPANESE INTERMEDIATE CODE: R250 |
|
| LAPS | Cancellation because of no payment of annual fees |
