JP2010041069A - 光パルス信号再生方法及び光パルス信号再生装置 - Google Patents

光パルス信号再生方法及び光パルス信号再生装置 Download PDF

Info

Publication number
JP2010041069A
JP2010041069A JP2008198004A JP2008198004A JP2010041069A JP 2010041069 A JP2010041069 A JP 2010041069A JP 2008198004 A JP2008198004 A JP 2008198004A JP 2008198004 A JP2008198004 A JP 2008198004A JP 2010041069 A JP2010041069 A JP 2010041069A
Authority
JP
Japan
Prior art keywords
signal
optical pulse
pulse signal
optical
phase adjustment
Prior art date
Legal status (The legal status is an assumption and is not a legal conclusion. Google has not performed a legal analysis and makes no representation as to the accuracy of the status listed.)
Granted
Application number
JP2008198004A
Other languages
English (en)
Other versions
JP4605269B2 (ja
Inventor
Yoshihiro Kanda
祥宏 神田
Masatoshi Kagawa
昌俊 賀川
Hitoshi Murai
仁 村井
Current Assignee (The listed assignees may be inaccurate. Google has not performed a legal analysis and makes no representation or warranty as to the accuracy of the list.)
Oki Electric Industry Co Ltd
Original Assignee
Oki Electric Industry Co Ltd
Priority date (The priority date is an assumption and is not a legal conclusion. Google has not performed a legal analysis and makes no representation as to the accuracy of the date listed.)
Filing date
Publication date
Application filed by Oki Electric Industry Co Ltd filed Critical Oki Electric Industry Co Ltd
Priority to JP2008198004A priority Critical patent/JP4605269B2/ja
Publication of JP2010041069A publication Critical patent/JP2010041069A/ja
Application granted granted Critical
Publication of JP4605269B2 publication Critical patent/JP4605269B2/ja
Expired - Fee Related legal-status Critical Current
Anticipated expiration legal-status Critical

Links

Images

Landscapes

  • Optical Modulation, Optical Deflection, Nonlinear Optics, Optical Demodulation, Optical Logic Elements (AREA)
  • Optical Communication System (AREA)

Abstract

【課題】光ゲート回路として機能するNOLMの周辺温度変動等の外部環境の変化が生じても、全光3R信号再生機能を安定的に実現する。
【解決手段】初段再生光パルス信号生成器10と、光クロック信号抽出装置20と、位相調整信号抽出装置30と、光クロック信号位相調整器50と、NOLM 60とを具える。初段再生光パルス信号生成器は2R信号再生を実行し初段再生光パルス信号11を生成して出力する。光クロック信号抽出装置は、初段再生光パルス信号15-2が入力されて光クロック信号25を抽出して出力する。位相調整信号抽出装置は、再生光パルス信号57が入力されて位相調整信号43を生成して出力する。位相調整信号が光クロック信号位相調整器に入力されて、光クロック信号の位相が初段再生光パルス信号と合致するように調整される。
【選択図】図1

Description

この発明は、光ファイバ伝送路を伝播中に強度が低下し、光パルス波形に歪あるいは位相にばらつきが生じた光パルス信号を、増幅及び波形整形し、かつ位相のばらつきを修正して光パルス信号を再生する、光パルス信号再生方法及び光パルス信号再生装置に関する。
光ファイバ通信では、規則正しい一定の時間間隔で光パルスが並ぶ光パルス列を変調して得られる2値デジタル信号を反映した光パルス信号を、伝送路である光ファイバを伝播させることで通信が行なわれる。規則正しい一定の時間間隔とは、伝送密度周波数に相当する周波数の逆数に相当する時間間隔である。以後、伝送密度をビットレートということもある。
最近、光ファイバ通信ネットワークは、伝送の長距離化及び大容量化が進められている。伝送の長距離化にともなって、光伝送路における光損失、光増幅器の多段使用によるS/N比の低下、及び光ファイバの群速度分散や光ファイバ中での非線形光学効果による波形歪が発生し、また位相にばらつきが生じること等により、光パルス信号の品質が劣化することが問題となる。すなわち、光パルス信号の波形歪及び位相ばらつきの発生は、伝送容量が大きくなるほど、顕著な問題となる。
そのため、光伝送路の途中に数十から数百キロメートルの間隔で中継器を設けて、この中継器において光パルス信号の周波数波形及び時間波形を元の形状に戻す、いわゆる光パルス信号の再生が行われている。すなわち、光ファイバ通信において、その伝送距離を長くするためには、光パルス信号を増幅する機能(Re-amplifying)、光パルス信号を構成する光パルスの波形整形をする機能(Re-shaping)及び再生する光パルスの時間幅・位相を制御してタイミング再生する機能(Re-timing)の三つの機能を併せ持つ光パルス信号再生装置が必要である。
以後、説明の便宜のため、光パルス信号を増幅する機能(Re-amplifying)及び光パルス信号を構成する光パルスの波形整形をする機能(Re-shaping)をまとめて2R信号再生ということもある。また、2R信号再生に光パルスの時間幅・位相を制御してタイミング再生する機能(Re-timing)を含めて3R信号再生ということもある。
光ファイバ伝送路を伝播中に強度が低下し、光パルス波形に歪あるいは位相にばらつきが生じた被再生光パルス信号を信号再生するには、光パルス信号を一旦電気パルス信号に変換して信号再生処理する方法と、電気信号に変換することなく、光信号の状態で信号再生処理する方法とがある。電気信号に変換せずに光信号の状態で2Rあるいは3R信号再生処理する方法を全光2Rあるいは全光3R信号再生処理ということもある。
光パルス信号を一旦電気パルス信号に変換して2Rあるいは3R信号再生処理する方法では、この処理に用いられる電子デバイスの動作速度の限界から、特に40 Gbit/sを超えるビットレートの光パルス信号に対しては対応することが困難となる。
そこでこれを解決する手法として、光ファイバ型モード同期レーザ、高非線形光ファイバ及び電界吸収型光変調器を利用した全光2R信号再生処理を行う手法が開示されている(例えば、非特許文献1参照)。また、高非線形分散フラットファイバにおける自己位相変調と波長フィルタによるスペクトルスライス方式を用いて、被再生光パルス信号の波長を波長シフトすることによる全光2R信号再生処理方法が開示されている(例えば、非特許文献2参照)。また、このペクトルスライス方式を用いた全光2R信号再生処理方法の改良型として、スペクトルスライス型波長変換器を多段に接続する方法が開示されている(例えば、非特許文献3参照)。
一方、全光2R信号再生処理された光パルス信号の光パルスの時間幅・位相を、非線形光ループミラー(NOLM: Non-linear Optical loop Mirror)によってタイミング再生(Re-timing)することで、全光3R再生処理を行った報告例がある(例えば、非特許文献4参照)。
この報告の全光3R信号再生処理においては、被再生光パルス信号から光クロック信号を抽出して、光ゲート回路を用いて被再生光パルス信号と光クロック信号とのAND処理(ゲーティング)を行うことで光パルス信号が再生されている。すなわち、光ゲートとして機能するNOLM内で、被再生光パルス信号を構成する光パルスと光クロック信号を構成する光パルスとの互いの光パルス同士の重なり合う部分のエネルギー成分だけが光ゲートから出力されるという効果を利用して、被再生光パルス信号の位相と光クロック信号との位相とを合致させることによってタイミング再生(Re-timing)を行って、光パルス信号を再生するという手法がとられている。
非特許文献4に開示されている全光3R信号再生処理において、光ゲートとして利用されているNOLMは、第1及び第2の二つの光路を伝播する光を双方向結合させる機能を有する第1の光カプラと、第1と第2の光路との二つの光路を結ぶループ光路と、このループ光路に方向性結合される第3の光路を含む第2の光カプラとを具えて構成される。すなわち、非特許文献4に開示されている全光3R信号再生処理においては、このNOLMによって光パルス信号と光クロック信号との論理積処理(AND処理)が行われる。
T. Her, et al., "Experimental Demonstration of A Fiber-based Optical 2R Regenerator in Front of an 80 Gbit/s Receiver," OFC 2003 TuH3 Masayuki Matsumoto, et al., "Wavelength-Shift-Free SPM-Based 2R Regeneration by Bidirectional Use of a Highly Nonlinear Fiver," OFC 2007 OME 5 松本正行、「ファイバの非線形効果を利用したDPSK信号の3R再生」2006年電子情報通信学会総合大会予稿集 B-10-22 村井 仁他、「JGN2光テストヘッドを用いた160-Gb/s光3R信号再生中継伝送」2008年電子情報通信学会総合大会予稿集 B-10-75、p.358
しかしながら、上述した全光2R信号再生処理に加えて、光ゲート回路として機能するNOLMによるRe-timing機能を加えた全光3R信号再生処理において、NOLMの周辺温度変動等の外部環境の変化に伴い、全光3R信号再生処理が十分に行われないという問題点があることが判明した。すなわち、NOLMの周辺温度変動等の外部環境の変化が生じると、全光2R信号再生処理によって再生された光パルス信号と光クロック信号との位相ずれが生じ、これが原因となって全光3R信号再生処理機能を安定的に実現すること困難となることが判明した。
そこで、この発明は、NOLMの周辺温度変動等の外部環境の変化等が発生しても、全光2R信号再生処理によって再生された光パルス信号と光クロック信号との位相ずれ量を常に0に保つことが可能な光パルス信号再生方法及びこの方法を実現する装置を提供することを目的とする。
この発明の発明者は、入力された被再生光パルス信号を3R信号再生処理して生成される再生光パルス信号の波長スペクトルを観測する研究を行ったところ、以下の知見を得た。再生光パルス信号の波長スペクトルが、この波長スペクトル帯域の中心波長に対して対称であれば、初段再生光パルス信号の位相と光クロック信号の位相との間にずれが生じていない。すなわち、再生光パルス信号の波長スペクトル帯域の中心波長に対して、波長スペクトル帯域中に生じる複数のピークのうち、当該波長スペクトル帯域の中心波長に最も近接している短波長側及び長波長側のピークをそれぞれ有する波長成分の強度比が1対1であれば、初段再生光パルス信号の位相と光クロック信号の位相との間にずれが生じていないことを見出した。
そこで、上述の両波長成分の強度比が常に1対1となるように、初段再生光パルス信号の位相又は光クロック信号の位相に遅延を与える操作を行えば、全光3R信号再生処理機能を安定的に実現することが可能となるとの見解に達した。
上述の理念に基づくこの発明の要旨によれば、以下の光パルス信号再生方法及びこの方法を実現するための光パルス信号再生装置が提供される。
請求項1に記載のこの発明の光パルス信号再生方法は、初段再生光パルス信号生成ステップと、光クロック信号抽出ステップと、再生光パルス信号生成ステップと、位相調整信号抽出ステップと、位相調整ステップを含んで構成される。
初段再生光パルス信号生成ステップは、入力された被再生光パルス信号の光パルスの時間波形成形及び当該光パルスの増幅を行って、初段再生光パルス信号を生成して出力するステップである。光クロック信号抽出ステップは、初段再生光パルス信号から光クロック信号を抽出するステップである。再生光パルス信号生成ステップは、初段再生光パルス信号と光クロック信号との論理積である、再生光パルス信号を生成して出力するステップである。位相調整信号抽出ステップは、再生光パルス信号の波長スペクトル帯域の中心波長に対して、波長スペクトル帯域中に生じる複数のピークのうち、当該波長スペクトル帯域の中心波長に最も近接している短波長側及び長波長側のピークをそれぞれ有する波長成分であって、両波長成分の強度比に比例する大きさの電力信号である位相調整信号を生成して出力するステップである。位相調整ステップは、位相調整信号に基づいて、光クロック信号の位相と初段再生光パルス信号の位相とを合わせるステップである。
上述の光パルス信号再生方法は、請求項4に記載の光パルス信号再生装置によって実現される。すなわち、この発明の光パルス信号再生装置は、初段再生光パルス信号生成器と、光クロック信号抽出装置と、NOLMと、位相調整信号抽出装置と、光クロック信号位相調整器とを具えて構成される。
初段再生光パルス信号生成器は、被再生光パルス信号が入力されて、光パルスの時間波形成形及び当該光パルスの増幅を行い、初段再生光パルス信号を生成して出力する。光クロック信号抽出装置は、初段再生光パルス信号が入力されて、初段再生光パルス信号から光クロック信号を抽出して出力する。NOLMは、初段再生光パルス信号と光クロック信号とが入力されて、再生光パルス信号を生成して出力する。
位相調整信号抽出装置は、再生光パルス信号が入力されて、再生光パルス信号から、再生光パルス信号の波長スペクトル帯域の中心波長に対して、波長スペクトル帯域中に生じる複数のピークのうち、当該波長スペクトル帯域の中心波長に最も近接している短波長側及び長波長側のピークをそれぞれ有する波長成分であって、両波長成分の強度比に比例する大きさの電力信号である位相調整信号を生成して出力する。
光クロック信号位相調整器は、光クロック信号が入力されて、位相調整信号に基づいて光クロック信号の位相を初段再生光パルス信号の位相に合わせて位相調整光クロック信号を生成して出力する。
この発明の光パルス信号再生装置は、請求項5に記載するように、上述の光クロック信号位相調整器の代わりに初段再生光パルス信号位相調整器を具えて構成しても良い。初段再生光パルス信号位相調整器は、初段再生光パルス信号が入力されて、位相調整信号に基づいて初段再生光パルス信号の位相を光クロック信号の位相に合わせて位相調整初段再生光パルス信号を生成して出力する。
この発明の光パルス信号再生方法において、光クロック信号抽出ステップは、請求項2に記載するように、初段再生光パルス信号から電気クロック信号を抽出するステップと、電気クロック信号によってモード同期半導体レーザを制御して、モード同期半導体レーザによって光クロック信号を生成するステップを含んで構成するのが好適である。
この光クロック信号抽出ステップは、請求項6に記載の光クロック信号抽出装置によって実現される。すなわち、光クロック信号抽出装置は、初段再生光パルス信号が入力されて、電気クロック信号を抽出して出力する電気クロック信号抽出器と、電気クロック信号によってモード同期動作し、光クロック信号を生成して出力するモード同期半導体レーザとを具えた構成とするのが好適である。
また、この発明の光パルス信号再生方法において、位相調整信号抽出ステップは、請求項3に記載するように、再生光パルス信号分岐ステップと、第1位相調整信号生成ステップと、第2位相調整信号生成ステップと、位相調整信号生成ステップとを含んで構成するのが好適である。
再生光パルス信号分岐ステップは、再生光パルス信号を、第1再生光パルス信号と第2再生光パルス信号とに分岐するステップである。
第1位相調整信号生成ステップは、第1再生光パルス信号の波長スペクトル帯域の中心波長に対して、波長スペクトル帯域中に生じる複数のピークのうち、当該波長スペクトル帯域の中心波長に最も近接している短波長側のピークを有する波長成分の強度に比例する電力信号である第1位相調整信号を生成して出力するステップである。
第2位相調整信号生成ステップは、第2再生光パルス信号の波長スペクトル帯域の中心波長に対して、波長スペクトル帯域中に生じる複数のピークのうち、当該波長スペクトル帯域の中心波長に最も近接している長波長側のピークを有する波長成分の強度に比例する電力信号である第2位相調整信号を生成して出力するステップである。
位相調整信号生成ステップは、第1位相調整信号と第2位相調整信号との強度比に比例する大きさの電力信号である位相調整信号を生成して出力するステップである。
また、この発明の光パルス信号再生方法において、位相調整信号抽出ステップは、請求項7に記載の位相調整信号抽出装置によって実現される。すなわち、位相調整信号抽出装
は、再生光パルス信号分岐器と、第1位相調整信号生成器と、第2位相調整信号生成器と、強度比較器とを具えて構成するのが好適である。
再生光パルス信号分岐器は、再生光パルス信号が入力されて、第1再生光パルス信号と第2再生光パルス信号とに分岐して出力する。
第1位相調整信号生成器は、第1再生光パルス信号が入力されて、波長スペクトル帯域の中心波長に対して、波長スペクトル帯域中に生じる複数のピークのうち、当該波長スペクトル帯域の中心波長に最も近接している短波長側のピークを有する波長成分の強度に比例する電力信号である第1位相調整信号を生成して出力する。
第2位相調整信号生成器は、第2再生光パルス信号が入力されて、波長スペクトル帯域の中心波長に対して、波長スペクトル帯域中に生じる複数のピークのうち、当該波長スペクトル帯域の中心波長に最も近接している長波長側のピークを有する波長成分の強度に比例する電力信号である第2位相調整信号を生成して出力する。
強度比較器は、第1位相調整信号と第2位相調整信号とが入力されて、第1位相調整信号と第2位相調整信号との強度比に比例する大きさの電力信号である位相調整信号を生成して出力する。
請求項4あるいは5に記載のこの発明の光パルス信号再生装置によれば、位相調整信号が、光クロック信号位相調整器又は初段再生光パルス信号位相調整器に供給されることよって、光クロック信号の位相と初段再生光パルス信号の位相とが合わせられる位相調整ステップが実行される。従って、この発明の光パルス信号再生装置によれば、位相調整信号に基づいて、光クロック信号位相調整器あるいは初段再生光パルス信号位相調整器によって、上述の両波長成分の強度比が常に1対1となるように、初段再生光パルス信号の位相又は光クロック信号の位相を調整する操作が実行される。
従って、NOLMの周辺温度変動等の外部環境に変化が発生しても、初段再生光パルス信号と光クロック信号との位相ずれ量を常に0に保つことが可能となる。これによって、全光3R信号再生処理機能を安定的に実現することが可能となる。
光クロック信号抽出ステップを、請求項6に記載のモード同期半導体レーザを具える光クロック信号抽出装置によって実現することによって、光クロック信号の波長を自由に選択できることに加え、光クロック信号を構成する光パルスの時間波形を時間軸に対する対称性に優れた波形歪のない形状に整えることが可能となる。光クロック信号の波長は、利用するモード同期半導体レーザの発振波長を変更することで、容易に変更することが可能である。このことによって、この発明の光パルス信号再生装置を利用する光中継器等において、光パルス信号の波長に応じて、抽出する光クロック信号の波長を適宜選択ができるという利点がある。
位相調整信号抽出ステップを、再生光パルス信号分岐器と、第1位相調整信号生成器と、第2位相調整信号生成器と、強度比較器とを具えて構成される請求項7に記載の位相調整信号抽出装置によって実現することによって、位相調整信号が容易に得られる。
上述の位相調整信号抽出装置が具える、第1位相調整信号生成器と第2位相調整信号生成器とによって、第1位相調整信号及び第2位相調整信号を観測しつつ、両信号の強度比が常に1対1となるように手動によって、初段再生光パルス信号の位相又は光クロック信号の位相を調整すれば、この発明の目的は達成される。すなわち位相調整信号抽出ステップと位相調整ステップとは手動によって行うことが可能である。
一方、位相調整信号抽出ステップと位相調整ステップとを自動化するには、上述の強度比較器を具えた構成とすればよい。すなわち、上述の強度比較器によって、第1位相調整信号と第2位相調整信号との強度比を示す位相調整信号を生成し、位相調整信号に基づいて、初段再生光パルス信号の位相又は光クロック信号の位相を自律的に調整する手段を構成することは、既存の帰還制御の手法に基づき実施することが可能である。
以下、図を参照して、この発明の実施の形態につき説明する。なお、装置の形態の説明に供する各図は、この発明に係る一構成例を図示するものであり、この発明が理解できる程度に各構成要素の配置関係等を概略的に示しているに過ぎず、この発明を図示例に限定するものではない。また、各図において同様の構成要素については、同一の番号を付して示し、その重複する説明を省略することもある。また、以下に示す概略的構成図においては、光ファイバ等の光信号の経路を太線で示し、電気信号の経路を細線で示してある。
<光パルス信号再生装置>
図1を参照してこの発明の実施の形態の光パルス信号再生装置の構成及びその動作について説明する。図1は、この発明の実施の形態の光パルス信号再生装置の概略的構成図である。
この発明の光パルス信号再生装置は、初段再生光パルス信号生成器10と、光クロック信号抽出装置20と、位相調整信号抽出装置30と、光クロック信号位相調整器50と、NOLM 60とを具えて構成される。
NOLM 60は、光ファイバ64と光結合器66と双方向性光結合器62を具えて構成されるサニャック型光干渉計である。光結合器66には、後述する、初段再生光パルス信号15-1あるいは位相調整初段再生光パルス信号53が入力される。双方向性光結合器62には光クロック信号51が入力され、再生光パルス信号63及び再生光パルス信号65が双方向性光結合器62から出力される。
光クロック信号51は、後述するように、光クロック信号抽出装置20から出力された光クロック信号25の位相が光クロック信号位相調整器50によって調整されて出力された光クロック信号であるから、位相調整光クロック信号である。以後、簡便のため光クロック信号位相調整器50から出力される位相調整光クロック信号を、単に光クロック信号51という。
初段再生光パルス信号生成器10は、被再生光パルス信号9が入力されて、光パルスの時間波形成形及び当該光パルスの増幅を行い、初段再生光パルス信号11を生成して出力する。すなわち、波長がλsである被再生光パルス信号9が初段再生光パルス信号生成器10に入力されて、波長がλpである初段再生光パルス信号11が生成されて出力される。
初段再生光パルス信号11は、上述した非特許文献4に開示されているスペクトルスライス型波長変換器を多段に接続する方法によって生成することが可能である。スペクトルスライス型波長変換器は、高非線形分散フラットファイバ(HN-DFF:highly nonlinear dispersion flattened fiber)と光バンドパスフィルタとを組み合わせて構成される。被再生光パルス信号がHN-DFFに入力されると、自己位相変調(Self-Phase Modulation)効果によって、被再生光パルス信号のスペクトル帯域幅が広がる。
自己位相変調効果とは、光パルスが光ファイバを伝播中に起こる現象であり、光パルスの中心では光カー効果により光ファイバの屈折率が高くなる。このため、光パルス中心付近では光の速度が遅れる。この結果、パルス前半の波長は長くなり、後半は短くなるという現象である。すなわち、自己位相変調効果によって、被再生光パルス信号のスペクトル帯域幅が広がることとなる。この自己位相変調効果が顕著に現れる特性を有しているのが、高非線形分散フラットファイバである。
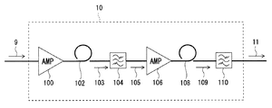
図2を参照して、スペクトルスライス型波長変換器を2段に接続して構成される初段再生光パルス信号生成器10の構成につき説明する。図2は、初段再生光パルス信号生成器10の概略的ブロック構成図である。初段再生光パルス信号生成器10は、第1段目を構成する第1光増幅器100と、第1のHN-DFF 102と、第(10-1)バンドパスフィルタ104とを具え、更に、第2段目を構成する第2光増幅器106と、第2のHN-DFF 108と、第(10-2)バンドパスフィルタ110とを具えて構成される。
図2に示す初段再生光パルス信号生成器10において、第1段目では、第1光増幅器100に被再生光パルス信号9が入力されて増幅された後、第1のHN-DFF 102に入力されて被再生光パルス信号9のスペクトル帯域幅が広げられる。スペクトル帯域幅が広げられて第1のHN-DFF 102から出力された第1被再生光パルス信号103は、第(10-1)バンドパスフィルタ104によって、この第(10-1)バンドパスフィルタ104の透過帯域の波長に変換される。
第2段目では、波長が変換された第1被再生光パルス信号105が、第2光増幅器106に入力されて増幅された後、第2のHN-DFF 108に入力されてスペクトル帯域幅が広げられる。スペクトル帯域幅が広げられて第2のHN-DFF 108から出力された第2被再生光パルス信号109は、第(10-2)バンドパスフィルタ110の透過帯域の波長に変換される。この第(10-2)バンドパスフィルタ110からの出力光が初段再生光パルス信号11である。
スペクトルスライス型波長変換器を1段ではなく、2段に接続して構成される初段再生光パルス信号生成器を利用する理由は、波長変換量である波長シフト量を大きくするためである。すなわち、被再生光パルス信号9の波長λsと初段再生光パルス信号11の波長λpとの差を大きくとるためである。
これは、後述するNOLM 60による光パルスのタイミング再生機能(Re-timing)を保障するためである。NOLM 60のタイミング再生機能を確保するためには、λsとλpとの差が8 nm以上必要とされている。一方、1段構成のスペクトルスライス型波長変換器では、ビットレートが40 Gbit/sを超える高ビットレートの光パルス信号の波長を8 nm以上シフトさせることは困難であることによる。
また、初段再生光パルス信号生成器10は、第1のHN-DFF 102及び第2のHN-DFF 108のそれぞれの前段に第1光増幅器100及び第2光増幅器106を具えている。第1光増幅器100及び第2光増幅器106によって、Re-amplifyingが実行される。また、上述の第1のHN-DFF 102と第(10-1)バンドパスフィルタ104との組み合わせ、及び第2のHN-DFF 108と第(10-2)バンドパスフィルタ110との組み合わせによって実現されるスペクトルスライス方式によって、波長変換とともに光パルスの波形整形をするRe-shapingが実行される。すなわち、被再生光パルス信号9は、初段再生光パルス信号生成器10に入力されて、波長変換と同時に2R信号再生が行われて、初段再生光パルス信号11として生成されて出力される。
初段再生光パルス信号11は、光分岐器14に入力されて初段再生光パルス信号15-1と初段再生光パルス信号15-2とに分岐されて出力される。
光クロック信号抽出装置20は、初段再生光パルス信号15-2が入力されて、電気クロック信号23を抽出して出力する電気クロック信号抽出器22と、電気クロック信号23によってモード同期動作し光クロック信号25を生成して出力するモード同期半導体レーザ(MLLD)24とを具えて構成されている。すなわち、光クロック信号抽出装置20は、初段再生光パルス信号15-2が入力されて、初段再生光パルス信号15-2から光クロック信号25を抽出して出力する。
電気クロック信号抽出器22は、例えば、周知の位相同期回路(PLL; Phase-locked loop)等を適宜利用して構成することが可能である。PLLを利用した場合は、まず、初段再生光パルス信号15-2をフォトダイオード等で電気パルス信号に変換し、電気パルス信号を、位相比較器と電圧制御発振器(VCO: voltage-controlled oscillator)とを具えたPLLに入力し、位相比較器で電気パルス信号のエッジタイミングを検出し、VCOの発振周波数および位相を調整する方法によって、電気クロック信号23を抽出することが可能である。
光クロック信号抽出装置20は、上述のように、電気クロック信号抽出器22とモード同期半導体レーザ24とを具えた構成に何ら限定されるものではない。電気クロック信号抽出器22を利用した電気的な処理をせずに、全ての処理を光信号のままで行う全光クロック信号抽出装置を利用することも可能である。例えば、特開2007-221198号公報あるいは特開2007-124026号公報に開示されている光クロック信号抽出装置等を光クロック信号抽出装置20として適宜利用することによって全光クロック信号抽出方法を実現することが可能である。
位相調整信号抽出装置30は、再生光パルス信号分岐器32と、第1位相調整信号生成器44と、第2位相調整信号生成器46と、強度比較器42とを具えて構成されている。再生光パルス信号分岐器32は、後述するように、再生光パルス信号57が入力される。第1位相調整信号生成器44は、第1光バンドパスフィルタ34と第1光電変換器38とを具えている。また、第2位相調整信号生成器46は、第2光バンドパスフィルタ36と第2光電変換器40とを具えている。
再生光パルス信号57は、NOLM 60から出力された再生光パルス信号63が、光サーキュレータ54を介して光バンドパスフィルタ56に入力され、フィルタリングされて出力される信号である。再生光パルス信号63は、光バンドパスフィルタ56に入力されて、光クロック信号の波長である波長λc成分がカットされ、再生光パルス信号の波長である波長λp成分が再生光パルス信号57として透過され出力される。すなわち、NOLM 60から光サーキュレータ54を介して出力される再生光パルス信号63には、光クロック信号の波長である波長λc成分が含まれており、再生光パルス信号63が光バンドパスフィルタ56を通過することによって、波長λc成分が除去されて、波長λpである再生光パルス信号57として透過され出力される。
一方、初段再生光パルス信号15-1は、NOLM 60に入力される。また、光クロック信号位相調整器50から出力される光クロック信号51が、光サーキュレータ54を介してNOLM 60に入力される。NOLM 60においては、初段再生光パルス信号15-1の位相と光クロック信号51との位相とを合致させるタイミング再生(Re-timing)が実行され、再生光パルス信号65が生成されて出力される。
NOLM 60におけるRe-timing動作は、初段再生光パルス信号15-1と光クロック信号51とを構成するそれぞれの光パルスのうち、互いの光パルス同士の重なり合う部分のエネルギー成分だけが光ゲートから出力されるという効果が利用されて実現されている。
再生光パルス信号65には、波長がλcである光クロック信号成分と、波長がλpである再生光パルス信号成分とが含まれているので、再生光パルス信号65を光バンドパスフィルタ70に入力することによって波長がλcである光クロック信号成分を除去して、波長λpである再生光パルス信号71を出力させる。
以上説明したこの発明の実施の形態である光パルス信号再生装置では、初段再生光パルス信号と光クロック信号との位相を合わせるために、光クロック信号抽出装置20の後段に配置される光クロック信号位相調整器50によって、光クロック信号25の位相を調整する構成とした。しかしながら、初段再生光パルス信号と光クロック信号との位相を合わせるためには、光クロック信号25の位相を調整する代わりに、初段再生光パルス信号15-1の位相を調整することによっても実現される。
図1においては、初段再生光パルス信号15-1の位相を調整することによって初段再生光パルス信号と光クロック信号との位相を合わせる構成についても図示してある。しかしながら、初段再生光パルス信号15-1の位相を調整する構成とするには、初段再生光パルス信号位相調整器52(破線の四角形で示してある。)を光分岐器14と光結合器66との間に挿入し、初段再生光パルス信号15-1を初段再生光パルス信号位相調整器52に入力し、初段再生光パルス信号位相調整器52から出力される位相調整初段再生光パルス信号53をNOLM 60の光結合器66に入力させる構成とすればよい。
上述したように、再生光パルス信号57は、位相調整信号抽出装置30の再生光パルス信号分岐器32に入力される。再生光パルス信号分岐器32は、再生光パルス信号57を第1再生光パルス信号33-1と第2再生光パルス信号33-2とに分岐して出力する。
第1位相調整信号生成器44は、第1再生光パルス信号33-1が入力されて、波長スペクトル帯域の中心波長に対して、波長スペクトル帯域中に生じる複数のピークのうち、波長スペクトル帯域の中心波長に最も近接している短波長側のピークを有する波長成分の強度に比例する電力信号である第1位相調整信号39を生成して出力する。すなわち、第1再生光パルス信号33-1は、第1光バンドパスフィルタ34に入力されて波長がλcである光クロック信号成分が除去されて第1位相調整信号35が生成されて出力される。第1位相調整信号35は、第1光電変換器38に入力されて第1位相調整信号39が生成されて出力される。
一方、第2位相調整信号生成器46は、第2再生光パルス信号33-2が入力されて、波長スペクトル帯域の中心波長に対して、波長スペクトル帯域中に生じる複数のピークのうち、当該波長スペクトル帯域の中心波長に最も近接している長波長側のピークを有する波長成分の強度に比例する電力信号である第2位相調整信号41を生成して出力する。すなわち、第2再生光パルス信号33-2は、第2光バンドパスフィルタ36に入力されて波長がλcである光クロック信号成分が除去されて第2位相調整信号37が生成されて出力される。第2位相調整信号37は、第2光電変換器40に入力されて第2位相調整信号41が生成されて出力される。
強度比較器42には、第1位相調整信号39と第2位相調整信号41とが入力されて、第1位相調整信号39と第2位相調整信号41との強度比に比例する大きさの電力信号である位相調整信号43を生成して出力する。
光クロック信号位相調整器50及び初段再生光パルス信号位相調整器52には、例えば、アイウェーブ株式会社から供給されているモータ制御可変ディレイライン(General Photonics社製、型番MLD-001)等を適宜利用することが可能である。光クロック信号位相調整器50をモータ制御可変ディレイラインによって実現すれば、位相調整信号43に対応して、内蔵されたモータが制御されてディレイラインの長さが調整されることによって、入力された光クロック信号25の位相が調整される。また、同様に初段再生光パルス信号位相調整器52をモータ制御可変ディレイラインによって実現すれば、同様に、位相調整信号43に対応して、入力された初段再生光パルス信号15-1の位相が調整される。
また、強度比較器42には、市販の差動アンプを適宜選択して利用することが可能である。差動アンプから出力される出力信号を、光クロック信号位相調整器50及び初段再生光パルス信号位相調整器52に利用される可変ディレイライン等の制御信号として利用可能な状態に適宜変換する手法は、使われる差動アンプ及び可変ディレイライン等との関係から決定すべき設計事項に属する。例えば、必要に応じて差動アンプから出力される出力信号を増幅する増幅器を用いることによって、可変ディレイラインの制御電圧を調整することが可能となる。
位相調整信号43は、光クロック信号位相調整器50に供給される。光クロック信号位相調整器50は、モード同期半導体レーザ24から出力される光クロック信号25が入力されて、位相調整信号43に基づいて光クロック信号25の位相を初段再生光パルス信号の位相に合わせて光クロック信号51を生成して出力する。
また、初段再生光パルス信号15-1の位相を調整することによって初段再生光パルス信号と光クロック信号との位相を合わせる構成とした場合は、位相調整信号43は、初段再生光パルス信号位相調整器52に供給される。初段再生光パルス信号位相調整器52は、初段再生光パルス信号15-1が入力されて、位相調整信号43に基づいて初段再生光パルス信号15-1の位相を光クロック信号の位相に合わせて位相調整初段再生光パルス信号53を生成して出力する。
すなわち、位相調整信号43を光クロック信号位相調整器50あるいは初段再生光パルス信号位相調整器52の何れに供給する構成としても、位相調整信号43に基づいて、第1位相調整信号39と第2位相調整信号41との強度比が常に1対1となるように、光クロック信号25の位相又は初段再生光パルス信号15-1の位相に遅延を与える操作が実行される。
強度比較器42によって、第1位相調整信号39と第2位相調整信号41との強度比を示す位相調整信号43を生成し、位相調整信号43に基づいて、初段再生光パルス信号15-1の位相又は光クロック信号25の位相を自律的に調整する手段を構成することは、既存の帰還制御の手法を用いて実施することが可能である。
この発明の実施の形態の光パルス信号再生装置によれば、光パルス信号のフォーマットとして、直接検波(IM-DD: Intensity Modulation-Direct Detection)方式あるいは平衡検波(Balanced detection)方式の何れを想定したフォーマットにも対応が可能である。すなわち、直接検波方式であるASK(Amplitude Shift Keying)方式によってコーディングされた光パルス信号に対応することが可能であるとともに、平衡検波方式であるDPSK方式によってコーディングされた光パルス信号に対応することも可能である。
また、上述したこの発明の実施の形態の光パルス信号再生装置においては、光クロック信号を生成するためにモード同期半導体レーザを用いたが、ファイバレーザ型のモード同期レーザを適宜利用することも可能である。また、モード同期半導体レーザ以外、例えば電界吸収型光変調器等を用いても光クロック信号を抽出することは可能である。
<検証実験>
図3を参照して、第1位相調整信号の強度と第2位相調整信号の強度が等しければ、初段再生光パルス信号の位相と光クロック信号の位相との間にずれが生じていないとの事実の検証実験について説明する。図3は、再生光パルス信号の波長スペクトルと、初段再生光パルス信号の位相と光クロック信号の位相との間のずれ量との関係の検証を行うための実験装置の概略的ブロック構成図である。
図1を参照して説明したこの発明の実施の形態の光パルス信号再生装置に、再生光パルス信号57をモニターするために再生光パルス信号57を分岐する光分岐器80を導入して検証実験を行った。光分岐器80に入力された再生光パルス信号57は、位相調整信号43を生成するために位相調整信号抽出装置30に入力される再生光パルス信号57-1と、モニター用の再生光パルス信号57-2とに分岐される。
再生光パルス信号57-1は、位相調整信号抽出装置30の再生光パルス信号分岐器32に入力され、第1再生光パルス信号33-1と第2再生光パルス信号33-2とに分岐される。
第1再生光パルス信号33-1は、第1光バンドパスフィルタ34に入力されて波長がλcである光クロック信号成分が除去されて第1位相調整信号35が生成されて出力される。第1位相調整信号35は、光パワーメータ84に入力されてその強度が測定される。
第2再生光パルス信号33-2は、第2光バンドパスフィルタ36に入力されて波長がλcである光クロック信号成分が除去されて第2位相調整信号37が生成されて出力される。第2位相調整信号37は、光パワーメータ86に入力されてその強度が測定される。
一方、モニター用の再生光パルス信号57-2は、光スペクトラムアナライザ82に入力されて、その波長スペクトルが観測される。
以下に説明する検証実験には、被再生光パルス信号としてビットレートが160 Gbit/sである光時分割多重信号を用いた。再生光パルス信号57の波長スペクトルは、光バンドパスフィルタ56の透過中心波長を変化させることによってその対称性を変化させた。
光バンドパスフィルタ56、第1光バンドパスフィルタ34及び第2光バンドパスフィルタ36は、それぞれ透過波長帯域幅が3 nm、0.3 nm及び0.3 nmである光ファイバブラッググレーティングを利用した。光バンドパスフィルタの透過波長帯域幅とは、波長透過特性曲線の半値全幅を指す。
図4を参照して、光スペクトラムアナライザ82で観測される代表的な再生光パルス信号の波長スペクトルについて説明する。図4は、代表的な再生光パルス信号の波長スペクトルを示す図であり、横軸に波長をnm単位で目盛って示し縦軸に強度をdBm単位で目盛って示してある。
図4に示すように、モニター用の再生光パルス信号57-2は、その中心波長が1550.3 nmであって、かつそのスペクトル帯域中に大小複数のピークを有している。この中心波長に対して短波長側及び長波長側において最近接する位置に存在しているピークをそれぞれピークA及びピークBとする。ピークAは、波長スペクトル帯域の中心波長に対して最近接する位置にピークを有する波長成分であって、かつピーク波長が中心波長に対して短波長側の波長成分のピークである。また、同様にピークBは、波長スペクトル帯域の中心波長に対して最近接する位置にピークを有する波長成分であって、かつピーク波長が中心波長に対して長波長側の波長成分のピークである。
図5を参照して、第1位相調整信号39(図1参照)の波長スペクトルについて説明する。第1位相調整信号39は、再生光パルス信号57-1が再生光パルス信号分岐器32によって分岐された第1再生光パルス信号33-1を、第1光バンドパスフィルタ34によってフィルタリングされて得られた第1位相調整信号35が第1光電変換器38に入力されて生成され出力された信号である。図5は、第1位相調整信号39の波長スペクトルを示す図であり、横軸に波長をnm単位で目盛って示し縦軸に強度をdBm単位で目盛って示してある。
第1光バンドパスフィルタ34の透過帯域波長は、図4に示すピークAが含まれる波長帯域に設定されている。光パワーメータ84(図3参照)で測定される電力信号は、第1位相調整信号35が光電変換されて、図5に示す第1位相調整信号35の波長スペクトルを示す曲線と横軸とで囲まれる面積に比例する大きさの第1位相調整信号39である。
次に、図6を参照して、第2位相調整信号41の波長スペクトルについて説明する。第2位相調整信号41(図1参照)は、再生光パルス信号57-1が再生光パルス信号分岐器32によって分岐された第2再生光パルス信号33-2を、第2光バンドパスフィルタ36によってフィルタリングされて得られた第2位相調整信号37が第2光電変換器40に入力されて生成され出力された信号である。図6は、第2位相調整信号41の波長スペクトルを示す図であり、横軸に波長をnm単位で目盛って示し縦軸に強度をdBm単位で目盛って示してある。
第2光バンドパスフィルタ36の透過帯域波長は、図4に示すピークBが含まれる波長帯域に設定されている。光パワーメータ86(図3参照)で測定される電力信号は、第2位相調整信号37が光電変換されて、図6に示す第2位相調整信号37の波長スペクトルを示す曲線と横軸とで囲まれる面積に比例する大きさの第2位相調整信号41である。
以上、図3から図6を参照して説明したように、再生光パルス信号分岐器32、第1及び第2位相調整信号生成器44、46を具えるこの発明の位相調整信号抽出装置30によれば、第1位相調整信号39の大きさと第2位相調整信号41の大きさとの強度比で与えられる位相調整信号43が得られる。この位相調整信号43は、再生光パルス信号波長スペクトルの対称性を与えるパラメータであり、これに基づき第1位相調整信号39と第2位相調整信号41の値の比を知ることが可能である。
次に、図7を参照して、第1位相調整信号39と第2位相調整信号41の値が等しくなるように、光クロック信号と初段再生光パルス信号との位相差を調整した場合における、モニター用の再生光パルス信号57-2(図3参照)の波長スペクトルについて説明する。図7は、第1位相調整信号39と第2位相調整信号41の値が等しくなるように光クロック信号と初段再生光パルス信号との位相差を調整した場合における、モニター用の再生光パルス信号57-2の波長スペクトルを示す図であり、横軸に波長をnm単位で目盛って示し縦軸に強度をdBm単位で目盛って示してある。
第1位相調整信号39と第2位相調整信号41の値が等しくなるように光クロック信号と初段再生光パルス信号との位相差を調整することによって、短波長側の波長成分のピークAと長波長側の波長成分のピークBとを等しくすることができることが分かる。そしてこのとき、光クロック信号の位相と初段再生光パルス信号の位相とが合致しており、再生光パルス信号71の時間波形は、その光パルスの対称性が高く、理想的な全光3R信号再生がなされていることを確かめた。
次に、図8を参照して、第1位相調整信号39の大きさに比べて第2位相調整信号41の大きさが大きくなるように、光クロック信号と初段再生光パルス信号との位相差を調整した場合における、モニター用の再生光パルス信号57-2の波長スペクトルについて説明する。
図8は、第1位相調整信号39より第2位相調整信号41の大きさが大きくなるように、光クロック信号と初段再生光パルス信号との位相差を調整した場合における、モニター用の再生光パルス信号57-2の波長スペクトルを示す図であり、横軸に波長をnm単位で目盛って示し縦軸に強度をdBm単位で目盛って示してある。第1位相調整信号39より第2位相調整信号41の大きさが大きい場合、光クロック信号の位相と初段再生光パルス信号の位相とがずれており、再生光パルス信号71の時間波形は、その光パルスの対称性が崩れており、理想的な全光3R信号再生がなされていないことを確かめた。
同様に図示は省略するが、第1位相調整信号39の大きさに比べて第2位相調整信号41の大きさが小さくなるように、光クロック信号と初段再生光パルス信号との位相差を調整した場合にも、光クロック信号の位相と初段再生光パルス信号の位相とがずれており、波長スペクトルが非対称となり、再生光パルス信号71の時間波形は、その光パルスの対称性が崩れており、理想的な全光3R信号再生がなされていないことを確かめた。
一方、上述したように、光クロック信号位相調整器50によって光クロック信号25の位相を変化させる、あるいは初段再生光パルス信号位相調整器52によって初段再生光パルス信号15-1の位相を変化させ、光クロック信号25(あるいは51)と初段再生光パルス信号15-1(あるいは53)との位相差を変化させることによって、モニター用の再生光パルス信号57-2の波長スペクトルの対称性を自在に変化させることができることを確かめた。そして、光クロック信号と初段再生光パルス信号との位相が合致した状態で、再生光パルス信号波長スペクトルの対称性が実現されることを確かめた。
以上の検証実験の結果から、第1位相調整信号39の大きさと第2位相調整信号41の大きさとを等しく設定することによって、理想的な全光3R信号再生がなされることが確かめられた。
また、第1位相調整信号39と第2位相調整信号41との強度比は、再生光パルス信号57の対称性が反映される値である。すなわち、第1位相調整信号39と第2位相調整信号41との強度比が1:1であれば再生光パルス信号57の波長スペクトル曲線は対称性を有する。
初段再生光パルス信号の位相と光クロック信号の位相とがずれている場合は、再生光パルス信号57の波長スペクトル曲線はその対称性を失っているので、第1位相調整信号39の大きさと第2位相調整信号41の大きさとが等しくなるように、初段再生光パルス信号の位相と光クロック信号の位相との関係を調整することによって、初段再生光パルス信号の位相と光クロック信号の位相とのずれをなくすことが可能である。
すなわち、第1位相調整信号39と第2位相調整信号41との強度比が、常に1:1となるように初段再生光パルス信号の位相又は光クロック信号の位相に遅延を与える操作を行えば、全光3R信号再生機能を安定的に実現することが可能となる。
この発明の実施の形態の光パルス信号再生装置の概略的構成図である。 初段再生光パルス信号生成器の概略的ブロック構成図である。 再生光パルス信号の波長スペクトルと、初段再生光パルス信号の位相と光クロック信号の位相との間のずれ量との関係の検証を行うための実験装置の概略的ブロック構成図である。 代表的な再生光パルス信号の波長スペクトルを示す図である。 第1位相調整信号の波長スペクトルを示す図である。 第2位相調整信号の波長スペクトルを示す図である。 第1位相調整信号と第2位相調整信号の値が等しくなるように光クロック信号と初段再生光パルス信号との位相差を調整した場合における、モニター用の再生光パルス信号の波長スペクトルを示す図である。 第1位相調整信号より第2位相調整信号の大きさが大きくなるように、光クロック信号と初段再生光パルス信号との位相差を調整した場合における、モニター用の再生光パルス信号の波長スペクトルを示す図である。
符号の説明
10:初段再生光パルス信号生成器
14、80:光分岐器
20:光クロック信号抽出装置
22:電気クロック信号抽出器
24:モード同期半導体レーザ
30:位相調整信号抽出装置
32:再生光パルス信号分岐器
34:第1光バンドパスフィルタ
36、第2光バンドパスフィルタ
38:第1光電変換器
40:第2光電変換器
42:強度比較器
44:第1位相調整信号生成器
46:第2位相調整信号生成器
50:光クロック信号位相調整器
52:初段再生光パルス信号位相調整器
54:光サーキュレータ
56、70:光バンドパスフィルタ
60:非線形光ループミラー(NOLM)
62:方向性光結合器
64:光ファイバ
66:光結合器
82:光スペクトラムアナライザ
84、86:光パワーメータ
100:第1光増幅器
102:第1のHN-DFF
104:第(10-1)バンドパスフィルタ
106:第2光増幅器
108:第2のHN-DFF
110:第(10-2)バンドパスフィルタ

Claims (7)

  1. 入力された被再生光パルス信号の光パルスの時間波形成形及び当該光パルスの増幅を行って、初段再生光パルス信号を生成して出力する初段再生光パルス信号生成ステップと、
    該初段再生光パルス信号から光クロック信号を抽出する光クロック信号抽出ステップと、
    前記初段再生光パルス信号と前記光クロック信号との論理積である、再生光パルス信号を生成して出力する再生光パルス信号生成ステップと
    前記再生光パルス信号の、波長スペクトル帯域の中心波長に対して波長スペクトル帯域中に生じる複数のピークのうち、当該波長スペクトル帯域の中心波長に最も近接している短波長側及び長波長側のピークをそれぞれ有する波長成分であって、該両波長成分の強度比に比例する大きさの電力信号である位相調整信号を生成して出力する位相調整信号抽出ステップと、
    該位相調整信号に基づいて、前記光クロック信号の位相と前記初段再生光パルス信号の位相とを合わせる位相調整ステップと
    を含むことを特徴とする光パルス信号再生方法。
  2. 前記光クロック信号抽出ステップは、前記初段再生光パルス信号から電気クロック信号を抽出するステップと、
    該電気クロック信号によってモード同期半導体レーザを制御して、該モード同期半導体レーザによって光クロック信号を生成するステップと
    を含むことを特徴とする請求項1に記載の光パルス信号再生方法。
  3. 前記位相調整信号抽出ステップは、
    前記再生光パルス信号を、第1再生光パルス信号と第2再生光パルス信号とに分岐する再生光パルス信号分岐ステップと、
    前記第1再生光パルス信号の波長スペクトル帯域の中心波長に対して、波長スペクトル帯域中に生じる複数のピークのうち、当該波長スペクトル帯域の中心波長に最も近接している短波長側のピークを有する波長成分の強度に比例する電力信号である第1位相調整信号を生成して出力する第1位相調整信号生成ステップと、
    前記第2再生光パルス信号の波長スペクトル帯域の中心波長に対して、波長スペクトル帯域中に生じる複数のピークのうち、当該波長スペクトル帯域の中心波長に最も近接している長波長側のピークを有する波長成分の強度に比例する電力信号である第2位相調整信号を生成して出力する第2位相調整信号生成ステップと、
    前記第1位相調整信号と前記第2位相調整信号との強度比に比例する大きさの電力信号である位相調整信号を生成して出力する位相調整信号生成ステップと
    を含むことを特徴とする請求項1に記載の光パルス信号再生方法。
  4. 被再生光パルス信号が入力されて、光パルスの時間波形成形及び当該光パルスの増幅を行い、初段再生光パルス信号を生成して出力する初段再生光パルス信号生成器と、
    該初段再生光パルス信号が入力されて、該初段再生光パルス信号から光クロック信号を抽出して出力する光クロック信号抽出装置と、
    前記初段再生光パルス信号と前記光クロック信号とが入力されて、再生光パルス信号を生成して出力する非線形光ループミラーと、
    前記再生光パルス信号が入力されて、該再生光パルス信号から、前記再生光パルス信号の波長スペクトル帯域の中心波長に対して、波長スペクトル帯域中に生じる複数のピークのうち、当該波長スペクトル帯域の中心波長に最も近接している短波長側及び長波長側のピークをそれぞれ有する波長成分であって、該両波長成分の強度比に比例する大きさの電力信号である位相調整信号を生成して出力する位相調整信号抽出装置と、
    前記光クロック信号が入力されて、前記位相調整信号に基づいて該光クロック信号の位相を前記初段再生光パルス信号の位相に合わせて位相調整光クロック信号を生成して出力する光クロック信号位相調整器と
    を具えることを特徴とする光パルス信号再生装置。
  5. 被再生光パルス信号が入力されて、光パルスの時間波形成形及び当該光パルスの増幅を行い、初段再生光パルス信号を生成して出力する初段再生光パルス信号生成器と、
    該初段再生光パルス信号が入力されて、該初段再生光パルス信号から光クロック信号を抽出して出力する光クロック信号抽出装置と、
    前記初段再生光パルス信号と前記光クロック信号とが入力されて、再生光パルス信号を生成して出力する非線形光ループミラーと、
    前記再生光パルス信号が入力されて、該再生光パルス信号から、前記再生光パルス信号の波長スペクトル帯域の中心波長に対して、波長スペクトル帯域中に生じる複数のピークのうち、当該波長スペクトル帯域の中心波長に最も近接している短波長側及び長波長側のピークをそれぞれ有する波長成分であって、該両波長成分の強度比に比例する大きさの電力信号である位相調整信号を生成して出力する位相調整信号抽出装置と、
    前記初段再生光パルス信号が入力されて、前記位相調整信号に基づいて該初段再生光パルス信号の位相を前記光クロック信号の位相に合わせて位相調整初段再生光パルス信号を生成して出力する初段再生光パルス信号位相調整器と、
    を具えることを特徴とする光パルス信号再生装置。
  6. 前記光クロック信号抽出装置は、
    前記初段再生光パルス信号が入力されて、電気クロック信号を抽出して出力する電気クロック信号抽出器と、
    該電気クロック信号によってモード同期動作し、光クロック信号を生成して出力するモード同期半導体レーザと
    を具えることを特徴とする請求項4又は5に記載の光パルス信号再生装置。
  7. 前記位相調整信号抽出装置は、
    前記再生光パルス信号が入力されて、第1再生光パルス信号と第2再生光パルス信号とに分岐して出力する再生光パルス信号分岐器と、
    前記第1再生光パルス信号が入力されて、波長スペクトル帯域の中心波長に対して、波長スペクトル帯域中に生じる複数のピークのうち、当該波長スペクトル帯域の中心波長に最も近接している短波長側のピークを有する波長成分の強度に比例する電力信号である第1位相調整信号を生成して出力する第1位相調整信号生成器と、
    前記第2再生光パルス信号が入力されて、波長スペクトル帯域の中心波長に対して、波長スペクトル帯域中に生じる複数のピークのうち、当該波長スペクトル帯域の中心波長に最も近接している長波長側のピークを有する波長成分の強度に比例する電力信号である第2位相調整信号を生成して出力する第2位相調整信号生成器と、
    前記第1位相調整信号と前記第2位相調整信号とが入力されて、前記第1位相調整信号と前記第2位相調整信号との強度比に比例する大きさの電力信号である位相調整信号を生成して出力する強度比較器と
    を具えることを特徴とする請求項4又は5に記載の光パルス信号再生装置。
JP2008198004A 2008-07-31 2008-07-31 光パルス信号再生方法及び光パルス信号再生装置 Expired - Fee Related JP4605269B2 (ja)

Priority Applications (1)

Application Number Priority Date Filing Date Title
JP2008198004A JP4605269B2 (ja) 2008-07-31 2008-07-31 光パルス信号再生方法及び光パルス信号再生装置

Applications Claiming Priority (1)

Application Number Priority Date Filing Date Title
JP2008198004A JP4605269B2 (ja) 2008-07-31 2008-07-31 光パルス信号再生方法及び光パルス信号再生装置

Publications (2)

Publication Number Publication Date
JP2010041069A true JP2010041069A (ja) 2010-02-18
JP4605269B2 JP4605269B2 (ja) 2011-01-05

Family

ID=42013206

Family Applications (1)

Application Number Title Priority Date Filing Date
JP2008198004A Expired - Fee Related JP4605269B2 (ja) 2008-07-31 2008-07-31 光パルス信号再生方法及び光パルス信号再生装置

Country Status (1)

Country Link
JP (1) JP4605269B2 (ja)

Cited By (2)

* Cited by examiner, † Cited by third party
Publication number Priority date Publication date Assignee Title
JP2010072076A (ja) * 2008-09-16 2010-04-02 Oki Electric Ind Co Ltd 光多値変調信号発生装置
JP2011209404A (ja) * 2010-03-29 2011-10-20 Oki Electric Industry Co Ltd 光信号再生装置及び光信号再生方法

Citations (10)

* Cited by examiner, † Cited by third party
Publication number Priority date Publication date Assignee Title
JPH0843865A (ja) * 1994-08-03 1996-02-16 Nippon Telegr & Teleph Corp <Ntt> 全光再生中継器
JPH098741A (ja) * 1995-06-16 1997-01-10 Nippon Telegr & Teleph Corp <Ntt> 光クロック抽出回路
JP2000321606A (ja) * 1999-05-14 2000-11-24 Fujitsu Ltd 光クロックの再生及び適用のための方法、装置及びシステム
JP2004265542A (ja) * 2003-03-03 2004-09-24 Fuji Electric Holdings Co Ltd 磁気転写用マスタディスク、および、該マスタディスクの製造方法
JP2004287382A (ja) * 2003-03-20 2004-10-14 Sumitomo Electric Ind Ltd 波長変換器
JP2005148605A (ja) * 2003-11-19 2005-06-09 Oki Electric Ind Co Ltd 光信号再生方法及び光信号再生装置
JP2006098928A (ja) * 2004-09-30 2006-04-13 Oki Electric Ind Co Ltd 光信号再生中継器
JP2006106440A (ja) * 2004-10-06 2006-04-20 Tokyo Electric Power Co Inc:The 波長変換装置
JP2007124026A (ja) * 2005-10-25 2007-05-17 Oki Electric Ind Co Ltd 光クロック信号抽出方法及び光クロック信号抽出装置
JP2007221198A (ja) * 2006-02-14 2007-08-30 Oki Electric Ind Co Ltd 光クロック信号抽出装置及び光クロック信号抽出方法

Patent Citations (10)

* Cited by examiner, † Cited by third party
Publication number Priority date Publication date Assignee Title
JPH0843865A (ja) * 1994-08-03 1996-02-16 Nippon Telegr & Teleph Corp <Ntt> 全光再生中継器
JPH098741A (ja) * 1995-06-16 1997-01-10 Nippon Telegr & Teleph Corp <Ntt> 光クロック抽出回路
JP2000321606A (ja) * 1999-05-14 2000-11-24 Fujitsu Ltd 光クロックの再生及び適用のための方法、装置及びシステム
JP2004265542A (ja) * 2003-03-03 2004-09-24 Fuji Electric Holdings Co Ltd 磁気転写用マスタディスク、および、該マスタディスクの製造方法
JP2004287382A (ja) * 2003-03-20 2004-10-14 Sumitomo Electric Ind Ltd 波長変換器
JP2005148605A (ja) * 2003-11-19 2005-06-09 Oki Electric Ind Co Ltd 光信号再生方法及び光信号再生装置
JP2006098928A (ja) * 2004-09-30 2006-04-13 Oki Electric Ind Co Ltd 光信号再生中継器
JP2006106440A (ja) * 2004-10-06 2006-04-20 Tokyo Electric Power Co Inc:The 波長変換装置
JP2007124026A (ja) * 2005-10-25 2007-05-17 Oki Electric Ind Co Ltd 光クロック信号抽出方法及び光クロック信号抽出装置
JP2007221198A (ja) * 2006-02-14 2007-08-30 Oki Electric Ind Co Ltd 光クロック信号抽出装置及び光クロック信号抽出方法

Cited By (2)

* Cited by examiner, † Cited by third party
Publication number Priority date Publication date Assignee Title
JP2010072076A (ja) * 2008-09-16 2010-04-02 Oki Electric Ind Co Ltd 光多値変調信号発生装置
JP2011209404A (ja) * 2010-03-29 2011-10-20 Oki Electric Industry Co Ltd 光信号再生装置及び光信号再生方法

Also Published As

Publication number Publication date
JP4605269B2 (ja) 2011-01-05

Similar Documents

Publication Publication Date Title
JP4454763B2 (ja) 信号光を波形整形するための方法、装置及びシステム
JP5056095B2 (ja) 光波形制御装置、光信号処理装置および光中継装置
JP3886946B2 (ja) 全光信号再生装置及び再生方法
JP4105272B2 (ja) 非ソリトン信号を光ファイバ伝送するシステムのための光再生方法及び装置
JP2009177641A (ja) 光信号処理装置、光受信装置および光中継装置
EP1331745A1 (en) Apparatus and method for 3R regeneration of optical signals
US6396607B1 (en) Multi-wavelength all-optical regenerators (MARS)
JPWO2002035665A1 (ja) 光送信機、光中継器及び光受信機並びに光送信方法
Corcoran et al. Multipass performance of a chip-enhanced WSS for Nyquist-WDM sub-band switching
US6448913B1 (en) TOAD- based optical data format converter
JP4605269B2 (ja) 光パルス信号再生方法及び光パルス信号再生装置
JP4495415B2 (ja) Otdm伝送方法及び装置
JP4549710B2 (ja) 光フィルタリングの方法と装置
US7035550B2 (en) All-optical, 3R regeneration using the Sagnac and Mach-Zehnder versions of the terahertz optical asymmetric demultiplexer (TOAD)
JP3752540B2 (ja) 光パルス分離方法及び光パルス分離装置
JP4139963B2 (ja) 光信号再生中継器および光信号再生方法
US8526827B2 (en) Optical time-delayed wavelength converter
Moscoso-Mártir et al. Silicon photonics DWDM NLFT soliton transmitter implementation and link budget assessment
EP0849622B1 (en) All-optical sampling by modulating a pulse train
JP2010079246A (ja) 光波形再生器および光波形再生方法
Osadchuk et al. Nonlinear vector autoregressor equalization for PAM-4 micro-ring modulator-based short-reach transmission
US7869713B2 (en) Multiplexer with aptical add/drop
JP2000047274A (ja) 同期変調によるソリトン光信号のインライン再生装置、および該装置を含む伝送システム
JPH09102776A (ja) 光クロック信号抽出回路
JP5212411B2 (ja) 光信号再生装置及び光信号再生方法

Legal Events

Date Code Title Description
A977 Report on retrieval

Free format text: JAPANESE INTERMEDIATE CODE: A971007

Effective date: 20100902

TRDD Decision of grant or rejection written
A01 Written decision to grant a patent or to grant a registration (utility model)

Free format text: JAPANESE INTERMEDIATE CODE: A01

Effective date: 20100907

A01 Written decision to grant a patent or to grant a registration (utility model)

Free format text: JAPANESE INTERMEDIATE CODE: A01

A61 First payment of annual fees (during grant procedure)

Free format text: JAPANESE INTERMEDIATE CODE: A61

Effective date: 20100920

R150 Certificate of patent or registration of utility model

Ref document number: 4605269

Country of ref document: JP

Free format text: JAPANESE INTERMEDIATE CODE: R150

Free format text: JAPANESE INTERMEDIATE CODE: R150

FPAY Renewal fee payment (event date is renewal date of database)

Free format text: PAYMENT UNTIL: 20131015

Year of fee payment: 3

FPAY Renewal fee payment (event date is renewal date of database)

Free format text: PAYMENT UNTIL: 20131015

Year of fee payment: 3

S531 Written request for registration of change of domicile

Free format text: JAPANESE INTERMEDIATE CODE: R313531

FPAY Renewal fee payment (event date is renewal date of database)

Free format text: PAYMENT UNTIL: 20131015

Year of fee payment: 3

R350 Written notification of registration of transfer

Free format text: JAPANESE INTERMEDIATE CODE: R350

LAPS Cancellation because of no payment of annual fees