JP2010041008A - 太陽電池モジュール用端子ボックスのダイオード接続構造 - Google Patents

太陽電池モジュール用端子ボックスのダイオード接続構造 Download PDF

Info

Publication number
JP2010041008A
JP2010041008A JP2008205829A JP2008205829A JP2010041008A JP 2010041008 A JP2010041008 A JP 2010041008A JP 2008205829 A JP2008205829 A JP 2008205829A JP 2008205829 A JP2008205829 A JP 2008205829A JP 2010041008 A JP2010041008 A JP 2010041008A
Authority
JP
Japan
Prior art keywords
leg
sleeve
solar cell
terminal
slit
Prior art date
Legal status (The legal status is an assumption and is not a legal conclusion. Google has not performed a legal analysis and makes no representation as to the accuracy of the status listed.)
Granted
Application number
JP2008205829A
Other languages
English (en)
Other versions
JP4948492B2 (ja
Inventor
Yutaka Hattori
豊 服部
Current Assignee (The listed assignees may be inaccurate. Google has not performed a legal analysis and makes no representation or warranty as to the accuracy of the list.)
Kitani Electric Co Ltd
Original Assignee
Kitani Electric Co Ltd
Priority date (The priority date is an assumption and is not a legal conclusion. Google has not performed a legal analysis and makes no representation as to the accuracy of the date listed.)
Filing date
Publication date
Application filed by Kitani Electric Co Ltd filed Critical Kitani Electric Co Ltd
Priority to JP2008205829A priority Critical patent/JP4948492B2/ja
Publication of JP2010041008A publication Critical patent/JP2010041008A/ja
Application granted granted Critical
Publication of JP4948492B2 publication Critical patent/JP4948492B2/ja
Active legal-status Critical Current
Anticipated expiration legal-status Critical

Links

Images

Classifications

    • YGENERAL TAGGING OF NEW TECHNOLOGICAL DEVELOPMENTS; GENERAL TAGGING OF CROSS-SECTIONAL TECHNOLOGIES SPANNING OVER SEVERAL SECTIONS OF THE IPC; TECHNICAL SUBJECTS COVERED BY FORMER USPC CROSS-REFERENCE ART COLLECTIONS [XRACs] AND DIGESTS
    • Y02TECHNOLOGIES OR APPLICATIONS FOR MITIGATION OR ADAPTATION AGAINST CLIMATE CHANGE
    • Y02BCLIMATE CHANGE MITIGATION TECHNOLOGIES RELATED TO BUILDINGS, e.g. HOUSING, HOUSE APPLIANCES OR RELATED END-USER APPLICATIONS
    • Y02B10/00Integration of renewable energy sources in buildings
    • Y02B10/10Photovoltaic [PV]
    • YGENERAL TAGGING OF NEW TECHNOLOGICAL DEVELOPMENTS; GENERAL TAGGING OF CROSS-SECTIONAL TECHNOLOGIES SPANNING OVER SEVERAL SECTIONS OF THE IPC; TECHNICAL SUBJECTS COVERED BY FORMER USPC CROSS-REFERENCE ART COLLECTIONS [XRACs] AND DIGESTS
    • Y02TECHNOLOGIES OR APPLICATIONS FOR MITIGATION OR ADAPTATION AGAINST CLIMATE CHANGE
    • Y02EREDUCTION OF GREENHOUSE GAS [GHG] EMISSIONS, RELATED TO ENERGY GENERATION, TRANSMISSION OR DISTRIBUTION
    • Y02E10/00Energy generation through renewable energy sources
    • Y02E10/50Photovoltaic [PV] energy

Landscapes

  • Photovoltaic Devices (AREA)

Abstract

【課題】逆流防止用ダイオード13の脚13aと端子板12との接続をハンダ付け以外の手段によって行う。
【解決手段】ボックス本体11内に電極線aが接続される端子板を配設し、その端子板間にダイオードを設けた太陽電池モジュール用端子ボックスBである。端子板の棒状接続部14aにダイオード13の脚13aの接続端脚13aを当てがい、ばね製スリーブ20をそのスリット21を広げて嵌める。このスリーブによって、端子板に脚が圧着接続される。このとき、スリーブ内周面凹条24に脚が嵌り、突片25により脚を接続部に押し付ける。この脚の嵌合及び突片の押し付けによって、スリーブに対して脚13aが位置決めされ、安定したダイオード13の端子板12への接続強度を得る。電極線も同様にしてばね性スリーブ15でもって接続部14bに接続する。
【選択図】図4

Description

この発明は、太陽光エネルギーを電気エネルギーに直接変換する太陽光発電システムを構成する太陽電池モジュールを相互に接続する際に使用する端子ボックス、特に、その太陽電池モジュールの電極が接続される複数の端子板間に逆流防止用ダイオードを接続する構造及びその接続方法に関するものである。
太陽光発電システムは、図16に示すように、家屋の屋根に太陽電池パネル(太陽電池モジュール)Mを配設し、そのモジュールMから接続箱Q、インバータR、分配盤Sを介して各種電気機器Eに電力供給する。その太陽電池モジュールMは、図17に示すように全てが面一となるように配置され、端子ボックスBを介して直列又は並列に接続する。端子ボックスBはシール材による水密性を維持してモジュールMの裏面に接着固定される。
その端子ボックスBは、一般的に、図18に示すように、上面開口のボックス本体1内に、太陽電池モジュールMのプラス電極(「電極線」とも言う。以下、同じ)a及びマイナス電極線aが接続される対の端子板2、2を並列して配設し、その両端子板2、2間に逆流防止用(バイパス)ダイオード3を設けるとともに、両端子板2、2にはそれぞれ外部接続用ケーブルPを接続した構成である(特許文献1図11、図15参照)。図中、6はカバーである。
特許第3965418号公報
この端子ボックスBにおいて、上記端子板2とダイオード3の接続はそのダイオード3の脚3aを端子板2に半田付けして行っている。
また、上記電極線aと逆流防止用ダイオード接続用端子板2との接続も、同様に半田付けが一般的である。
上記半田付けによる接続手段は、その作業が煩わしい上に、工場において、出荷時に行なわれるのが一般的である。また、半田付けは接続強度の信頼性に問題がある。
さらに、電極線aの場合、現場において、太陽電池モジュールMの配置変更による電極線aの長さが不適当となる等から、電極線aと端子板2との接続をし直さなければならない場合が生じる。この場合、その配置等に適合する長さの電極線aを接続した端子ボックスを工場に再依頼する必要がある。現場においては、通常、半田付け作業を行なわないからである。
この発明は、上記の実情に鑑み、上記端子板とダイオードの接続等を半田付け以外の手段によって行ない得るようにすることを課題とする。
上記課題を達成するために、この発明は、まず、接続具の圧着によって接続することとしたのである。
圧着による接続は、一般的に容易な作業であるため、工場においては勿論、現場においても簡単に行なうことができる。
つぎに、この発明は、その圧着部の端子板側の接続部を棒状とし、その棒状接続部にダイオードの脚又は電極線を当てがい(巻回し)、その当てがい部(巻回部)に接続具であるスリーブを嵌めて圧着するようにしたのである。
棒状接続部へのダイオードの脚の当てがい又は電極線の巻回は、工場においては勿論、現場においても比較的に容易である。また、そのような当てがわれた(巻回された)棒状部へのスリーブの圧着は、電線接続において通常になされている作業であって、その作業も容易である。
そのとき、脚又は電極線はスリーブのスリットを通して引き出された状態とする。スリットは、脚又は電極線が引き出されるに十分な大きさ(長さ)を有すれば良いが、スリーブの軸方向全長にあることが好ましい。スリットが全長にあれば、スリーブをそのスリットを介し広げて接続部に嵌めることができ、前もって接続部に嵌めておく必要がなく、作業性が良いからである。
この発明の端子板とダイオードの接続に関する構成としては、ボックス本体内に、太陽電池モジュールの電極が接続される複数の端子板を配設し、その隣り合う各端子板間に逆流防止用ダイオードをその脚を介して設けた太陽電池モジュール用端子ボックスおける前記脚を端子板に接続したダイオード接続構造であって、端子板の脚との接続部が棒状となって、その棒状接続部に前記脚の接続端が当てがわれてその当てがわれ部外周にスリーブが被せられて圧着され、そのスリーブによって、端子板に脚が圧着接続されているとともに、そのスリーブのスリットを通して前記脚の接続端が前記棒状接続部に当てがわれている構成を採用することができる。
このとき、上述のように、スリットはスリーブの軸方向全長にあっても、部分的でも良いが、スリットを通して脚の接続端が端子板の接続部に至るような形状・大きさ等とする。また、スリーブの長さは、任意であって、十分な接続強度もって止め得る長さであれば良い。
上記スリーブは、圧着治具によって塑性変形される一般的なものでもよいが、その軸方向のスリットが形成されたバネ部材から成るクリップ状のものとして、そのスリーブをスリットを介して広げて、ダイオード脚の接続端が当てがわれた棒状接続部に嵌め込み、そのスリーブのばね性でもって、棒状接続部にダイオード脚の接続端を圧着接続するようにすることができる。
このようにすれば、スリーブを嵌めるだけで、接続作業が終わるため、その作業性が良い。
また、スリーブの内周面に上記脚が嵌る凹条を形成すれば、スリーブに対して脚が位置決めされて、脚の端子板に対する位置決めが安定し、安定したダイオードの端子板への接続強度を得ることができる。
このとき、その凹条に脚が嵌ることによって、その凹条以外のスリーブの内面が上記端子板の棒状接続部に圧接するようにすれば、スリーブも端子板に対する位置決めがなされて取付け状態が安定する。これによって、ダイオード(その脚)の端子板への接続も安定する(接続強度の信頼性も向上する)。
上記端子板の棒状接続部と上記ダイオード脚の接続態様は、その両者の軸方向が同じであったり(同一軸線上であったり)、軸方向が直交等と交差していたりが考えられるが、その両長さ方向(軸方向)が交差して接続される場合は、例えば、上記スリーブはその長さ方向全長に亘るスリットが形成されて、そのスリットの側縁からスリーブ周方向に上記脚の接続端が通るスリットが形成されている構成とすることができる。
この構成であると、周方向のスリットを通して脚を棒状接続部に導くことができるため、スリーブを筒状に近いものとしても、そのスリーブが棒状接続部の多くを覆うものとすることができる。このため、スリーブの棒状接続部への取付けが安定する。
このとき、上記脚の接続端が通るスリットの上記周方向先端に横方向のスリットをさらに形成してそのスリットに前記脚の接続端を導き入れるようにすれば、脚が横方向のスリット内に係止されて、脚がスリーブから外れ難くなって、脚と棒状接続部の接続状態が安定する。
また、上記脚の接続端が通るスリットの上記周方向先端に外側に向く突片を設け、この突片の内面を前記脚に当てがうようにすれば、突片によって脚を棒状接続部に押し付ける力が作用するため、脚と棒状接続部の接続強度が向上する。この場合、その突片は脚の接続端の基端側に当てがわれるものとすれば、脚接続端の基端側(棒状接続部への導入側端)を押し付けることとなって、その押付け力を接続端全長に亘って及ぼすため、適切な接続強度を得ることができる。突片は脚の接続端の基端側のみに設けることができる。
なお、端子板の数も任意であり、この発明の場合、少なくとも2つの端子板間に逆流防止用ダイオードが設けられれば採用できる。
以上の接続構造は、種々の方法によって行なうことができるが、例えば、ボックス本体内に、太陽電池モジュールの電極が接続される複数の端子板を配設し、その隣り合う各端子板間に逆流防止用ダイオードをその脚を介して設けた太陽電池モジュール用端子ボックスにおいて、前記端子板の棒状接続部に前記脚の接続端を当てがい、その当てがわれ部外周にスリーブをその軸方向全長に亘るスリットを介して被せるとともに、そのスリーブを前記スリットを通して前記脚が接続部から引き出されるように位置させ、その後、前記スリーブをその接続部に嵌め込み圧着することによって、逆流防止用ダイオードの脚を端子板に接続する方法を採用できる。
一方、この発明の端子板と電極線の接続に関する構成としては、ボックス本体内の外部接続用ケーブルが接続される端子板に、太陽電池モジュールからの電極線を接続した太陽電池モジュール用端子ボックスの前記電極線の接続構造であって、前記端子板の電極線との接続部が棒状となって、その棒状接続部に電極線の接続端が巻回されてその巻回部外周にスリーブが被せられて圧着され、そのスリーブによって、端子板に電極線が圧着接続されているとともに、そのスリーブのスリットを通して電極線の接続端が棒状接続部に巻回されている構成を採用することができる。
このとき、上述と同様に、スリットはスリーブの軸方向全長にあっても、部分的でも良い。また、スリーブの長さは、任意であって、止め得る長さであれば良く、例えば、電極線より幅狭でもいいが、電極線の全体を覆う幅(長さ)を少なくとも有するようにすることが接続性能を担保する面から好ましい。
電極線は、実施形態に示す平帯状に限らず、断面円形等と任意である。また、端子板も、上記と同様に、全体が棒状のコネクタ形状であったり、平帯状であったりと任意であり、また、電極線との接続部も、その電極線が巻回できる棒状形であれば、何れでも良い。さらに、この電極線接続用スリーブも、上記と同様に、ばね性を有するものとすれば、同様の作用効果を得ることができる。
この電極線の接続構造も、種々の方法によって行なうことができるが、例えば、ボックス本体内の外部接続用ケーブルが接続される端子板に、太陽電池モジュールからの電極線を接続する際、その端子板の棒状接続部に電極線の接続端を巻回し、その巻回部外周にスリーブをその全長に亘るスリットを介して被せるとともに、そのスリーブをスリットを通して電極線の接続部から引き出されるように位置させ、前記スリーブの接続部への種々の手段、例えば、スリーブのばね性でもって圧着させ、電極線を端子板に接続する構成を採用できる。
この発明は、以上のようにしたので、上記ダイオード脚又は電極線と端子板との接続を、容易かつ十分な強度をもって行うことができるとともに、現場においても容易に行ない得る。
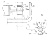
一実施形態を図1〜図7に示し、この実施形態は、上面開口のポリフェニレンオキサイド(PPO)樹脂又はポリフェニレンエーテル(PPE)樹脂製長尺四角形状ボックス本体11内に、太陽電池モジュールMの平帯状のプラス電極線a及びマイナス電極線aが接続される端子板となる一対のピン状(円棒状)コンダクター12、12を並列に配設している。このコンダクター12はボックス本体11の樹脂成形時にインサートされる。
コンダクター12は、その一端部に外部接続用ケーブルPの導体31が嵌め込み接続され、他端に向かってダイオード13の接続部14aと上記プラス電極線a及びマイナス電極線aの接続部14bとなっている。前者の接続部14aは全周に亘る断面円弧状溝16が形成されている。ケーブルPは、ケーブルロック32をボックス本体11にねじ込むことによって水密にその本体11に固定される。
上記電極線aの接続は、図2、図4、図8に示すように、ボックス本体11の下面開口から電極線aをその接続部14bに導いて巻回し、同図に示すように、その巻回した接続部14bに断面ほぼΩ状のばね製スリーブ15を嵌める。このスリーブ15の嵌め込みは、そのばね性でもって電極線aを接続部14bに圧着した状態であって、電極線aが適切な接触圧をもってコンダクター12に接続される(ダブリード接合される)。このとき、接続部14bの外周面及びスリーブ15の内面の一方、又は両者に、複数の尖鋭突起や尖鋭突条等を設けて、電極線aに引張力が働いた時、その突起等の食い込みによってその引張力に抗するようにすることができる。
その接続時において、太陽電池モジュールMの配置変更等による電極線aの長さが不適当となる等から、その電極線aと端子ボックスBとの接続をし直さなければならない場合、スリーブ15を種々の治具でもって接続部14bから外し、所要な長さの電極線aをその接続部14bに巻回し、再度、スリーブ15をその巻回した接続部14bに嵌め込むことによって、電極線aのコンダクター12への接続は完了する。この接続作業は、現場において容易である。図中、15’は摘みである。
なお、電極線aは、例えば錫メッキ銅等からなり、コンダクター12は真鍮などの銅合金等の放熱性の高い導電材を使用する。
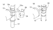
ダイオード脚13aの接続は、図4に示すように、ダイオード13の側方に延びる脚13aの下向き円弧状接続端13aを接続部14aの周方向の溝16に嵌め(当てがい)、図5(a)、(b)に示すように、その嵌めた接続部14aに断面ほぼΩ状のばね製スリーブ20を嵌める。このスリーブ20の嵌め込みは、そのばね性でもって脚13aを接続部14aに圧着した状態となる。
このスリーブ20は、図6,図7に示すように、その長さ方向全長に亘るスリット(開口)21の側縁からスリーブ周方向に上記脚13aの接続端13aが通るスリット22が形成され、そのスリット22の先端に横方向のスリット23がさらに形成されている。このスリット23に脚13aの接続端13aを導き入れれば、脚13aがそのスリット23内に係止されて、脚13aがスリーブ20から外れ難くなる。側面スリット22は脚13aの導入側のみとし得る。
また、スリーブ20の軸方向中程は周方向に亘って外側に膨出してその内面に凹条24が形成されており、この凹条24に脚13aの接続端13aを嵌めることによって、スリーブ20に対して脚13aが位置決めされて、脚13aのコンダクター(端子板)12に対する位置決めが安定する。
このとき、その凹条24に脚13aが嵌ることによって、その凹条24以外のスリーブ20の内面20aがコンダクター(端子板)12の接続部14aに圧接する。この圧接によって、スリーブ20もコンダクター12に対する位置決めがなされて取付け状態が安定する。なお、上記の脚13aをスリット23に導き入れる場合は、その導き入れた位置において、その脚13aが凹条24に嵌るように、その凹条24をスリーブ20の軸方向の適宜な位置に設定する。
さらに、スリーブ20の脚13aの接続端13aの基端が通るスリット22(図6(a)の左側スリット22)の周方向先端には外側に向く突片25が設けられており、スリーブ20をコンダクター12に嵌めると、この突片25の内面が脚接続端13aを接続部14aに押し付けて、脚13aと接続部14aの接続強度が向上する(図5(b)参照)。なお、この突片25は、図7(a)の展開状態(打ち抜き状態)から同(b)〜(g)及び図6に示す立体形状に成形する際、他の円弧部分に対して少し立ち上げたものとして形成する。
以上のスリーブ20の各部分の作用によって、脚13aが適切な接触圧をもってコンダクター(端子板)12に接続される。なお、このダイオード13のコンダクター12への接続は、工場において行うが(出荷時には接続されているが)、現場において接続することもできる。
なお、このダイオード13のコンダクター12への接続においても、接続部14aの外周面及びスリーブ20の内面の一方、又は両者に、複数の尖鋭突起や尖鋭突条等を設けて、ダイオード13(その脚13a)に引張力が働いた時、その突起等の食い込みによってその引張力に抗するようにすることができる。
電極線a及びダイオード13のコンダクター12への接続が終われば、ボックス本体11の上面開口にPPO樹脂又はPPE樹脂製のカバー18を防水リング19を介し嵌着して防水性とする(図2、図3参照)。ボックス本体11内にはシリコン樹脂などを適宜に充填する。その後、端子ボックスBはその裏面のテープ(図示せず)でもって太陽電池モジュールMの裏面に固定する(図18参照)。
各端子ボックスBのケーブルPは隣の端子ボックスBの雌又は雄コネクタに適宜に接続する。その接続態様を適宜に選択することにより、各端子ボックスBは直列又は並列に接続する。
上記スリーブ20は、上述のように、ばね性を有すれば、そのばね性でもってダイオード脚13aを接続部14aに接続し得る(圧着し得る)が、ばね性を有しない物にあっては、図8、図9に示すように、周知の圧着具でもって、矢印のごとくスリーブ20を塑性変形させて脚13aを接続部14aに圧着する。このとき、その圧着によって、凹条24を形成するようにすることができるが、敢えて形成しなくても良い。スリーブ20の形状は脚13aを固定し得る態様であれば任意である。例えば、図10〜図12各(a)、(b)に示す各種の態様を採用する。この各図において、凹条24は省略できる。
電極線a固定用のスリーブ15も同様にばね性を有しない物も採用でき、その電極線用スリーブ15は電極線aの両側を固定する対の物としたり、その中程も固定する3個の物としたり、中程のみを固定するもののみとしたりと、その数、長さは任意である。
端子板12の形状としては、全体が棒状のコンダクター12に限らず、接続部14a、14bのみが棒状である物でも良い。その接続部14a、14bの断面形状は円形に限らず、脚13aや電極線aを取付け得る形状であれば、例えば、四角形等の多角形とし得る。その棒状形状に合わせて、適切な固定ができるように、スリーブ15、20の断面形状及び脚接続端13aの屈曲形状も適宜に設定する。
端子ボックスBの態様としては、端子板12が並列配置のものに限らず、直列配置のものでも、この発明は採用できる。例えば、図13〜図15に示すように、端子板12を直列配置した端子ボックスBにおいてもこの発明は採用し得る。
なお、今回開示された実施形態はすべての点で例示であって制限的なものではないと考えられるべきであり、例えば、端子板の数、ダイオード13の数等は例示であり、この発明の範囲は、特許請求の範囲によって示され、特許請求の範囲と均等の意味および範囲内でのすべての変更が含まれることが意図されることは勿論である。
一実施形態の一部切り欠き正面図 図1のX−X線断面図 図1のY−Y線断面図 (a)はダイオード脚の接続説明用部分斜視図、(b)は(a)の電極線接続部分の断面図 同ダイオード脚の接続部の拡大図であり、(a)は部分正面図、(b)は(a)のZ−Z線断面図 同実施形態のスリーブを示し、(a)は左方からの斜視図、(b)は右方からの斜視図 同スリーブを示し、(a)は成形前の打ち抜き状態図、(b)は成形後の正面図、(c)は同平面図、(d)は同左側面図、(e)は同右側面図、(f)は同下面図、(g)は同切断右側面図 他の実施形態のダイオード脚用スリーブの嵌め込み作用説明用要部斜視図 同実施形態のダイオード脚接続部を示し、(a)は部分正面図、(b)は(a)のV−V線断面図 他の実施形態のダイオード脚用スリーブの嵌め込み作用図であり、(a)は嵌め込み(取付け)前の斜視図、(b)は取付け後の斜視図 他の実施形態のスリーブを示し、(a)は嵌め込み(取付け)前の斜視図、(b)は取付け後の斜視図 さらに、他の実施形態のスリーブを示し、(a)は嵌め込み(取付け)前の斜視図、(b)は取付け後の斜視図 他の実施形態の分解斜視図 同実施形態の切断正面図 同実施形態の下面図 太陽光発電システムの概略図 端子ボックスの太陽電池モジュールへの取付説明図 (a)は従来例の平面図、(b)は同縦断面図
符号の説明
1、11 ボックス本体
2、12 端子板(コンダクター)
3、13 逆流防止用ダイオード
13a ダイオードの脚
13a ダイオード脚の接続端
14a ダイオード接続部
14b 電極線接続部
15 電極線取付用スリーブ
16 ダイオード接続部の溝
20 ダイオード脚取付用スリーブ
21、22 同スリーブのスリット
23 同スリーブの横方向スリット
24 同スリーブの凹条
25 同スリーブの突片
a 太陽電池モジュールの電極線
電極線の接続端
B 端子ボックス
M 太陽電池モジュール
P 外部接続用ケーブル

Claims (9)

  1. ボックス本体(11)内に、太陽電池モジュール(M)の電極(a)が接続される複数の端子板(12)を配設し、その隣り合う各端子板(12)間に逆流防止用ダイオード(13)をその脚(13a)を介して設けた太陽電池モジュール用端子ボックス(B)における前記脚(13a)を端子板(12)に接続したダイオード接続構造であって、
    上記端子板(12)の上記脚(13a)との接続部(14a)が棒状となって、その棒状接続部(14a)に前記脚(13a)の接続端(13a)が当てがわれて、その当てがわれ部外周にスリーブ(20)が被せられて圧着され、そのスリーブ(20)によって、端子板(12)に脚(13a)が圧着接続されているとともに、そのスリーブ(20)のスリット(21、22)を通して前記脚(13a)の接続端(13a)が前記棒状接続部(14a)に当てがわれていることを特徴とする太陽電池モジュール用端子ボックスのダイオード接続構造。
  2. 上記スリーブ(20)の内周面に上記脚(13a)が嵌る凹条(24)が形成されていることを特徴とする請求項1に記載の太陽電池モジュール用端子ボックスのダイオード接続構造。
  3. 上記凹条(24)に脚(13a)が嵌ることによって、その凹条(24)以外のスリーブ(20)の内面(20a)が上記端子板(12)の棒状接続部(14a)に圧接することを特徴とする請求項2に記載の太陽電池モジュール用端子ボックスのダイオード接続構造。
  4. 上記端子板(12)の棒状接続部(14a)と上記脚(13a)がその両長さ方向が交差して接続され、上記スリーブ(20)はその長さ方向全長に亘るスリット(21)が形成されて、そのスリット(21)の側縁からスリーブ周方向に上記脚(13a)の接続端(13a)が通るスリット(22)が形成されていることを特徴とする請求項1乃至3のいずれかに記載の太陽電池モジュール用端子ボックスのダイオード接続構造。
  5. 上記脚(13a)の接続端(13a)が通るスリット(22)の上記周方向先端に横方向のスリット(23)をさらに形成してそのスリット(23)に前記脚(13a)の接続端(13a)を導き入れたことを特徴とする請求項4に記載の太陽電池モジュール用端子ボックスのダイオード接続構造。
  6. 上記脚(13a)の接続端(13a)が通るスリット(22)の上記周方向先端に外側に向く突片(25)を設け、この突片(25)の内面を前記脚(13a)に当てがったことを特徴とする請求項4又は5に記載の太陽電池モジュール用端子ボックスのダイオード接続構造。
  7. 上記突片(25)は上記脚(13a)の接続端(13a)の基端側に当てがわれることを特徴とする請求項6に記載の太陽電池モジュール用端子ボックスのダイオード接続構造。
  8. 上記スリーブ(20)は、その軸方向全長に亘って上記スリット(21、22)が形成されたバネ部材から成り、そのスリーブ(20)を前記スリット(21)を介して広げて、上記脚(13a)の接続端(13a)が当てがわれた棒状接続部(14a)に嵌め込み、そのスリーブ(20)のばね性でもって、前記棒状接続部(14a)に前記脚(13a)の接続端(13a)を圧着接続したことを特徴とする請求項1乃至7の何れかに記載の太陽電池モジュール用端子ボックスのダイオード接続構造。
  9. ボックス本体(11)内に、太陽電池モジュール(M)の電極(a)が接続される複数の端子板(12)を配設し、その隣り合う各端子板(12)間に逆流防止用ダイオード(13)をその脚(13a)を介して設けた太陽電池モジュール用端子ボックス(B)おける前記脚(13a)を端子板(12)に接続するダイオード接続方法であって、
    上記端子板(12)の棒状接続部(14a)に上記脚(13a)の接続端(13a)を当てがい、その当てがわれ部外周にスリーブ(20)をその軸方向全長に亘るスリット(21)を介して被せるとともに、そのスリーブ(20)をスリット(21、22)を通して前記脚(13a)が接続部(14a)から引き出されるように位置させ、その後、前記スリーブ(20)をその接続部に嵌め込み圧着することによって、前記逆流防止用ダイオード(13)の脚(13a)を端子板(12)に接続することを特徴とする太陽電池モジュール用端子ボックスのダイオード接続方法。
JP2008205829A 2008-08-08 2008-08-08 太陽電池モジュール用端子ボックスのダイオード接続構造 Active JP4948492B2 (ja)

Priority Applications (1)

Application Number Priority Date Filing Date Title
JP2008205829A JP4948492B2 (ja) 2008-08-08 2008-08-08 太陽電池モジュール用端子ボックスのダイオード接続構造

Applications Claiming Priority (1)

Application Number Priority Date Filing Date Title
JP2008205829A JP4948492B2 (ja) 2008-08-08 2008-08-08 太陽電池モジュール用端子ボックスのダイオード接続構造

Publications (2)

Publication Number Publication Date
JP2010041008A true JP2010041008A (ja) 2010-02-18
JP4948492B2 JP4948492B2 (ja) 2012-06-06

Family

ID=42013188

Family Applications (1)

Application Number Title Priority Date Filing Date
JP2008205829A Active JP4948492B2 (ja) 2008-08-08 2008-08-08 太陽電池モジュール用端子ボックスのダイオード接続構造

Country Status (1)

Country Link
JP (1) JP4948492B2 (ja)

Cited By (2)

* Cited by examiner, † Cited by third party
Publication number Priority date Publication date Assignee Title
JP2011192986A (ja) * 2010-03-15 2011-09-29 Tyco Electronics (Shanghai) Co Ltd 建物一体型太陽光発電システム用接続モジュール
JP2015528274A (ja) * 2012-07-11 2015-09-24 フェニックス コンタクト ゲーエムベーハー ウント コムパニー カーゲー 太陽光発電モジュール用エッジコネクタ

Citations (7)

* Cited by examiner, † Cited by third party
Publication number Priority date Publication date Assignee Title
JPH01221873A (ja) * 1988-01-14 1989-09-05 Robert Bosch Gmbh 接続ピンを有する導体レール
JPH0710805Y2 (ja) * 1988-07-01 1995-03-15 三吉 池野 鋼製足場付アームロックの曲り矯正装置
JP2001024205A (ja) * 1999-07-06 2001-01-26 Fuji Electric Co Ltd 太陽電池モジュールの電力リード引き出し装置
JP2001298206A (ja) * 2000-04-12 2001-10-26 Yukita Electric Wire Co Ltd 太陽電池モジュール用端子ボックス構造
JP2006059990A (ja) * 2004-08-19 2006-03-02 Sumitomo Wiring Syst Ltd 太陽電池モジュール用端子ボックス
JP2006128348A (ja) * 2004-10-28 2006-05-18 Fuji Electric Holdings Co Ltd 太陽電池モジュール及びその端子構造
JP2009283483A (ja) * 2008-05-19 2009-12-03 Kitani Denki Kk 太陽電池モジュール用端子ボックスの電極線接続構造

Patent Citations (7)

* Cited by examiner, † Cited by third party
Publication number Priority date Publication date Assignee Title
JPH01221873A (ja) * 1988-01-14 1989-09-05 Robert Bosch Gmbh 接続ピンを有する導体レール
JPH0710805Y2 (ja) * 1988-07-01 1995-03-15 三吉 池野 鋼製足場付アームロックの曲り矯正装置
JP2001024205A (ja) * 1999-07-06 2001-01-26 Fuji Electric Co Ltd 太陽電池モジュールの電力リード引き出し装置
JP2001298206A (ja) * 2000-04-12 2001-10-26 Yukita Electric Wire Co Ltd 太陽電池モジュール用端子ボックス構造
JP2006059990A (ja) * 2004-08-19 2006-03-02 Sumitomo Wiring Syst Ltd 太陽電池モジュール用端子ボックス
JP2006128348A (ja) * 2004-10-28 2006-05-18 Fuji Electric Holdings Co Ltd 太陽電池モジュール及びその端子構造
JP2009283483A (ja) * 2008-05-19 2009-12-03 Kitani Denki Kk 太陽電池モジュール用端子ボックスの電極線接続構造

Cited By (2)

* Cited by examiner, † Cited by third party
Publication number Priority date Publication date Assignee Title
JP2011192986A (ja) * 2010-03-15 2011-09-29 Tyco Electronics (Shanghai) Co Ltd 建物一体型太陽光発電システム用接続モジュール
JP2015528274A (ja) * 2012-07-11 2015-09-24 フェニックス コンタクト ゲーエムベーハー ウント コムパニー カーゲー 太陽光発電モジュール用エッジコネクタ

Also Published As

Publication number Publication date
JP4948492B2 (ja) 2012-06-06

Similar Documents

Publication Publication Date Title
KR101040335B1 (ko) 태양 전지 모듈용 단자 박스
RU2643035C2 (ru) Электрическое обжимное контактное устройство
JP3852711B1 (ja) 太陽電池モジュール用端子ボックス
JP5541991B2 (ja) 表面実装型コンタクト及びそれを用いたコネクタ
EP2164111A2 (en) An electrical connection system
US8512069B2 (en) Flat plug electrical connector
TWM542263U (zh) 電源連接器
JP2002359389A (ja) 太陽光発電モジュール配線用端子ボックス
JP2015056209A (ja) 電気コネクタ用端子及び電気コネクタ
JP5053888B2 (ja) 太陽電池モジュール用端子ボックス
JP5237691B2 (ja) 太陽電池モジュール用端子ボックスの電極線接続構造
CN104332764B (zh) 片式接触件及使用该片式接触件的电连接器
JP2016009527A (ja) コネクタ
JP4948492B2 (ja) 太陽電池モジュール用端子ボックスのダイオード接続構造
TWM512225U (zh) 電源供應器連接器及其導電端子
JP4129037B2 (ja) 太陽電池モジュール用端子ボックス
JP2013229424A (ja) 太陽電池モジュール用端子ボックス
KR200417442Y1 (ko) 조인트 커넥터
JP2016091970A (ja) ソケット端子構造
KR100754765B1 (ko) 누전 방지용 전선 연결캡
JP5670228B2 (ja) 端子ボックス
JP3158731U (ja) シート用接続端子
JP2003229592A (ja) 太陽電池モジュール用端子ボックス
KR101215156B1 (ko) 단자 박스
CN201732903U (zh) 导电端子组成与具有导电端子组成的太阳能电池接线盒

Legal Events

Date Code Title Description
A621 Written request for application examination

Free format text: JAPANESE INTERMEDIATE CODE: A621

Effective date: 20110412

TRDD Decision of grant or rejection written
A01 Written decision to grant a patent or to grant a registration (utility model)

Free format text: JAPANESE INTERMEDIATE CODE: A01

Effective date: 20120221

A01 Written decision to grant a patent or to grant a registration (utility model)

Free format text: JAPANESE INTERMEDIATE CODE: A01

A977 Report on retrieval

Free format text: JAPANESE INTERMEDIATE CODE: A971007

Effective date: 20120222

A61 First payment of annual fees (during grant procedure)

Free format text: JAPANESE INTERMEDIATE CODE: A61

Effective date: 20120306

FPAY Renewal fee payment (event date is renewal date of database)

Free format text: PAYMENT UNTIL: 20150316

Year of fee payment: 3

R150 Certificate of patent or registration of utility model

Free format text: JAPANESE INTERMEDIATE CODE: R150

Ref document number: 4948492

Country of ref document: JP

Free format text: JAPANESE INTERMEDIATE CODE: R150

FPAY Renewal fee payment (event date is renewal date of database)

Free format text: PAYMENT UNTIL: 20150316

Year of fee payment: 3

S531 Written request for registration of change of domicile

Free format text: JAPANESE INTERMEDIATE CODE: R313531

FPAY Renewal fee payment (event date is renewal date of database)

Free format text: PAYMENT UNTIL: 20150316

Year of fee payment: 3

R350 Written notification of registration of transfer

Free format text: JAPANESE INTERMEDIATE CODE: R350

R250 Receipt of annual fees

Free format text: JAPANESE INTERMEDIATE CODE: R250

R250 Receipt of annual fees

Free format text: JAPANESE INTERMEDIATE CODE: R250

R250 Receipt of annual fees

Free format text: JAPANESE INTERMEDIATE CODE: R250

R250 Receipt of annual fees

Free format text: JAPANESE INTERMEDIATE CODE: R250

R250 Receipt of annual fees

Free format text: JAPANESE INTERMEDIATE CODE: R250

R250 Receipt of annual fees

Free format text: JAPANESE INTERMEDIATE CODE: R250

R250 Receipt of annual fees

Free format text: JAPANESE INTERMEDIATE CODE: R250

R250 Receipt of annual fees

Free format text: JAPANESE INTERMEDIATE CODE: R250

R250 Receipt of annual fees

Free format text: JAPANESE INTERMEDIATE CODE: R250

R250 Receipt of annual fees

Free format text: JAPANESE INTERMEDIATE CODE: R250

R250 Receipt of annual fees

Free format text: JAPANESE INTERMEDIATE CODE: R250