JP2010040597A - 電気機器及び照明器具 - Google Patents

電気機器及び照明器具 Download PDF

Info

Publication number
JP2010040597A
JP2010040597A JP2008198934A JP2008198934A JP2010040597A JP 2010040597 A JP2010040597 A JP 2010040597A JP 2008198934 A JP2008198934 A JP 2008198934A JP 2008198934 A JP2008198934 A JP 2008198934A JP 2010040597 A JP2010040597 A JP 2010040597A
Authority
JP
Japan
Prior art keywords
circuit board
discharge lamp
switching element
lighting device
circuit
Prior art date
Legal status (The legal status is an assumption and is not a legal conclusion. Google has not performed a legal analysis and makes no representation as to the accuracy of the status listed.)
Granted
Application number
JP2008198934A
Other languages
English (en)
Other versions
JP5110383B2 (ja
Inventor
Masahiro Sugiyama
正洋 杉山
Hiroshi Suzuki
浩史 鈴木
Mikiko Suzuki
幹子 鈴木
Seiji Oka
成治 岡
Takashi Inoue
孝 井上
Current Assignee (The listed assignees may be inaccurate. Google has not performed a legal analysis and makes no representation or warranty as to the accuracy of the list.)
Toshiba Lighting and Technology Corp
Original Assignee
Toshiba Lighting and Technology Corp
Priority date (The priority date is an assumption and is not a legal conclusion. Google has not performed a legal analysis and makes no representation as to the accuracy of the date listed.)
Filing date
Publication date
Application filed by Toshiba Lighting and Technology Corp filed Critical Toshiba Lighting and Technology Corp
Priority to JP2008198934A priority Critical patent/JP5110383B2/ja
Publication of JP2010040597A publication Critical patent/JP2010040597A/ja
Application granted granted Critical
Publication of JP5110383B2 publication Critical patent/JP5110383B2/ja
Expired - Fee Related legal-status Critical Current
Anticipated expiration legal-status Critical

Links

Images

Landscapes

  • Cooling Or The Like Of Electrical Apparatus (AREA)
  • Arrangement Of Elements, Cooling, Sealing, Or The Like Of Lighting Devices (AREA)

Abstract

【課題】ケースの大きさを変えず、スイッチング素子を実装する回路基板を小型化する。
【解決手段】平面形状が長方形状に形成され、電気回路が実装された回路基板11と;回路基板11を収納するケース10と;回路基板11における一方の長辺側に設けられ、ケース10内面に熱的に接続された放熱板40と;電気回路の一部を構成すると共に、モールド部31から延びる端子の方向が、回路基板11の長手方向に一致させられてモールド部31の少なくとも一部が放熱板40上に位置するように回路基板11に実装されたスイッチング素子であるFET30とを具備する。
【選択図】図1

Description

この発明は、スイッチング素子を備える電気機器、この電気機器の構成を採用した放電ランプ点灯装置を用いて構成した照明器具に関するものである。
放電ランプを点灯する電気機器である放電ランプ点灯装置の点灯回路においては、電力変換などにスイッチング素子が用いられている。このスイッチング素子は、発熱が大きく、放熱板に配置されて用いられる。
そして、スイッチング素子のモールド部をベースケースにおける側壁の側へ配置し、スイッチング素子の端子を回路基板の中央部を超えた位置に配置している(特許文献1の図6、図17、図18参照)。
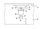
要部のみについて平面図により示すと、図4に示すように、ベースケースの側壁91に略L字状の放熱板92がねじ止めされて結合され、この放熱板92の上にスイッチング素子90が載置されて、ネジ93により放熱板92と固定される。また、放熱板92は、回路基板94に対して二本のネジ95、95にて固定される。また、スイッチング素子90の端子96は、回路基板94の中央部を超えた位置に配置されている。
特開2003−197027号公報(図6、図17〜図20、0038〜0045)
スイッチング素子としては、一般的に電解効果トランジスタ(FET)が用いられ、特にドレイン端子における発熱が高いことが知られている。この発熱による熱的影響を考慮して、他の部品や配線パターンなどは、端子96から所定の距離以上離れた位置に設ける必要がある。このため、端子96が回路基板94に挿入された位置から回路基板94の遠端縁部までの寸法Lを大きくしなければ、ここに部品を設けたり配線パターンを設けたりすることができない。
このような事情から、従来の放電ランプ点灯装置では、回路基板94を小型化(細形化)することが困難であり、結局はこれを用いて構成する照明器具が大型化するという問題を生じていた。その対策として、スイッチング素子を縦にした状態で、回路基板に植設したものが考えられている(特許文献1の図19、図20参照)。しかしながら、係る構成によれば、ベースケースの高さを高くする必要が生じ、照明器具が大型化するという問題は残ったままとなる。
本発明は、上記のような従来の放電ランプ点灯装置における問題点を解決せんとしてなされたもので、その目的は、スイッチング素子を実装する回路基板を小型化可能とすると共に、ケースの大きさを変えることなく、適切に放熱を行うことが可能な電気機器を提供することである。更に、本発明では、上記電気機器の構成を採用した放電ランプ点灯装置を用いて構成した照明器具を提供することを目的とする。
本発明に係る電気機器は、平面形状が長方形状に形成され、電気回路が実装された回路基板と;回路基板を収納するケースと;回路基板における一方の長辺側に設けられ、ケース内面に熱的に接続された放熱板と;電気回路の一部を構成すると共に、モールド部から延びる端子の方向が、回路基板の長手方向に一致させられてモールド部の少なくとも一部が放熱板上に位置するように回路基板に実装されたスイッチング素子とを具備することを特徴とする。
モールド部から延びる端子の方向が、回路基板の長手方向に一致させられて放熱板上に実装されるとは、スイッチング素子の長手方向が回路基板の長手方向に一致するように配置されることを意味する。スイッチング素子は、電解効果トランジスタ(FET)に限定されることなく、端子を介して流れる電流により発熱し、端子から所定の距離以上離れた位置に、他の部品や配線パターンを設ける必要がある全ての素子を含む。回路基板は、表裏面に配線パターンを備えるものや多層基板を含むものである。
本発明に係る照明器具は、放電ランプを点灯させる点灯回路とした電気回路を備える請求項1に記載の電気機器を用いて構成した放電ランプ点灯装置と;この放電ランプ点灯装置により点灯される放電ランプと;放電ランプ点灯装置および放電ランプを配置している器具本体とを具備することを特徴とする。
本発明に係る電気機器によれば、スイッチング素子におけるモールド部から延びる端子の方向が、回路基板の長手方向に一致させられて放熱板上に実装されているので、スイッチング素子の位置から回路基板の対向側における端縁までの部分には、端子における発熱の影響を回避するため、他の部品や配線パターンなどを配置できないという規制をほぼなくすることができ、他の部品や配線パターンなどを配置するための回路基板の大型化を生じさせることなく、むしろ小型化を図ることができる。また、ケースの高さ(丈)を高くする必要もない。
本発明に係る照明器具によれば、スイッチング素子におけるモールド部から延びる端子の方向が、回路基板の長手方向に一致させられて放熱板上に実装されている構成の放電ランプ点灯装置を採用しているので、回路基板の大型化を生じさせることなく、むしろ小型化を図ることができる。また、ケースの高さ(丈)を高くする必要もない。
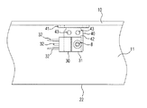
以下添付図面を参照して本発明に係る電気機器、更にこの電気機器の構成を備えた放電ランプ点灯装置を用いて構成した照明器具の実施例を説明する。各図において同一の構成要素には同一の符号を付して重複する説明を省略する。本発明の実施例に係る電気機器は放電ランプ点灯装置1として実現される。この放電ランプ点灯装置1は、要部が図1の斜視図として示されるように、上側が開口した箱状のケース10に、点灯回路2を有した構成を備えている。
点灯回路2は、図示した範囲において、回路基板11に電気部品12〜16、30を実装したものであり、この点灯回路2は図示しない放電ランプを点灯させるための電源部を含み、必要な電圧を生起して放電ランプを点灯させる構成を備えている。回路基板11は、図1の状態において横方向を長手方向とする長方形状を有している。
符号30により示す上記電気部品は、スイッチング素子としてのFET30であり、偏平な板状のモールド部31と、このモールド部31から突出する三本の端子32とを備える。FET30は、モールド部31から延びる端子32の方向が、回路基板11の長手方向に一致させられて少なくともモールド部31の一部が放熱板40上に位置するように基板11上に実装されている。
放熱板40は、例えばアルミニウム板により構成され、L字状に折り曲げられた立設部41が、回路基板21における二長辺の一方を背にして設けられ、ケース10の側壁板10aに対してネジ52により螺着されている。
回路基板11に実装され、図1に示された電気部品12〜16、30の内、FET30のみについての平面図は図2のようである。図2に示されている通り、FET30の実装の向きが従来例とは異なるために、長方形状のモールド部31の二長辺が回路基板11の長手方向に一致している。従って、回路基板11における二長辺の内、放熱板40が設けられていない長辺22からFET30までの距離を極めて長く構成されている。従来では、回路基板11の中央部を超えた位置までFET30が占めていた配置構成と大きく相違している。
別の観点からは、長方形状のモールド部31の二短辺が回路基板11の長手方向に直交するようにFET30が配置されているので、モールド部31の長辺における、放熱板40の立設部41に近い一長辺から立設部41までの距離を、従来よりも大きくしている。この構成により生じた立設部41に近接する平面部42にネジ穴43、43を形成して、回路基板11と放熱板40との結合をネジにより行う。
放熱板40における平面部42は、上記ネジ穴43、43が形成される部分を除き、FET30のモールド部31の略平面面積を有している。更に、放熱板40の立設部41についても、平面部42との結合部43の幅に合わせて寸法が短くされ、放熱板40の全体の大きさを小型化でき、コスト低減を図ることができる。FET30はモールド部31に穿設された穴に挿入されたネジ8により、放熱板40に固定されている。
以上の通りに構成を備えているため、回路基板21における二長辺の内、放熱板40が設けられていない長辺22からFET30までの距離が極めて長く、この部分に他の部品や配線パターンを余裕を持って配置することができる。また、上記部分に他の部品や配線パターンを配置した後の残余部分を除去することにより小型化を図ることができる。
この本実施例の構成によりFET30の端子32の近傍に関し、他の部品や配線パターンなどは、端子32から所定の距離以上離れた位置に設ける必要が生じるが、これにより回路基板21について長手方向に大きくすることは殆ど必要ない。つまり、回路基板の長手方向に沿う、従来例の放熱板の長さに比べて、本実施例の放熱板40の長さが短い。具体的には図2と図4を比較して明らかな通り、回路基板の長手方向に沿う、従来例の放熱板の長さは、本実施例による配置の場合におけるFET30のモールド部31の頭部から端子32の先端部までの長さ程度である。従って、端子32の先端部からある程度の範囲に他の部品や配線パターンなどを配置することができないものの、この部分に代えて、上記放熱板40が設けられていない長辺22からFET30までの範囲を用いることができ、全体として見れば小型化を図ることができる。
図3には、本発明に係る照明器具の実施例を示す。照明器具3は、天井面などに直付けされる照明器具であり、略枠状の器具本体17の両端に一対のランプソケット18、18が設けられている。このランプソケット18、18には、放電ランプである直管形蛍光ランプ19が装着されている。また、器具本体17は、蛍光ランプ19に対向して断面略皿状の反射板20を取り付けており、この反射板20の表面は反射面20aとなっている。
また、器具本体17は、反射板20の内側において、図1に示した放電ランプ点灯装置1をケース10に設けた取付け孔に、通しねじにより固定している。そして、放電ランプ点灯装置1が給電されることにより、蛍光ランプ19が点灯する。
照明器具3は、放電ランプ点灯装置1の小型化により、容易に配設スペースを確保することができ、放電ランプ点灯装置1の低コスト化により、安価に形成することができる。
本発明に係る電気機器である放電ランプ点灯装置の実施例における要部構成を示す斜視図。 図1の放電ランプ点灯装置の実施例における要部構成を示す平面図。 本発明の放電ランプ点灯装置に係る実施例を用いて構成した照明器具の構成を示す斜視図。 従来の放電ランプ点灯装置における要部構成を示す平面図。
符号の説明
1 放電ランプ点灯装置
2 点灯回路
3 照明器具
10 ケース
11 回路基板
30 スイッチング素子であるFET
31 モールド部
32 端子
40 放熱板

Claims (2)

  1. 平面形状が長方形状に形成され、電気回路が実装された回路基板と;
    回路基板を収納するケースと;
    回路基板における一方の長辺側に設けられ、ケース内面に熱的に接続された放熱板と;
    電気回路の一部を構成すると共に、モールド部から延びる端子の方向が、回路基板の長手方向に一致させられてモールド部の少なくとも一部が放熱板上に位置するように回路基板に実装されたスイッチング素子と
    を具備することを特徴とする電気機器。
  2. 放電ランプを点灯させる点灯回路とした電気回路を備える請求項1に記載の電気機器を用いて構成した放電ランプ点灯装置と;
    この放電ランプ点灯装置により点灯される放電ランプと;
    放電ランプ点灯装置および放電ランプを配置している器具本体と
    を具備することを特徴とする照明器具。
JP2008198934A 2008-07-31 2008-07-31 電気機器及び照明器具 Expired - Fee Related JP5110383B2 (ja)

Priority Applications (1)

Application Number Priority Date Filing Date Title
JP2008198934A JP5110383B2 (ja) 2008-07-31 2008-07-31 電気機器及び照明器具

Applications Claiming Priority (1)

Application Number Priority Date Filing Date Title
JP2008198934A JP5110383B2 (ja) 2008-07-31 2008-07-31 電気機器及び照明器具

Publications (2)

Publication Number Publication Date
JP2010040597A true JP2010040597A (ja) 2010-02-18
JP5110383B2 JP5110383B2 (ja) 2012-12-26

Family

ID=42012866

Family Applications (1)

Application Number Title Priority Date Filing Date
JP2008198934A Expired - Fee Related JP5110383B2 (ja) 2008-07-31 2008-07-31 電気機器及び照明器具

Country Status (1)

Country Link
JP (1) JP5110383B2 (ja)

Families Citing this family (1)

* Cited by examiner, † Cited by third party
Publication number Priority date Publication date Assignee Title
US9996091B2 (en) 2013-05-30 2018-06-12 Honeywell International Inc. Comfort controller with user feedback

Citations (3)

* Cited by examiner, † Cited by third party
Publication number Priority date Publication date Assignee Title
JPH08167318A (ja) * 1994-12-13 1996-06-25 Matsushita Electric Works Ltd 発熱部品の放熱構造
JP2002223089A (ja) * 2001-01-26 2002-08-09 Toshiba Lighting & Technology Corp 電気機器および放電灯点灯装置
JP2005004976A (ja) * 2003-06-09 2005-01-06 Toshiba Lighting & Technology Corp 点灯装置及び照明器具

Patent Citations (3)

* Cited by examiner, † Cited by third party
Publication number Priority date Publication date Assignee Title
JPH08167318A (ja) * 1994-12-13 1996-06-25 Matsushita Electric Works Ltd 発熱部品の放熱構造
JP2002223089A (ja) * 2001-01-26 2002-08-09 Toshiba Lighting & Technology Corp 電気機器および放電灯点灯装置
JP2005004976A (ja) * 2003-06-09 2005-01-06 Toshiba Lighting & Technology Corp 点灯装置及び照明器具

Also Published As

Publication number Publication date
JP5110383B2 (ja) 2012-12-26

Similar Documents

Publication Publication Date Title
JP5511075B2 (ja) 照明器具
JP5375340B2 (ja) 電気機器及び照明器具
JP5565955B2 (ja) 照明器具
JP2010135263A (ja) 点灯装置及びこの点灯装置を備える照明器具
JP2009158144A (ja) 照明器具
JP6061220B2 (ja) Led照明装置
JP5538550B2 (ja) 光源点灯装置およびその製造方法ならびに車載用ヘッドランプ装置
JP6297299B2 (ja) 照明器具
JP2017153347A (ja) 電動機駆動装置
JP5110383B2 (ja) 電気機器及び照明器具
JP2014072142A (ja) 照明器具
JP2010108879A (ja) 電気機器及び照明器具
JP5561477B2 (ja) 発光モジュールおよび照明器具
JP2020119740A (ja) 照明装置
JP7251270B2 (ja) 配線ダクト取付物
KR200471342Y1 (ko) 엘이디모듈 및 이를 갖춘 전자기기
JP2010040472A (ja) 電子機器および照明器具
JP2010170840A (ja) 電気機器及び照明器具
JP5884091B2 (ja) 照明器具
JP2025134068A (ja) 照明器具
JP6275234B2 (ja) Led照明装置
JP2021051861A (ja) 発光モジュール及び照明器具
JP2010049954A (ja) 電子機器および照明器具
JP2002109918A (ja) 放電灯点灯装置及び照明装置
JP2010225547A (ja) 電子機器および照明器具

Legal Events

Date Code Title Description
A621 Written request for application examination

Free format text: JAPANESE INTERMEDIATE CODE: A621

Effective date: 20110302

A977 Report on retrieval

Free format text: JAPANESE INTERMEDIATE CODE: A971007

Effective date: 20120209

A131 Notification of reasons for refusal

Free format text: JAPANESE INTERMEDIATE CODE: A131

Effective date: 20120221

A521 Request for written amendment filed

Free format text: JAPANESE INTERMEDIATE CODE: A523

Effective date: 20120423

A02 Decision of refusal

Free format text: JAPANESE INTERMEDIATE CODE: A02

Effective date: 20120522

A521 Request for written amendment filed

Free format text: JAPANESE INTERMEDIATE CODE: A523

Effective date: 20120817

A911 Transfer to examiner for re-examination before appeal (zenchi)

Free format text: JAPANESE INTERMEDIATE CODE: A911

Effective date: 20120824

TRDD Decision of grant or rejection written
A01 Written decision to grant a patent or to grant a registration (utility model)

Free format text: JAPANESE INTERMEDIATE CODE: A01

Effective date: 20120913

A01 Written decision to grant a patent or to grant a registration (utility model)

Free format text: JAPANESE INTERMEDIATE CODE: A01

A61 First payment of annual fees (during grant procedure)

Free format text: JAPANESE INTERMEDIATE CODE: A61

Effective date: 20120926

FPAY Renewal fee payment (event date is renewal date of database)

Free format text: PAYMENT UNTIL: 20151019

Year of fee payment: 3

R151 Written notification of patent or utility model registration

Ref document number: 5110383

Country of ref document: JP

Free format text: JAPANESE INTERMEDIATE CODE: R151

FPAY Renewal fee payment (event date is renewal date of database)

Free format text: PAYMENT UNTIL: 20151019

Year of fee payment: 3

LAPS Cancellation because of no payment of annual fees