JP2010040462A - Ih型ドリフトチューブ線形加速器 - Google Patents

Ih型ドリフトチューブ線形加速器 Download PDF

Info

Publication number
JP2010040462A
JP2010040462A JP2008205093A JP2008205093A JP2010040462A JP 2010040462 A JP2010040462 A JP 2010040462A JP 2008205093 A JP2008205093 A JP 2008205093A JP 2008205093 A JP2008205093 A JP 2008205093A JP 2010040462 A JP2010040462 A JP 2010040462A
Authority
JP
Japan
Prior art keywords
drift tube
electric field
drift
curvature
tuner
Prior art date
Legal status (The legal status is an assumption and is not a legal conclusion. Google has not performed a legal analysis and makes no representation as to the accuracy of the status listed.)
Granted
Application number
JP2008205093A
Other languages
English (en)
Other versions
JP4911477B2 (ja
Inventor
Yoichi Kuroda
洋一 黒田
Kazuo Yamamoto
和男 山本
Hirobumi Tanaka
博文 田中
Current Assignee (The listed assignees may be inaccurate. Google has not performed a legal analysis and makes no representation or warranty as to the accuracy of the list.)
Mitsubishi Electric Corp
Original Assignee
Mitsubishi Electric Corp
Priority date (The priority date is an assumption and is not a legal conclusion. Google has not performed a legal analysis and makes no representation as to the accuracy of the date listed.)
Filing date
Publication date
Application filed by Mitsubishi Electric Corp filed Critical Mitsubishi Electric Corp
Priority to JP2008205093A priority Critical patent/JP4911477B2/ja
Publication of JP2010040462A publication Critical patent/JP2010040462A/ja
Application granted granted Critical
Publication of JP4911477B2 publication Critical patent/JP4911477B2/ja
Active legal-status Critical Current
Anticipated expiration legal-status Critical

Links

Images

Landscapes

  • Particle Accelerators (AREA)

Abstract

【課題】ドリフトチューブの端部外周エッジ部の表面電場強度を低減し、放電を防ぎ、粒子の安定な加速が行えるIH型ドリフトチューブ線形加速器を提供する。
【解決手段】加速空胴1、加速空胴1内部にビーム加速軸a方向に配列され高周波加速電場を発生するドリフトチューブ3、ドリフトチューブ3を加速空胴1の内周壁面に保持したステム2、加速空胴1の円筒壁に挿入され加速空胴1の共振周波数を調整し、ドリフトチューブ3間の電場強度分布を調整し表面電場強度を許容値以下とするチューナを備え、入射端から入射した粒子を加速して出射端から出射するもので、各ドリフトチューブ3は、端部外周エッジ部が所定の曲率半径を有し、出射端側に最近接するチューナの中心位置より出射端側に位置するドリフトチューブ3の曲率半径を、出射端に最近接するチューナの中心位置より入射端側にある各ドリフトチューブ3の曲率半径よりも大きくする。
【選択図】図1

Description

この発明は、高周波加速電場によって粒子線を加速するためのドリフトチューブと呼ばれる電極を用いたIH型ドリフトチューブ線形加速器に関するものである。
IH型ドリフトチューブ線形加速器においては、円筒形の加速空胴内部に加速空胴内周壁面の上下から交互に径方向に突出するステムを配置し、ステムにドリフトチューブを取り付けて、複数のドリフトチューブを円筒軸方向に配列する。ドリフトチューブ間に高周波電場が発生する。粒子線は複数のドリフトチューブの中を通過し、ドリフトチューブ間の高周波電場で加速される。この高周波電場は、通常、加速電場と呼ばれる。IH型加速器においては加速空洞内の水平方向を回転する方向の磁場が発生し、これによって電場が誘起されるため、加速空胴中央での加速電場が大きいという分布を持つ。これにより両端では加速電場が小さくなるため、入射側の加速電場を上げるために入射側数個のドリフトチューブ外径を大きくする、内径を小さくする、あるいはドリフトチューブ外側の曲率半径を小さくするなどして加速電場の向上が図られてきた(例えば、特許文献1参照)。
最も効率よく加速するためには各ドリフトチューブ間での電場強度の平均値が等しくなる必要がある。しかし、それぞれのドリフトチューブ間での平均電場強度を等しくするという調整を行なった場合、ドリフトチューブ同士の距離が遠い出射側においてはその表面における電場強度が高くなり、放電危険性が高くなる。この発明は、このような放電危険性を下げるためのものであり、この点は上記従来例と異なる。
特開2006−351233号公報(第6−7頁、図5、図8)
IH型ドリフトチューブ線形加速器において、ドリフトチューブの表面における電場強度が大きくなると、放電が起こり、粒子線が安定して加速できない。
粒子線が加速され、粒子線のエネルギーが大きくなると粒子は高速となり、ドリフトチューブ間の距離は長くする必要があるので、粒子線出射側のドリフトチューブ間の距離は粒子線入射側のドリフトチューブ間の距離より長くなる。ドリフトチューブ間の電場強度分布の平均値を一定にするという条件で設計を行うと、このドリフトチューブ間の距離が長くなるほどドリフトチューブにおける表面電場強度は大きくなる。
また、加速空胴の共振周波数及びドリフトチューブ間の電場強度分布の平均値の調整は、加速空胴の円筒壁に孔を開けこの孔に銅製の棒あるいは銅メッキした金属棒からなるチューナを挿入して行う。円筒壁を貫通してチューナを挿入した場合、チューナ挿入部中心付近の電場強度は小さくなり、チューナ両側付近の電場強度は大きくなる。従って、このようにチューナを挿入した場合、ドリフトチューブにおける表面電場強度はさらに大きくなる。また、そのチューナよりもさらに出射側に位置するドリフトチューブの表面電場強度は、ドリフトチューブ間の距離が大きくなることにより、そのチューナよりも入射側に位置するドリフトチューブの表面電場強度より大きくなる。また、最も出射側に位置するチューナよりも入射側にあるドリフトチューブ間の電場強度分布はチューナ相互の調節によって調整でき、表面電場強度を下げることができるが、最も出射側に位置するチューナよりも出射側にあるドリフトチューブ間の電場強度分布はチューナによって調整できない。これは、ドリフトチューブ間の電場強度と空洞の共振周波数の両方をチューナにより調節する必要があることに起因している。
粒子線出射側のドリフトチューブ間の距離が長くなるということ、挿入したチューナよりもさらに出射側に位置するドリフトチューブの表面電場強度が大きくなること及び最も出射側に位置するチューナよりも出射側にあるドリフトチューブ間の電場強度分布はチューナによって調整できないことから、最も出射側に位置するチューナよりもさらに出射側に位置するドリフトチューブの円筒軸方向端部の外周エッジ部においては表面電場強度が大きくなり、放電が発生して粒子線の安定な加速が行えなくなる場合があるという問題がある。
この発明は、上記のような問題を解決するためになされたものであり、最も出射側に位置するチューナよりもさらに出射側にあるドリフトチューブの表面電場強度が大きくなり放電が発生する可能性がある場合に、このドリフトチューブの表面電場強度を低減し、これにより主にドリフトチューブ間の放電を防ぎ、粒子線の安定な加速が行えるようにしたIH型ドリフトチューブ線形加速器を提供することを目的とする。
この発明に係るIHドリフトチューブ線形加速器は、円筒形の加速空胴と、上記加速空胴内部に円筒軸方向に配列され高周波加速電場を発生させる複数のドリフトチューブと、上記各ドリフトチューブを一方の先端部に固定し他方の先端部を上記加速空胴の内周壁面に保持した複数のステムと、上記加速空胴の円筒壁を貫通する孔に挿入され上記円筒軸方向に配列設置されたチューナとを備え、上記チューナは、上記各チューナの上記貫通する孔に挿入される挿入部の長さを相互に調節可能に構成され、上記加速空洞の円筒軸方向の一端を入射端、他端を出射端として上記入射端から入射した粒子線を上記ドリフトチューブ間にかけられている高周波加速電場で加速して上記出射端から出射するIH型ドリフトチューブ線形加速器であって、
上記ドリフトチューブは、上記円筒軸方向端部の外周エッジ部が所定の曲率半径を有し、
上記出射端最近接位置に配置された上記チューナの中心位置よりも上記出射端の側に位置し上記表面電場強度が上記許容値を超える可能性の高いドリフトチューブの上記曲率半径を、上記出射端最近傍位置に配置された上記チューナの中心位置よりも上記入射端の側に位置する上記ドリフトチューブそれぞれの上記曲率半径よりも大きくしたものである。
この発明に係るIHドリフトチューブ線形加速器によれば、円筒形の加速空胴と、上記加速空胴内部に円筒軸方向に配列され高周波加速電場を発生させる複数のドリフトチューブと、上記各ドリフトチューブを一方の先端部に固定し他方の先端部を上記加速空胴の内周壁面に保持した複数のステムと、上記加速空胴の円筒壁を貫通する孔に挿入され上記円筒軸方向に配列設置されたチューナとを備え、上記チューナは、上記各チューナの上記貫通する孔に挿入される挿入部の長さを相互に調節可能に構成され、上記加速空洞の円筒軸方向の一端を入射端、他端を出射端として上記入射端から入射した粒子線を上記ドリフトチューブ間にかけられている高周波加速電場で加速して上記出射端から出射するIH型ドリフトチューブ線形加速器であって、
上記ドリフトチューブは、上記円筒軸方向端部の外周エッジ部が所定の曲率半径を有し、
上記出射端最近傍位置に配置された上記チューナの中心位置よりも上記出射端の側に位置し上記表面電場強度が上記許容値を超える可能性の高いドリフトチューブの上記曲率半径を、上記出射端最近接位置に配置された上記チューナの中心位置よりも上記入射端の側に位置する上記ドリフトチューブそれぞれの上記曲率半径よりも大きくしたので、ドリフトチューブ間の放電を防ぎ、粒子線を安定に加速することができる。
実施の形態1.
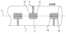
図1は、この発明に係るドリフトチューブ線形加速器の実施の形態1を示す断面図であり、IH(Interdigital H−mode)型ドリフトチューブ線形加速器の断面図を示している。図1に示したように、IH型ドリフトチューブ線形加速器は、円筒形の加速空胴1と、加速空胴1の円筒軸方向に配列され高周波加速電場を発生させる複数のドリフトチューブ3と、各ドリフトチューブ3を一方の先端部に固定し他方の先端部を加速空胴1の内周壁面に保持した複数のステム2と、加速空胴1の円筒壁を貫通する孔に円筒壁を貫通して挿入され円筒軸方向に配列された複数のチューナとを備える。複数のチューナ相互の円筒壁の孔に挿入される挿入部の長さを調節することによって加速空胴1の共振周波数及びドリフトチューブ3間の電場強度分布の平均値を各ドリフトチューブ3間において同じ値に調整し、かつ、ドリフトチューブ3間の電場強度分布を調整してドリフトチューブ3における表面電場強度を許容値以下とし、加速空洞1の円筒軸の一方を入射端、他方を出射端として入射端から入射した粒子線を加速して出射端から出射する。チューナは、銅棒あるいは銅メッキ金属等からなり、例えば、加速空胴1の円筒部のチューナ設置位置4,5,6,7に設けた貫通孔に挿入される。
IH型ドリフトチューブ線形加速器においては、ドリフトチューブ3同士の間の空間に高周波加速電場が発生し、粒子線の加速が行われる。そのために、入射側から出射側に向かって次第に粒子線のエネルギーが高くなるので、入射端側から出射端側に向かって次第にドリフトチューブ3間の距離を長くする必要がある。ドリフトチューブ3間における粒子線加速軸(円筒軸)a方向の電場強度分布はドリフトチューブ3表面で高く、ドリフトチューブ3間で低くなる。すなわち、ドリフトチューブ3間の電場強度分布はドリフトチューブ3間の両端にピークを持つことになる。従って、各ドリフトチューブ3間の電場強度分布の平均値を等しくするという条件で設計を行った場合、ドリフトチューブ3間の距離を長くした出射側のドリフトチューブ3の表面電場強度の最大値は、入射側に位置するドリフトチューブ3間の距離が短いドリフトチューブ3の表面電場強度の最大値に比べて大きくなる。
また、チューナを、円筒壁を貫通して挿入した場合、図2に示すようにチューナ挿入位置16(チューナの中心位置)付近の電場強度は小さくなり、チューナ挿入後のドリフトチューブ3間の電場分布18は、チューナの挿入位置から入射端側、出射端側に向かって離れるに従って、その電場強度がチューナ挿入前の電場分布17における電場強度より大きくなる。このような状況に対して、最も出射端側に位置するチューナの中心位置より入射端側に位置するドリフトチューブ3間の電場強度分布については複数のチューナの挿入部長さを相互に調節することによって、その強度を調整し、ドリフトチューブ3の表面電場強度を許容値以下にすることができる。しかし、チューナを用いて表面電場強度と共振周波数をともに調整する必要があるので、最も出射端側に位置するチューナの中心位置よりさらに出射端側に位置するドリフトチューブ3間の電場強度分布の調整範囲は制限されるため、チューナの調節という従来の方法では、最も出射端側に位置するチューナの中心位置より出射端側に位置するドリフトチューブ3の表面電場強度は放電にかかる許容値を超えることがある。
このように、ドリフトチューブ3間の距離が長くなること、チューナを挿入したこと及び最も出射端側に位置するチューナの中心位置より出射端側に位置するドリフトチューブ3間の電場強度分布が調整できないことが原因となって、最も出射端側に位置するチューナの中心位置よりさらに出射端側に位置するドリフトチューブ3の表面電場強度が大きくなり、放電が発生する可能性が生じる。
この発明においては、最も出射端側に位置するチューナ設置位置7の中心位置よりもさらに出射端側に位置して放電発生の可能性があるドリフトチューブ3の端部外周(粒子線加速軸a方向端部の外周部)のエッジ部の曲率半径をチューナ設置位置7の中心位置よりも入射端側に位置する各ドリフトチューブ3の端部外周のエッジ部の曲率半径より大きくすることでエッジ部の電場集中を避けて電場強度を低減することにより放電を防ぎ、放電による加速電場の乱れを防止することで安定な粒子線加速ができるようにするものである。また、放電を防ぐことでドリフトチューブ線形加速器の長寿命化及び製品の安全性を図るものである。
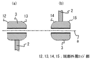
図3は、ドリフトチューブ3の端部外周エッジ部の曲率半径の大きさを変えた2種類のドリフトチューブを示す断面図である。図3(a)は、チューナ設置位置7の中心位置よりも入射端側に位置するドリフトチューブ3における端部外周エッジ部8,9の曲率半径を示し、図3(b)は、チューナ設置位置7の中心位置よりも出射端側に位置するドリフトチューブ3における端部外周エッジ部10,11の曲率半径を示している。
以上のように、この実施の形態1によれば、最も出射端側に位置するチューナ設置位置7の中心位置よりもさらに出射端側に位置するドリフトチューブ3の端部外周エッジ部10,11における曲率半径を、チューナ設置位置7の中心位置より入射端側に位置する各ドリフトチューブ3の端部外周エッジ部8、9の曲率半径に比べて大きくすることで放電を防ぎ、安定な粒子線加速ができるようにすることができる。
また、端部外周エッジ部の曲率半径を大きくする対象となるドリフトチューブ3が複数ある場合においては、一つのドリフトチューブ3の両端で表面電場強度が異なり、その両端において放電の起こる可能性が異なる場合があるので、その場合には、図4に示すように、ドリフトチューブ3の端部外周エッジ部12の曲率半径と端部外周エッジ部13の曲率半径を異なるものとし、また、ドリフトチューブ3の端部外周エッジ部14の曲率半径と端部外周エッジ部15の曲率半径は異なるものとして放電の起こりやすい対向する面の端部外周エッジ部13,14の曲率半径を大きくする。
また、端部外周エッジ部の曲率半径を大きくするドリフトチューブ3が複数ある場合、各ドリフトチューブ3の表面電場強度が異なるので、図5に示すように、ドリフトチューブ3の端部外周エッジ部12及び13の曲率半径と端部外周エッジ部14及び15の曲率半径とを異なるものとする。また、この場合、一つのドリフトチューブ3の両端で表面電場強度が異なる場合があるので、その場合には、その両端の端部外周エッジ部の曲率半径を異なるものとする。
この発明のドリフトチューブ線形加速器は、医療用の機器に有効に利用することができる。
この発明に係るIHドリフトチューブ線形加速器の実施の形態1の構成を示す断面図である。 実施の形態1によるチューナ挿入時の電場強度分布の変化を示すグラフである。 実施の形態1におけるIHドリフトチューブを示す断面図である。 実施の形態1におけるIHドリフトチューブを示す断面図である。 実施の形態1におけるIHドリフトチューブを示す断面図である。
符号の説明
1 加速空胴、2 ステム、3 ドリフトチューブ、4〜7 チューナ設置位置、
a ビーム加速軸、8〜15 端部外周エッジ部、16 チューナ挿入位置、
17 チューナ挿入前の電場分布、18 チューナ挿入後の電場分布。

Claims (3)

  1. 円筒形の加速空胴と、上記加速空胴内部に円筒軸方向に配列され高周波加速電場を発生させる複数のドリフトチューブと、上記各ドリフトチューブを一方の先端部に固定し他方の先端部を上記加速空胴の内周壁面に保持した複数のステムと、上記加速空胴の円筒壁を貫通する孔に挿入され上記円筒軸方向に配列設置されたチューナとを備え、上記チューナは、上記各チューナの上記貫通する孔に挿入される挿入部の長さを相互に調節可能に構成され、上記加速空洞の円筒軸方向の一端を入射端、他端を出射端として上記入射端から入射した粒子線を上記ドリフトチューブ間にかけられている高周波加速電場で加速して上記出射端から出射するIH型ドリフトチューブ線形加速器であって、
    上記ドリフトチューブは、上記円筒軸方向端部の外周エッジ部が所定の曲率半径を有し、
    上記出射端最近傍位置に配置された上記チューナの中心位置よりも上記出射端の側に位置し上記表面電場強度が上記許容値を超える可能性の高いドリフトチューブの上記曲率半径を、上記出射端最近接位置に配置された上記チューナの中心位置よりも上記入射端の側に位置する上記ドリフトチューブそれぞれの上記曲率半径よりも大きくしたことを特徴とするIH型ドリフトチューブ線形加速器。
  2. 上記曲率半径を大きくしたドリフトチューブが複数の場合、該複数のドリフトチューブそれぞれの上記曲率半径が異なることを特徴とした請求項1に記載のIH型ドリフトチューブ線形加速器。
  3. 上記曲率半径を大きくしたドリフトチューブの上記曲率半径が、当該ドリフトチューブの上記入射端側と上記出射端側とで異なることを特徴とした請求項1または請求項2に記載のIH型ドリフトチューブ線形加速器。
JP2008205093A 2008-08-08 2008-08-08 Ih型ドリフトチューブ線形加速器 Active JP4911477B2 (ja)

Priority Applications (1)

Application Number Priority Date Filing Date Title
JP2008205093A JP4911477B2 (ja) 2008-08-08 2008-08-08 Ih型ドリフトチューブ線形加速器

Applications Claiming Priority (1)

Application Number Priority Date Filing Date Title
JP2008205093A JP4911477B2 (ja) 2008-08-08 2008-08-08 Ih型ドリフトチューブ線形加速器

Publications (2)

Publication Number Publication Date
JP2010040462A true JP2010040462A (ja) 2010-02-18
JP4911477B2 JP4911477B2 (ja) 2012-04-04

Family

ID=42012768

Family Applications (1)

Application Number Title Priority Date Filing Date
JP2008205093A Active JP4911477B2 (ja) 2008-08-08 2008-08-08 Ih型ドリフトチューブ線形加速器

Country Status (1)

Country Link
JP (1) JP4911477B2 (ja)

Cited By (5)

* Cited by examiner, † Cited by third party
Publication number Priority date Publication date Assignee Title
JP2010225551A (ja) * 2009-03-25 2010-10-07 Mitsubishi Electric Corp Hモード型ドリフトチューブ線形加速器
CN103945633A (zh) * 2014-05-12 2014-07-23 重庆大学 一种双柱面电子直线加速器有效焦点尺寸调节装置及方法
CN113784495A (zh) * 2021-09-10 2021-12-10 中山大学 一种高梯度大强度谐波型加速器
CN114641121A (zh) * 2022-03-22 2022-06-17 清华大学 场稳定性调谐方法
CN120857342A (zh) * 2025-09-22 2025-10-28 中国科学院近代物理研究所 漂移管型直线加速器

Families Citing this family (1)

* Cited by examiner, † Cited by third party
Publication number Priority date Publication date Assignee Title
CN111526655B (zh) * 2019-02-02 2021-06-29 清华大学 一种射频四极加速器调谐方法及装置、存储介质

Citations (3)

* Cited by examiner, † Cited by third party
Publication number Priority date Publication date Assignee Title
JP2007087855A (ja) * 2005-09-26 2007-04-05 Natl Inst Of Radiological Sciences Hモード・ドリフトチューブ線形加速器及びその設計方法
JP2007157400A (ja) * 2005-12-01 2007-06-21 Sumitomo Heavy Ind Ltd 線形加速器
JP2007287538A (ja) * 2006-04-19 2007-11-01 Hitachi Ltd 加速器

Patent Citations (3)

* Cited by examiner, † Cited by third party
Publication number Priority date Publication date Assignee Title
JP2007087855A (ja) * 2005-09-26 2007-04-05 Natl Inst Of Radiological Sciences Hモード・ドリフトチューブ線形加速器及びその設計方法
JP2007157400A (ja) * 2005-12-01 2007-06-21 Sumitomo Heavy Ind Ltd 線形加速器
JP2007287538A (ja) * 2006-04-19 2007-11-01 Hitachi Ltd 加速器

Cited By (5)

* Cited by examiner, † Cited by third party
Publication number Priority date Publication date Assignee Title
JP2010225551A (ja) * 2009-03-25 2010-10-07 Mitsubishi Electric Corp Hモード型ドリフトチューブ線形加速器
CN103945633A (zh) * 2014-05-12 2014-07-23 重庆大学 一种双柱面电子直线加速器有效焦点尺寸调节装置及方法
CN113784495A (zh) * 2021-09-10 2021-12-10 中山大学 一种高梯度大强度谐波型加速器
CN114641121A (zh) * 2022-03-22 2022-06-17 清华大学 场稳定性调谐方法
CN120857342A (zh) * 2025-09-22 2025-10-28 中国科学院近代物理研究所 漂移管型直线加速器

Also Published As

Publication number Publication date
JP4911477B2 (ja) 2012-04-04

Similar Documents

Publication Publication Date Title
JP4911477B2 (ja) Ih型ドリフトチューブ線形加速器
US7400093B2 (en) Standing wave particle beam accelerator
US8159137B2 (en) Magnetron
JP2016225201A (ja) クライストロン
KR101679518B1 (ko) 마그네트론
CN110970279A (zh) 永磁封装径向强流电子束高功率微波振荡器
US3205398A (en) Long-slot coupled wave propagating circuit
JP4991266B2 (ja) マルチビームクライストロン
KR102267142B1 (ko) 가속관용 고출력 입력커플러
CN100508107C (zh) 无电极照明装置
US5235608A (en) Gas laser apparatus
US7973621B2 (en) Hom damped high-frequency resonator
EP4310881A1 (en) Klystron device
US6879616B2 (en) Diffusion-cooled laser system
JP4286960B2 (ja) マグネトロン
JP4869374B2 (ja) Hモード型ドリフトチューブ線形加速器
JP2007258133A (ja) マグネトロン
JP5162880B2 (ja) マグネトロン
JP5016904B2 (ja) マルチビームクライストロン
JP5055872B2 (ja) マグネトロン
JP2010192353A (ja) 電子管
JP3729645B2 (ja) 円形粒子加速器
JP2008108581A (ja) マグネトロン
CN119208112A (zh) 一种用于行波管的电子枪及行波管
JP2843689B2 (ja) 電子加速装置

Legal Events

Date Code Title Description
A621 Written request for application examination

Free format text: JAPANESE INTERMEDIATE CODE: A621

Effective date: 20101004

A977 Report on retrieval

Free format text: JAPANESE INTERMEDIATE CODE: A971007

Effective date: 20110916

A131 Notification of reasons for refusal

Free format text: JAPANESE INTERMEDIATE CODE: A131

Effective date: 20110927

A521 Request for written amendment filed

Free format text: JAPANESE INTERMEDIATE CODE: A523

Effective date: 20111026

TRDD Decision of grant or rejection written
A01 Written decision to grant a patent or to grant a registration (utility model)

Free format text: JAPANESE INTERMEDIATE CODE: A01

Effective date: 20111108

A01 Written decision to grant a patent or to grant a registration (utility model)

Free format text: JAPANESE INTERMEDIATE CODE: A01

A61 First payment of annual fees (during grant procedure)

Free format text: JAPANESE INTERMEDIATE CODE: A61

Effective date: 20111129

A61 First payment of annual fees (during grant procedure)

Free format text: JAPANESE INTERMEDIATE CODE: A61

Effective date: 20120110

R150 Certificate of patent or registration of utility model

Free format text: JAPANESE INTERMEDIATE CODE: R150

Ref document number: 4911477

Country of ref document: JP

Free format text: JAPANESE INTERMEDIATE CODE: R150

FPAY Renewal fee payment (event date is renewal date of database)

Free format text: PAYMENT UNTIL: 20150127

Year of fee payment: 3

FPAY Renewal fee payment (event date is renewal date of database)

Free format text: PAYMENT UNTIL: 20150127

Year of fee payment: 3

FPAY Renewal fee payment (event date is renewal date of database)

Free format text: PAYMENT UNTIL: 20150127

Year of fee payment: 3

R250 Receipt of annual fees

Free format text: JAPANESE INTERMEDIATE CODE: R250

R250 Receipt of annual fees

Free format text: JAPANESE INTERMEDIATE CODE: R250

R250 Receipt of annual fees

Free format text: JAPANESE INTERMEDIATE CODE: R250

R250 Receipt of annual fees

Free format text: JAPANESE INTERMEDIATE CODE: R250

R250 Receipt of annual fees

Free format text: JAPANESE INTERMEDIATE CODE: R250

R250 Receipt of annual fees

Free format text: JAPANESE INTERMEDIATE CODE: R250

R250 Receipt of annual fees

Free format text: JAPANESE INTERMEDIATE CODE: R250

R250 Receipt of annual fees

Free format text: JAPANESE INTERMEDIATE CODE: R250

R250 Receipt of annual fees

Free format text: JAPANESE INTERMEDIATE CODE: R250

R250 Receipt of annual fees

Free format text: JAPANESE INTERMEDIATE CODE: R250

R250 Receipt of annual fees

Free format text: JAPANESE INTERMEDIATE CODE: R250