JP2010038768A - 電気計器用信号検知装置 - Google Patents

電気計器用信号検知装置 Download PDF

Info

Publication number
JP2010038768A
JP2010038768A JP2008203063A JP2008203063A JP2010038768A JP 2010038768 A JP2010038768 A JP 2010038768A JP 2008203063 A JP2008203063 A JP 2008203063A JP 2008203063 A JP2008203063 A JP 2008203063A JP 2010038768 A JP2010038768 A JP 2010038768A
Authority
JP
Japan
Prior art keywords
box
signal detection
detection mechanism
electric meter
pulse
Prior art date
Legal status (The legal status is an assumption and is not a legal conclusion. Google has not performed a legal analysis and makes no representation as to the accuracy of the status listed.)
Granted
Application number
JP2008203063A
Other languages
English (en)
Other versions
JP4672760B2 (ja
Inventor
Takuhiro Tsuchiyama
山 卓 宏 土
Takashi Yokoyama
山 貴 司 横
Hideaki Seto
戸 英 昭 瀬
Hitoshi Kitayama
山 仁 志 北
Current Assignee (The listed assignees may be inaccurate. Google has not performed a legal analysis and makes no representation or warranty as to the accuracy of the list.)
Japan Electric Meters Inspection Corp JEMIC
Original Assignee
Japan Electric Meters Inspection Corp JEMIC
Priority date (The priority date is an assumption and is not a legal conclusion. Google has not performed a legal analysis and makes no representation as to the accuracy of the date listed.)
Filing date
Publication date
Application filed by Japan Electric Meters Inspection Corp JEMIC filed Critical Japan Electric Meters Inspection Corp JEMIC
Priority to JP2008203063A priority Critical patent/JP4672760B2/ja
Publication of JP2010038768A publication Critical patent/JP2010038768A/ja
Application granted granted Critical
Publication of JP4672760B2 publication Critical patent/JP4672760B2/ja
Expired - Fee Related legal-status Critical Current
Anticipated expiration legal-status Critical

Links

Images

Landscapes

  • Arrangements For Transmission Of Measured Signals (AREA)
  • Testing Electric Properties And Detecting Electric Faults (AREA)

Abstract

【課題】電気計器のボックス上面から発信する第1パルスと、ボックス前面から発信する第2パルスとを自動で検出可能な電気計器用信号検知装置を提供する。
【解決手段】電気計器用信号検知装置100は、装置本体10と、装置本体10に対して進退自在に取り付けられた信号検知機構60とを備えている。信号検知機構60は、内側ボックス61と、内側ボックス61にヒンジ62により折れ曲がり自在に連結された外側ボックス63とからなっている。信号検知機構60が装置本体10から外方へ突出すると、内側ボックス61がボックス上面51cの第1パルス発信器55から発信する第1パルスを検出するとともに、外側ボックス63が内側ボックス61から折れ曲がり、ボックス前面51dの第2パルス発信器56から発信する第2パルスを検出する。
【選択図】図3

Description

本発明は、ボックスを有する電気計器が装着され、当該電気計器を試験装置に接続することにより性能試験を行なう電気計器用信号検知装置に係り、とりわけ電気計器のボックス上面から発信する第1パルスとボックス前面から発信する第2パルスとを自動で検出可能な電気計器用信号検知装置に関する。
従来より、試験装置を用いて、電力量計が所定の規格を満たしているかを検査する性能試験が行なわれている。このような性能試験を行なう場合、測定する電力量計毎に、試験装置の電源側の接続導線と電力量計の各外部端子とを結線する必要がある。この場合、試験装置の電源側の接続導線と電力量計の各外部端子とは、例えば検定試験台に設けられた結線器を介して互いに接続される。
また従来、例えば20Aまたは30A用の電力量計と試験装置との間の結線作業を自動で行なう自動結線器が実用化されている。すなわち、このような電力量計は、下面に設けられた複数の円筒形状の下方外部端子を有しており、自動結線器は、電力量計の下方外部端子と試験装置の電源側とを自動で結線するものである。しかしながら、ボックスと、ボックスの一面から外方へ突出する外部端子を有する電力量計と、試験装置の電源側とを自動で結線することが可能な自動結線器は現在のところ存在していない。
また、このような電力量計のボックス上面およびボックス前面からそれぞれ発信されるパルスを効率よく検出することが可能な信号検知装置も見当たらない。
特開2001−235527号公報
本発明はこのような点を考慮してなされたものであり、ボックスを有し、ボックス上面およびボックス前面からそれぞれパルスを発信する電気計器の性能試験を効率よく実施することが可能な電気計器用信号検知装置を提供することを目的とする。
本発明は、ボックスを有する電気計器が装着され、当該電気計器を試験装置に接続することにより性能試験を行なう電気計器用信号検知装置において、装置本体と、この装置本体に対して進退自在に取り付けられた信号検知機構とを備え、信号検知機構は、装置本体内側に位置する内側ボックスと、内側ボックスにヒンジにより折れ曲がり自在に連結された外側ボックスとからなり、信号検知機構が装置本体から外方へ突出すると、内側ボックスが電気計器のボックス上面の上方に位置してボックス上面から発信する第1パルスを検出するとともに、外側ボックスが内側ボックスから折れ曲がり、電気計器のボックス前面の前方に位置してボックス前面から発信する第2パルスを検出することを特徴とする電気計器用信号検知装置である。
本発明は、装置本体は、性能試験を行なう際に電気計器が挿入される第1の開口と、信号検知機構が進退する第2の開口とを有する前面板を有することを特徴とする電気計器用信号検知装置である。
本発明は、装置本体は、信号検知機構を進退させる進退手段を内蔵することを特徴とする電気計器用信号検知装置である。
本発明は、信号検知機構の内側ボックス内に第1パルスを検出する第1検出装置が設けられ、信号検知機構の外側ボックス内に第2パルスを検出する第2検出装置が設けられていることを特徴とする電気計器用信号検知装置である。
本発明によれば、信号検知機構が装置本体から外方へ突出すると、内側ボックスが電気計器のボックス上面の上方に位置してボックス上面から発信する第1パルスを検出するとともに、外側ボックスが内側ボックスから折れ曲がり、電気計器のボックス前面の前方に位置してボックス前面から発信する第2パルスを検出する。このことにより、電気計器のボックス上面から発信する第1パルスとボックス前面から発信する第2パルスとを自動で検出することができる。
以下、本発明の一実施の形態について、図1乃至図5を参照して説明する。
ここで、図1は、性能試験を行なう電気計器を背面側から見た斜視図であり、図2は、信号検知機構が収納位置にある場合における、本実施の形態による電気計器用信号検知装置を示す側面図であり、図3は、信号検知機構が検知位置にある場合における、本実施の形態による電気計器用信号検知装置を示す側面図である。図4は、信号検知機構が収納位置にある場合における、本実施の形態による電気計器用信号検知装置を示す平面図であり、図5(a)は、信号検知機構が収納位置にある場合における、本実施の形態による電気計器用信号検知装置を示す斜視図であり、図5(b)は、信号検知機構が検知位置にある場合における、本実施の形態による電気計器用信号検知装置を示す斜視図である。
まず、図1により、本実施の形態による電気計器用信号検知装置を用いて性能試験を行なう電気計器の概略について説明する。
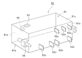
図1に示す電気計器50は、例えば、電力を積算して計量する電力量計からなっている。この電気計器50は、略直方体形状のボックス51と、ボックス51の一面(背面)51aから外方へ突出する4本の電流端子52a〜52dと、ボックス51の背面51aから外方へ突出する3本の電圧端子53a〜53cとを有している。
このうち4本の電流端子52a〜52dは、それぞれ、1S端子52a、3S端子52b、3L端子52c、および1L端子52dから構成されており、横方向に並んで配置されている。また3本の電圧端子53a〜53cは、それぞれ、P1端子53a、P2端子53b、およびP3端子53cから構成されており、電流端子52a〜52dより上方の位置において横方向に並んで配置されている。また、ボックス51の一側面51bには、接地端子54が設けられている。
さらに、ボックス51の上面51cには、当該電気計器50に関する情報を含む第1パルスを発信する第1パルス発信器55が設けられている。一方、ボックス51の前面51dには、当該電気計器50に関する(第1パルスに含まれる情報とは異なる)情報を含む第2パルスを発信する第2パルス発信器56が設けられている。
次に、図2乃至図5により、本実施の形態による電気計器用信号検知装置の概略について説明する。
図2乃至図5に示す電気計器用信号検知装置100は、上述した電気計器50が装着され、当該電気計器50を図示しない試験装置に接続することにより、電気計器50の性能試験を行なうものである。このような電気計器用信号検知装置100は、固定された装置本体10と、装置本体10に対して進退自在に取り付けられた信号検知機構60とを備えている。
このうち信号検知機構60は、図2乃至図4に示すように、装置本体10の内側に位置する内側ボックス61と、内側ボックス61にヒンジ62により折れ曲がり自在に連結された外側ボックス63とからなっている。このうち内側ボックス61内に、上述した第1パルス発信器55からの第1パルスを検出する第1検出装置64が設けられている。他方、外側ボックス63内には、上述した第2パルス発信器56からの第2パルスを検出する第2検出装置65が設けられている。
なお、第1検出装置64および第2検出装置65は、それぞれ第1パルスおよび第2パルスを検出する複数のセンサーを有しており、各センサーは、単独でも第1パルスおよび第2パルスを検出可能となっている。このように第1検出装置64および第2検出装置65がそれぞれ複数のセンサーを有することにより、第1検出装置64(第2検出装置65)と第1パルス発信器55(第2パルス発信器56)との間に多少の位置ずれが生じた場合であっても、第1パルス(第2パルス)を確実に検出することができる。
また外側ボックス63の後面63bに貫通孔67が形成され、内側ボックス61の前面61aおよび後面61bに、それぞれ貫通孔68、69が形成されている。そして、上述した第2検出装置65からの信号を送るための接続線71が、貫通孔67、68、69を順次介して図示しない試験装置に接続されている。また第1検出装置64からの信号を送るための接続線70は、貫通孔69を介して図示しない試験装置に接続されている。
図2乃至図4に示すように、装置本体10は、信号検知機構60を進退させるエアシリンダ等からなる進退手段66を内蔵している。すなわち後述する固定板15上面に進退手段66が取り付けられ、進退手段66の先端と内側ボックス61の後面61bとが互いに連結されている。さらに図4に示すように、固定板15上に信号検知機構60を案内する案内機構72が設けられている。この結果、信号検知機構60は、進退手段66により案内機構72に沿って進退し、信号検知機構60が装置本体10内に収納される収納位置(図2、図4、図5(a))と、信号検知機構60が装置本体10から外方へ突出する検知位置(図3、図5(b))とをとることができる。
図3および図5(b)に示すように、信号検知機構60が検知位置にあるとき、すなわち信号検知機構60が装置本体10から外方へ突出したとき、信号検知機構60の内側ボックス61は、電気計器50のボックス上面51cの上方に位置する。この際、内側ボックス61の第1検出装置64は、ボックス上面51cに設けられた第1パルス発信器55から発信された第1パルスを検出する。他方、信号検知機構60の外側ボックス63は、内側ボックス61から折れ曲がって電気計器50のボックス前面51dの前方に位置する。この際、外側ボックス63の第2検出装置65は、ボックス前面51dに設けられた第2パルス発信器56から発信された第2パルスを検出する。
一方、図2、図4、および図5(a)に示すように、信号検知機構60が収納位置にあるとき、信号検知機構60の内側ボックス61および外側ボックス63は、前面板11の内側に収納されている。
ところで、図2および図3に示すように、装置本体10は、鉛直方向に延びる前面板11と、この前面板11の内側で前面板11に対して垂直に連結されるとともに水平方向に延びる固定板15とを有している。このうち前面板11は、性能試験を行なう際に電気計器50が挿入される第1の開口14と、第1の開口14の上方に形成され、信号検知機構60が内部を進退する第2の開口29とを有している。
次に、このような構成からなる本実施の形態の作用について述べる。
まず、図示しないスイッチを検知位置側に切り換えることにより、進退手段66を伸長させる。これにより、信号検知機構60が装置本体10の前面板11から外方へ突出し、検知位置に移動する(図3、図5(b))。すなわち、信号検知機構60の内側ボックス61が、進退手段66によって前方に移動し、電気計器50のボックス上面51cに設けられた第1パルス発信器55の上方に位置する。一方、外側ボックス63は、内側ボックス61とともに前方に移動し、その後、自重によりヒンジ62の部分で内側ボックス61から折れ曲がり、電気計器50のボックス前面51dに設けられた第2パルス発信器56の前方に位置する。
次に、内側ボックス61の第1検出装置64は、ボックス上面51cに設けられた第1パルス発信器55から発信された第1パルスを検出し、この第1パルスに基づく信号を、接続線70を介して図示しない試験装置に送信する。同様に、外側ボックス63の第2検出装置65は、ボックス前面51dに設けられた第2パルス発信器56から発信された第2パルスを検出し、この第2パルスに基づく信号を、接続線71を介して図示しない試験装置に送信する。
このようにして、第1パルス発信器55からの第1パルスおよび第2パルス発信器56からの第2パルスが、試験装置に送信され、電気計器50の性能試験が行なわれる。
電気計器50の性能試験が終了した後、上述したスイッチを収納位置側に切り換える。これにより進退手段66が縮退し、信号検知機構60が装置本体10の前面板11内に収納される(図2、図4、図5(a))。すなわち、信号検知機構60の内側ボックス61が、進退手段66によって後方に移動され、装置本体10の前面板11内に引き込まれる。一方、外側ボックス63は、内側ボックス61に引っ張られることによりヒンジ62を中心として上方に回動し、ヒンジ62が真っ直ぐになって、装置本体10の前面板11内に引き込まれる。
次に、前面板11の第1の開口14内から電気計器50を抜き取る。その後、性能試験を行なう他の電気計器50を、上述した方法と同様にして前面板11の第1の開口14内に挿入し(電気計器50を掛け替える)、性能試験を行なう。
このように本実施の形態によれば、信号検知機構60が装置本体10から外方へ突出すると、内側ボックス61が電気計器50のボックス上面51cの上方に位置してボックス上面51cから発信する第1パルスを検出する。また、外側ボックス63が内側ボックス61から折れ曲がり、電気計器50のボックス前面51dの前方に位置してボックス前面51dから発信する第2パルスを検出する。このことにより、電気計器50のボックス上面51cから発信する第1パルスとボックス前面51dから発信する第2パルスとを自動で検出することができる。
性能試験を行なう電気計器を背面側から見た斜視図。 信号検知機構が収納位置にある場合における、本実施の形態による電気計器用信号検知装置を示す側面図。 信号検知機構が検知位置にある場合における、本実施の形態による電気計器用信号検知装置を示す側面図。 信号検知機構が収納位置にある場合における、本実施の形態による電気計器用信号検知装置を示す平面図。 本実施の形態による電気計器用信号検知装置を示す斜視図。
符号の説明
10 装置本体
11 前面板
14 第1の開口
15 固定板
29 第2の開口
50 電気計器
51 ボックス
52a〜52d 電流端子
53a〜53c 電圧端子
55 第1パルス発信器
56 第2パルス発信器
60 信号検知機構
61 内側ボックス
62 ヒンジ
63 外側ボックス
64 第1検出装置
65 第2検出装置
66 進退手段(エアシリンダ)
100 電気計器用信号検知装置

Claims (4)

  1. ボックスを有する電気計器が装着され、当該電気計器を試験装置に接続することにより性能試験を行なう電気計器用信号検知装置において、
    装置本体と、
    この装置本体に対して進退自在に取り付けられた信号検知機構とを備え、
    信号検知機構は、装置本体内側に位置する内側ボックスと、内側ボックスにヒンジにより折れ曲がり自在に連結された外側ボックスとからなり、
    信号検知機構が装置本体から外方へ突出すると、内側ボックスが電気計器のボックス上面の上方に位置してボックス上面から発信する第1パルスを検出するとともに、外側ボックスが内側ボックスから折れ曲がり、電気計器のボックス前面の前方に位置してボックス前面から発信する第2パルスを検出することを特徴とする電気計器用信号検知装置。
  2. 装置本体は、性能試験を行なう際に電気計器が挿入される第1の開口と、信号検知機構が進退する第2の開口とを有する前面板を有することを特徴とする請求項1記載の電気計器用信号検知装置。
  3. 装置本体は、信号検知機構を進退させる進退手段を内蔵することを特徴とする請求項1または2記載の電気計器用信号検知装置。
  4. 信号検知機構の内側ボックス内に第1パルスを検出する第1検出装置が設けられ、信号検知機構の外側ボックス内に第2パルスを検出する第2検出装置が設けられていることを特徴とする請求項1乃至3のいずれか一項記載の電気計器用信号検知装置。
JP2008203063A 2008-08-06 2008-08-06 電気計器用信号検知装置 Expired - Fee Related JP4672760B2 (ja)

Priority Applications (1)

Application Number Priority Date Filing Date Title
JP2008203063A JP4672760B2 (ja) 2008-08-06 2008-08-06 電気計器用信号検知装置

Applications Claiming Priority (1)

Application Number Priority Date Filing Date Title
JP2008203063A JP4672760B2 (ja) 2008-08-06 2008-08-06 電気計器用信号検知装置

Publications (2)

Publication Number Publication Date
JP2010038768A true JP2010038768A (ja) 2010-02-18
JP4672760B2 JP4672760B2 (ja) 2011-04-20

Family

ID=42011473

Family Applications (1)

Application Number Title Priority Date Filing Date
JP2008203063A Expired - Fee Related JP4672760B2 (ja) 2008-08-06 2008-08-06 電気計器用信号検知装置

Country Status (1)

Country Link
JP (1) JP4672760B2 (ja)

Cited By (2)

* Cited by examiner, † Cited by third party
Publication number Priority date Publication date Assignee Title
JP2012083319A (ja) * 2010-10-14 2012-04-26 Densoku Techno Co Ltd 自動結線装置
JP2013185896A (ja) * 2012-03-07 2013-09-19 Densoku Techno Co Ltd 自動結線装置

Cited By (2)

* Cited by examiner, † Cited by third party
Publication number Priority date Publication date Assignee Title
JP2012083319A (ja) * 2010-10-14 2012-04-26 Densoku Techno Co Ltd 自動結線装置
JP2013185896A (ja) * 2012-03-07 2013-09-19 Densoku Techno Co Ltd 自動結線装置

Also Published As

Publication number Publication date
JP4672760B2 (ja) 2011-04-20

Similar Documents

Publication Publication Date Title
JP7065881B2 (ja) 手動で作動させるプライヤー工具
CN110809703B (zh) 长度测量装置及系统
SA516370892B1 (ar) بنية وصلة أنبوبية، عضو مانع للتسرب، طريقة ادارة حالة توصيل لوصلة أنبوبية، وجهاز ادارة حالة توصيل لوصلة أنبوبية
JP4672760B2 (ja) 電気計器用信号検知装置
EP4131315A1 (en) Entrance and exit position detection device for power device, and entrance and exit monitoring system including same
JP2010249777A (ja) 電気計器用自動結線装置
KR101360273B1 (ko) 기준점 설정을 통한 해저지형 좌표의 위치변화 확인과 수심정보 감지 시스템
CN114325488B (zh) 一种线束故障检验台以及线束故障检测方法
CN108917989B (zh) 一种应力方向自动变换的刚性钻孔应力计与操作方法
KR101576668B1 (ko) 블록형 프로브 장치
EP3341152B1 (en) A sensor module for a fabrication tool and manufacturing method
CN202661037U (zh) 一种光电式深度检具
CN105115710B (zh) 扭矩扳手寿命试验机
CN209117768U (zh) 一种模块化的多功能检测仪
CN221572734U (zh) 一种行程开关/磁性开关的检测装置
JP2009198464A (ja) 検電器具、及び検電方法
CN207037044U (zh) 一种电力机车蓄电池剩余容量的检测装置
CN219715707U (zh) 脑电帽快速检测装置
CN204989256U (zh) 用于变电站蓄电池组检测的表笔
CN203732696U (zh) 电池监测装置
CN211179930U (zh) 一种管道杂散高压直流大电流排流装置测试台
KR101521413B1 (ko) 자가발전 마우스
CN205014996U (zh) 一种用于狭窄空间的传感器
CN105353188B (zh) 变压器电阻测试仪外部结构
CN102981024B (zh) 一种检测电流及接地电阻的测试转换插头座及测试方法

Legal Events

Date Code Title Description
A977 Report on retrieval

Free format text: JAPANESE INTERMEDIATE CODE: A971007

Effective date: 20101210

TRDD Decision of grant or rejection written
A01 Written decision to grant a patent or to grant a registration (utility model)

Free format text: JAPANESE INTERMEDIATE CODE: A01

Effective date: 20101221

A01 Written decision to grant a patent or to grant a registration (utility model)

Free format text: JAPANESE INTERMEDIATE CODE: A01

A61 First payment of annual fees (during grant procedure)

Free format text: JAPANESE INTERMEDIATE CODE: A61

Effective date: 20110119

R150 Certificate of patent or registration of utility model

Ref document number: 4672760

Country of ref document: JP

Free format text: JAPANESE INTERMEDIATE CODE: R150

Free format text: JAPANESE INTERMEDIATE CODE: R150

FPAY Renewal fee payment (event date is renewal date of database)

Free format text: PAYMENT UNTIL: 20140128

Year of fee payment: 3

R250 Receipt of annual fees

Free format text: JAPANESE INTERMEDIATE CODE: R250

R250 Receipt of annual fees

Free format text: JAPANESE INTERMEDIATE CODE: R250

R250 Receipt of annual fees

Free format text: JAPANESE INTERMEDIATE CODE: R250

R250 Receipt of annual fees

Free format text: JAPANESE INTERMEDIATE CODE: R250

R250 Receipt of annual fees

Free format text: JAPANESE INTERMEDIATE CODE: R250

R250 Receipt of annual fees

Free format text: JAPANESE INTERMEDIATE CODE: R250

R250 Receipt of annual fees

Free format text: JAPANESE INTERMEDIATE CODE: R250

R250 Receipt of annual fees

Free format text: JAPANESE INTERMEDIATE CODE: R250

R250 Receipt of annual fees

Free format text: JAPANESE INTERMEDIATE CODE: R250

R250 Receipt of annual fees

Free format text: JAPANESE INTERMEDIATE CODE: R250

R250 Receipt of annual fees

Free format text: JAPANESE INTERMEDIATE CODE: R250

LAPS Cancellation because of no payment of annual fees