JP2010037726A - Structure for temporarily fixing pc girder of column capital section in cantilever erection method - Google Patents

Structure for temporarily fixing pc girder of column capital section in cantilever erection method Download PDF

Info

Publication number
JP2010037726A
JP2010037726A JP2008198327A JP2008198327A JP2010037726A JP 2010037726 A JP2010037726 A JP 2010037726A JP 2008198327 A JP2008198327 A JP 2008198327A JP 2008198327 A JP2008198327 A JP 2008198327A JP 2010037726 A JP2010037726 A JP 2010037726A
Authority
JP
Japan
Prior art keywords
girder
column head
temporary
substructure
concrete
Prior art date
Legal status (The legal status is an assumption and is not a legal conclusion. Google has not performed a legal analysis and makes no representation as to the accuracy of the status listed.)
Granted
Application number
JP2008198327A
Other languages
Japanese (ja)
Other versions
JP5131590B2 (en
Inventor
Toshiharu Hatanaka
俊治 畑仲
Current Assignee (The listed assignees may be inaccurate. Google has not performed a legal analysis and makes no representation or warranty as to the accuracy of the list.)
PS Mitsubishi Construction Co Ltd
Original Assignee
PS Mitsubishi Construction Co Ltd
Priority date (The priority date is an assumption and is not a legal conclusion. Google has not performed a legal analysis and makes no representation as to the accuracy of the date listed.)
Filing date
Publication date
Application filed by PS Mitsubishi Construction Co Ltd filed Critical PS Mitsubishi Construction Co Ltd
Priority to JP2008198327A priority Critical patent/JP5131590B2/en
Publication of JP2010037726A publication Critical patent/JP2010037726A/en
Application granted granted Critical
Publication of JP5131590B2 publication Critical patent/JP5131590B2/en
Active legal-status Critical Current
Anticipated expiration legal-status Critical

Links

Images

Landscapes

  • Bridges Or Land Bridges (AREA)

Abstract

【課題】柱頭部PC桁仮固定部材の撤去が、短時間で、かつ容易に行なわれる柱頭部PC桁仮固定構造の提供。
【解決手段】張り出し架設を行なう橋梁の柱頭部PC桁11を下部工10の上端との間にコンクリート製の仮沓12を介在させるとともに、下部工10に対しPC緊張材13を使用して仮固定する張り出し架設PC桁の柱頭部仮固定に際し、仮沓12は、上下面に一体に突設した多数のせん断キー24有し、該せん断キー24を仮沓上面側の柱頭部PC桁下面及び下部工上面に嵌合させ、該せん断キー24によって仮沓12と柱頭部PC桁11及び下部工10と間の水平方向のせん断力に対抗させる。
【選択図】図1
Provided is a column head PC girder temporary fixing structure in which removal of a column head PC girder temporary fixing member is easily performed in a short time.
A concrete temporary bridge 12 is interposed between a bridge column head PC girder 11 and an upper end of a substructure 10 and a PC tension member 13 is temporarily used for the substructure 10. When temporarily fixing the column head of the overhanging construction PC girder to be fixed, the temporary anchor 12 has a number of shear keys 24 integrally projecting on the upper and lower surfaces, and the shear key 24 is provided on the lower surface of the column head PC girder on the upper surface side of the temporary anchor. It is fitted to the upper surface of the substructure, and the shear key 24 is used to counter the horizontal shearing force between the temporary tack 12 and the column head PC girder 11 and the substructure 10.
[Selection] Figure 1

Description

本発明は、橋桁を片持式に順次張り出すことによって構築する張り出し架設工法において、橋脚等の下部工上に設置する柱頭部PC桁を仮固定するための張り出し架設工法における柱頭部PC桁仮固定構造に関する。   The present invention relates to an overhanging construction method constructed by sequentially projecting bridge girders in a cantilevered manner, in which a column head PC girder temporary in an overhanging construction method for temporarily fixing a column head PC girder installed on a substructure such as a bridge pier is provided. It relates to a fixed structure.

一般に、PC橋の張り出し架設工法では、架設後の連続桁全体にプレストレスを導入させるものであるが、張り出し架設途中においては橋脚等の下部工と、該下部工上に支持させた柱頭部PC桁とを仮固定させておき、これによって架設時の安定性を確保している。     In general, in the overhanging construction method of PC bridge, prestress is introduced to the entire continuous girder after erection, but during the overhanging construction, a substructure such as a pier and a column head PC supported on the substructure. The girders are temporarily fixed to ensure the stability when erected.

また、互いに対向して順次張り出された桁の端部間が互いに付き合わされて連続桁が形成された後、連続桁全体にプレストレスを導入するために、前記仮固定を解除する必要がある。   Further, after the end portions of the beams that are sequentially projected to face each other are attached to each other to form a continuous beam, it is necessary to release the temporary fixing in order to introduce prestress to the entire continuous beam. .

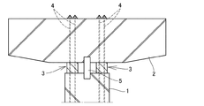
従来の仮固定構造は、図5に示す構造が一般的であった(例えば特許文献1)。同図において1は主として橋脚からなる下部工であり、2は柱頭部PC桁である。この柱頭部PC桁2を形成する際に、下部工1上に鉄筋コンクリート製の仮沓3を設置するとともに、下部工1内に下端側を定着させたPC緊張材4を、仮沓3に貫通させて柱頭部PC桁2に挿通し、その上端を柱頭部PC桁2の上面側に支持させて緊張定着させ、これによって張り出し桁の上下方向の回転モーメントに対抗させている。   The conventional temporary fixing structure is generally the structure shown in FIG. 5 (for example, Patent Document 1). In the figure, 1 is a substructure mainly composed of piers, and 2 is a column head PC girder. When forming the column head PC girder 2, a temporary steel rod 3 made of reinforced concrete is installed on the substructure 1, and the PC tension material 4 having the lower end fixed in the substructure 1 is penetrated into the temporary frame 3. The upper end of the pillar head PC girder 2 is supported on the upper surface side of the pillar head PC girder 2 to fix the tension, thereby countering the vertical moment of rotation of the overhanging girder.

一方、これとは別に、H型鋼5の両端を下部工1と柱頭部PC桁2に埋設した状態で設置し、これによって地震時の水平方向のせん断力に対抗させている。
特開平7−71007号公報
On the other hand, both ends of the H-shaped steel 5 are installed in a state where both ends of the H-shaped steel 5 are embedded in the substructure 1 and the column head PC girder 2 to counter the horizontal shearing force at the time of an earthquake.
Japanese Patent Laid-Open No. 7-71007

一般に、上述した連続桁式の張り出し架設工法では、片持式によって張り出し形成した対向する桁端部が接合された状態の連続桁全体にプレストレスを導入するものであり、桁端部間が接合された後、速やかにプレストレスを導入する必要があるが、柱頭部PC桁と下部工間が仮固定されたままではプレストレスが導入されにくい。このため仮固定を速やかに解除する必要がある。   In general, in the above-mentioned continuous girder type overhang construction method, prestress is introduced to the entire continuous girder in a state where opposing girder ends that are formed by cantilevering are joined, and the girder ends are joined. After this, it is necessary to quickly introduce prestress, but prestress is difficult to be introduced if the space between the column head PC girder and the substructure is temporarily fixed. For this reason, it is necessary to release the temporary fixing promptly.

しかし、上述した従来の柱頭部PC桁仮固定構造では、鉛直力を受けている仮沓は鉄筋コンクリート製である場合が多く、その撤去にはコンクリートのはつりと鉄筋の切断とを行なわなければならず、作業が著しく困難である。   However, in the conventional column head PC girder temporary fixing structure described above, the temporary anchor receiving the vertical force is often made of reinforced concrete, and the concrete must be suspended and the reinforcing bar cut to remove it. The work is extremely difficult.

また、水平方向のせん断抵抗を受け持っているH型鋼は、上下の端部が柱頭部PC桁及び下部工内に埋設されているため、これをガス等で切断しなければならず、切断後にはその切断面が露出することとなり、その露出面に防錆処理を施さなければならない。   In addition, the H-shaped steel that is responsible for the shear resistance in the horizontal direction has its upper and lower ends embedded in the column head PC girder and the substructure, so it must be cut with gas, etc. The cut surface will be exposed, and the exposed surface must be rust-proofed.

以上のように、従来の柱頭部PC桁仮固定の解除には多くの困難な作業が必要であるため、短時間での撤去は困難であるとともに、耐久性等の問題があった。   As described above, since the conventional column head PC girder temporary fixing requires many difficult operations, removal in a short time is difficult and there are problems such as durability.

本発明はこのような従来の問題に鑑み、柱頭部PC桁仮固定部材の撤去が、短時間で、かつ容易に行なわれ、桁連続後に短時間でプレストレス導入作業を行なうことができる張り出し架設工法における柱頭部PC桁仮固定構造の提供を目的としてなされたものである。   In view of such a conventional problem, the present invention provides an overhanging structure in which the column head PC girder temporary fixing member can be easily removed in a short time and the prestress can be introduced in a short time after the girder is continued. The purpose is to provide a column head PC girder temporary fixing structure in the construction method.

上述の如き従来の問題を解決し、所期の目的を達成するための請求項1に記載の発明の特徴は、張り出し架設を行なう橋梁の柱頭部PC桁を下部工の上端との間に、コンクリート製の仮沓を介在させるとともに、該柱頭部PC桁を下部工に対しPC緊張材を使用して仮固定する張り出し架設PC桁の柱頭部仮固定構造において、
前記仮沓は、上下面に一体に突設した多数のせん断キーを有し、該せん断キーを仮沓上面側の柱頭部PC桁下面及び下部工上面に嵌合させ、該せん断キーによって仮沓と柱頭部PC桁及び下部工と間の水平方向のせん断力に対抗させるようにしたことにある。
The feature of the invention according to claim 1 for solving the conventional problems as described above and achieving the intended purpose is that the bridge column head PC girder for overhanging construction is placed between the upper end of the substructure. In the column head temporary fixing structure of the overhanging construction PC girder in which a concrete temporary fence is interposed and the column head PC girder is temporarily fixed to the substructure using a PC tension material,
The temporary tack has a plurality of shear keys integrally projecting on the upper and lower surfaces, and the shear keys are fitted to the lower surface of the column head PC girder and the lower construction surface on the upper face of the temporary tack, This is to counter the horizontal shearing force between the column head PC girder and the substructure.

請求項2に記載の発明の特徴は、請求項1の構成に加え、前記仮沓は、側部周面を構成する鋼殻を有し、該鋼殻内に無筋コンクリートを充填して構成されていることにある。   According to a second aspect of the present invention, in addition to the structure of the first aspect, the temporary tack has a steel shell constituting a side peripheral surface, and the steel shell is filled with unreinforced concrete. There is in being.

請求項3に記載の発明の特徴は、請求項1又は2の何れか1の請求項の構成に加え、前記せん断キーは、橋軸方向と直交する向きの凹凸条を橋軸方向に交互に配置した波型に形成することによって構成されていることにある。   According to a third aspect of the present invention, in addition to the configuration of the first or second aspect of the invention, the shear key is configured so that the ridges in the direction orthogonal to the bridge axis direction are alternately arranged in the bridge axis direction. That is, it is configured by forming the wave shape to be arranged.

本発明においては、仮沓として、上下面に一体に突設した多数のせん断キー有するものを使用し、該せん断キーを仮沓上面側の柱頭部PC桁下面及び下部工上面に嵌合させ、該せん断キーによって仮沓と柱頭部PC桁及び下部工と間の水平方向のせん断力に対抗させるようにしたことにより、従来使用していた水平方向のせん断抵抗を受け持たせるH型鋼が不要になり、柱頭部PC桁の仮固定解除作業は、PC緊張材の緊張解除と、仮沓の除去作業によって完了するため、従来に比べて作業工数が少なく、短時間で連続桁のプレストレスの導入を完了することができる。   In the present invention, as a temporary tack, use a thing having a large number of shear keys integrally projecting on the upper and lower surfaces, the shear key is fitted to the bottom face of the column head PC girder on the upper face side of the temporary tack and the lower work surface, By using the shear key to oppose the horizontal shearing force between the anchor and the column head PC girder and the substructure, there is no need for the H-shaped steel that provides the horizontal shearing resistance that has been used in the past. Therefore, the temporary fixation release work for the column head PC girders is completed by releasing the tension of the PC tendon and removing the temporary tacks. Can be completed.

また、水平方向のせん断抵抗を受け持たせるH型鋼を使用しないため、その切断作業や切断作業後の防錆作業が不要となり、作業工数が著しく削減される。   Further, since the H-shaped steel that imparts horizontal shear resistance is not used, the cutting work and the rust prevention work after the cutting work are not required, and the number of work steps is significantly reduced.

また、本発明では、前記仮沓は、側部周面を構成する鋼殻を有し、該鋼殻内に無筋コンクリートを充填して構成されていることにより、仮沓の撤去に際し、鋼殻はガス切断等によって切断することにより容易に除去でき、また、鋼殻除去後に残るコンクリートは無筋であるため、コンクリートブレーカーによって容易かつ短時間に除去できる。   Further, in the present invention, the temporary tack has a steel shell constituting the side peripheral surface, and is constituted by filling the steel shell with unreinforced concrete, so that the temporary tack is removed when the steel is removed. The shell can be easily removed by cutting by gas cutting or the like, and the concrete remaining after the removal of the steel shell is straight, so it can be removed easily and in a short time by a concrete breaker.

更に、本発明では、前記せん断キーは、橋軸方向と直交する向きの凹凸条を橋軸方向に交互に配置した波型に形成することによって構成されていることにより、マッチキャスト形式によって仮沓の上下面のせん断キーと整合する形状に、下側の下部工及び上側の柱頭部PC桁の各対応面が容易に形成することができる。   Furthermore, in the present invention, the shear key is formed by forming a corrugated shape in which the ridges in the direction perpendicular to the bridge axis direction are alternately arranged in the bridge axis direction, so that the match key type is used as the temporary key. The corresponding surfaces of the lower substructure and the upper column head PC girder can be easily formed in a shape that matches the upper and lower shear keys.

次に本発明の実施の形態を図1〜図4に示した実施例に基づいて説明する。図において符号10は、橋脚等の下部工であり、11は下部工10上に仮固定した柱頭部PC桁である。この仮固定は、仮沓12とPC緊張材13とによってなされている。PC緊張材13は下端が下部工10内に埋設されて定着され、上端側が仮沓12を通して柱頭部PC桁11に貫通され、その上端が支圧板を介して定着具14により緊張定着されている。   Next, embodiments of the present invention will be described based on the examples shown in FIGS. In the figure, reference numeral 10 denotes a substructure such as a pier, and 11 denotes a column head PC girder temporarily fixed on the substructure 10. This temporary fixing is performed by the temporary tack 12 and the PC tension material 13. The lower end of the PC tension member 13 is buried and fixed in the substructure 10, the upper end side is penetrated to the column head PC girder 11 through the temporary anchor 12, and the upper end is tension fixed by the fixing tool 14 via the bearing plate. .

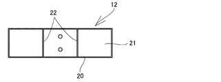
仮沓12は、図2〜図4に示すように、上下面を除く側部周面に鋼鈑からなる鋼殻20を備え、その内部にコンクリート21を打設して構成されており、コンクリートは鉄筋を使用しない無筋コンクリート構造となっている。   As shown in FIGS. 2 to 4, the temporary tack 12 includes a steel shell 20 made of steel on the side peripheral surface excluding the upper and lower surfaces, and is constructed by placing concrete 21 therein. Has an unreinforced concrete structure that does not use rebar.

鋼殻20は、仮沓12の側部周面を構成している他、その内部を複数の隔室に仕切る隔壁22が一体に備えられ、その各隔室内にコンクリート21が充填されて構成されている。   The steel shell 20 constitutes the side peripheral surface of the temporary tack 12, and is integrally provided with a partition wall 22 for partitioning the interior into a plurality of compartments, and each compartment is filled with concrete 21. ing.

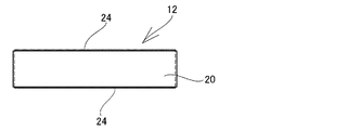
仮沓12の上下面は、前記鋼殻20の上下縁部より後述するせん断キーの高さ分だけ突出されてコンクリート21が打設されており、該上下面に多数のせん断キー24が一体に形成されている。   The upper and lower surfaces of the temporary tack 12 are protruded from the upper and lower edges of the steel shell 20 by the height of a shear key, which will be described later, and concrete 21 is placed thereon, and a number of shear keys 24 are integrally formed on the upper and lower surfaces. Is formed.

仮沓12の上下面は、凹溝24aと突条24bが交互に並べて形成されることにより断面が波型に形成され、その波型の凸部がせん断キー24となっている。この突条24aからなるせん断キー24を柱頭部PC桁11の橋軸方向と直交する方向に向けて設置している。   The upper and lower surfaces of the temporary tack 12 are formed by alternately arranging the concave grooves 24 a and the protrusions 24 b, so that the cross section is formed into a corrugated shape, and the corrugated convex portion serves as the shear key 24. The shear key 24 composed of the ridges 24a is installed in a direction perpendicular to the bridge axis direction of the column head PC girder 11.

この仮沓12の上下面と接合する柱頭部PC桁11の下面及び下部工10の上面は、互いに嵌りあう形状に形成されており、仮沓のせん断キー24の間に柱頭部PC桁11下面及び下部工上面のせん断キー25が密に嵌り合っている構造となっている。   The lower surface of the column head PC girder 11 and the upper surface of the lower work 10 to be joined to the upper and lower surfaces of the temporary tack 12 are formed to fit with each other, and the lower surface of the column head PC girder 11 is interposed between the shear keys 24 of the temporary tack. In addition, the shear key 25 on the upper surface of the lower work is closely fitted.

仮沓12の設置は、先ず仮沓12を鋼殻20付きのコンクリートブロックとして形成しておき、これを下部工の上面形成に際し、仮沓20を下部工コンクリートの固化前に該下部工上面に置くことによって、仮沓20の下面が互いに密着して嵌りあう形状にせん断キー25を形成し、このようにして下部工10の上面に設置した仮沓20の上面に直接柱頭部PC桁11を形成するコンクリートを打設することによって仮沓20の上面が互いに密着して嵌りあう形状にせん断キー25を形成することができる。   First, the temporary anchor 12 is formed as a concrete block with a steel shell 20, and when the upper surface of the substructure is formed, the temporary anchor 20 is placed on the upper surface of the substructure before the substructure concrete is solidified. By placing, the shear key 25 is formed in a shape in which the lower surface of the temporary tack 20 fits closely to each other, and the column head PC girder 11 is directly attached to the upper face of the temporary tack 20 thus installed on the upper face of the substructure 10. By placing the concrete to be formed, the shear key 25 can be formed in a shape in which the upper surfaces of the temporary tacks 20 are in close contact with each other.

尚、上述したせん断キー24,25は、この実施例では断面波型に形成しているが、この他、断面が台形等の角型突条であってもよく、更には、格子状の凹溝を形成することによって形成される角型の突起であってもよい。   The shear keys 24 and 25 described above are formed in a corrugated cross section in this embodiment, but other than this, the cross section may be a square-shaped protrusion such as a trapezoid, and furthermore, a lattice-like concave. It may be a square protrusion formed by forming a groove.

このように、上下面にせん断キーを有する仮沓20を使用し、その上下面のせん断キー24を柱頭部PC桁11下面及び下部工10上面に密に嵌め合わせるとともに、PC緊張材13によって下部工10と柱頭部PC桁11間を引き寄せる方向の荷重をかけることにより、せん断キー24の存在によって、橋桁の張り出し施工時に生じる水平方向のせん断力に十分に対抗させることができ、従来使用していた耐せん断力用のH型鋼が不要となる。   In this way, the temporary shank 20 having the shear keys on the upper and lower surfaces is used, and the shear keys 24 on the upper and lower surfaces are closely fitted to the lower surface of the column head PC girder 11 and the upper surface of the lower work 10, and By applying a load in the direction of pulling between the work 10 and the column head PC girder 11, the presence of the shear key 24 can sufficiently counter the horizontal shearing force generated during the construction of the bridge girder, which has been conventionally used. In addition, no H-shaped steel for shear resistance is required.

また、仮固定時及び橋桁張り出し施工時に仮沓12に作用する垂直荷重に対しては外周面の鋼殻20によって座屈が防止され、鉄筋コンクリートと同様又はそれ以上に、耐えることができる。   Further, buckling is prevented by the steel shell 20 on the outer peripheral surface against a vertical load acting on the temporary anchor 12 at the time of temporary fixing and bridge girder extension construction, and it can withstand the same as or more than reinforced concrete.

そして、仮固定を解除する際には、従来と同様にPC緊張材13による緊張を解除した後、仮沓12の周面の鋼殻20は、その表面から切断することによって容易に除去でき、鋼殻20を除去したあとに残るコンクリート21は、鉄筋が埋設されていない無筋コンクリートであるため、コンクリートブレーカー等の簡易な装置により容易に除去することができる。   And, when releasing the temporary fixation, after releasing the tension by the PC tendon 13 as in the conventional case, the steel shell 20 on the peripheral surface of the temporary tack 12 can be easily removed by cutting from the surface, Since the concrete 21 remaining after the steel shell 20 is removed is unreinforced concrete in which no reinforcing bars are embedded, it can be easily removed by a simple device such as a concrete breaker.

このように、下部工間に跨った連続桁が完成した後の仮固定の解除は、PC緊張材13による緊張解除と、前述した仮沓12の短時間での容易な除去作業によってなされ、従来のようなH型鋼の除去が不要であるため、連続桁に対するプレストレスの導入作業を早期に行なうことができる。   As described above, the temporary fixation after the continuous girder between the substructures is completed is released by the tension release by the PC tension member 13 and the above-described easy removal work of the temporary tack 12 in a short time. Since the removal of the H-shaped steel as described above is unnecessary, the prestress introduction work for the continuous girder can be performed at an early stage.

本発明の一実施例である下部工に対する柱頭部PC桁の仮固定状態を示す縦断面図である。It is a longitudinal cross-sectional view which shows the temporarily fixed state of the column head PC girder with respect to the substructure which is one Example of this invention. 図1に示す実施例に使用されている仮沓部分の拡大断面図である。It is an expanded sectional view of the temporary tack part currently used for the Example shown in FIG. 図1に示す実施例に使用されている仮沓の平面図である。It is a top view of the temporary tack used for the Example shown in FIG. 同、側面図である。FIG. 従来の下部工に対する柱頭部PC桁の仮固定状態を示す縦断面図である。It is a longitudinal cross-sectional view which shows the temporarily fixed state of the column head PC girder with respect to the conventional substructure.

符号の説明Explanation of symbols

10 下部工
11 柱頭部PC桁
12 仮沓
13 PC緊張材
14 定着具
20 鋼殻
21 コンクリート
22 隔壁
24 せん断キー
24a 凹溝
24b 突条
25 せん断キー
DESCRIPTION OF SYMBOLS 10 Substructure 11 Column head PC girder 12 Suspension bar 13 PC tension material 14 Fixing tool 20 Steel shell 21 Concrete 22 Bulkhead 24 Shear key 24a Groove 24b Projection 25 Shear key

Claims (3)

張り出し架設を行なう橋梁の柱頭部PC桁を下部工の上端との間に、コンクリート製の仮沓を介在させるとともに、該柱頭部PC桁を下部工に対しPC緊張材を使用して仮固定する張り出し架設PC桁の柱頭部仮固定構造において、
前記仮沓は、上下面に一体に突設した多数のせん断キーを有し、該せん断キーを仮沓上面側の柱頭部PC桁下面及び下部工上面に嵌合させ、該せん断キーによって仮沓と柱頭部PC桁及び下部工と間の水平方向のせん断力に対抗させるようにしたことを特徴としてなる張り出し架設PC桁の柱頭部仮固定構造。
A concrete temporary fence is interposed between the column head PC girder of the bridge for overhanging construction and the upper end of the substructure, and the column head PC girder is temporarily fixed to the substructure using a PC tension material. In the column head temporary fixing structure of overhanging construction PC girder,
The temporary tack has a plurality of shear keys integrally projecting on the upper and lower surfaces, and the shear keys are fitted to the lower surface of the column head PC girder and the lower construction surface on the upper face of the temporary tack, Column head temporary fixing structure of overhanging PC girder characterized in that it is made to resist horizontal shearing force between the column head PC girder and substructure.
前記仮沓は、側部周面を構成する鋼殻を有し、該鋼殻内に無筋コンクリートを充填して構成されている請求項1に記載の張り出し架設PC桁の柱頭部仮固定構造。   The column head temporary fixing structure of an overhanging construction PC girder according to claim 1, wherein the temporary rod has a steel shell constituting a peripheral surface of the side portion and is filled with unreinforced concrete in the steel shell. . 前記せん断キーは、橋軸方向と直交する向きの凹凸条を橋軸方向に交互に配置した波型に形成することによって構成されている請求項1又は2の何れか1に記載の張り出し架設PC桁の柱頭部仮固定構造。   The overhanging construction PC according to any one of claims 1 and 2, wherein the shear key is formed by forming a corrugation in which concave and convex strips oriented in a direction perpendicular to the bridge axis direction are alternately arranged in the bridge axis direction. Girder head temporary fixing structure.
JP2008198327A 2008-07-31 2008-07-31 Column head PC girder temporary fixing structure in overhang construction method Active JP5131590B2 (en)

Priority Applications (1)

Application Number Priority Date Filing Date Title
JP2008198327A JP5131590B2 (en) 2008-07-31 2008-07-31 Column head PC girder temporary fixing structure in overhang construction method

Applications Claiming Priority (1)

Application Number Priority Date Filing Date Title
JP2008198327A JP5131590B2 (en) 2008-07-31 2008-07-31 Column head PC girder temporary fixing structure in overhang construction method

Publications (2)

Publication Number Publication Date
JP2010037726A true JP2010037726A (en) 2010-02-18
JP5131590B2 JP5131590B2 (en) 2013-01-30

Family

ID=42010558

Family Applications (1)

Application Number Title Priority Date Filing Date
JP2008198327A Active JP5131590B2 (en) 2008-07-31 2008-07-31 Column head PC girder temporary fixing structure in overhang construction method

Country Status (1)

Country Link
JP (1) JP5131590B2 (en)

Cited By (10)

* Cited by examiner, † Cited by third party
Publication number Priority date Publication date Assignee Title
CN102493364A (en) * 2011-12-23 2012-06-13 中铁大桥局股份有限公司 Ballasting method in large-span girder cantilever construction
CN102518046A (en) * 2011-12-29 2012-06-27 广东冠粤路桥有限公司 Method for eliminating secondary internal force of sinking of support saddle of continuous beam during cantilever construction
CN103132463A (en) * 2013-03-12 2013-06-05 中国建筑第六工程局有限公司 Movable hanger operating platform and manufacturing, installing, using and removing methods thereof
CN103410102A (en) * 2013-08-29 2013-11-27 浙江省宏途交通建设有限公司 H-shaped double column pier wide-bridge-surface cantilever temporary consolidation structure and construction method thereof
KR101395129B1 (en) 2013-11-25 2014-05-15 (주) 효성 Precast panel and slab construction method using the same
CN111305080A (en) * 2020-03-31 2020-06-19 南京林业大学 Temporary consolidation bearing for cantilever construction of continuous girder bridge
CN112030780A (en) * 2020-08-19 2020-12-04 中铁大桥局第七工程有限公司 Steel arch bridge cantilever erection method
CN112695637A (en) * 2020-12-24 2021-04-23 云南交投公路建设第二工程有限公司 Tower beam temporary consolidation supporting structure easy to unload quickly and manufacturing and construction process
CN115059024A (en) * 2022-07-09 2022-09-16 水利部交通运输部国家能源局南京水利科学研究院 Simple-supported box-type water transmission and transfer combined structure and construction method using interlocking connection
CN116065476A (en) * 2023-02-15 2023-05-05 中国建筑第五工程局有限公司 A template-free ultra-large-scale UHPC-CSW-NC composite cover beam and its construction method

Families Citing this family (2)

* Cited by examiner, † Cited by third party
Publication number Priority date Publication date Assignee Title
KR102126719B1 (en) 2012-08-08 2020-06-25 쓰리엠 이노베이티브 프로퍼티즈 캄파니 Barrier film constructions and methods of making same
TWI610806B (en) 2012-08-08 2018-01-11 3M新設資產公司 Barrier film, method of manufacturing the barrier film, and object including the barrier film

Citations (2)

* Cited by examiner, † Cited by third party
Publication number Priority date Publication date Assignee Title
JPH09256325A (en) * 1996-03-22 1997-09-30 Kawata Kensetsu Kk Temporary abutment for pier
JP2002242207A (en) * 2001-02-22 2002-08-28 Taisei Corp Structural foundation support structure

Patent Citations (2)

* Cited by examiner, † Cited by third party
Publication number Priority date Publication date Assignee Title
JPH09256325A (en) * 1996-03-22 1997-09-30 Kawata Kensetsu Kk Temporary abutment for pier
JP2002242207A (en) * 2001-02-22 2002-08-28 Taisei Corp Structural foundation support structure

Cited By (14)

* Cited by examiner, † Cited by third party
Publication number Priority date Publication date Assignee Title
CN102493364A (en) * 2011-12-23 2012-06-13 中铁大桥局股份有限公司 Ballasting method in large-span girder cantilever construction
CN102493364B (en) * 2011-12-23 2014-01-15 中铁大桥局股份有限公司 Ballasting method in large-span girder cantilever construction
CN102518046B (en) * 2011-12-29 2014-05-21 广东冠粤路桥有限公司 Method for eliminating secondary internal force of sinking of support saddle of continuous beam during cantilever construction
CN102518046A (en) * 2011-12-29 2012-06-27 广东冠粤路桥有限公司 Method for eliminating secondary internal force of sinking of support saddle of continuous beam during cantilever construction
CN103132463A (en) * 2013-03-12 2013-06-05 中国建筑第六工程局有限公司 Movable hanger operating platform and manufacturing, installing, using and removing methods thereof
CN103132463B (en) * 2013-03-12 2015-06-24 中国建筑第六工程局有限公司 Movable hanger operating platform and manufacturing, installing, using and removing methods thereof
CN103410102A (en) * 2013-08-29 2013-11-27 浙江省宏途交通建设有限公司 H-shaped double column pier wide-bridge-surface cantilever temporary consolidation structure and construction method thereof
KR101395129B1 (en) 2013-11-25 2014-05-15 (주) 효성 Precast panel and slab construction method using the same
CN111305080A (en) * 2020-03-31 2020-06-19 南京林业大学 Temporary consolidation bearing for cantilever construction of continuous girder bridge
CN112030780A (en) * 2020-08-19 2020-12-04 中铁大桥局第七工程有限公司 Steel arch bridge cantilever erection method
CN112695637A (en) * 2020-12-24 2021-04-23 云南交投公路建设第二工程有限公司 Tower beam temporary consolidation supporting structure easy to unload quickly and manufacturing and construction process
CN112695637B (en) * 2020-12-24 2022-11-29 云南交投公路建设第二工程有限公司 Tower beam temporary consolidation supporting structure easy to unload quickly and manufacturing and construction process
CN115059024A (en) * 2022-07-09 2022-09-16 水利部交通运输部国家能源局南京水利科学研究院 Simple-supported box-type water transmission and transfer combined structure and construction method using interlocking connection
CN116065476A (en) * 2023-02-15 2023-05-05 中国建筑第五工程局有限公司 A template-free ultra-large-scale UHPC-CSW-NC composite cover beam and its construction method

Also Published As

Publication number Publication date
JP5131590B2 (en) 2013-01-30

Similar Documents

Publication Publication Date Title
JP5131590B2 (en) Column head PC girder temporary fixing structure in overhang construction method
CA2069814C (en) Load supporting structure
JP4691690B2 (en) Joint structure and joining method of pedestal
JP6375079B1 (en) Joint structure of precast composite floor slab perpendicular to the bridge axis and its construction method
JP2007023714A (en) Synthetic floor slab using synthetic steel, composite floor slab bridge or composite girder bridge, and construction method thereof
JP2008063803A (en) Synthetic floor slabs, synthetic floor slab bridges, or composite girder bridges with inner ribbed shaped steel
JP5372587B2 (en) Steel / concrete composite floor slab
JP2009133114A (en) Reinforcement structure for wall column members
US11105111B2 (en) Buttress assembly for seismic reinforcing of building having non-bearing walls
KR100728106B1 (en) Cantilevered part installation structure and construction method of bridge deck
JP2005061081A (en) Precast slab joining structure and precast slab joining method
JP3682520B2 (en) PC steel wire anchorage structure in composite bridge girder
JP5528217B2 (en) Abutment reinforcement method
JP2001182015A (en) Construction method of synthetic floor slab bridge
JP5029271B2 (en) Structure of a continuous I-girder bridge and its I-girder near its intermediate support
JP3996043B2 (en) Joint structure of bridge corrugated steel web composite girder
JP2007270600A (en) Prestress introducing method to filling part between precast concrete members
JP2006169837A (en) Reinforced concrete column beam connection structure
JP6269928B2 (en) Abutment reinforcement structure
JP2001172916A (en) Corrugated synthetic floor slab
JP4492422B2 (en) Structure near the intermediate support of a continuous I-girder bridge
JP3851162B2 (en) Stopper for bridge
JP2008063805A (en) Connection structure of full precast concrete slab
JP3047817B2 (en) Method of placing concrete so that it can be separated
JP2004332486A (en) Pillar structure

Legal Events

Date Code Title Description
A621 Written request for application examination

Free format text: JAPANESE INTERMEDIATE CODE: A621

Effective date: 20110425

A977 Report on retrieval

Free format text: JAPANESE INTERMEDIATE CODE: A971007

Effective date: 20120612

TRDD Decision of grant or rejection written
A01 Written decision to grant a patent or to grant a registration (utility model)

Free format text: JAPANESE INTERMEDIATE CODE: A01

Effective date: 20121003

A01 Written decision to grant a patent or to grant a registration (utility model)

Free format text: JAPANESE INTERMEDIATE CODE: A01

A61 First payment of annual fees (during grant procedure)

Free format text: JAPANESE INTERMEDIATE CODE: A61

Effective date: 20121025

FPAY Renewal fee payment (event date is renewal date of database)

Free format text: PAYMENT UNTIL: 20151116

Year of fee payment: 3

R150 Certificate of patent or registration of utility model

Ref document number: 5131590

Country of ref document: JP

Free format text: JAPANESE INTERMEDIATE CODE: R150

R250 Receipt of annual fees

Free format text: JAPANESE INTERMEDIATE CODE: R250

R250 Receipt of annual fees

Free format text: JAPANESE INTERMEDIATE CODE: R250

R250 Receipt of annual fees

Free format text: JAPANESE INTERMEDIATE CODE: R250

S531 Written request for registration of change of domicile

Free format text: JAPANESE INTERMEDIATE CODE: R313531

R350 Written notification of registration of transfer

Free format text: JAPANESE INTERMEDIATE CODE: R350

S533 Written request for registration of change of name

Free format text: JAPANESE INTERMEDIATE CODE: R313533

R350 Written notification of registration of transfer

Free format text: JAPANESE INTERMEDIATE CODE: R350

R250 Receipt of annual fees

Free format text: JAPANESE INTERMEDIATE CODE: R250